Информационная система
«Ёшкин Кот»

XXXecatmenu

ЦЕНТРАЛЬНЫЙ ИНСТИТУТ НОРМАТИВНЫХ
ИССЛЕДОВАНИЙ
И НАУЧНО-ТЕХНИЧЕСКОЙ
ИНФОРМАЦИИ
«ОРГТРАНССТРОЙ»
МИНИСТЕРСТВА ТРАНСПОРТНОГО СТРОИТЕЛЬСТВА

СООРУЖЕНИЕ СБОРНЫХ ОПОР МОСТОВ
ИЗ КОНТУРНЫХ БЛОКОВ

I. ОБЛАСТЬ ПРИМЕНЕНИЯ

Технологическая карта разработана на основе применения принципов научной организации труда и предназначена для использования при разработке проекта производства работ, организации работ и труда на объекте.

При разработке карты использован опыт сооружения виадуков на железнодорожной линии Краснодар - Туапсе, Карта предусматривает сооружение надфундаментной части промежуточных опор высотой до 20 м под железобетонные пролетные строения длиной в свету до 30 м виадуков или пойменных мостов (рис. 1).

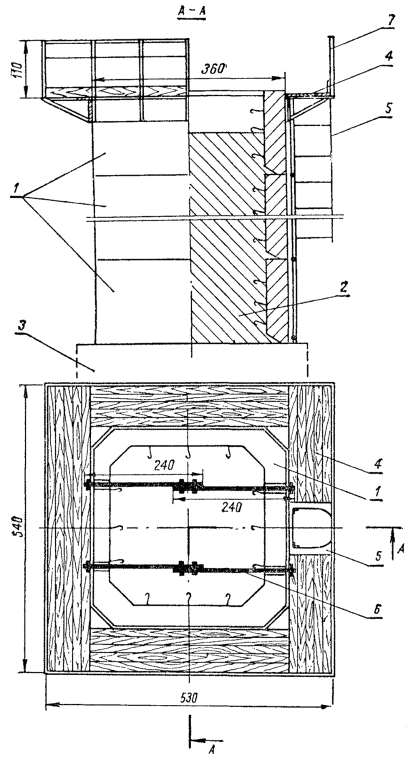
Промежуточные опоры сооружаются из железобетонных контурных блоков заводского изготовления. Опора сооружается из блоков длиной 370, шириной 360, высотой 160 см (рис. 2). Толщина стенок каждого блока 30 и 40 см. Объем бетона блока - 7,45 м3, вес - 18,6 т. Марка бетона - М-400. Полость блоков заполняется бетонной смесью марки 150. Объем заполнения блока - 13,6 м3. Подферменная плита размером 400´380´120 см состоит из двух блоков, омоноличиваемых на месте. Бетон блоков - М-300.

В технологической карте не учтены работы по подготовке строительной площадки и устройству временных сооружений, размещению оборудования, подводке электроэнергии и устройству освещения.

Привязка карты к местным условиям строительства заключается в уточнении объемов работ с соответствующей корректировкой затрат труда и материальных ресурсов.

Рис. 1. Промежуточная опора из контурных блоков

Рис. 2. Элементы сборной опоры:

а - сборный подферменник; б - контурный блок

II. УКАЗАНИЯ ПО ТЕХНОЛОГИИ РАБОТ

До начала работ по сооружению опоры из железобетонных контурных блоков (оболочек) должны быть выполнены следующие работы: завершено сооружение фундамента с установкой арматурных выпусков, подготовлены площадки для установки крана и складирования блоков, завезено необходимое количество блоков и других материалов, нанесены на верх фундамента оси моста и опоры. Бетон фундамента должен иметь прочность, достаточную для сооружения опоры.

Все работы при сооружении опоры - монтаж блоков, подача бетонной смеси, перестановка подмостей, выгрузка блоков и материалов - выполняются гусеничным краном Э-2508 грузоподъемностью 60 Т со стрелой длиной 30 м (рис. 3).

Блоки опоры доставляются от прирельсового склада к месту монтажа на трайлере и выгружаются в зоне работы крана на подкладки из шпал или брусьев, уложенных в два ряда для удобства очистки нижней постели от наплывов и грязи.

До установки блоков пневмоинструментом удаляется наплыв бетона с внутренних стенок и бетон в местах арматурных: выпусков, а выпуски арматуры отгибаются в проектное положение. Одновременно с этим выравнивают постели блоков.

Сооружение опоры начинается с установки двух блоков на цементный раствор. После этого полость блоков заполняется бетонной смесью на высоту 1,5 блоков (2,4 м).

На фундамент и стенки блока наносятся оси опоры. Первый блок устанавливается на тщательно выровненную постель верхней части фундамента при строгом геодезическом контроле. Концы выпусков арматуры фундамента для удобства работ связываются в пучок.

Последующие контурные блоки устанавливаются по отвесу на 2-сантиметровый слой цементного раствора марки 200.

Блоки при установке разворачивают через один на 180° таким образом, чтобы стенки толщиной 30 см перекрывали стенки толщиной 40 см и наоборот. Такое расположение блоков обеспечивает получение штраб для лучшего сцепления бетона заполнения с бетоном блоков. Для этой же цели на внутренней поверхности блоков предусмотрены выпуски арматуры.

После установки каждого блока строповочные петли обрезают газовым резаком. Все блоки с третьего до предпоследнего заполняются бетонной смесью на высоту одного блока (1,6 м). Этим обеспечивается перекрытие швов блоков и слоев бетона заполнения.

Для упрощения конструкции внутренней опалубки выпуски арматуры при изготовлении блоков загибают и бетонируют заподлицо с опалубкой.

Подвесные подмости, изготовленные из швеллера и уголков, поддерживаются телескопическими штангами диаметром 50 мм, укладываемыми в прорези в стенках блоков (рис. 4). Штанги с винтовой нарезкой на концах пропускаются в проушины на подмостях и закрепляются гайками.

Рис 3. Схема организации работ по сооружению надфундаментной части опор

1 - опора; 2 - подвесные подмости; 3 - лестница; 4 - кран Э-2508; 5 - склад контурных блоков; 6 - железобетонные плиты мощения площадки; 7 - спланированная площадка под кран; 8 - шпунтовое ограждение

Рис. 4. Подвесные подмости:

1 - контурные блоки; 2 - бетон заполнения полости опоры; 3 - фундамент; 4 - подвесные подмости; 5 - лестница с защитными скобами (длина секции 1,6 м); 6 - штанги крепления подмостей; 7 - перила

При передвижке гайки отвинчивают, штанги сдвигают до выхода их из прорезей в блоке, после чего краном подмости поднимают и закрепляют на следующем блоке. Подмости передвигают после установки следующего блока, расшивки шва ранее установленного блока и заполнения полости на высоту 1,6 м.

Рабочие на подмости поднимаются по приставным лестницам с защитными скобами, наращиваемыми по мере сооружения опоры. Лестница прикреплена верхним концом к подмостям и поднимается вместе с ними. Наращиваются лестничные секции при помощи болтов снизу.

После установки последнего блока бетонную смесь укладывают на всю высоту, предварительно установив 24 анкерных стержня длиной 220 см из арматуры периодического профиля диаметром 22 мм. Длина выпусков над последним блоком - 110 см.

Подферменник монтируется из двух блоков весом по 13,5 т с нишами и выпусками арматуры для омоноличивания между собой и с телом опоры. Ширина шва омоноличивания - 24 см. Блоки подферменника нанизываются при установке на анкерные арматурные выпуски. Перед установкой блоков подферменников их обстраивают перилами, а подвесные подмости снимают, лестница закрепляется за край блока специальными захватами (крючками) таким образом, чтобы первый блок подферменника не накрывал ее. Затем лестницу переставляют в сторону установленного блока. По окончании всех работ лестницу снимают краном и разбирают на секции.

III. УКАЗАНИЯ ПО ТЕХНИКЕ БЕЗОПАСНОСТИ

Перед началом работ необходимо произвести испытание подвесных подмостей. При перестановке подмостей после снятия гаек с концов штанг рабочие должны перейти в полость опоры по приставной лестнице до установки штанг в новом уровне. При подаче бетонной смеси рабочие должны находиться на подмостях. Стоять на стенках блоков запрещается. Спуск рабочих в полость опоры разрешается только после выгрузки бетонной смеси и уборки кубла.

Перед установкой блоки подферменников должны быть ограждены временными перилами на высоту не менее 1,1 м.

При сооружении опоры следует руководствоваться следующими техническими документами:

СНиП III-А.1-62. Организация и технология строительного производства. Общая часть.

СНиП III-Д.2-62. Мосты и трубы. Правила организации и производства работ. Приемка в эксплуатацию.

СНиП III-А.11-70. Техника безопасности в строительстве. Правила техники безопасности и производственной санитарии при сооружении мостов и труб (М., Оргтрансстрой, 1969).

IV. УКАЗАНИЯ ПО ОРГАНИЗАЦИИ ТРУДА

Работы по сооружению опоры из контурных блоков выполняются бригадой в две смены. Бригада разделена по сменам на одинаковые звенья.

В состав каждого звена входят (в скобках указаны условные наименования и вторые профессии): монтажник конструкций 5 разр. (звеньевой М1, электрогазосварщик 4 разр.), монтажник конструкций 4 разр. (М2, бетонщик 4 разр.), два монтажника конструкций 3 разр. (М3 и М4, бетонщики 3 разр.) и машинист крана 6 разр. (К).

Опора сооружается в соответствии с графиком (см. график производства работ) в следующем порядке.

Перед установкой блоков звено в полном составе выравнивает постель ломами и очищает ее от мусора метлами, а затем связывает концы выпусков арматуры из фундамента вязальной проволокой в пучок для удобства установки первых двух блоков и заполнения полости бетонной смесью.

Монтажник М3 стропит блок четырехветвевым стропом грузоподъемностью не менее 20 Т за монтажные петли, дает команду машинисту крана К натянуть стропы и, убедившись в правильности строповки, отходит в сторону и подает сигнал машинисту крана поднять блок. Одновременно монтажники М1, М2 и М4 расстилают лопатами раствор по постели.

Машинист крана подает блок к месту установки и останавливает его на высоте 20 - 30 см от поверхности опирания. Звеньевой М1 и монтажники М2, М3 и М4 подводят блок к месту установки, ориентируясь по меткам, нанесенным на стенки блоков и обозначающим оси симметрии. Кроме того, правильность вертикального положения проверяется отвесом. Маневры крана при перемещении блока производятся только по командам звеньевого.

После установки блока монтажники М1 и М3 разделывают и расшивают шов цементным раствором с подвесных подмостей. В это же время монтажники М2 и М4 сгружают блоки (или другие материалы) с трайлера и подготовляют блок к установке, то есть очищают блоки от грязи и наплывов бетона, пневмоинструментом снимают защитный слой бетона в местах арматурных выпусков, отгибают их и размечают оси блока масляной краской.

Подвесные подмости и лестницы устанавливает все звено краном.

По команде звеньевого М1 монтажники М2 и М4 стропят подвесные подмости за строповочные петли четырехветвевым стропом, снимают гайки с концов штанг и машинист крана К натягивает стропы. После этого монтажники М2 и М4 по приставной деревянной лестнице переходят во внутреннюю полость опоры, а звеньевой М1 и монтажник М3 спускаются и открепляют лестницу от первой секции, которая постоянно прикреплена к анкерам, заделанным в фундамент опоры, подтягивают наращиваемую лестничную секцию и подвешивают ее при помощи двух болтов за верхний конец.

Монтажники М2 и М4 в это время сдвигают внутрь блока телескопические штанги крепления подмостей до выхода их из прорезей в блоке.

По окончании этих операций по команде звеньевого М1 машинист крана К поднимает подмости до уровня верха установленного блока, монтажники М1 и М3 прикрепляют болтами нижний конец наращиваемой секции к верхней части первой секции, в это же время монтажники М2 и М4 устанавливают телескопические штанги в прорези на стенках блока (в новом положении), заводят их в проушины на раме подмостей и навинчивают гайки на концы штанг.

Бетонную смесь укладывает звено в полном составе, при этом монтажник М3 принимает бетонную смесь из автомобиля-самосвала в кубло, монтажник М1 принимает кубло с бетоном на подмостях и устанавливает его над полостью опоры, выполняет также обязанности сигналиста и руководителя всей работы.

Монтажники М2 и М4, находясь на подмостях, принимают кубло с бетонной смесью, выгружают бетон над полостью опоры, после чего, спустившись в полость опоры, укладывают и уплотняют бетон глубинными вибраторами, распределяя его по всему сечению опоры слоями до 30 см. В процессе укладки и уплотнения бетона рабочие должны находиться на переставных мостках.

После заполнения полости опоры на высоту 1,6 м устанавливают следующий блок и повторяют весь процесс.

Блоки подферменника монтирует все звено. Перед установкой блока приготавливается цементный раствор и подается в металлическом ящике на опору.

Монтажник М3 стропит блок подферменника четырехветвевым стропом за монтажные петли, в это время три других члена звена поднимаются на опору и расстилают раствор по постели блока. По команде звеньевого М1 машинист крана К поднимает блок и подает к месту установки. Монтажник М3 также поднимается на опору и вместе со всеми устанавливает блок по меткам и отвесу. После этого лестницу отставляют в сторону установленного блока, освобождая место для второго блока подферменника.

Для этого монтажники М2 и М3 спускаются, отсоединяют нижний конец лестницы, в это время монтажники М1 и М4 стропят верх лестницы к крану. Машинист крана К по команде звеньевого М1 приподнимает лестницу на высоту 20 - 30 см и переставляет ее на новое место, после этого лестницу вновь закрепляют вверху и внизу. Второй блок подферменника устанавливают также, как первый.

Для омоноличивания стыка блоков подферменника предварительно устанавливается по торцам щитовая опалубка. Щиты подаются краном и прикрепляются к арматуре стыка проволочными стяжками. Работу выполняют монтажники М2 и М4, в это же время монтажники М1 и М3 устанавливают дополнительную арматуру в стыке.

Подферменник омоноличивается аналогично заполнению полости блоков. По окончании всех работ с опоры краном убирается весь инструмент, стропится верхний конец лестницы к крану и звено покидает опору. Внизу монтажники М2 и М3 отсоединяют нижний конец лестницы и по сигналу звеньевого М1 лестницу снимают с опоры краном и укладывают ее на площадку. В работе участвует весь состав звена. После опускания лестницы ее разбирают на звенья и складывают в штабель.

График производства работ предусматривает режим дня рабочих с 10-минутным отдыхом через каждые 50 мин работы, а также время на подготовительно-заключительные работы по каждой разновидности работ.


V. ГРАФИК ПРОИЗВОДСТВА РАБОТ ПО УСТРОЙСТВУ ОПОРЫ

VI. КАЛЬКУЛЯЦИЯ ЗАТРАТ ТРУДА

Шифр норм

Наименование работ

Состав звена

Единица измерения

Объем работ

Норма времени, чел-ч

Расценка, руб.-коп.

Затраты труда на полный объем работ, чел-ч

Стоимость затрат труда на полный объем работ, руб.-коп.

1

2

3

4

5

6

7

8

9

Наблюдения Днепропетровской НИС

Монтаж первого (направляющего) контурного блока весом до 20 т краном грузоподъемностью 60 Т

Монтажники конструкций:

5 разр. - 1

4     »     - 1

3     »     - 2

Машинист крана

6 разр. - 1

Блок

1

16

4

(4)

9-76

3-16

16

4

(4)

9-76

3-16

§ 4-4-7, № 2б, применительно, К = 2

Монтаж последующих контурных блоков весом до 20 т

Монтажники конструкций:

4 разр. - 2

3     »     - 2

Машинист крана

6 разр. - 1

Блок

10

4,8

1,2

(1,2)

2-84

0-94,8

48

12

(12)

28-40

9-48

§ 3-19, № 1

Приготовление цементного раствора вручную

Каменщик

2 разр. - 1

м3

1,35

2,1

1-04

2,84

1-40

§ 4-1-22, № 4, применительно

Разделка швов при монтаже блоков с расшивкой в неудобном положении

Монтажник конструкций

4 разр. - 1

10 м шва

16,06

1,7

1-06

27,3

17-02

§ 4-4-16, № 1

Заполнение полости контурных блоков бетонной смесью

Бетонщики:

4 разр. - 2

3     »     - 2

Машинист крана

5 разр. - 1

м3

149,7

1,24

0,31

(0,31)

0-73,2

0-21,8

185,6

46,4

(46,4)

109-58

32-63

§ 4-2-21, № 17

Прием бетонной смеси из кузова самосвала в ковш

Бетонщик

2 разр. - 1

м3

149,7

0,086

0-042

12,9

6-29

§ 5-1-3, № 2б, К = 0,5, применительно

Установка подвесных подмостей и лестницы с перестановкой (14,4 м2 ´ 0,7 ´ 0,5 = 5,04 чел-ч, 14,4 ´ (0 - 42,1) ´ 0,5 = 3-03 руб.)

Монтажники конструкций:

4 разр. - 2

3     »     - 1

Установка

12

5,04

3-03

60,5

36-36

§ 5-1-3, № 11а

Устройство временного ограждения на блоках подферменника

Монтажники конструкций:

4 разр. - 2

3     »     - 1

пог. м

15

0,14

0-08,4

2,10

1-26

§ 4-4-9, № 5, применительно

Монтаж железобетонных блоков подферменника

Монтажники конструкций:

5 разр. - 1

4     »     - 1

3     »     - 2

Машинист крана

6 разр. - 1

Блок

2

5,8

1,45

(1,45)

3-53

1-15

11,6

2,9

(2,9)

7-06

2-30

§ 4-4-16, № 3, применительно

Омоноличивание блоков подферменника бетонной смесью с установкой арматуры и щитов боковой опалубки

Бетонщики:

5 разр. - 1

4     »     - 1

3     »     - 2

Машинист 1 крана

5 разр. - 1

м3

1,06

3

0,75

(0,75)

1-83

0-52,7

3,15

0,79

(0,79)

1-92

0-55

§ 4-4-16, № 2, применительно

Заполнение полости подферменника бетонной смесью

То же

м3

1,9

1,72

0,43

(0,43)

1-05

0-30,2

3,27

0,82

(0,82)

2-00

0-57

§ 5-1-3, № 8в, примечание 3, К = 0,7

Снятие подвесных подмостей

Монтажники конструкций:

4 разр. - 2

3    »     - 1

шт.

1

0,61

0-37

0,61

0-37

§ 5-1-3, № 11в, примечание 3, К = 0,7

Разборка ограждения подферменника

Монтажники конструкций:

4 разр. - 2

3    »     - 1

пог. м

15

0,15

0-08,8

2,25

1-32

§ 5-1-3, № 9в, примечание 3, К = 0,7

Снятие и разборка лестничных секций

То же

То же

19

0,20

0-12,2

3,8

2-32

§ 4-2-16, № 15, применительно

Срубка бетонной поверхности при освобождении арматурных выпусков, отгибание выпусков арматуры

Бетонщик

3 разр. - 1

100 м2

2,04

53,0

29-42

108,1

60-02

§ 4-2-16, № 15

Сплошная насечка стыковой поверхности блоков подферменника

То же

»

0,1

53

29-42

5,3

2-94

Наблюдение Днепропетровской НИС

Перемещение крана Э-2508 со стрелой длиной до 40 м от опоры к опоре на расстояние до 50 м с перекладкой железобетонных плит и установкой крана

Монтажники конструкций:

5 разр. - 1

4     »     - 1

3     »     - 2

Машинист крана

6 разр. - 1

Установка

1

16

4

(4)

9-76

3-16

16

4

(4)

9-76

3-16

§ 24-13, № 26, г, в

Разгрузка железобетонных контурных блоков и блоков подферменника с трайлера на площадку

Такелажники:

5 разр. - 1

2     »     - 1

Машинист крана

6 разр. - 1

т

240

0,088

0,044

(0,044)

0-05,3

0-03,5

21,1

10,6

(10,6)

12-72

8-41

§ 1-11, № 2г, примечание 1, К = 1,12 к расц.

Выгрузка шпал для выгрузки блоков

Транспортные рабочие

2 разр. - 2

»

4

0,65

0-31,9

2,60

1-28

§ 1-11, № 3г, К = 1,12 к расц.

Выгрузка элементов подмостей и лестниц

То же

»

2,55

0,57

0-28

1,45

0-71

§ 1-11, № 1е

Выгрузка цемента, песка и других материалов и инструмента

Транспортный рабочий

1 разр. - 1

»

2,5

0,2

0-08,8

0,5

0-22

Наблюдения Днепропетровской НИС

Сборка подмостей из заранее изготовленных элементов

Монтажники конструкций:

5 разр. - 1

4     »     - 1

3     »     - 2

Машинист крана

6 разр. - 1

»

1,9

24

6

(6)

14-64

4-74

24

6

(6)

14-64

4-74

Оплата работы машиниста крана за фактически отработанное время

Машинист крана

6 разр. - 1

чел-ч

40,49

-

0-79

40,49

(40,49)

31-99

 

Всего на опору:

а) для монтажников

чел-ч

чел-дн

 

 

559/70

327-35

 

 

б) для машиниста крана

»

»

 

 

128/16

96-99


VI. ОСНОВНЫЕ ТЕХНИКО-ЭКОНОМИЧЕСКИЕ ПОКАЗАТЕЛИ

Объем бетонной и железобетонной кладки                                        248,36 м3

В том числе:

сборный железобетон                                                                      94,35 м3

бетон омоноличивания подферменников                                      1,06 м3

бетон заполнения контурных блоков и подферменников            151,6 м3

цементный раствор                                                                          1,35 м3

Наименование показателей

Единица измерения

По калькуляции А

По графику Б

На сколько процентов показатель по графику больше (+) или меньше (-), чем по калькуляции

Затраты труда

чел-дн

70

64

-8,5

Трудоемкость 1 м3 кладки

»

0,282

0,258

-8,5

Выработка рабочего в смену

м3

3,55

3,88

+9,3

Среднедневная заработная плата рабочего

руб.

4,68

5,11

+9,2

Затраты времени крана

маш-смен

16

16

-

Коэффициент использования крана

-

-

0,92

-

Средний разряд рабочих

разр.

3,43

3,78

+10,2

VII. МАТЕРИАЛЬНО-ТЕХНИЧЕСКИЕ РЕСУРСЫ

А. Основные материалы, полуфабрикаты, детали и конструкции

Наименование

Единица измерения

Количество на путепровод

Контурные блоки М-400

шт.

м3

11

81,95

Блоки подферменника М-300

шт.

м3

2

12,4

Раствор цементный М-200

м3

1,35

Бетонная смесь М-150

м3

149,7

Сталь арматурная

т

0,157

Бетонная смесь М-300

м3

2,96

Б. Машины, оборудование, инструмент и инвентарь

Кран гусеничный Э-2508, шт.                                                                             1

Тягач К-700, шт.                                                                                                    1

Трайлер грузоподъемностью 40 Т 4МЗАП-5208, шт.                                       1

Компрессор передвижной ЗИФ-55, шт.                                                             1

Автомобили-самосвалы МАЗ-205, шт.                                                               3

Отбойные молотки ГОСТ 6252-59, шт.                                                              2

Вибраторы глубинные И-116, шт.                                                                       2

Резак ГОСТ 5191-69, шт.                                                                                     1

Ящик для раствора 120´60´30 см, чертеж МО-10 Мостотреста, шт.             1

Подмости инвентарные подвесные, чертеж МО-10 Мостотреста, компл.    1

Лестничные секции длиной по 1,6 м, чертеж МО-10 Мостотреста, шт. .      12

Кубло емкостью 2 м3, чертеж МО-10 Мостотреста, шт.                                  1

Стропы инвентарные, чертеж МО-10 Мостотреста, компл.                            2

Лестницы-стремянки длиной 2 - 3 м, чертеж МО-10 Мостотреста, шт.        3

Ведра, шт.                                                                                                              4

Кувалды, ГОСТ 11401-65, шт.                                                                             2

Мастерки для каменщика, шт.                                                                            2

Ключи гаечные, ГОСТ 2839-62, компл.                                                             1

Лопаты подборочные типа ЛП-1, ГОСТ 3620-63, шт.                                      4

Ломы, ГОСТ 1405-65, шт. .                                                                                  3

Метлы, шт.                                                                                                             2

Расшивки, ГОСТ 42803-67, шт.                                                                           2

Щетки металлические, шт.                                                                                  2

Рулетка 20 м, ГОСТ 7502-69, шт.                                                                        1

Метр стальной, ГОСТ 7253-54, шт.                                                                    1

Отвесы, ГОСТ 7948-63, шт.                                                                                 2

Уровень, ГОСТ 9416-67, шт.                                                                               1

Нивелир, ГОСТ 10528-69, шт.                                                                             1

Теодолит, ГОСТ 10529-63, шт.                                                                           1

Веревочные чалки длиной по 5 м, ГОСТ 483-55, шт.                                       4

 

 

СОДЕРЖАНИЕ

 



© 2013 Ёшкин Кот :-)