Информационная система
«Ёшкин Кот»

XXXecatmenu

ОТРАСЛЕВЫЕ СТАНДАРТЫ

ДЕТАЛИ И СБОРОЧНЫЕ ЕДИНИЦЫ
ИЗ ХРОМОМОЛИБДЕНОВАНАДИЕВЫХ СТАЛЕЙ
ДЛЯ ПАРОПРОВОДОВ ТЕПЛОВЫХ
ЭЛЕКТРОСТАНЦИЙ

ТИПЫ, КОНСТРУКЦИЯ, РАЗМЕРЫ
И ТЕХНИЧЕСКИЕ ТРЕБОВАНИЯ

ТРОЙНИКИ ПЕРЕХОДНЫЕ КОВАНЫЕ
ДЛЯ ПАРОПРОВОДОВ ТЭС

КОНСТРУКЦИЯ И РАЗМЕРЫ

ОСТ 108.720.07-82

Срок действия стандартов не ограничен в соответствии
с указанием Госстандарта РФ № 1/28-332 от 15.02.94

УТВЕРЖДЕН И ВВЕДЕН В ДЕЙСТВИЕ указанием Министерства энергетического машиностроения от 04.06.82 № ВВ-002/4628

СОГЛАСОВАН с Главным управлением по проектированию и научно-исследовательским работам Министерства энергетики и электрификации СССР

Л.М. ВОРОНИН

Отраслевые стандарты
на детали и сборочные единицы
с расчетным ресурсом 200 тыс. ч

ОСТ 108.720.07-82

ОТРАСЛЕВОЙ СТАНДАРТ

ТРОЙНИКИ ПЕРЕХОДНЫЕ КОВАНЫЕ ДЛЯ ПАРОПРОВОДОВ ТЭС

КОНСТРУКЦИЯ И РАЗМЕРЫ

ОСТ 108.720.07-82

Взамен ОСТ 24.720.16

Указанием Министерства энергетического машиностроения от 04.06.82 № ВВ-002/4628 срок действия установлен

с 01.01.85

до 01.01.96

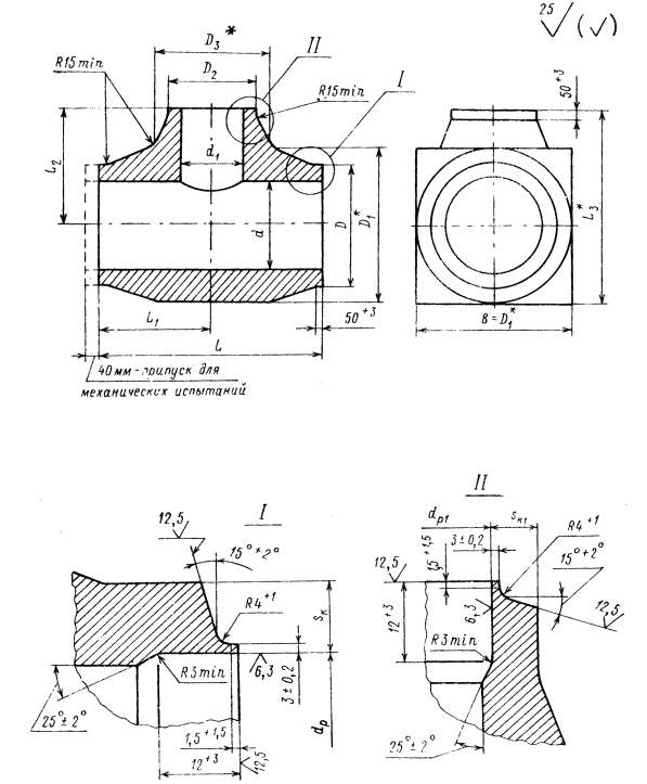
1. Настоящий стандарт распространяется на тройники переходные кованые для паропроводов тепловых электростанций с абсолютным давлением пара р = 25,01 МПа (255 кгс/см2) и температурой t = 545 °С.

2. Конструкция и размеры тройников должны соответствовать указанным на чертеже и в таблице.

3. Материал - сталь марки 15Х1М1Ф по ОСТ 108.030.113.

4. Тройники поставляются только в составе блоков. К свободным концам должны быть приварены патрубки, предусмотренные в спецификации блока.

5. Механические испытания проводятся на тангенциальных образцах.

6. Остальные технические требования - по ОСТ 24.125.60.

7. Исполнения, указанные в скобках, применять по согласованию с предприятием-изготовителем.

8. Пример условного обозначения тройника переходного кованого исполнения 02 с условными проходами Dy = 225 мм, Dy1 = 200 мм:

ТРОЙНИК ПЕРЕХОДНЫЙ 225×200 02 ОСТ 108.720.07.

9. Пример маркировки: 02 ОСТ 108.720.07                                      


Размеры, мм

Исполнение

Условный проход

Наружный диаметр и толщина стенки присоединяемых труб

D (пред. откл. + 5)

D1*

D2

D3*

d (пред. откл. - 3)

d1

dp

dp1

Sк

Sк1

L (пред. откл. ± 5)

L1 (пред. откл. ± 3)

L2 (пред. откл. ± 3)

L3*

Масса, кг

Dy

Dy1

Номин.

Пред. откл.

Номин.

Пред. откл.

Номин.

Пред. откл.

Номин.

Пред. откл.

не менее

01

225

175

377×70

273×50

385

450

285

+ 3

390

225

165

- 2

240

+ 0,72

174

+ 0,63

69,5

50

650

325

400

625

750

02

225

200

325×60

335

430

190

208

+ 0,72

61

807

450

290

(03)

300

200

465×80

485

540

308

+ 0,81

86,0

800

400

500

770

1300

(04)

300

225

377×70

385

+ 4

500

225

- 3

240

70

820

410

550

820

1456

* Размеры для справок.


ИНФОРМАЦИОННЫЕ ДАННЫЕ

1. УТВЕРЖДЕН И ВВЕДЕН В ДЕЙСТВИЕ указанием Министерства энергетического машиностроения от 04.06.82 № ВВ-002/4628

2. ИСПОЛНИТЕЛИ

П.М. Христюк, канд. техн. наук; Д.Д. Дорофеев, канд. техн. наук (руководитель темы); Г.Н. Смирнов (руководитель темы); Л.Н. Жылюк; В.Н. Шанский; Н.В. Москаленко; Д.Ф. Фомина; Г.А. Мисирьянц; В.Ф. Логвиненко; Ф.А. Гловач; А.З. Гармаш; Н.Г. Мазин; А.С. Шестернин

3. ЗАРЕГИСТРИРОВАН Государственным комитетом СССР по стандартам за № 8257084 от 09.09.82

4. ВЗАМЕН ОСТ 24.720.16

5. ССЫЛОЧНЫЕ НОРМАТИВНО-ТЕХНИЧЕСКИЕ ДОКУМЕНТЫ

Обозначение НТД, на который дана ссылка

Номер пункта, подпункта, перечисления, приложения

ОСТ 24.125.60-89

6

ОСТ 108.030.113-87

3

6. ПЕРЕИЗДАНИЕ (1992 г.) с Изменениями № 1, 2, 3, 4

Срок действия продлен до 1996 г. Изменением № 4, утвержденным письмом Минтяжмаша СССР от 27.12.90 № ВА-002-1-12060.



© 2013 Ёшкин Кот :-)