Информационная система
«Ёшкин Кот»

XXXecatmenu

ОТРАСЛЕВЫЕ СТАНДАРТЫ

ДЕТАЛИ И СБОРОЧНЫЕ ЕДИНИЦЫ
ИЗ ХРОМОМОЛИБДЕНОВАНАДИЕВЫХ СТАЛЕЙ
ДЛЯ ПАРОПРОВОДОВ ТЕПЛОВЫХ
ЭЛЕКТРОСТАНЦИЙ

ТИПЫ, КОНСТРУКЦИЯ, РАЗМЕРЫ
И ТЕХНИЧЕСКИЕ ТРЕБОВАНИЯ

ПАРАМЕТРЫ:

р = 4,02 МПа (41 кгс/см2), t = 545 °С

ТРОЙНИКИ ШТАМПОВАННЫЕ РАВНОПРОХОДНЫЕ
ДЛЯ ПАРОПРОВОДОВ ТЭС

КОНСТРУКЦИЯ И РАЗМЕРЫ

ОСТ 108.104.13-82

Срок действия стандартов не ограничен в соответствии
с указанием Госстандарта РФ № 1/28-332 от 15.02.94

УТВЕРЖДЕН И ВВЕДЕН В ДЕЙСТВИЕ указанием Министерства энергетического машиностроения от 04.06.82 № ВВ-002/4628

СОГЛАСОВАН с Главным управлением по проектированию и научно-исследовательским работам Министерства энергетики и электрификации СССР

Л.М. ВОРОНИН

Отраслевые стандарты
на детали и сборочные единицы
с расчетным ресурсом 200 тыс. ч

ОСТ 108.104.13-82

ОТРАСЛЕВОЙ СТАНДАРТ

ТРОЙНИКИ ШТАМПОВАННЫЕ РАВНОПРОХОДНЫЕ ДЛЯ ПАРОПРОВОДОВ ТЭС

КОНСТРУКЦИЯ И РАЗМЕРЫ

ОСТ 108.104.13-82

Взамен ОСТ 24.104.12 в части
pном = 41 кгс/см2, t = 545 °С

Указанием Министерства энергетического машиностроения от 04.06.82 № ВВ-002/4628 срок действия установлен

с 01.01.85

до 01.01.96

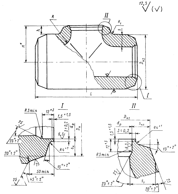
1. Настоящий стандарт распространяется на равнопроходные штампованные тройники с вытянутой горловиной для паропроводов тепловых электростанций с абсолютным давлением и температурой пара:

p = 13,73 МПа (140 кгс/см2), t = 560 °С;

p = 13,73 МПа (140 кгс/см2), t = 545 °С;

p = 13,73 МПа (140 кгс/см2), t = 515 °С;

p = 4,02 МПа (41 кгс/см2), t = 545 °С.

2. Конструкция, размеры и материал тройников должны соответствовать указанным на чертеже и в таблице.

3. Размеры высот H и h, радиусов R и R1 и толщины стенки Sк1 могут быть изменены по усмотрению предприятия-изготовителя при соблюдении условий прочности.

4. Предельные отклонения наружного диаметра DH2 не должны превышать ± 2 %.

5. Остальные технические требования - по ОСТ 24.125.60.

6. Исполнения, указанные в скобках, применять по согласованию с предприятием-изготовителем.

7. Размер S1 обеспечивается технологией изготовления.

8. Пример условного обозначения тройника штампованного равнопроходного исполнения 04 с условным проходом Dy = 250 мм:

ТРОЙНИК РАВНОПРОХОДНЫЙ 250 04 ОСТ 108.104.13.

9. Пример маркировки: 04 ОСТ 108.104.13                                      


Исполнение

Условный проход Dy

Присоединяемые трубы

DH

DH1

DH2

dp

L

Н*

h + 5

S

S1

Sк

Sк1

R, не более

R1

Материал (марка, ТУ)

Масса, кг

Наружный диаметр

Толщина стенки

Номин.

Пред. откл.

Номин.

Пред. откл.

Номин.

Пред. откл.

Номин.

Пред. откл.

не менее

Номин.

Пред. откл.

p = 13,73 МПа (140 кгс/см2), t = 560 °С

01

200

273

36

276

± 1,2

277

+ 3

320

203

+ 0,72

600

± 5

215

55

70

42

31,5

31,9

130

55

+ 5

Сталь 15Х1М1Ф ТУ 14-3-420

318,0

02

300

377

50

380

± 2,0

383

+ 4

460

281

+ 0,81

830

300

70

95

57

44,3

45,0

160

40

Сталь 15Х1М1Ф ТУ 3-923

808,0

p = 13,73 МПа (140 кгс/см2), t = 545 °С

03

200

273

32

276

± 1,2

277

+ 3

320

211

+ 0,72

600

± 5

220

60

70

42

27,3

27,8

130

55

+ 5

Сталь 15Х1М1Ф ТУ 14-3-420

318,0

04

250

325

38

328

± 2,0

330

400

251

+ 0,81

750

250

50

75

45

32,3

32,8

135

50

541,0

p = 13,73 МПа (140 кгс/см2), t = 515 °С

(05)

125

159

16

161

± 1,2

163

+ 2

185

128

+ 0,63

400

± 5

118

25

32

19

13,4

14,0

60

25

+ 5

Сталь 12Х1МФ ТУ 14-3-460

59,2

(06)

150

194

20

196

198

225

156

500

148

35

36

21

16,5

17,0

70

30

Сталь 15Х1М1Ф ТУ 14-3-460

105,0

(07)

175

219

22

222

221

+ 3

245

176

153

30

40

24

18,5

19,0

114,0

(08)

225

273

26

276

277

320

222

+ 0,72

600

215

55

50

29

22,5

23,0

100

45

243,0

(09)

250

325

32

328

± 2,0

330

380

263

+ 0,81

700

250

60

60

36

27,0

27,5

135

55

379,0

p = 4,02 МПа (41 кгс/см2), t = 545 °С

10

150

159

8

161

± 1,2

162

+ 2

176

144

+ 0,63

400

± 5

113

25

20

11

5,8

6,1

45

20

+ 5

Сталь 15Х1М1Ф ТУ 14-3-460

34,5

11

250

273

13

276

273

+ 3

295

248

+ 0,72

600

188

40

26

17

9,9

10,4

60

25

Сталь 12Х1МФ ТУ 14-3-460

115,0


ИНФОРМАЦИОННЫЕ ДАННЫЕ

1. УТВЕРЖДЕН И ВВЕДЕН В ДЕЙСТВИЕ указанием Министерства энергетического машиностроения от 04.06.82 № ВВ-002/4628

2. ИСПОЛНИТЕЛИ

П.М. Христюк, канд. техн. наук; Д.Д. Дорофеев, канд. техн. наук (руководитель темы); Г.Н. Смирнов (руководитель темы); Л.Н. Жылюк; В.Н. Шанский; Н.В. Москаленко; Д.Ф. Фомина; Г.А. Мисирьянц; В.Ф. Логвиненко; Ф.А. Гловач; А.З. Гармаш; Н.Г. Мазин; А.С. Шестернин

3. ЗАРЕГИСТРИРОВАН Государственным комитетом СССР по стандартам за № 8257058 от 09.09.82

4. ВЗАМЕН ОСТ 24.104.12

5. ССЫЛОЧНЫЕ НОРМАТИВНО-ТЕХНИЧЕСКИЕ ДОКУМЕНТЫ

Обозначение НТД, на который дана ссылка

Номер пункта, подпункта, перечисления, приложения

ОСТ 24.125.60-89

5

ТУ 3-923-75

2

ТУ 14-3-420-75

2

ТУ 14-3-460-75

2

6. ПЕРЕИЗДАНИЕ (1992 г.) с Изменениями № 1, 2, 3, 4

Срок действия продлен до 1996 г. Изменением № 4, утвержденный письмом Минтяжмаша СССР от 27.12.90 № ВА-002-1-12060.



© 2013 Ёшкин Кот :-)