Информационная система
«Ёшкин Кот»

XXXecatmenu

ГОСУДАРСТВЕННЫЙ ДОРОЖНЫЙ НАУЧНО-ИССЛЕДОВАТЕЛЬСКИЙ ИНСТИТУТ «СОЮЗДОРНИИ»

РЕКОМЕНДАЦИИ
ПО ГИДРОИЗОЛЯЦИИ МОСТОВЫХ СООРУЖЕНИЙ
РУЛОННЫМИ НАПЛАВЛЯЕМЫМИ МАТЕРИАЛАМИ
ПРОИЗВОДСТВА ЗАВОДА «ИЗОФЛЕКС»

Ген. директор СОЮЗДОРНИИ                                                    В.М. Юмашев

Зав. ОИС СОЮЗДОРНИИ                                                            И.Д. САХАРОВА

Зав. сектором мостового полотна

ОИС СОЮЗДОРНИИ                                                                    В.Ю. КАЗАРЯН

1999

РЕКОМЕНДАЦИИ
ПО ГИДРОИЗОЛЯЦИИ МОСТОВЫХ СООРУЖЕНИЙ РУЛОННЫМИ НАПЛАВЛЯЕМЫМИ МАТЕРИАЛАМИ ПРОИЗВОДСТВА ЗАВОДА «ИЗОФЛЕКС»

1. ОБЩИЕ ПОЛОЖЕНИЯ

1.1. Настоящее Руководство разработано в развитие требований в части гидроизоляции следующих нормативных документов: СНиП 2.05.03-84* «Мосты и трубы», СНиП 3.06.04-91 «Мосты и трубы», СНиП 2.03.11-85, СНиП 3.04.03-85 «Защита строительных конструкций от коррозии», ВСН 32-81 «Инструкция по устройству гидроизоляции конструкций мостов и труб на железных, автомобильных и городских дорогах».

1.2. Настоящее Руководство касается выполнения гидроизоляции на пролетных строениях мостовых сооружений с железобетонной плитой проезжей части с использованием рулонных битумно-полимерных наплавляемых гидроизоляционных материалов производства Киришского завода «Изофлекс»: Изопласт ТУ 5774-005-05766480-95, Мостопласт ТУ 5774-028-01393697-99, Изоэласт ТУ 5774-007-05766480-96.

1.3. Упомянутые в п. 1.2 гидроизоляционные материалы применяют в зависимости от климатического района строительства, определяемого минимальной температурой наиболее холодных суток с обеспеченностью 0,92 по СНиП 2.01.01-82.

Материал Изопласт применяют в районах строительства с температурой наиболее холодных суток до минус 40 °С.

Материалы Мостопласт и Изоэласт - в районах с температурой наиболее холодных суток ниже минус 40 °С.

Материалы Мостопласт и Изопласт могут быть также применены для устройства защитно-сцепляющего слоя на стальных мостах. В этом случае их применение осуществляют по специальным Рекомендациям и Технологическим регламентам, разработанным применительно к каждому конкретному мосту.

1.4. Настоящее Руководство содержит обязательные требования, которые необходимо соблюдать при проектировании и устройстве гидроизоляции в процессе строительства и ремонта сооружений, осуществлении контроля при производстве работ и приемке сооружений в эксплуатацию.

1.5. В проекте сооружения должны быть предусмотрены мероприятия по отводу воды с поверхностей элементов мостового полотна, плиты проезжей части, из пониженных мест, углов в пересечениях элементов конструкций, замкнутых полостей. Поверхностям, по которым стекает вода, должны придаваться уклоны в соответствии с Нормами проектирования. Должен быть предусмотрен отвод воды, попавшей на гидроизоляцию.

Следует предусмотреть предотвращение затекания воды под гидроизоляцию, для чего необходимо в проекте предусматривать конструктивные решения ее сопряжения с элементами мостового полотна.

2. КОНСТРУКЦИЯ ДОРОЖНОЙ ОДЕЖДЫ И ТРЕБОВАНИЯ К ЕЁ ЭЛЕМЕНТАМ

2.1. Конструкцию дорожной одежды на железобетонной плите проезжей части выполняют в соответствии с п. 1.61* СНиП 2.05.03-84* состоящей из выравнивающего слоя с минимальной толщиной 30 мм, гидроизоляции, защитного слоя с минимальной толщиной 40 мм, двухслойного асфальтобетонного покрытия с минимальной толщиной 70 мм (рис. 2.1, а). Выравнивающий слой может быть выполнен переменной толщины для придания поверхности под гидроизоляцию необходимого уклона, либо может отсутствовать при монолитной плите проезжей части, поверхность которой удовлетворяет требованиям выполнения гидроизоляции. На сборных пролетных строениях с бетонируемыми стыками устройство выравнивающего слоя обязательно.

При применении материалов Изопласт и Мостопласт по согласованию с Заказчиком защитный слой может быть выполнен из асфальтобетона. В этом случае его толщину включают в состав асфальтобетонного покрытия, принимая его толщину равной 110 мм (рис. 2.1., б).

1 - асфальтобетон 2 слоя ³ 70 мм; 2 - защитный слой ³ 40 мм; 3 - арматурная сетка; 4 - гидроизоляция; 5 - выравнивающий слой ³ 30 мм; 6 - изолируемая поверхность.

Рис. 2.1. Конструкция дорожной одежды.

2.2. Выравнивающий слой выполняют из мелкозернистого (песчаного) бетона, имеющего класс по прочности на сжатие не ниже В 25 по ГОСТ 26633-91, марку по водонепроницаемости W 6 по ГОСТ 12730.5-84* и марку по морозостойкости F 300 по ГОСТ 10060-95 с водоцементным отношением не выше 0,42.

Применение для выравнивающего слоя керамзитобетона и других лёгких бетонов не допускается.

2.3. Гидроизоляцию плиты проезжей части выполняют из материалов Изопласт, Мостопласт, Изоэласт, имеющих в качестве армирующей основы полиэфирное полотно с минимальной толщиной 4,5 мм. Характеристики материалов приведены в Приложении 1.

2.4. Защитный слой выполняют из мелкозернистого (песчаного) армированного бетона с характеристиками, указанными в пункте 2.2. Морозостойкость бетона защитного слоя F 300 должна определяться как для бетона дорожных и аэродромных покрытий испытанием в растворе хлористых солей по ГОСТ 10060.2-95.

Армирование бетонного защитного слоя выполняют плоскими сварными сетками из арматурной стали класса Вр 1 (А1) диаметром 5 мм с ячейкой 100´100 мм по ГОСТ 23279-85. Арматурные сетки следует укладывать на пластмассовые или бетонные «сухарики», обеспечивая зазор под ними 10 мм. Укладка арматурных сеток непосредственно на гидроизоляцию не допускается.

2.5. В бетонную смесь для выравнивающего и защитного слоев необходимо вводить пластифицирующие и воздухововлекающие добавки в соответствии с СНиП 3.06.04-91. Введение химических добавок - ускорителей твердения и противоморозных - не допускается.

2.6. Асфальтобетонное покрытие выполняют двухслойным из горячей мелкозернистой смеси типов Б, В I или II марки в зависимости от состава и интенсивности движения по ГОСТ 9128-97.

3. ТРЕБОВАНИЯ К ГИДРОИЗОЛИРУЕМОЙ ПОВЕРХНОСТИ

3.1. Гидроизолируемая поверхность должна иметь продольные и поперечны уклоны, соответствующие требованиям п. 1.74. СНиП 2.05.03-84*: продольный - в соответствии с продольным профилем сооружения, поперечный - не менее 20 ‰.

Допускается уменьшение поперечного уклона при условии, что суммарный - векторный уклон составляет не менее 20 ‰.

3.2. Гидроизолируемая поверхность не должна иметь раковин, наплывов бетона, трещин, неровностей с острогранными кромками, масляных пятен, пыли. Масляные пятна удаляют выжиганием, наплывы бетона срубают или шлифуют.

В конструкциях пролетных строений с клееными стыками в случае, если не устраивают выравнивающий слой, высота валиков клея допускается не выше 3 мм.

3.3. Гидроизолируемая поверхность должна быть ровной и соответствовать классу шероховатости 2-III, при котором допускается суммарная площадь отдельных раковин и углублений не более 3 мм до 0,2 % на 1 м2 при расстоянии между выступами и впадинами 1,2 - 2,5 мм (СНиП 3.04.03-85 табл. 2, 3).

3.4. При наличии на гидроизолируемой поверхности отдельных неровностей глубиной 10 - 15 мм их устраняют заполнением шпаклевочными массами, которые должны быть удобоукладываемыми и в них не должны образовываться трещины после высыхания. Мелкие неровности могут быть заплавлены битумной мастикой.

3.5. При условии удовлетворения поверхности плиты проезжей части указанным в п.п. 3.2 - 3.4 требованиям и наличии соответствующих уклонов специальный выравнивающий слой под гидроизоляцию не устраивают.

3.6. За бетоном выравнивающего слоя должен быть обеспечен уход с укрытием его полиэтиленовой плёнкой или периодически увлажняемой мешковиной. Не допускается нанесение плёночных распыляемых составов для ухода за бетоном.

3.7. Железнение и шлифование поверхности, на которую наклеивают гидроизоляцию, затирочными машинами не допускается.

3.8. К началу выполнения гидроизоляционных работ прочность на сжатие бетона выравнивающего слоя или плиты проезжей части при его отсутствии должна быть не менее 0,75 марочной.

3.9. Перед непосредственным устройством гидроизоляции изолируемая поверхность должна быть очищена от строительного мусора, пыли, плёнки цементного молока. Снятие плёнки цементного молока производят сухой или влажной струйно-абразивной очисткой. Окончательное удаление пыли производят промышленным пылесосом. Обработка поверхности фрезами, образующими бороздки в бетоне, не допускается.

3.10. Перед устройством гидроизоляции изолируемая поверхность должна быть сухой. Влажность бетона в поверхностном слое на глубине 20 мм должна быть не более 4 %.

3.11. Устройство гидроизоляции может быть выполнено с применением и без применения грунтовки. Грунтовку приготовляют разжижением горячего полимерно-битумного вяжущего в бензине или авиационном керосине, вливая тонкой струей расплавленное вяжущее в бензин (керосин) при перемешивании. Соотношение вяжущего и бензина 1:6 ¸ 1:7. Если при нанесении грунтовки на изолируемую поверхность она не впитывается в бетон, а стоит лужей, от ее применения следует отказаться.

4. ПОРЯДОК ВЫПОЛНЕНИЯ ГИДРОИЗОЛЯЦИИ И ЕЕ ПРИМЫКАНИЙ К ЭЛЕМЕНТАМ МОСТОВОГО ПОЛОТНА

4.1. Проектная документация на сооружение должна содержать конструкцию дорожной одежды и чертежи деталей и узлов гидроизоляции в местах ее примыкания к тротуарным блокам, ограждениям, карнизам, конструкциям деформационных швов, мачтам освещения и т.п.

4.2. Гидроизоляционные работы начинают с выполнения узлов примыкания гидроизоляции к элементам мостового полотна и только после их завершения переходят к гидроизоляции основных поверхностей.

4.3. В местах установки тротуарных блоков и железобетонных парапетных ограждений гидроизоляцию выполняют в зависимости от их конструкции.

Гидроизоляция при сборных тротуарных блоках и парапетных ограждениях должна быть выполнена на полную ширину плиты проезжей части. Тротуарные блоки и ограждения устанавливают на несхватившийся слой мелкозернистого бетона. В этом случае на тротуарных блоках устраивают независимую от проезжей части гидроизоляцию.

В местах ее примыкания к цоколю перильного и парапетного ограждений она должна быть заведена под устроенный в цоколе козырек, глубина которого должна быть 15 - 20 мм, чтобы надёжно закрыть гидроизоляцию слоями дорожной одежды (рис. 4.1). В местах перехода с горизонтальной поверхности на вертикальную в выравнивающем слое делают выкружку радиусом 100 - 150 мм. Возможен переход с горизонтальной поверхности на вертикальную под прямым углом. В этом случае в месте перехода наплавляют дополнительную полосу гидроизоляционного материала шириной 200 мм.

Рис. 4.1. Примыкание гидроизоляции к вертикальной поверхности.

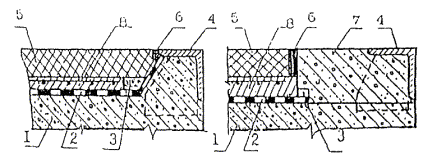
4.4. При наличии на проезжей части столиков, к которым крепят стойки барьерного ограждения, вокруг каждого столика должна быть выполнена гидроизоляция с выведением ее на вертикальную поверхность столика до уровня верхней его плоскости (рис. 4.2).

1 - изолируемая поверхность; 2 - закладная деталь в плите проезжей части; 3 - столик ограждения; 4 - стойка ограждения; 5 - гидроизоляция столика; 6 - гидроизоляция проезжей части; 7 - мастика.

Рис. 4.2. Устройство гидроизоляции в месте расположения стойки ограждения.

4.5. При пересечении плиты проезжей части или тротуарного блока мачтами освещения гидроизоляцию заводят на стенки мачты (рис. 4.3).

1 - сектора; 2 - дополнительная полоса.

Рис. 4.3. Примыкание гидроизоляции к мачтам освещения.

4.6. В местах примыкания к конструкциям деформационных швов выполняют гидроизоляцию в зависимости от конструкции перекрытия шва, но в любом случае она должна исключать протечки воды через плиту проезжей части.

4.6.1. При выполнении конструкции деформационных швов с компенсаторами лоткового типа (замкнутыми, незамкнутыми) гидроизоляция должна быть заведена в компенсатор и приклеена к нему (рис. 4.4).

1 - лоток; 2 - гидроизоляция, 3 - защитный слой.

Рис. 4.4. Устройство гидроизоляции в конструкции деформационного шва с компенсатором лоткового типа.

4.6.2. При конструкциях деформационных швов со стальным окаймлением гидроизоляция должна быть заведена под козырёк, образуемый окаймлением (рис. 4.5).

1 - изолируемая поверхность; 2 - гидроизоляция; 3 - дренажный канал; 4 - окаймление деформационного шва; 5 - асфальтобетонное покрытие; 6 - мастика; 7 - прилив из дисперсно-армированного бетона; 8 - защитный слой.

Рис. 4.5. Устройство гидроизоляции в деформационных швах с окаймлением.

4.6.3. При выполнении конструкций деформационных швов типа Waboflex, Transflex, BEJ, Torma Joint и других подобных, устанавливаемых в штрабы, вырезаемые в асфальтобетонном покрытии, гидроизоляцию над бетонными приливами выполняют по всей ширине прилива до температурного зазора, а затем обрезают на нужную ширину. Как правило, при этих конструкциях гидроизоляция на 50 мм должна заходить внутрь штрабы (рис. 4.6).

а) устройство гидроизоляции в месте установки конструкции деформационного шва до его монтажа

б) положение гидроизоляции в штрабе для установки конструкции деформационного шва

1 - бетонный прилив; 2 - гидроизоляция; 3 - фанерный или металлический лист; 4 - асфальтобетонное покрытие.

Рис. 4.6. Устройство гидроизоляции при вырезании штрабы в конструкции дорожной одежды.

4.7. Гидроизоляция должна быть надёжно сопряжена с водоотводными трубками (рис. 4.7). Вокруг трубки укладывают секторные косынки гидроизоляционного материала и заводят их концы в раструб трубки с нахлесткой кромок не менее 50 мм. Раскрой гидроизоляционного материала показан на рис. 4.7.

После выполнения гидроизоляции в трубке выполняют основную гидроизоляцию, в которой делают крестообразный разрез и лепестки приклеивают внутри трубки.

После устройства гидроизоляции в трубку устанавливают прижимной стакан (водоприёмную воронку) и решётку. Пространство вокруг трубки заполняют дренирующим материалом.

а) примыкание дорожной одежды к водоотводной трубке;

б) раскрой гидроизоляционного материала

1 - плита проезжей части; 2 - трубка; 3 - выравнивающий слой; 4 - гидроизоляция; 5 - защитный слой; 6 - дренаж; 7 - воронка; 8 - решетка; 9 - асфальтобетонное покрытие; 10 - битумная мастика.

Рис. 4.7. Сопряжение гидроизоляции с водоотводной трубкой и раскрой гидроизоляционного материала.

4.8. В соответствии с проектом выполняют устройство дренажной системы для отвода воды, попавшей на гидроизоляцию. Дренажная система содержит дренажные трубки и дренажные каналы (рис. 4.8), которые выполняют в соответствии с «Руководством по устройству дренажа на проезжей части мостовых сооружений». Союздорнии, 1997.

4.9. После выполнения конструкции дорожной одежды в местах всех примыканий асфальтобетонного покрытия к элементам мостового полотна должны быть образованы штрабы сечением 10´20 - 10´50 мм, которые заливают битумной мастикой.

1. плита пролетного строения;

2. выравнивающий слой;

3. сетка защитного слоя;

4. защитный слой;

5. асфальтобетонное покрытие;

6. дренажная смесь;

7. заполнение герметиком;

8. сетка из стекловолокна;

9. дренажная трубка.

Рис. 4.8. Деталь дренажного канала и трубки.

5. технология устройства гидроизоляции

5.1. Гидроизоляцию из рулонных наплавляемых материалов укладывают в один слой по подготовленной в соответствии с разделом 3 поверхности выравнивающего слоя или плиты проезжей части.

1 - рулонный гидроизоляционный материал

2 - изолируемая поверхность

Рис. 5.1. Конструкция гидроизоляции.

5.2. Укладку гидроизоляционного материала производят, раскатывая рулоны в продольном направлении, начиная с пониженных мест (рис. 5.2).

Рис. 5.2. Порядок укладки гидроизоляционного материала.

Допускается поперечная раскатка рулонов с расположением нахлёстки материалов в поперечном направлении с учётом продольного уклона так, чтобы верхний рулон был наклеен на нижний с верховой по уклону стороны.

5.3. Перед укладкой гидроизоляции рекомендуется развернуть на подготовленное основание 5 - 6 рулонов, примерить каждый рулон по отношению к другому, обеспечив нахлест по продольным кромкам. Затем приклеить концы всех рулонов с одной стороны и скатать материал снова в рулоны. Рулон материала для удобства работы с ним и обеспечения необходимого качества гидроизоляции должен быть круглым. Плоский рулон материала следует перемотать.

5.4. Полотна рулонных материалов наклеивают внахлёстку на 6 - 10 см по продольным сторонам и не менее 15 см в поперечных стыках (рис. 5.3).

При наличии на полотнище материала крупнозернистой посыпки ее очищают с зоны стыка.

Рис. 5.3. Соединение полотен гидроизоляционного материала

5.5. Устройство гидроизоляции из рулонных гидроизоляционных материалов производят путем его наклейки на бетонную поверхность, оплавляя нижнюю поверхность рулона пламенем воздушно-газовой горелки и одновременно подогревая поверхность основания, медленно разворачивая рулон и прижимая его к основанию (рис. 5.4). Капли покровной массы или небольшой валик мастики в месте соприкосновения рулона с основанием свидетельствуют о правильном температурном режиме укладки. Наличие большого количества вытекающей массы, а также появление дыма указывают на перегрев материала. Имеющаяся на нижней поверхности материала полиэтиленовая пленка должна быть полностью расплавлена вместе с битумной массой.

Рис. 5.4. Наклейка рулонной гидроизоляции

5.6. Наклеиваемые полотнища не должны иметь складок, морщин, волнистости. Но если это случится, допускаемая высота складки, расположенной вдоль уклона, не должна превышать 10 мм.

5.7. В зимний период при раскатке рулонов их необходимо подогревать пламенем горелки с наружной стороны.

5.8. Для наклейки рулонных материалов применяют газ пропан с расходом 0,3 - 0,6 л/м2 в зависимости от температуры воздуха. Наклейку производят однофакельными или многофакельными горелками.

5.9. Наклейка может быть произведена также с использованием кровельной машины «Луч-4У-1» способом наплавления инфракрасным нагревом.

5.10. При выполнении гидроизоляционных работ следует принять меры предосторожности против попадания на гидроизоляцию масла, бензина, дизельного топлива и других растворителей. В случае пролива указанных материалов поврежденный участок вырезают и ставят заплату.

6. УСЛОВИЯ ПРОИЗВОДСТВА ГИДРОИЗОЛЯЦИОННЫХ РАБОТ

6.1. В соответствии с требованиями СНиП 3.06.03-85 п. 10.16 устройство асфальтобетонных покрытий можно выполнять осенью при температуре не ниже плюс 10 °С, поэтому организация работ на объекте должна предусматривать завершение гидроизоляционных работ до наступления низких температур воздуха.

6.2. В случае необходимости производства работ по устройству гидроизоляции при низких температурах воздуха предпочтительно производить работы в тепляках, хотя возможно выполнение работ с рулонными наплавляемыми материалами без тепляков при температуре до минус 15 °С. Изолируемая поверхность при этом должна быть освобождена от снега и льда и высушена.

7. ТРЕБОВАНИЯ К ОБОРУДОВАНИЮ И ГИДРОИЗОЛИРОВЩИКАМ ПРИ ВЫПОЛНЕНИИ ГИДРОИЗОЛЯЦИОННЫХ РАБОТ

7.1. По гидроизоляции не допускается движение транспортных средств, кроме подвозящих бетонную смесь дли защитного слоя.

7.2. На выполненной гидроизоляции не допускается резкое торможение и разворот автомобилей.

7.3. Протекторы на всем оборудовании, перемещающемся по гидроизоляции, должны регулярно проверяться и застрявшие в них каменные материалы удаляться.

8. КОНТРОЛЬ КАЧЕСТВА ВЫПОЛНЕНИЯ ГИДРОИЗОЛЯЦИИ, ПРАВИЛА ПРИЁМКИ

8.1. Устройству гидроизоляции должна предшествовать приемка выравнивающего слоя. Исполнитель должен представить заказчику журнал производства работ, протоколы испытаний материала выравнивающего слоя по определению показателей прочности, водонепроницаемости, морозостойкости, влажности, а также акты на скрытые работы по результатам инструментального контроля ровности и уклонов поверхности.

При приёмке выравнивающего слоя определяют его соответствие требованиям р. 3 настоящего Руководства.

8.2. Ровность основания и его шероховатость проверяют трёхметровой рейкой по ГОСТ 2789-75*. Рейку укладывают на поверхность выравнивающего слоя в продольном и поперечном направлениях и с помощью имеющегося в комплекте измерителя замеряют зазоры по длине, округляя результаты измерений до 1 мм.

Просветы под трехметровой рейкой должны быть только плавного очертания и не более одного на 1 м. Максимальная глубина просвета не должна превышать 5 мм.

8.3. Влажность основания оценивают непосредственно перед устройством гидроизоляции неразрушающим методом при помощи поверхностного влагомера, например, ВСКМ-12, либо на образцах бетона, выбуренных из выравнивающего слоя или плиты проезжей части, в соответствии с ГОСТ 5802-86.

Влажность определяют в трёх точках изолируемой поверхности. При площади основания свыше 500 м2 количество точек измерения увеличивают на одну на каждые 500 м2, но не более шести точек.

8.4. Перед выполнением гидроизоляции проводят приёмку гидроизоляционных материалов по паспортам в соответствии с ГОСТ 2678-94 и ГОСТ 26627-85, сопоставляя физико-механические характеристики с приведёнными в настоящем Руководстве.

По требованию заказчика о контрольной проверке физико-механических характеристик материала испытания выполняют в соответствии с Техническими условиями на его производство и ГОСТ 2678-94. Определение количественных показателей характеристик должно быть выполнено также в случае просроченного гарантийного срока хранения материала.

В случае несоответствия поступивших материалов нормативным требованиям составляют акт на брак и такие материалы при производстве работ не применяют.

8.5. При приёмке гидроизоляции производит визуальный контроль ее сплошности по всей гидроизолируемой поверхности, проверяют сопряжение её с элементами мостового полотна, определяют наличие дефектов приклейки гидроизоляции. Качество приклейки гидроизоляции определяют визуально по наличию или отсутствию пузырей и путём простукивания гидроизоляции металлическим стержнем. Места непроклея определяются по глухому звуку.

8.6. При наличии пузырей в гидроизоляции, свидетельствующих об отсутствии ее приклейки к основанию, их устраняют, разрезая пузырь крест-накрест (рис. 8.1).

Рис. 8.1 Устранение дефекта - разрезка пузыря.

Отгибают неприклееные концы материала, производят их приклейку оплавлением нижней поверхности и перекрывают повреждённое место заплатой с нахлёсткой со всех сторон разрезов на 100 мм.

Допускается не более трёх заплат на 100 м2.

8.7. Адгезию рулонных материалов проверяют испытанием на отдир, для чего в гидроизоляционном материале делают П-образный надрез с размерами сторон 200´50´200 мм. Свободный конец полосы надрывают и тянут под углом 120 - 180°.

Разрыв должен быть когезионным, т.е. должно происходить расслоение по толщине материала. По результатам испытаний составляют протокол.

Испытание должно производиться через 1 сутки после наклейки гидроизоляции при температуре не выше 30 °С под гидроизоляцией.

8.8. Результаты приёмки гидроизоляции оформляют актом на скрытые работы установленной формы.

8.9. Приемку защитного слоя производят аналогично приёмке выравнивающего слоя.

8.10. Формы исполнительной документации по устройству конструкции дорожной одежды приведены в Приложении 2.

9. ТЕХНИКА БЕЗОПАСНОСТИ ПРИ ВЫПОЛНЕНИИ ГИДРОИЗОЛЯЦИОННЫХ РАБОТ

9.1. Гидроизоляционные работы выполняют с соблюдением правил безопасности, предусмотренных главой СНиП «Техника безопасности в строительстве», «Правилами техники безопасности и производственной санитарии при сооружении мостов и труб».

9.2. Гидроизоляционные работы должны выполнять гидроизолировщики, сдавшие в установленном порядке техминимум по технологии производства и технике безопасности. Руководство работами и контроль качества должны выполнять лица, имеющие опыт гидроизоляции мостовых сооружений. Каждый рабочий при допуске к работе должен пройти инструктаж на рабочем месте с соответствующей записью в журнале.

9.3. На объекте должны быть руководящие материалы по производству работ и технике безопасности работы с наплавляемыми рулонными гидроизоляционными материалами.

9.4. Работы по устройству гидроизоляции должны проводиться с соблюдением требований пожарной безопасности. Рабочие места должны быть оборудованы средствами пожаротушения.

9.5. Укрытия для производства гидроизоляционных работ должны быть оборудованы эффективной вентиляцией. При недостаточной вентиляции необходимо использовать респираторы с угольным фильтром.

9.6. Кожу лица и рук следует защищать специальными защитными пастами и кремами.

9.7. Производство струйно-абразивной очистки следует осуществлять в защитных шлемах пескоструйщика и специальных комбинезонах для пескоструйных работ.

9.8. Уровень шума газовых горелок и пескоструйных аппаратов может достигать 88 - 96 децибелл, что требует защиты органов слуха, предпочтительнее использовать маломощные горелки из-за низкого уровня шума.

9.9. При работе с газовыми баллонами и оборудованием струйно-абразивной очистки следует соблюдать правила работы с аппаратами, находящимися под давлением.

9.10. На рабочем месте должны быть средства индивидуальной защиты: защитные очки, наушники, респираторы, перчатки, защитная одежда и обувь. Обувь должна иметь подошву, препятствующую скольжению; обувь должна выдерживать также повышенную температуру. Не допускается работа в обуви, имеющей в подошве подковы, гвозди, способные повредить гидроизоляционные покрытия.

10. ОХРАНА ОКРУЖАЮЩЕЙ СРЕДЫ

10.1. Перед началом гидроизоляционных работ на территории объекта должны быть выделены места складирования материалов, баллонов с горючими газами.

10.2. При работе с гидроизоляционными материалами высвобождаются поддоны, этикетки, обрезки гидроизоляционных материалов. Их утилизация должна быть предусмотрена в специально отведенных местах.

ПЕРЕЧЕНЬ ССЫЛОЧНЫХ МАТЕРИАЛОВ

1. СНиП 2.01.01-82 «Строительная климатология и геофизика»

2. СНиП 2.03.11-85 «Защита строительных конструкций от коррозии»

3. СНиП 2.05.03-84* «Мосты и трубы»

4. СНиП 3.04.03-85 «Защита строительных конструкций и сооружений от коррозии»

5. СНиП 3.06.03-85 «Автомобильные дороги»

6. СНиП 3.06.04-91 «Мосты и трубы»

7. СНиП III-4-80 «Техника безопасности в строительстве»

8. ВСН 32-81 «Инструкция по устройству гидроизоляции конструкций мостов и труб на железных, автомобильных и городских дорогах»

9. ТУ 5774-005-05766480-95 Материал рулонный кровельный и гидроизоляционный наплавляемый битумно-полимерный «Изопласт»

10. ТУ 5774-025-01393697-99 Материал рулонный гидроизоляционный наплавляемый битумно-полимерный «Мостопласт»

11. ТУ 5774-007-05766480-96 Материал рулонный кровельный и гидроизоляционный наплавляемый битумно-полимерный «Изоэласт»

12. ГОСТ 2678-94 «Материалы рулонные кровельные и гидроизоляционные. Методы испытаний»

13. ГОСТ 2789-75* «Шероховатость поверхности. Параметры и характеристики»

14. ГОСТ 5802-86 «Растворы строительные. Методы испытаний»

15. ГОСТ 9128-97 «Смеси асфальтобетонные дорожные, аэродромные и асфальтобетон. Технические условия»

16. ГОСТ 10060-95 «Бетоны. Методы контроля морозостойкости»

17. ГОСТ 12730.5-84* «Бетоны. Методы определения водонепроницаемости»

18. ГОСТ 23279-85 «Сетки арматурные сварные для железобетонных конструкций и изделий. Общие технические условия»

19. ГОСТ 26627-85 «Материалы рулонные кровельные и гидроизоляционные. Правила приемки»

20. ГОСТ 26633-91 «Бетоны тяжелые и мелкозернистые. Технические условия»

21. «Руководство по устройству дренажа на проезжей части мостовых сооружений», Союздорнии, 1997 г.

22. «Правила техники безопасности и производственной санитарии при сооружении мостов и труб»

ПРИЛОЖЕНИЯ

Приложение 1

ФИЗИКО-МЕХАНИЧЕСКИЕ ХАРАКТЕРИСТИКИ МАТЕРИАЛОВ ИЗОПЛАСТ, МОСТОПЛАСТ, ИЗОЭЛАСТ

Характеристика

Количественные показатели

 

Изопласт

Мостопласт

Изоэласт

 

К

П

 

К

П

 

Масса материала, г/м2

в т.ч. с наплавляемой стороны

5000

5500

5500

5000

5500

 

2000

2000

2500

 

 

 

Масса основы, г/м2, не менее

160

180

200

160

180

 

Тип основы

полиэстр

Вид антиадгезионного материала:

каменная посыпка

песок

песок

каменная посыпка

песок

на верхней поверхности

на нижней поверхности

полиэтиленовая пленка

Размеры материала в рулоне:

 

 

 

 

ширина, мм

1000

1000

1000

 

толщина полотна, мм

5

5,3

5,3

5

5,3

 

длина, м

10

8,0

8,0

10

8,0

 

Разрывная сила при растяжении образца шириной 50 мм, Н (кгс), не менее

 

 

 

 

600

1000/900

600

 

Относительное удлинение при разрыве, %, не менее

30

35

35

Теплостойкость, °С, не ниже

120

130

90

 

Водонепроницаемость, Мпа, (кгс/см2), в течение 24 часов, не ниже

 

0,2 (2)

 

Гибкость: при изгибании на брусе радиусом закругления 10 мм на поверхности не должны появляться трещины при температуре °С, не выше

минус 15

минус 25

на брусе Æ 50 мм

минус 30

Температура хрупкости по Фраасу, °С, не выше

минус 25

минус 32

минус 40

Стойкость к продавливанию усилием (250 ± 10)Н

 

водонепроницаем

 

Приложение 2

Строительная организация________________________________________________

Строительство__________________________________________________________

_______________________________________________________________________

(наименование и месторасположение, км и ПК)

АКТ №
ОСВИДЕТЕЛЬСТВОВАНИЯ И ПРИЕМКИ СКРЫТЫХ РАБОТ ПО ГИДРОИЗОЛЯЦИИ, АНТИКОРРОЗИОННОЙ ЗАЩИТЕ, ОКРАСКЕ

«____»_________________ 199___ г.

Комиссия в составе:

Представителя____________________________________________________________

(наименование подразделения, треста, фамилия, имя, отчество, должность)

представителя технического надзора Заказчика________________________________

_________________________________________________________________________

(фамилия, имя, отчество, должность)

произвела осмотр работ, выполненных________________________________________

(наименование подразделения, треста)

и составила настоящий акт о нижеследующем:

1. К освидетельствованию и приемке представлены следующие работы____________

_________________________________________________________________________

(наименование этапов скрытых работ)

2. Работы выполнены в соответствии с рабочей документацией, разработанной_____

_________________________________________________________________________

(наименование проектных организаций, № чертежей и даты их разработки)

_________________________________________________________________________

Порядок, условия производства, результаты освидетельствования и приемки выполняемых работ отражены в журнале работ №______________________________

При выполнении работ применены___________________________________________

_________________________________________________________________________

(наименование материала с указанием марки, категории качества и т.п.)

Решение комиссии. Работы выполнены в соответствии с рабочей документацией, стандартами, строительными нормами и правилами: ведомственными строительными нормами, технологическими правилами и отвечают требованиям их приемки.

Предъявляемые к приемке работы, указанные в п. 1 настоящего акта, приняты с оценкой качества__________________________________________________________

На основании изложенного разрешается производство последующих работ по устройству________________________________________________________________

_________________________________________________________________________

(наименование работ, конструкций)

_________________________________________________________________________

_________________________________________________________________________

(подписи)

Примечание. Освидетельствование и приемка скрытых работ по настоящему акту производится по окончании следующих этапов работ:

установки водоотводных трубок и устройства подготовки основания под изоляцию, подготовки металлической поверхности для нанесения антикоррозионного покрытия или грунтовки;

устройства защитного слоя гидроизоляции или защитно-сцепляющего слоя антикоррозионной защиты;

устройства гидроизоляционного слоя (ковра), нанесения антикоррозионного покрытия или грунтовки.

ЖУРНАЛ РАБОТ ПО ГИДРОИЗОЛЯЦИИ, АНТИКОРРОЗИОННОЙ ЗАЩИТЕ, ОКРАСКЕ СТАЛЬНЫХ КОНСТРУКЦИЙ

Наименование организации, выполняющей работы______________________________

__________________________________________________________________________

Наименование объекта строительства_________________________________________

Должность, фамилия, инициалы и подпись лица, ответственного за выполнение работ по гидроизоляции, антикоррозионной защите и ведение журнала__________________

__________________________________________________________________________

Организация, разработавшая проектную документацию__________________________

__________________________________________________________________________

Шифр проекта_____________________________________________________________

Предприятие, изготовившее конструкции______________________________________

Шифр заказа______________________________________________________________

Заказчик (организация), должность, инициалы и подпись руководителя (представителя) технического надзора_________________________________________

__________________________________________________________________________

Журнал начат «___»______________ 199__ г.

Журнал окончен «___»____________ 199__ г.


Продолжение приложения 2

Дата, смена

Наименование работ

Объем работ с указанием измерителя

Температура окружающей среды

Влажность воздуха, %

Время начала и окончания работ, ч

Применяемые материалы

Температура в °С (средняя) и продолжительность сушки уложенного слоя, ч

Фамилия, И. О. и подпись ответственного за выполнение работы (бригадир, мастер)

Освидетельствование и приемка работ

Примечание

 

 

 

 

 

 

Наименование

ГОСТ или ТУ

№ паспорта

№ анализа, карты (карточки), подборов

 

 

Результаты осмотра и контроля выполненных работ: обнаруженных дефектов и указания по их устранению. Дата, фамилия, инициалы и подпись проверяющего (мастер, прораб)

Отметка о приемке, оценка качества и подпись ответственного за приемку работ

 

1

2

3

4

5

6

7

8

9

10

11

12

13

14

15


Указания по ведению журнала

1. Журнал составлен для записей работ по гидроизоляции, антикоррозионной защите и окраске стальных конструкций (при малых объемах работ - на объект).

2. На обложке журнала ненужные виды работ зачеркиваются.

3. На титульном листе вид работ, для которого предназначается журнал, проставляется прописью.

В настоящем журнале прошнуровано

и пронумеровано ________________________ страниц

Начальник производственно-

технического отдела _____________________________________________________

(фамилия, инициалы, подпись)

Место печати

подразделения треста

«___»_______________ 19___ год

 



© 2013 Ёшкин Кот :-)