Информационная система
«Ёшкин Кот»

XXXecatmenu

ГОСТ Р 51768-2001

ГОСУДАРСТВЕННЫЙ СТАНДАРТ РОССИЙСКОЙ ФЕДЕРАЦИИ

 

Ресурсосбережение

Обращение с отходами

МЕТОДИКА ОПРЕДЕЛЕНИЯ РТУТИ
В РТУТЬСОДЕРЖАЩИХ ОТХОДАХ

Общие требования

 

 

 

ГОССТАНДАРТ РОССИИ
Москва

 

Предисловие

1 РАЗРАБОТАН Техническим комитетом по стандартизации ТК № 349 «Вторичные материальные ресурсы»

ВНИЦСМВ Госстандарта России

ОАО Институтом «Гинцветмет»

ООО НПЭФ «ЭкОН»

Российским межотраслевым научным советом по ресурсосбережению и переработке отходов

НИИ экологии человека и окружающей среды им. А.Н. Сысина Российской академии медицинских наук

Агентство «Ртутьсервис»

ВНЕСЕН Всесоюзным научно-исследовательским центром стандартизации, информации и сертификации сырья, материалов и веществ Госстандарта России

2 ПРИНЯТ И ВВЕДЕН В ДЕЙСТВИЕ Постановлением Госстандарта России от 28 июня 2001 г. № 251-ст

3 ВВЕДЕН ВПЕРВЫЕ

 

Введение

Ртуть широко применяется в химических отраслях промышленности, электронике, электротехнике, приборостроении, при производстве пестицидов, взрывчатых веществ и в традиционных отраслях: в медицине, при производстве клея, замазок, красителей, мастики.

Экологические и токсикологические последствия бесконтрольного применения ртути очень опасны. Вследствие этого с конца 60-х годов все передовые страны начали разрабатывать программы по сокращению потребления ртути и снижению ртутных выбросов. Был создан целый ряд уникальных технологий и оборудования для утилизации ртутьсодержащих отходов.

Одной из существенных задач, возникающих при утилизации ртутьсодержащих отходов, является определение содержания ртути, особенно ее остаточных количеств. Для получения достоверных данных большое значение имеет методика отбора представительной пробы (1).

Целью настоящего стандарта является установление основных требований для унифицированной методики определения содержания ртути в отходах производства и потребления с учетом положений зарубежных методик отбора и анализа представительных проб ртутьсодержащих отходов.

ГОСТ Р 51768-2001

ГОСУДАРСТВЕННЫЙ СТАНДАРТ РОССИЙСКОЙ ФЕДЕРАЦИИ

Ресурсосбережение

Обращение с отходами

МЕТОДИКА ОПРЕДЕЛЕНИЯ РТУТИ В РТУТЬСОДЕРЖАЩИХ ОТХОДАХ

Общие требования

Resources saving. Waste treatment. Methods for determination of mercury in mercurycontaining waste.
General requirements

Дата введения 2002-01-01

1 Область применения

Настоящий стандарт устанавливает методы определения массовой доли ртути и распространяется на твердые и шламообразные ртутьсодержащие отходы производства и потребления, включая бракованную продукцию, а также продукцию с истекшими сроками эксплуатации, в том числе люминесцентные и ртутные лампы, ртутьсодержащие электрические батарейки.

Стандарт предусматривает использование метода беспламенной атомной абсорбции с использованием техники холодного пара при массовой доле ртути от 0,00002 % до 0,01 %, метода беспламенной атомной абсорбции с термическим разложением проб при массовой доле ртути от 0,000002 % до 0,001 % и атомно-эмиссионного метода с индуктивно связанной плазмой (ИСП) - при массовой доле ртути от 0,01 % и более.

Требования настоящего стандарта обязательны для предприятий, организаций и объединений предприятий, в том числе союзов, ассоциаций, концернов, а также органов управления РФ, имеющих прямое отношение к обращению с отходами.

2 Нормативные ссылки

В настоящем стандарте использованы ссылки на следующие стандарты:

ГОСТ 8.315-97 Государственная система обеспечения единства измерений. Стандартные образцы состава и свойств веществ и материалов. Основные положения

ГОСТ 12.0.004-90 Система стандартов безопасности труда. Организация обучения безопасности труда. Общие положения

ГОСТ 12.1.004-91 Система стандартов безопасности труда. Пожарная безопасность. Общие требования

ГОСТ 12.1.005-88 Система стандартов безопасности труда. Общие санитарно-гигиенические требования к воздуху рабочей зоны

ГОСТ 12.1.007-76 Система стандартов безопасности труда. Вредные вещества. Классификация и общие требования безопасности

ГОСТ 12.1.016-79 Система стандартов безопасности труда. Воздух рабочей зоны. Требования к методикам измерения концентраций вредных веществ

ГОСТ 12.3.031-83 Система стандартов безопасности труда. Работы со ртутью. Требования безопасности

ГОСТ 12.4.009-83 Система стандартов безопасности труда. Пожарная техника для защиты объектов. Основные виды

ГОСТ 12.4.011-89 Система стандартов безопасности труда. Средства защиты работающих. Общие требования и классификация

ГОСТ 12.4.021-75 Система стандартов безопасности труда. Системы вентиляционные. Общие требования

ГОСТ 17.4.3.01-83 Охрана природы. Почвы. Общие требования к отбору проб.

ГОСТ 17.4.3.03-85 Охрана природы. Почвы. Общие требования к методам определения загрязняющих веществ.

ГОСТ 17.4.3.04-85 Охрана природы. Почвы. Общие требования к контролю и охране от загрязнений.

ГОСТ 4204-77 Кислота серная. Технические условия

ГОСТ 4461-77 Кислота азотная. Технические условия

ГОСТ 6709-72 Вода дистиллированная. Технические условия

ГОСТ 7298-79 Гидроксиламин сернокислый. Технические условия

ГОСТ 7851-74 Посуда стеклянная химико-лабораторная. Горловины. Внутренние диаметры

ГОСТ 9147-80 Посуда и оборудование лабораторные фарфоровые. Технические условия

ГОСТ 10157-79 Аргон газообразный и жидкий. Технические условия

ГОСТ 20490-75 Калий марганцовокислый. Технические условия

ГОСТ 27329-87 Руды и концентраты цветных металлов. Общие требования к методам химического анализа

ГОСТ 29227-91 (ИСО 835-1-81) Посуда лабораторная стеклянная. Пипетки градуированные. Часть 1. Общие требования

ГОСТ Р 8.563-96 Государственная система обеспечения единства измерений. Методики выполнения измерений

3 Общие положения

3.1 Результаты определения содержания ртути в отходах производства и потребления необходимы для решения следующих задач:

- выработка предложений по замене первичных источников сырья и материалов паспортизованными ртутьсодержащими отходами;

- оперативное информирование потенциальных и актуальных заказчиков, желающих приобрести отходы или принять участие в их переработке;

- подготовка и принятие экспертами, уполномоченными местными органами власти компетентных решений при рассмотрении вопросов ликвидации ртутьсодержащих отходов;

- выявление эффективных технологий переработки ртутьсодержащих отходов;

- определение эффективных методов контроля и уточнения метрологических требований в связи со спецификой данного отхода, сроками хранения и способами переработки.

3.2 Методика определения ртути должна дать достоверную информацию о количестве общей ртути (органической и неорганической) в следующих отходах:

- почвах (согласно ГОСТ 17.4.3.01, ГОСТ 17.4.3.03, ГОСТ 17.4.3.04), осадках, кубовых остатках и шламообразных материалах;

- люминесцентных лампах, содержащих от 80 до 120 мг ртути каждая;

- ртутьсодержащих электрических батарейках, содержащих до 300 мг ртути каждая.

3.3 Требования, установленные настоящим стандартом, обязательны при:

- паспортизации, сертификации ртутьсодержащих и демеркуризованных отходов как опасных веществ или вторичных материальных ресурсов;

- выполнении любых действий, связанных с переработкой ртутьсодержащих отходов, которая включает маркетинг, хранение, очистку, сепарацию, утилизацию, захоронение и уничтожение указанных отходов (последнее - при экономической или технической невозможности их использования в настоящее время);

- разработке, издании документации всех видов, научно-технической, учебной и справочной литературы.

4 Требования безопасности

4.1 Ртуть и ее соединения относятся к веществам с высокой токсичностью (класс токсичности 1). При работе с ртутью следует руководствоваться ГОСТ 12.3.031 и (2).

4.2 Химические лаборатории должны быть расположены в помещениях с естественным освещением, отоплением, водопроводом, канализацией и соответствовать требованиям действующих санитарных норм.

4.3 Все электроприборы и электроустановки в лаборатории должны соответствовать Правилам устройства электроустановок. Эксплуатация всех электрических приборов в процессе анализа должна проводиться в соответствии с Правилами техники безопасности при эксплуатации электроустановок потребителей.

4.4 Размещение и хранение химических реагентов и веществ, обладающих опасными и вредными свойствами, а также требования безопасности при их использовании осуществляются в соответствии с Основными правилами безопасности, работы в химических лабораториях.

4.5 При использовании сжатых, сжиженных и растворенных газов необходимо соблюдать Правила безопасной эксплуатации сосудов, работающих под давлением, утвержденных Госгортехнадзором СССР.

4.6 Требования пожарной безопасности лабораторных помещений должны соответствовать ГОСТ 12.1.004. Помещения лаборатории должны быть оснащены средствами огнетушения и пожарной техникой по ГОСТ 12.4.009.

4.7 Помещения лаборатории должны иметь приточно-вытяжную вентиляцию, соответствующую требованиям ГОСТ 12.4.021. Подготовка проб к анализу (расположение и пр.) должна проводиться в шкафах, оборудованных местным отсасывающим устройством.

4.8 Концентрации вредных веществ в воздухе рабочей зоны не должны превышать ПДК, указанных в ГОСТ 12.1.005. Контроль за содержанием вредных веществ в воздухе рабочей зоны следует осуществлять в соответствии с ГОСТ 12.1.007, методами определения вредных веществ в воздухе рабочей зоны, рекомендованными Минздравом СССР, и по методикам, разработанным согласно ГОСТ 12.1.016.

4.9 Утилизацию, обезвреживание и уничтожение вредных веществ - отходов от производства анализов - необходимо производить в соответствии с утвержденной документацией, согласованной с санитарно-эпидемиологической службой Минздрава России.

4.10 Лица, выполняющие анализы, должны обеспечиваться предохранительными средствами и спецодеждой: халатами, резиновыми перчатками, фартуками, защитными очками в соответствии с действующими нормами выдачи спецодежды, спецобуви и предохранительных приспособлений, утвержденными Госкомитетом по труду и социальным вопросам, и по ГОСТ 12.4.011.

4.11 К работе в лаборатории допускаются лица не моложе 18 лет. Поступающие на работу, а также работающие в лаборатории должны проходить:

- предварительное обучение безопасным методам работы и правилам обращения с защитными средствами;

- специальный инструктаж по технике безопасности с соответствующей записью в установленном порядке согласно ГОСТ 12.0.004;

- предварительные и периодические медицинские осмотры согласно указаниям Минздрава России.

5 Общие требования

5.1 Общие требования - по ГОСТ 27329.

5.2 Анализу подвергают измельченную усредненную пробу (не менее 10 г), высушенную при температуре (60 ± 2) °С до постоянной массы.

6 Атомно-абсорбционный метод определения массовой доли ртути (от 0,00002 % до 0,01 %)

6.1 Сущность метода

Метод основан на восстановлении ртути до элементного состояния, введении паров ртути в аналитическую ячейку с помощью техники получения холодного пара и измерении атомного поглощения парами ртути аналитической линии ртути 253,7 нм.

Для устранения помех от летучих материалов, содержащихся в навеске, используют предварительное продувание не заполненного раствором пространства колбы воздухом до введения в нее хлорида олова (II).

6.2 Оборудование и реактивы

6.2.1 Ртутный анализатор любой модели, включающий спектрофотометр, лампу с полым катодом для определения ртути, регистрирующее устройство и устройство для получения холодных паров ртути.

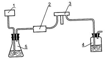
6.2.2 Устройство для получения холодных паров ртути может быть лабораторного изготовления (рисунок 1).

Аналитическая ячейка длиной 10 см с кварцевыми окнами на торцах. Ячейка может быть выполнена из плексигласовой трубки внешним диаметром 2,5 см, к концам которой приклеены оптические кварцевые стекла диаметром 2,5 см и толщиной 1,5 мм. Вход и выход воздуха осуществляются с помощью двух трубок из плексигласа внешним диаметром ~ 0,6 мм, встроенных в ячейку на расстоянии ~ 1,5 см от каждого кварцевого окна. Ячейку устанавливают вместо горелки для пламени вдоль оптической оси.

6.2.3 Насос перистальтический любой марки, обеспечивающий подачу воздуха 1 дм3/мин.

6.2.4 Расходомер (ротаметр), позволяющий измерять расход воздуха 1 дм3/мин.

1 - насос; 2 - осушитель; 3 - ячейка; 4 - поглотитель ртути; 5 - реакционная колба

Рисунок 1 - Схема установки для получения холодного пара ртути

6.2.5 Гибкие шланги для подачи воздуха от насоса в колбу с образцом, ячейку и выход из ячейки.

6.2.6 Осушитель - трубка длиной 15 см, диаметром 2 см, заполненная 20 г перхлората магния или другим высушивающим реагентом. Отходящие из ячейки газы следует пропускать через склянку с раствором, поглощающим ртуть. В качестве поглотителей могут быть использованы:

а) раствор, приготовленный смешением равных объемов 0,1 моль/дм3 раствора КМnО4 и раствора 10 % H2SO4;

б) раствор, содержащий 0,25 % йода в 3 %-ном растворе йодистого калия.

6.2.7 Колбы конические по ГОСТ 7851.

6.2.8 Колбы мерные по ГОСТ 1770.

6.2.9 Пипетки по ГОСТ 29227.

6.2.10 Кислота соляная по ГОСТ 3118.

6.2.11 Кислота азотная по ГОСТ 4461.

6.2.12 Водка царская. Готовят непосредственно перед использованием осторожным добавлением трех объемов концентрированной соляной к одному объему концентрированной азотной кислоты.

6.2.13 Кислота серная по ГОСТ 4204 и раствор концентрации 0,25 моль/дм3 серной кислоты, готовят: 14 см3 концентрированной серной кислоты разбавляют до 1 дм3 водой и перемешивают. Раствор устойчив в течение недели.

6.2.14 Раствор сульфата олова (II): 25 г сульфата олова добавляют к 250 см3 серной кислоты концентрации 0,25 моль/дм3. Смесь представляет собой суспензию и ее необходимо перемешивать во время использования. Смесь готовят в день проведения анализа.

6.2.15 Натрий хлористый по ГОСТ 4233.

6.2.16 Гидроксиламин сернокислый по ГОСТ 7298.

6.2.17 Раствор натрия хлористого - сульфата гидроксиламина, готовят: растворяют 12 г хлорида натрия и 12 г сульфата гидроксиламина в дистиллированной воде, доводят до объема 1 дм3 и перемешивают. Раствор устойчив в течение недели.

Примечание - Вместо сульфата олова (II) можно использовать хлорид олова (II), вместо сульфата гидроксиламина можно использовать хлорид гидроксиламина.

6.2.18 Калий марганцовокислый по ГОСТ 20490. Раствор перманганата калия массовой доли 5 %, готовят растворением 5 г перманганата калия в 100 см3 дистиллированной воды и перемешивают. Раствор устойчив в течение недели.

6.2.19 Стандартный раствор А, содержащий 1 мг ртути в 1 см3, готовят следующим образом: навеску хлорида ртути (II) массой 0,1354 г растворяют в 75 см3 дистиллированной воды в мерной колбе вместимостью 100 см3, добавляют 10 см3 концентрированной азотной кислоты, доводят водой до метки и перемешивают. Раствор устойчив в течение месяца.

6.2.20 Рабочий раствор ртути готовят последовательным разбавлением раствора А до получения раствора сравнения, содержащего 0,1 мкг/см3 ртути. Кислотность рабочего раствора сравнения поддерживают на уровне 0,15 % азотной кислоты. Кислоту добавляют в мерную колбу прежде, чем вводят в нее аликвотную часть раствора. Этот раствор ртути и другие разбавленные растворы, приготовленные из раствора А, устойчивы один день и должны быть приготовлены в день проведения анализа.

6.2.21 Вода дистиллированная по ГОСТ 6709.

6.3 Проведение анализа

6.3.1 Продукты с массовой долей ртути до 0,0005 %.

Навеску сухого образца массой 0,2000 г помещают в колбу вместимостью 300 см3. Добавляют 5 см3 дистиллированной воды и 5 см3 царской водки. Колбу ставят на водяную баню, нагретую до 95 °С, и выдерживают раствор при этой температуре в течение 2 мин. Раствор охлаждают, добавляют 50 см3 дистиллированной воды и 15 см3 раствора перманганата калия. Содержание колбы тщательно перемешивают. Колбу помещают на водяную баню и выдерживают при 95 °С в течение 30 мин. Раствор охлаждают и добавляют 6 см3 раствора хлорида натрия - сульфата гидроксиламина, чтобы восстановить избыток перманганата. Приливают 55 см3 дистиллированной воды, в колбу вставляют (неплотно) пробку с двумя отверстиями для входа и выхода воздуха и продувают не заполненное раствором пространство колбы в течение нескольких секунд, затем добавляют 5 см3 сульфата олова (II), колбу немедленно плотно закрывают этой же пробкой и регистрируют поглощение излучения лампы с полым катодом парами ртути, как описано в 6.4.

6.3.2 Продукты с массовой долей ртути от 0,0005 % до 0,01 %

Навеску сухого образца массой 0,2000 мг помещают в коническую колбу с узким горлом вместимостью 100 см3. Туда же добавляют 10 см3 царской водки, накрывают часовым стеклом и ставят на плиту с двойным асбестом или водяную баню. После прекращения бурной реакции добавляют 40 см3 воды и нагревают при температуре 100 °С, не допуская выпаривания, в течение 30 мин. Далее раствор охлаждают, переводят водой в мерную колбу вместимостью 200 см3, в которую предварительно добавляют 2 см3 концентрированной азотной кислоты, доводят до метки водой и перемешивают.

Из колбы отбирают аликвотную часть 10 см3, переводят в мерную колбу вместимостью 300 см3, добавляют 50 см3 дистиллированной воды, 15 см3 раствора перманганата калия и далее поступают, как описано в 6.3.1.

6.4 Построение градуировочного графика

Готовят серию рабочих растворов сравнения: в шесть конических колб вместимостью 300 см3 вводят 0; 0,5; 1,0; 2,0; 5,0 и 10 см3 рабочего раствора, что соответствует 0; 0,05; 0,10; 0,20; 0,50 и 1,0 мкг ртути. Добавляют дистиллированную воду до объема 10 см3. Затем добавляют 5 см3 царской водки, нагревают 2 мин. на водяной бане при температуре 95 °С. Растворы охлаждают, добавляют 50 см3 дистиллированной воды, 15 см3 раствора перманганата калия в каждую колбу и снова нагревают на водяной бане в течение 30 мин. Снова охлаждают, добавляют 6 см3 раствора хлорида натрия - сульфата гидроксиламина. Приливают 50 см3 дистиллированной воды. В каждую колбу поочередно вставляют пробку (неплотно) с двумя отверстиями для входа и выхода воздуха и продувают пространство над раствором в течение нескольких секунд. В колбу приливают 5 см3 раствора сульфата олова (II) и сразу закрывают пробкой плотно. Насос, который предварительно должен быть установлен на расход воздуха 1 дм3/мин., должен работать непрерывно. Величина поглощения, показываемая на регистрирующем устройстве прибора, будет увеличиваться и достигнет максимума в течение 30 с. Как только показания прибора снизятся (примерно через 1 мин.) до минимального значения, открывают пробку и продолжают продувать раствор воздухом, затем вытаскивают пробку из колбы и приступают к работе со следующим раствором.

Для каждого раствора сравнения измеряют высоту пика поглощения и строят градуировочный график, откладывая по оси абсцисс количество ртути в микрограммах, а по оси ординат - соответствующий ему аналитический сигнал в миллиметрах.

Измеряют высоту пика поглощения для каждого анализируемого раствора и по градуировочному графику находят соответствующее ему содержание ртути в микрограммах.

6.5 Обработка результатов

6.5.1 Выполнение измерений должно соответствовать требованиям ГОСТ Р 8.563 и ГОСТ 8.315.

6.5.2 Массовую долю ртути вычисляют по формуле

или по формуле

сHg(%) = (m1/m) · 10-4,

где сHg(мкг/г) - концентрация ртути, мкг/г;

сHg(%) - массовая доля ртути, %;

m1 - масса ртути в навеске, мкг;

т - масса навески, г.

Результат умножают на величину разведения, если работали по методу А.

6.5.3 За окончательный результат принимают среднее арифметическое результатов трех параллельных опытов. Допускаемые расхождения между результатами параллельных определений не должны превышать 25 % отн.

7 Атомно-эмиссионный метод определения массовой доли ртути (от 0,01 % и более)

7.1 Сущность метода

Метод основан на измерении интенсивности излучения спектральной линии ртути при введении раствора пробы в разряд индукционно-связанной плазмы. Аналитическая линия ртути 194,23 нм.

7.2 Оборудование и реактивы

7.2.1 Плазменный спектрометр любой марки, включающий:

а) сканирующее устройство;

б) регистрирующее устройство - видеодисплей и принтер (при компьютерной обработке результатов) или самописец (при ручной обработке результатов);

в) распылитель;

г) плазменную горелку.

7.2.2 Баллон с аргоном по ГОСТ 10157, снабженный редуктором.

7.2.3 Колбы конические, мерные, пипетки (см. 6.3).

7.2.4 Кислоты азотная, соляная, царская водка, дистиллированная вода - (см. 6.2).

7.2.5 Раствор ртути готовят, как указано в 6.2.19 (раствор А).

7.2.6 Рабочие растворы сравнения, содержащие 100, 10 и 1 мг/дм3 (мкг/см3), готовят последовательным разведением раствора А водой. В мерную колбу перед введением аликвотной части раствора ртути вводят 2 см3 концентрированной азотной кислоты. При ручной обработке результатов количество растворов сравнения следует увеличить, добавив промежуточные и между крайними 1,0 - 10 мг/дм3 и 10 - 100 мг/дм3.

Рабочие растворы готовят в день выполнения анализа.

7.3 Проведение анализа

7.3.1 Навеску сухой пробы массой 0,200 - 1,000 г помещают в коническую колбу с узким горлом вместимостью 100 см3, приливают 10 - 20 см3 царской водки, колбу накрывают часовым стеклом или фарфоровой крышкой и ставят на плиту с двойным асбестом или водяную баню. После прекращения бурной реакции в колбу добавляют 20 см3 воды и снова нагревают, не допуская выпаривания, в течение 30 мин. Далее колбу с раствором охлаждают до комнатной температуры, раствор переводят водой в мерную колбу вместимостью 100 см3, доводят до метки и перемешивают. При необходимости раствор разбавляют водой, предварительно введя 2 см3 концентрированной азотной кислоты в мерную колбу, или разложенную навеску переводят в колбу большей вместимости.

7.3.2 Измерение аналитического сигнала

Режим работы ИСП-спектрометра устанавливают в соответствии с инструкцией к спектрометру. Используют сканирование спектра для учета фонового излучения справа и слева от аналитической линии.

Сначала распыляют растворы сравнения 1,0 и 10 мг/дм3, затем серию анализируемых растворов, делая для каждого по два измерения. Рекалибровку производят через каждые 10 растворов.

Перед распылением каждого раствора распылительную систему промывают водой, распыляя воду в течение 5 с.

7.3.3 Обработка результатов

7.3.3.1 Расчет с помощью компьютера

Результаты получают автоматически в единицах концентрации по раствору (мг/см3). Если раствор разбавляли, умножают на величину разведения.

7.3.3.2 Расчет результатов, полученных с помощью самописца

Измеряют линейкой высоту пика линии для каждого раствора. Строят градуировочный график зависимости аналитического сигнала от концентрации ртути в растворе, откладывая по оси абсцисс содержание ртути в мг/дм3, по оси ординат - соответствующее ему значение аналитического сигнала в миллиметрах.

По измеренной высоте пика линии для анализируемого раствора находят по графику соответствующее содержание ртути в этом растворе. Если раствор разбавляли, умножают на величину разведения. Рассчитывают среднее из двух измерений для каждого раствора.

Массовую долю ртути в пробе сHg(%) находят по формуле

сHg(%) = (cV/m) · 10-4,

где сHg(%) - массовая доля ртути, %;

с - концентрация ртути в растворе, мг/дм3;

V - объем мерной колбы, см3;

т - масса навески пробы, г.

7.3.4 За окончательный результат принимают среднее арифметическое результатов трех параллельных опытов. Допускаемые расхождения между результатами параллельных определений не должны превышать 10 % отн.

8 Атомно-абсорбционный метод определения массовой доли ртути с термическим разложением проб (при массовой доле ртути от 0,000002 до 0,001 %)

8.1 Сущность метода

Метод основан на термической возгонке ртути из твердой, порошкообразной пробы, концентрации выделившихся паров ртути на золотом сорбенте, последующей десорбции ртути с сорбента и измерении атомного поглощения парами ртути излучения с длиной волны 253,7 нм.

8.2 Аппаратура

8.2.1 Анализатор атомно-абсорбционный любой модели, снабженный ртутной лампой и закрытой измерительной кюветой с кварцевыми окнами или ртутный анализатор любой модели, работающий по тому же принципу.

8.2.2 Устройство для термической возгонки и накопления ртути на золотом сорбенте (рисунок 2).

8.2.2.1 Печь, снабженная герметичной ячейкой с двумя штуцерами для ввода и вывода газовоздушного потока и обеспечивающая нагрев образца до температуры 650 - 700 °С.

8.2.2.2 Фильтр любой марки, обеспечивающий очистку газовоздушного потока от твердых и жидких аэродисперсных примесей.

8.2.2.3 Сорбент золотой, представляющий собой золотую нить диаметром 0,05 мм и массой 0,12 - 0,13 г, навитую на нихромовую основу массой 0,2 г в один слой. Общая масса струны сорбента 0,32 - 0,33 г, диаметр - 0,3 мм, длина - 0,34 м. Струна сорбента должна быть свита в спираль и помещена в герметичную кварцевую ячейку внутренним диаметром 4 мм и длиной 100 мм, снабженную двумя штуцерами для ввода и вывода газовоздушного потока, соединенную с общей системой гибкими термостойкими трубками и обеспечивающую возможность приложения к концам нихромовой основы напряжения 10,5 В.

1 - печь; 2 - фильтр; 3 - краны; 4 - сорбент; 5 - измерительная ячейка; 6 - насос

Рисунок 2 - Устройство для термической возгонки и накопления ртути на золотом сорбенте

8.2.3 Компрессор всасывающий, обеспечивающий ток газовоздушной смеси со скоростью 1 дм3/мин.

8.2.4 Система из двух трехходовых кранов, обеспечивающая прохождение газовоздушного потока через печь, фильтр и ячейку, содержащую сорбент, либо, в случае переключения кранов в другое положение, обеспечивающая прохождение газовоздушного потока в направлении от сорбента к измерительной ячейке.

8.2.5 Трубки гибкие, в том числе и термостойкие, обеспечивающие возможность работы при температуре до 750 °С, предназначенные для соединения элементов системы.

8.2.6 Поглотительное устройство ртути согласно 6.2.6.

8.2.7 Весы аналитические по ГОСТ 24104.

8.3 Посуда, реактивы

8.3.1 Ступка с пестиком по ГОСТ 9147.

8.3.2 Емкость кварцевая (лодочка), изготовленная из трубки внешним диаметром 7 - 8 мм, длиной 20 - 24 мм.

8.3.3 Стандартные образцы массовой доли ртути согласно ГСО 7183 05.

8.4 Проведение анализа

8.4.1 Емкость (лодочку) с навеской сухого образца массой 0,1 - 0,01 г помещают в нагреватель печи. Систему клапанов устанавливают в положение, обеспечивающее прохождение газовоздушной смеси в направлении от образца к золотому сорбенту. Включают компрессор и нагревают печь до температуры 650 - 700 °С, выдерживают при этой температуре в течение 1 мин., после чего систему клапанов устанавливают в положение, обеспечивающее прохождение газовоздушной смеси от золотого сорбента через ячейку анализатора и печь к поглотительному устройству, производят отжиг сорбента путем подачи напряжения 10,5 В на его нихромовую нить в течение 6 с, одновременно производя измерение содержания паров ртути в воздухе, проходящем через ячейку анализатора. Производят не менее трех параллельных измерений.

8.4.2 Для определения фоновых значений содержания ртути в измерительной системе проводят полный цикл измерений согласно 8.4.1 без помещения навески образца в кварцевую емкость.

8.4.3 Построение градуировочного графика. Для градуировки используют стандартные образцы по 8.3.3. Подбирают серию навесок стандартных образцов массой ртути 0,001, 0,05 и 0,01 мкг. Для каждой навески определяют ртуть аналогично 8.4.1 и 8.4.2. Строят градуировочный график, откладывая по оси абсцисс количество микрограмм ртути в пробе, а по оси ординат - соответствующее показание прибора.

8.4.4 Обработка результатов

8.4.4.1 По результатам измерений при анализе реальной пробы по градуировочному графику находят массу ртути в пробе в микрограммах.

8.4.4.2 Массовую долю ртути вычисляют по формуле

или по формуле

сHg(%) = (m1/m) · 10-4,

где сHg(мкг/г) - концентрация ртути, мкг/г;

сHg(%) - массовая доля ртути, %;

m1 - масса ртути в навеске, мкг;

т - масса навески, г.

8.4.4.3 Допускаемые расхождения между результатами параллельных измерений не должны превышать 25 % отн.

ПРИЛОЖЕНИЕ А

(справочное)

Библиография

(1) Гладышев В.П., Левицкая С.А. и Филиппова Л.М. «Аналитическая химия ртути», М., «Наука», серия «Аналитическая химия элементов», 1974

(2) ПОТ-РМ-001-93. Правила по охране труда при работе с ртутью. Минтруд России, 1993

 

Ключевые слова: ртутьсодержащие отходы, охрана окружающей среды, атомно-абсорбционная спектрофотометрия, индукционно-связанная плазма, безопасность

 

СОДЕРЖАНИЕ

Введение. 1

1 Область применения. 2

2 Нормативные ссылки. 2

3 Общие положения. 2

4 Требования безопасности. 3

5 Общие требования. 3

6 Атомно-абсорбционный метод определения массовой доли ртути (от 0,00002 % до 0,01 %) 3

7 Атомно-эмиссионный метод определения массовой доли ртути (от 0,01 % и более) 6

8 Атомно-абсорбционный метод определения массовой доли ртути с термическим разложением проб (при массовой доле ртути от 0,000002 до 0,001 %) 7

Приложение А Библиография. 8

 

 



© 2013 Ёшкин Кот :-)