Информационная система
«Ёшкин Кот»

XXXecatmenu

ГОСТ Р 8.601-2003

НАЦИОНАЛЬНЫЙ СТАНДАРТ РОССИЙСКОЙ ФЕДЕРАЦИИ

Государственная система обеспечения единства
измерений

ДАВЛЕНИЕ НАСЫЩЕННЫХ ПАРОВ НЕФТИ
И НЕФТЕПРОДУКТОВ

Методика выполнения измерений

ГОССТАНДАРТ РОССИИ
Москва

Предисловие

1 РАЗРАБОТАН Государственным унитарным предприятием «Институт проблем транспорта энергоресурсов» (ГУП «ИПТЭР»), Федеральным государственным унитарным предприятием «Всероссийский научно-исследовательский институт расходометрии» (ФГУП «ВНИИР») Госстандарта России и Научно-производственным центром «СКПнефть»

ВНЕСЕН Управлением метрологии Госстандарта России

2 ПРИНЯТ И ВВЕДЕН В ДЕЙСТВИЕ Постановлением Госстандарта России от 26 сентября 2003 г. № 274-ст

3 ВВЕДЕН ВПЕРВЫЕ

СОДЕРЖАНИЕ

1 Область применения. 2

2 Нормативные ссылки. 2

3 Нормы погрешности измерений. 2

4 Средства измерений, вспомогательные устройства и реактивы.. 2

5 Метод измерений. 3

6 Требования безопасности и охраны окружающей среды.. 3

7 Требования к квалификации операторов. 3

8 Условия измерений. 3

9 Отбор проб. 4

10 Подготовка к выполнению измерений. 4

11 Выполнение измерений. 4

12 Обработка результатов измерений. 5

13 Контроль точности результатов измерений. 5

Приложение А. Описание прибора типа АЛП-01 ДП-01. 5

Приложение Б. Описание индивидуального пробоотборника типа ИП-3. 7

Приложение В. Расчет эквивалентного давления по Рейду. 8

Приложение Г. Библиография. 9

ГОСТ Р 8.601-2003

НАЦИОНАЛЬНЫЙ СТАНДАРТ РОССИЙСКОЙ ФЕДЕРАЦИИ

Государственная система обеспечения единства измерений

ДАВЛЕНИЕ НАСЫЩЕННЫХ ПАРОВ НЕФТИ И НЕФТЕПРОДУКТОВ

Методика выполнения измерений

State system for ensuring the uniformity of measurements. Pressure of saturated steams of crude oil and products from oil. Measurement procedure

Дата введения 2004-04-01

1 Область применения

Настоящий стандарт распространяется на давление насыщенных паров (далее - ДНП) нефти и нефтепродуктов (далее - продукты) и устанавливает методику выполнения его измерений в диапазоне от 10 до 160 кПа и в интервале температур от 10 °С до 60 °С при соотношении объемов паровой и жидкой фаз 4:1.

2 Нормативные ссылки

В настоящем стандарте использованы ссылки на следующие стандарты:

ГОСТ 12.1.005-88 Система стандартов безопасности труда. Общие санитарно-гигиенические требования к воздуху рабочей зоны

ГОСТ 1756-2000 (ИСО 3007-99) Нефтепродукты. Определение давления насыщенных паров

ГОСТ 2517-85 Нефть и нефтепродукты. Методы отбора проб

ГОСТ 3885-73 Реактивы и особо чистые вещества. Правила приемки, отбор проб, фасовка, упаковка, маркировка, транспортирование и хранение

ГОСТ 8505-80 Нефрас-С 50/170. Технические условия

ГОСТ Р ИСО 5725-1-2002 Точность (правильность и прецизионность) методов и результатов измерений. Часть 1. Основные положения и определения

ГОСТ Р ИСО 5725-2-2002 Точность (правильность и прецизионность) методов и результатов измерений. Часть 2. Основной метод определения повторяемости и воспроизводимости стандартного метода измерений

ГОСТ Р ИСО 5725-3-2002 Точность (правильность и прецизионность) методов и результатов измерений. Часть 3. Промежуточные показатели прецизионности стандартного метода измерений

ГОСТ Р ИСО 5725-4-2002 Точность (правильность и прецизионность) методов и результатов измерений. Часть 4. Основные методы определения правильности стандартного метода измерений

ГОСТ Р ИСО 5725-5-2002 Точность (правильность и прецизионность) методов и результатов измерений. Часть 5. Альтернативные методы определения прецизионности стандартного метода измерений

ГОСТ Р ИСО 5725-6-2002 Точность (правильность и прецизионность) методов и результатов измерений. Часть 6. Использование значений точности на практике

3 Нормы погрешности измерений

Доверительные границы суммарной погрешности (расширенной неопределенности) измерений ДНП продуктов в диапазоне от 10 до 160 кПа в интервале температур от 10 °С до 60 °С составляют ±2 кПа.

4 Средства измерений, вспомогательные устройства и реактивы

4.1 При выполнении измерений применяют следующие средства измерений, вспомогательные устройства и реактивы:

- автоматический лабораторный прибор типа АЛП-01 ДП-01 (описание прибора приведено в приложении А);

- барометр-анероид типа БААМ-1;

- термостат жидкостный типа VT-8 с диапазоном температур от 0 °С до 150 °С, обеспечивающий стабильность поддержания температуры в пределах ±0,1 °С;

- пробоотборник индивидуальный типа ИП-3 (описание пробоотборника приведено в приложении Б);

- нефрас марки 50/170 по ГОСТ 8505.

4.2 Допускается применение других средств измерений, которые по своим характеристикам не хуже указанных в 4.1.

4.3 Применяемые средства измерений должны быть внесены в Государственный реестр средств измерений и поверены, а вспомогательное оборудование проверено на работоспособность.

5 Метод измерений

Измерения ДНП выполняют методом расширения, аналогичным изложенному в [1].

При реализации метода выполняют следующие операции:

- герметичный отбор пробы продукта;

- ввод определенного количества продукта в измерительную камеру прибора типа АЛП-01 ДП-1 (далее - прибор), объем которой движением поршня увеличивают до соотношения объемов паровой и жидкой фаз 4:1;

- приведение системы «пар - жидкость» в термодинамическое равновесие при заданной температуре;

- фиксацию давления в камере.

6 Требования безопасности и охраны окружающей среды

6.1 При выполнении измерений соблюдают требования безопасности, изложенные в паспортах прибора типа АЛП-01 ДП-01, пробоотборника типа ИП-3 и термостата.

6.2 Содержание вредных веществ в воздухе рабочей зоны должно соответствовать требованиям ГОСТ 12.1.005.

6.3 При наливе и сливе продукта и при отборе проб необходимо использовать индивидуальные средства защиты.

6.4 Отработанный продукт и промывочные жидкости следует сливать в специальные герметизированные емкости.

6.5 Легковоспламеняющиеся жидкости следует хранить в стеклянных банках типа Б-1 или склянках типа С-1 с притертыми пробками вместимостью до 1,0 дм3 (группа фасовки VI) по ГОСТ 3885, которые помещают в закрывающиеся металлические ящики со стенками и дном, выложенными негорючими материалами.

6.6 При загорании небольших количеств разлитого продукта необходимо применять песок, кошму, углекислотные огнетушители, при пожарах - воду из лафетных стволов, химическую и механическую пену.

7 Требования к квалификации операторов

К. выполнению измерений и обработке результатов допускают лиц, имеющих специальную подготовку, изучивших настоящий стандарт, эксплуатационную документацию на прибор, термостат и пробоотборник и прошедших инструктаж по технике безопасности.

8 Условия измерений

При выполнении измерений соблюдают следующие условия:

- атмосферное давление в процессе измерений,

кПа (мм рт. ст.)............................................................... от 97,3 до 104,0 (от 730 до 780);

- относительная влажность, %...................................... не более 80;

- температура окружающего воздуха, °С.................... 25 ± 10;

- температура продукта, °С........................................... от плюс 10 до плюс 60;

- плотность продукта при 20 °С, кг/м.......................... от 700 до 950;

- вязкость продукта при 20 °С, мм/с............................ от 0,5 до 250,0.

9 Отбор проб

9.1 Отбор проб проводят по ГОСТ 2517 с использованием индивидуального пробоотборника типа ИП-3 (далее - пробоотборник).

9.2 При подготовке проб и работе с ними необходимо принять меры к исключению потерь нефтепродуктов от испарений, которые ведут к изменению состава продукта.

10 Подготовка к выполнению измерений

При подготовке к выполнению измерений проводят следующие работы:

10.1 Осуществляют подготовку прибора в соответствии с инструкцией по эксплуатации.

10.2 С целью проверки герметичности измерительной камеры (при ручном режиме работы) отводят поршень в крайнее нижнее положение. При этом в измерительной камере устанавливают давление не более 10 кПа. Камеру считают герметичной, если в течение 3 мин давление не изменится более чем на 0,5 кПа.

10.3 Поршень приводят в промежуточное положение. Открыванием выходного клапана измерительную камеру сообщают с атмосферой и сравнивают показания прибора со значением атмосферного давления по барометру. Если разность будет превышать 0,5 кПа, то проводят корректировку прибора в соответствии с инструкцией по эксплуатации.

10.4 С помощью шланга высокого давления к входному клапану прибора подключают пробоотборник с отобранной пробой продукта.

10.5 К термостатирующим «рубашкам» прибора и пробоотборника подключают термостат. Задают требуемую температуру и после ее стабилизации в течение 15 мин термостатируют прибор.

10.6 При работе в ручном режиме на пробоотборнике (рисунок Б.1) открывают выходной вентиль. Нажатием соответствующей кнопки на передней панели прибора (рисунок А.1) задают движение поршней 3 и 4 в верхнее положение и в пробоотборную камеру отбирают пробу продукта.

После достижения поршнями крайних верхних положений нажатием соответствующей кнопки задают движение поршней вниз. В измерительной камере образуется разрежение, а в пробоотборной камере создается давление 1200 - 1500 кПа.

Перед достижением поршнем 4 крайнего нижнего положения происходит автоматическое открывание впрыскного клапана 8 и продукт под действием перепада давления поступает в полость измерительной камеры.

Операции по 10.6 повторяют три раза.

11 Выполнение измерений

При выполнении измерений осуществляют следующие операции:

11.1 При работе в ручном режиме:

11.1.1 Нажатием соответствующей кнопки задают движение поршней 3 и 4 в верхнее положение.

11.1.2 После достижения поршнями крайних верхних положений нажатием соответствующей кнопки задают движение поршней вниз.

11.1.3 После достижения поршнями 3 и 4 крайнего нижнего положения снимают показания давления.

11.1.4 Операции по 11.1.1 - 11.1.3 повторяют не менее двух раз и полученные результаты измерений ДНП заносят в журнал.

11.2 При работе в автоматическом режиме:

11.2.1 Задают число измерений не менее двух и нажимают кнопку «Ввод». В процессе работы на табло прибора высвечиваются значение ДНП и номер выполняемого измерения. По окончании измерений на табло в автоматическом режиме высвечивается среднее значение ДНП, которое заносят в журнал.

12 Обработка результатов измерений

Обработку результатов измерений выполняют следующим способом:

12.1 При выполнении измерений в ручном режиме за результат измерений принимают среднее арифметическое двух результатов наблюдений.

12.2 При выполнении измерений в автоматическом режиме на табло прибора высвечивается среднее значение ДНП, полученное из двух наблюдений.

12.3 Результаты измерений ДНП по методу расширения (ДНПР) могут быть переведены в значения ДНП по ГОСТ 1756 (RVPE*) при той же температуре.

* RVPE - метод Рейда.

12.4 Способ расчета эквивалентного давления паров по Рейду изложен в приложении В.

12.5 В тех случаях, когда необходима опенка точности (правильности и прецизионности) метода и результатов измерений, ее осуществляют в соответствии с ГОСТ Р ИСО 5725-1 - ГОСТ Р ИСО 5725-6.

13 Контроль точности результатов измерений

Расхождение между двумя результатами измерений ДНП продукта в условиях повторяемости не должно превышать 0,6 кПа.

ПРИЛОЖЕНИЕ А

(справочное)

Описание прибора типа АЛП-01 ДП-01

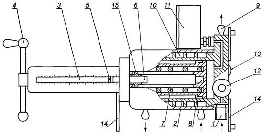
А.1 Прибор (рисунок А.1) предназначен для измерений давления насыщенных паров методом расширения нефти и нефтепродукта при соотношении фаз 4:1.

А.1.1 Прибор имеет следующие технические характеристики:

- диапазон измерений ДНП, кПа                                                              от 10 до 160;

- пределы суммарной абсолютной погрешности измерений

ДНП, кПа                                                                                                 ±1;

- соотношение вместимости измерительной камеры

и объема отбираемой пробы                                                                  5:1;

- давление ввода пробы в измерительную камеру, кПа                        от 1200 до 1500;

- температура анализируемого продукта, °С                                          от 10 до 60;

- максимальная дискретность измерений, мин                                       3;

- масса, кг, не более                                                                                    15;

- потребляемая мощность в номинальном режиме работы, Вт,

не более                                                                                                     50;

- габариты, мм, не более                                                                            350´350´200.

А.2 Устройство прибора (рисунок А.1)

Прибор состоит из цилиндрического блока с приводом и блока управления.

А.2.1 Цилиндрический блок состоит из пробоотборной 1 и измерительной 2 камер с поршнями 3 и 4, входного 5 и выходного 6 клапанов, термостатирующих «рубашек» 7 и впрыскного клапана 8, а также датчика давления 13 и подпорной газовой камеры 14.

1 - пробоотборная камера; 2 - измерительная камера; 3, 4 - поршни; 5 - входной клапан;
6 - выходной клапан; 7 - термостатирующая «рубашка»; 8 - впрыскной клапан; 9 - двигатель;
10 - редуктор; 11 - визир; 12 - микровыключатели; 13 - датчик давления; 14 - подпорная газовая камера;
15 - блок управления (панель прибора)

Рисунок А.1 - Прибор типа АЛП-01 ДП-01

Привод состоит из двигателя 9, одноступенчатого редуктора 10, винтовой ходовой пары с визиром 11 и микровыключателей 12.

А.2.2 Блок управления 15, соединенный с приводом и датчиком давления, позволяет проводить измерения в ручном и автоматическом режимах.

А.3 Принцип работы прибора основан на:

- герметичном отборе пробы продукта;

- расширении измерительной камеры до объема, необходимого для создания заданного соотношения фаз (4:1);

- впрыске пробы в измерительную камеру и приведении системы «пар - жидкость» в термодинамическое равновесие;

- регистрации давления.

А.4 Управление прибором осуществляют с помощью кнопок, расположенных на лицевой панели прибора.

А.4.1 Работу в ручном режиме «Руч» осуществляют с помощью кнопки «Ввод».

Движение поршней 3 и 4 в верхнее положение задают кнопкой «ВП», а в нижнее - кнопкой «НП». Кнопка «Стоп» - останавливает двигатель. В ручном режиме в течение всего времени на табло прибора высвечивается значение ДНП.

Светодиод «Руч» горит в ручном режиме постоянно, показывая, что прибор находится в ручном режиме управления. Выход из заданного режима осуществляют кнопкой «Выход».

А.4.2 Работу в автоматическом режиме «Auto» осуществляют с помощью кнопки «Ввод». На табло прибора высвечивается количество задаваемых наблюдений «Auto N».

Во время измерений на табло прибора высвечиваются значение ДНП и номер выполняемого измерения. По окончании измерений на табло прибора высвечивается среднее значение ДНП.

ПРИЛОЖЕНИЕ Б

(справочное)

Описание индивидуального пробоотборника типа ИП-3

Б.1 Пробоотборник (рисунок Б.1) предназначен для отбора пробы анализируемого продукта и автоматической подачи ее в прибор при заданной температуре.

Б.1.1 Пробоотборник имеет следующие технические характеристики:

- объем отбираемой пробы, мл                                                                 250;

- максимальное давление обора, кПа                                                       6000;

- начальное давление для перемещения поршня Р1, кПа                      от 100 до 200;

- конечное давление для перемещения поршня Р2, кПа                        от 200 до 300;

- масса, кг, не более                                                                                    3,5

- габаритные размеры, мм, не более                                                         350´195´135.

Б.2 Устройство пробоотборника (рисунок Б.1)

Пробоотборник состоит из пробоотборной камеры и узла пресса.

1 - входной штуцер; 2 - цилиндр; 3 - корпус с линейной шкалой; 4 - рукоятка; 5 - визир; 6 - винт;
7 - пружина; 8 - поршень; 9 - выходной штуцер; 10 - термостатирующая «рубашка»; 11 - манометр;
12 - входной вентиль; 13 - выходной вентиль; 14 - установочные опоры; 15 - ходовая гайка

Рисунок Б.1 - Пробоотборник типа ИП-3

Б.2.1 Пробоотборная камера состоит из входного штуцера 1, цилиндра 2, выходного штуцера 9, термостатирующей «рубашки» 10, манометра 11, входного вентиля 12, выходного вентиля 13 и установочных опор 14.

Б.2.2 Узел пресса состоит из корпуса с линейной шкалой 3, рукоятки 4, визира 5, винта 6 с ходовой гайкой 15, пружины 7 и поршня 8.

Б.3 Метод наполнения пробоотборника пробами, находящимися под давлением выше Р2

Б.3.1 Пробоотборник присоединяют к пробозаборному устройству с помощью шланга высокого давления.

Б.3.2 Резиновую трубку, направленную в открытый сборный контейнер, надевают на выходной штуцер 9.

Б.3.3 Последовательно открывают вентиль на пробозаборном устройстве и вентили 12 и 13 на пробоотборнике.

Б.3.4 В контейнер сливают 50 мл продукта, закрывают выходной вентиль 13, выдерживают 30 с, закрывают входной вентиль 12 и отсоединяют пробоотборник.

Б.3.5 Если при транспортировании и хранении температура отбираемого продукта t ниже максимально ожидаемой температуры tmax, то, приоткрывая выходной вентиль 13, сливают количество продукта V, мл, равное

V = 0,25(tmax - t),                                                           (Б.1)

где 0,25 - усредненный коэффициент, рассчитанный исходя из максимально возможных значений объема отбираемого продукта и коэффициента его термического расширения, мл/°С.

Б.4 Метод наполнения пробоотборника пробами, находящимися под давлением ниже Р2

Б.4.1 Выполняют операции по Б.3.1 - Б.3.3.

Б.4.2 В контейнер сливают 50 мл продукта, закрывают выходной вентиль 13, вращением рукоятки 4 и винта 6 перемещают поршень 8 и ходовую гайку 15 вверх до упора.

Б.4.3 Закрывают входной вентиль 12, затем вращением рукоятки 4 и винта 6 перемещают ходовую гайку 15 вправо до упора и отсоединяют пробоотборник.

Б.4.4 Если при транспортировании и хранении температура отбираемого продукта t ниже максимально ожидаемой температуры tmax, то, приоткрывая выходной вентиль 13, сливают количество продукта V, указанное в Б.3.5.

ПРИЛОЖЕНИЕ В

(справочное)

Расчет эквивалентного давления по Рейду

В.1 Взаимосвязь результатов измерений давления насыщенных паров продуктов по методу расширения (ДНПР) и методу Рейда (RVPE), кПа, выражена формулой

RVPE = 2,964·· 10-3 ДНПР2 + 0,65578 ДНПР - 4,23.                    (B.1)

(Поправка)

В.2 Результаты расчетов по формуле (В.1) представлены в таблице В.1.

Таблица В.1 - Перевод показаний прибора типа АЛП-01 ДП-01 по методу расширения на показания аппарата ЛДП по ГОСТ 1756

Показания прибора типа АЛП-01 ДП-01, кПа, по методу расширения

Десятки

Единицы

30

40

50

60

70

80

90

100

110

120

130

140

150

160

Показания аппарата ЛДП, кПа, по методу Рейда

0

18,1

26,7

36,0

45,8

56,2

67,2

78,8

91,0

103,8

117,2

131,1

145,7

160,9

176,6

1

18,9

27,6

36,9

46,8

57,3

68,3

80,0

92,3

105,1

118,5

132,6

147,2

162,4

178,2

2

19,8

28,5

37,9

47,8

58,4

69,5

81,2

93,5

106,4

119,9

134,0

148,7

164,0

179,8

3

20,6

29,4

38,9

48,8

59,4

70,6

82,4

94,8

107,7

121,3

135,4

150,2

165,5

181,5

4

21,5

30,4

39,8

49,9

60,5

71,8

83,6

96,0

109,1

122,7

136,9

151,7

167,1

183,1

5

22,4

31,3

40,8

50,9

61,6

72,9

84,8

97,3

10,4

124,1

138,3

153,2

168,7

184,7

6

23,2

32,2

41,8

52,0

62,7

74,1

86,0

98,6

11,7

125,5

139,8

154,7

170,2

186,4

7

24,1

33,1

42,8

53,0

63,8

75,3

87,3

99,9

13,1

126,9

141,3

156,3

171,8

188,0

8

25,0

34,1

43,8

54,1

65,0

76,4

88,5

101,2

14,4

128,3

142,7

157,8

173,4

189,6

9

25,9

35,0

44,8

55,1

66,1

77,6

89,8

102,5

15,8

129,7

144,2

159,3

175,0

191,3

(Поправка)

ПРИЛОЖЕНИЕ Г

(справочное)

Библиография

[1] ASTM D 6377-99* Стандартный метод определения давления паров сырой нефти VPCRx (метод расширения)

* Стандарт американской корпорации ASTM. Оригинал документа находится в ОАО «Научно-исследовательский институт по переработке нефти».

Ключевые слова: давление насыщенных паров, нефть, нефтепродукт, методика выполнения измерений

 

 



© 2013 Ёшкин Кот :-)