Информационная система
«Ёшкин Кот»

XXXecatmenu

ОСТ 24.125.155-01

СТАНДАРТ ОТРАСЛИ

КОРПУСА СКОЛЬЗЯЩИХ ОПОР
ТРУБОПРОВОДОВ ТЭС И АЭС

КОНСТРУКЦИЯ И РАЗМЕРЫ

Предисловие

1 РАЗРАБОТАН открытым акционерным обществом «Научно-производственное объединение по исследованию и проектированию энергетического оборудования им. И. И. Ползунова» (ОАО «НПО ЦКТИ») и открытым акционерным обществом «Белгородский завод энергетического машиностроения» (ОАО «Белэнергомаш»)

ИСПОЛНИТЕЛИ: от ОАО «Белэнергомаш» ЗАВГОРОДНИЙ Ю.В., СЕРГЕЕВ О.А., РОГОВ В.А.; от ОАО «НПО ЦКТИ» ПЕТРЕНЯ Ю.К., д-р физ.-мат. наук; СУДАКОВ А.В., д-р техн. наук; ДАНЮШЕВСКИЙ И.А., канд. техн. наук; ИВАНОВ Б.Н., канд. техн. наук; ТАБАКМАН М.Л.; ГЕОРГИЕВСКИЙ Н.В.

2 ПРИНЯТ И ВВЕДЕН В ДЕЙСТВИЕ Департаментом промышленной и инновационной политики в машиностроении Министерства промышленности, науки и технологий Российской Федерации письмом № 10-1984 от 31.10.2001 г.

3 ВЗАМЕН ОСТ 108.275.39-80, ОСТ 108.275.40-80

СТАНДАРТ ОТРАСЛИ

КОРПУСА СКОЛЬЗЯЩИХ ОПОР ТРУБОПРОВОДОВ ТЭС И АЭС

Конструкция и размеры

Дата введения 2002-01-01

1 Область применения

Настоящий стандарт распространяется на корпуса скользящих опор трубопроводов ТЭС и АЭС, изготавливаемых по ОСТ 24.125.154.

Стандарт устанавливает конструкцию и размеры корпусов скользящих опор трубопроводов.

2 Нормативные ссылки

В настоящем стандарте использованы ссылки на следующие стандарты:

ГОСТ 5264-80 Ручная дуговая сварка. Соединения сварные. Основные типы, конструктивные элементы и размеры

ГОСТ 5520-79 Сталь листовая углеродистая низколегированная и легированная для котлов и сосудов, работающих под давлением. Технические условия

ОСТ 24.125.120-01 Подвески трубопроводов ТЭС и АЭС. Полухомуты для хомутовых опор. Конструкция и размеры

ОСТ 24.125.152-01 Корпуса неподвижных опор трубопроводов ТЭС и АЭС. Конструкция и размеры

ОСТ 24.125.154-01 Опоры скользящие трубопроводов ТЭС и АЭС. Конструкция и размеры

ОСТ 24.125.170-01 Детали и сборочные единицы опор, подвесок, стяжек для линзовых компенсаторов и приводов дистанционного управления арматурой трубопроводов ТЭС и АЭС. Общие технические условия

3 Конструкция и размеры

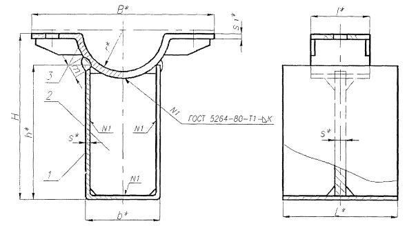
3.1 Конструкция, основные размеры и материалы должны соответствовать указанным на рисунках 1 - 3 и в таблицах 1 - 4.

3.2 Корпуса для трубопроводов наружным диаметром 57, 76, 89 мм изготавливаются по ОСТ 24.125.152, исполнения 01, 02, 18-20.

3.3 Маркировка и остальные технические требования по ОСТ 24.125.170.

3.4 Пример условного обозначения корпуса скользящей опоры исполнения 05:

КОРПУС 05 ОСТ 24.125.155

3.5 Пример маркировки: 05 ОСТ 24.125.155

* Размеры для справок.

1 - скоба; 3 - полухомут

Рисунок 1.

* Размеры для справок.

1 - скоба; 2 - ребро; 3 - полухомут

Рисунок 2.

См. рисунок 2

Рисунок 3.

Таблица 1

Основные размеры корпусов скользящих опор трубопроводов из хромомолибденованадиевых сталей

Размеры в миллиметрах

Исполнение

Наружный диаметр трубопровода Da

Рисунок

B*

H ± 3

L*

b*

h*

l*

r*

s*

s1*

k, не менее

m, не менее

Масса наплавленного металла, кг

Масса, кг

01

108

1

200

175

90

100

140

60

55

5

5

-

10

0,02

1,89

02

133

240

194

68

2,02

03

159

270

207

81

2,12

04

194

330

252

110

150

180

98

6

8

0,04

4,18

05

219

355

269

111

4,31

06

245

2

390

282

120

200

200

80

124

6

6

12

0,10

7,36

07

273

430

300

139

7,53

08

325

490

335

140

280

240

100

165

0,20

11,01

09

377

560

348

360

260

191

8

8

8

14

0,30

17,24

10

426

610

389

120

216

12

0,40

19,18

11

465

3

660

418

200

160

236

14

25,38

12

530

740

415

480

280

268

29,87

13

630

850

482

540

300

180

318

10

10

16

0,70

43,87

14

720

950

524

620

320

363

0,80

49,97

15

920

1150

661

463

55,47

* Размеры для справок.

Таблица 2

Основные размеры корпусов скользящих опор трубопроводов из углеродистых, кремнемарганцовистых и аустенитных сталей

Размеры в миллиметрах

Исполнение

Наружный диаметр трубопровода Da

Рисунок

B*

H ± 3

L*

b*

h*

l*

r*

s*

s1*

k, не менее

m, не менее

Масса наплавленного металла, кг

Масса, кг

16

108

1

200

155

90

100

120

50

55

6

6

-

10

0,02

2,03

17

133

240

174

68

2,17

18

159

270

186

81

2,24

19

194

330

232

110

150

160

98

8

14

0,04

3,74

20

219

355

249

111

3,84

21

245

2

390

262

120

200

180

70

124

6

6

12

0,10

6,71

22

273

430

280

139

6,86

23

325

490

315

140

280

220

90

165

0,20

10,16

24

377

560

328

360

240

191

8

8

8

14

0,30

16,08

25

426

610

369

110

216

12

17,88

26

465

3

660

398

200

160

236

14

0,40

23,98

27

530

740

395

480

260

268

28,27

28

630

850

462

540

280

170

318

10

10

16

0,70

41,57

29

720

950

504

620

300

363

0,80

46,77

30

820

1110

573

413

52,27

* Размеры для справок.

Таблица 3

Спецификация корпусов скользящих опор трубопроводов из хромомолибденованадиевых сталей

Размеры в миллиметрах

Исполнение

Наружный диаметр трубопровода Da

Скоба, поз. 1, 1 шт.

Ребро, поз. 2, 1 шт.

Полухомут, поз. 3, 1 шт.

s

Развернутая длина

Материал

Размеры

Материал

Исполнение по ОСТ 24.125.120

01

108

5

364

Сталь 12ХМ-3 ГОСТ 5520

-

-

03

02

133

05

03

159

07

04

194

6

490

09

05

219

10

06

245

580

120×184×6

Сталь 12ХМ-3 ГОСТ 5520

22

07

273

23

08

325

740

140×264×6

24

09

377

8

854

180×340×8

25

10

426

200×340×8

26

11

465

27

12

530

1013

200×460×8

28

13

630

10

1107

200×516×10

29

14

720

1227

220×596×10

30

15

920

250×596×10

31

Таблица 4

Спецификация корпусов скользящих опор трубопроводов из углеродистых, кремнемарганцовистых и аустенитных сталей

Размеры в миллиметрах

Исполнение

Наружный диаметр трубопровода Da

Скоба, поз. 1, 1 шт.

Ребро, поз. 2. 1 шт.

Полухомут, поз. 3, 1 шт.

s

Развернутая длина

Материал

Размеры

Материал

Исполнение по ОСТ 24.125.120

16

108

6

320

Сталь 20К-3 ГОСТ 5520

-

-

15

17

133

17

18

159

19

19

194

450

20

20

219

21

21

245

540

100×184×6

Сталь 20К-3 ГОСТ 5520

32

22

273

33

23

325

700

120×264×6

34

24

377

8

814

Сталь 20К-10 ГОСТ 5520

160×340×8

Сталь 20К-10 ГОСТ 5520

35

25

426

180×340×8

36

26

465

37

27

530

974

180×460×8

38

28

630

10

1067

180×516×10

39

29

720

1187

200×596×10

40

30

820

230×596×10

41

Ключевые слова: опоры скользящие, трубопроводы, конструкция, размеры.

СОДЕРЖАНИЕ

 



© 2013 Ёшкин Кот :-)