Информационная система
«Ёшкин Кот»

XXXecatmenu

ГОСТ Р 51979-2002

ГОСУДАРСТВЕННЫЙ СТАНДАРТ РОССИЙСКОЙ ФЕДЕРАЦИИ

БАТАРЕИ АККУМУЛЯТОРНЫЕ
СВИНЦОВЫЕ АВИАЦИОННЫЕ

Общие технические условия

 

 

ГОССТАНДАРТ РОССИИ
Москва

 

Предисловие

1 РАЗРАБОТАН ОАО «Научно-исследовательский, проектно-конструкторский и технологический институт стартерных аккумуляторов» (ОАО «НИИСТА»)

ВНЕСЕН Техническим комитетом по стандартизации ТК 044 «Аккумуляторы и батареи», ПК 1 «Свинцово-кислотные аккумуляторные батареи»

2 ПРИНЯТ И ВВЕДЕН В ДЕЙСТВИЕ Постановлением Госстандарта России от 10 декабря 2002 г. № 467-ст

3 ВЗАМЕН ГОСТ Р МЭК 952-1-93 в части свинцовых авиационных батарей

СОДЕРЖАНИЕ

ГОСУДАРСТВЕННЫЙ СТАНДАРТ РОССИЙСКОЙ ФЕДЕРАЦИИ

БАТАРЕИ АККУМУЛЯТОРНЫЕ СВИНЦОВЫЕ АВИАЦИОННЫЕ

Общие технические условия

Aircraft lead batteries.
General specifications

Дата введения 2003-07-01

1 Область применения

Настоящий стандарт распространяется на авиационные свинцовые аккумуляторные батареи, предназначенные для:

- автономного запуска основных и вспомогательных авиационных двигателей или турбостартеров;

- обеспечения электропитанием отдельных приемников в наземных условиях при неработающих основных и вспомогательных авиационных двигателях и отсутствии электропитания от аэродромных источников электроэнергии;

- запуска в полете остановившегося авиадвигателя или турбостартера;

- питания в полете приемников первой категории при аварийной работе системы электроснабжения.

Настоящий стандарт не распространяется на аккумуляторные батареи, разработанные до 2003 г.

2 Нормативные ссылки

В настоящем стандарте использованы ссылки на следующие стандарты:

ГОСТ 2.601-95 Единая система конструкторской документации. Эксплуатационные документы

ГОСТ 12.2.007.12-88 Система стандартов безопасности труда. Источники тока химические. Требования безопасности

ГОСТ 20.57.406-81 Комплексная система контроля качества. Изделия электронной техники, квантовой электроники и электротехнические. Методы испытаний

ГОСТ 166-89 (ИСО 3599-76) Штангенциркули. Технические условия

ГОСТ 427-75 Линейки измерительные металлические. Технические условия

ГОСТ 2405-88 Манометры, вакуумметры, мановакуумметры, напоромеры, тягомеры и тягонапоромеры. Общие технические условия

ГОСТ 14192-96 Маркировка грузов

ГОСТ 15150-69 Машины, приборы и другие технические изделия. Исполнения для различных климатических районов. Категории, условия эксплуатации, хранения и транспортирования в части воздействия климатических факторов внешней среды

ГОСТ 15846-79 Продукция, отправляемая в районы Крайнего Севера и труднодоступные районы. Упаковка, маркировка, транспортирование и хранение

ГОСТ 18620-86 Изделия электротехнические. Маркировка

ГОСТ 23216-78 Изделия электротехнические. Хранение, транспортирование, временная противокоррозионная зашита, упаковка. Общие требования и методы испытаний

ГОСТ 23706-93 (МЭК 51-6-84) Приборы аналоговые показывающие электроизмерительные прямого действия и вспомогательные части к ним. Часть 6. Особые требования к омметрам (приборам для измерения полного сопротивления) и приборам для измерения активной проводимости

ГОСТ 24297-87 Входной контроль продукции. Основные положения

ГОСТ 28498-90 Термометры жидкостные стеклянные. Общие технические требования. Методы испытаний

ГОСТ 28840-90 Машины для испытания материалов на растяжение, сжатие и изгиб. Общие технические требования

ГОСТ 29329-92 Весы для статического взвешивания. Общие технические условия

3 Определения

В настоящем стандарте применяют следующие термины с соответствующими определениями:

аэробатическая батарея: Батарея, предназначенная для использования на самолетах, выполняющих фигуры высшего пилотажа.

неаэробатическая батарея: Батарея, предназначенная для использования на самолетах, которые не выполняют фигур высшего пилотажа.

нормальное обслуживание: Обслуживание батареи, включающее ее очистку, доливку электролита и заряд по инструкции изготовителя.

ток номинальной мощности: Ток, который способна иметь батарея в конце пятнадцатой секунды от начала разряда при постоянном напряжении, равном половине ее номинального напряжения.

4 Технические требования

4.1 Требования к конструкции

4.1.1 Габаритные и установочные размеры батарей, их масса, расположение аккумуляторов в батарее, расположение выводов и обозначение полярности их знаком «+» должны соответствовать нормативным документам (НД) на батареи конкретного типа.

4.1.2 Выводы батарей и аккумуляторов должны быть защищены с целью исключения возможности коротких замыканий из-за попадания посторонних металлических предметов.

4.1.3 Батареи должны быть снабжены переносными устройствами. Переносные устройства должны выдерживать нагрузку, равную двухкратной массе батареи с электролитом.

4.1.4 Поверхность батареи должна быть чистой, не должно быть потеков свинца в местах пайки выводов, заусенцев и сколов на моноблоках и крышках.

4.1.5 Батареи с ввернутыми пробками должны обеспечивать невыливаемость электролита при наклоне от нормального рабочего положения в диапазоне углов от 0 до 180° для аэробатических батарей и на угол 60° - для неаэробатических.

4.1.6 Батареи должны быть герметичны при давлении, пониженном или повышенном на (150 ± 10) мм рт. ст. [(20 ± 1,33) кПа] по сравнению с атмосферным.

4.1.7 Батарея с ввернутыми глухими пробками должны сохраняться в сухозаряженном состоянии в течение не менее 36 мес.

4.1.8 Батареи должны быть снабжены вентиляционными пробками с регулирующим клапаном, обеспечивающим невыливаемость электролита.

4.1.9 Батареи должны быть прочными и стойкими при воздействии механических и климатических факторов, приведенных в таблице 1.

Таблица 1 - Механические и климатические факторы, воздействующие на аккумуляторные батареи

Вид воздействующего фактора (ВВФ)

Характеристика ВВФ

Значение характеристики ВВФ

1 Синусоидальная вибрация

Ускорение, м·с-2 (g)

55 (6)

Диапазон частот, Гц

55 - 2000

5 - 55 при амплитуде постоянного смещения 0,5 мм

Случайная вибрация*)

Устанавливают в зависимости от условий эксплуатации

-

2 Механический удар:

Пиковое ударное ускорение, м·с-2 (g)

200 (20)

одиночного действия

Длительность действия ударного ускорения, м·с

5 - 10

Общее число ударов

10

многократного действия

Пиковое ударное ускорение, м·с-2 (g)

60 (6)

Длительность действия ударного ускорения, м·с

2 - 20

Общее число ударов

10000

3 Пониженное атмосферное давление

Рабочее давление, кПа (мм рт.ст.)

12 (90)

4 Повышенная температура окружающей среды

Предельная рабочая, °С

50

Предельная рабочая, кратковременная в течение 30 мин, °С

60

В нерабочем состоянии (заряженная и неподключенная к бортсети), °С

70

5 Пониженная температура окружающей среды

Рабочая, °С

- 18

Предельная рабочая, °С

- 30

В нерабочем состоянии заряженная, не более 3 сут, °С

- 50

6 Линейное ускорение

Значение линейного ускорения м·с-2 (g)

108 (10)

7 Повышенная влажность

Относительная (предельная) влажность, %

90 - 98

при температуре, °С

35

8 Атмосферные конденсированные осадки (иней, роса)

Относительная влажность при температуре 28 °С, %, не менее

95

Пониженная температура, °С

- 30

9 Соляной (морской) туман

Водность, г/см3

2 - 3

Температура, °С

35

Дисперсность, мкм, не более

20

10 Статическая пыль (песок)

Относительная (пониженная) влажность, %

50

Скорость циркуляции, м/с

0,5 - 1,0

Массовая концентрация, г/м3

3

11 Плесневые грибы

Повышенная влажность, %

95 - 98

Температура, °С

29

12 Рабочие и специальные жидкости (дезинфицирующие, дегазирующие, дезактивирующие)

Поверхностная плотность орошения раствором, дм32

0,5

Число воздействий

4

*) Устанавливают в НД на батарею конкретного типа.

4.1.10 Батареи должны быть стойкими к воздействию изменения температур от минус 50 до плюс 60 °С.

4.1.11 Конструкция батарей должна быть взрывобезопасной.

4.2 Требования к электрическим параметрам и режимам эксплуатации

4.2.1 Батареи могут быть сухозаряженными, т.е. требующими работ по приведению в действие (заливки электролитом и т.д.) перед дальнейшим обслуживанием, а также залитыми электролитом и заряженными, т.е. не требующими работ по приведению в действие перед дальнейшим обслуживанием.

4.2.2 Емкость батареи должна быть не менее 100 % номинальной емкости С1, в ампер-часах, определяемой при одночасовом режиме разряда I1 при температуре электролита (23 ± 2) °С и (50 ± 2) °С и не менее:

55 % С1 - при минус (18 ± 2) °С;

35 % С1 - при минус (30 ± 2) °С.

4.2.3 При разряде током номинальной мощности, заданным изготовителем, при температуре электролита плюс (23 ± 2) °С, минус (18 ± 2) °С и минус (30 ± 2) °С, в течение 15 с разряда батарея должна иметь постоянное напряжение не менее 1,0 В на аккумулятор. Ток на пятнадцатой секунде разряда не должен быть ниже установленного изготовителем.

Требование вводится в действие с 01.07.2004 г.

4.2.3.1 Изменение значений тока, заданных изготовителем, в процессе каждого включения на эквивалентную нагрузку (стартерный режим) и числа включений должны соответствовать указанным в НД на батарею конкретного типа.

4.2.4 При коротком разряде током 6 I1 А до напряжения 1,33 В на аккумулятор батарея должна иметь емкость, % от С1, не менее:

- при температуре электролита (23 ± 2) °С - 50;

- при температуре электролита минус (30 ± 2) °С - устанавливается изготовителем.

4.2.5 После бездействия в течение 28 сут при температуре от 18 до 28 °С потеря емкости батареи (саморазряд) должна составлять не более 25 %.

4.2.6 В процессе стабильного заряда при постоянном напряжении при температуре электролита (50 ± 2) °С в течение 10 ч температура в центральном аккумуляторе не должна превышать 70 °С, зарядный ток I1 не должен увеличиваться от минимального значения более чем на 0,1 А, емкость батареи должна быть не менее 75 % номинальной емкости, и не должно быть внешних повреждений.

4.2.7 Батарея, включенная в испытательную схему, имеющую общее сопротивление не более 2,0 мОм, через 60 с после включения не должна иметь разрушений корпуса в результате короткого замыкания.

4.2.8 Батарея, разряженная на 50 % от продолжительности испытания по 4.2.2 по номинальной емкости, должна обеспечивать прием заряда до напряжения (2,4 ± 0,01) В на аккумулятор в течение не более 0,5 ч. При последующем разряде током I1 А до напряжения не менее 1,67 В на аккумулятор при температуре (23 ± 2) °С емкость батареи должна быть не менее 70 % емкости, полученной при первоначальном разряде.

4.2.9 Сопротивление изоляции батареи с сухой поверхностью при относительной влажности окружающей среды не более 70 % должно быть не менее 10 МОм, а после испытаний на невыливаемость и наработку - не менее 0,25 МОм.

4.3 Требования надежности

4.3.1 Наработка батареи при испытаниях должна быть не менее 50 циклов.

4.3.2 Срок службы батареи в эксплуатации должен быть не менее 24 мес при наработке в пределах этого срока не менее 400 летных часов.

4.3.3 Срок хранения сухозаряженных батарей - не менее 36 мес со для изготовления.

4.4 Комплектность

4.4.1 Батарею поставляют в комплекте с деталями и эксплуатационной документацией на батарею конкретного типа согласно конструкторской документации (КД) и НД.

4.5 Маркировка

4.5.1 Маркировка батарей должна соответствовать требованиям ГОСТ 18620.

4.5.2 На батарею должна быть нанесена маркировка, содержащая:

- наименование или товарный знак изготовителя;

- условное обозначение батареи;

- номер, присвоенный изготовителем;

- номинальное напряжение батареи;

- номинальную емкость;

- знак полярности «+»;

- дату изготовления.

На корпусе батареи должно быть предусмотрено место для размещения даты ее последнего обслуживания, а также место для отметки о приемке изготовителем и представителем заказчика.

На батареи, использованные для проведения испытаний, наносят красные полосы по диагоналям боковых стенок моноблоков.

4.6 Упаковка

4.6.1 Упаковка батарей должна соответствовать требованиям ГОСТ 23216 и производиться по технической документации.

4.6.2 Тару и упаковку маркируют по ГОСТ 14192 с нанесением предупредительных знаков «Верх» и «Хрупкое. Осторожно».

4.7 Требования безопасности

4.7.1 Батареи должны соответствовать требованиям безопасности по ГОСТ 12.2.007.12, а также 4.1.2, 4.1.3, 4.1.5, 4.1.6, 4.1.8, 4.1.11, 4.2.6, 4.2.7, 4.2.9 настоящего стандарта.

5 Правила приемки

5.1 Для проверки соответствия батарей требованиям настоящего стандарта или НД на батарею конкретного типа устанавливают следующие виды испытаний: приемосдаточные, периодические, на надежность (долговечность, срок хранения) и типовые.

5.1.1 Приемосдаточные испытания

5.1.1.1 Батареи при приемосдаточных испытаниях предъявляют к приемке партиями. Партией считают батареи одного типа, изготовленные по одному технологическому документу, не менее 50 и не более 500 шт.

5.1.1.2 Испытания проводят в последовательности и в объемах согласно таблице 2.

Таблица 2 - Приемосдаточные испытания

Вид испытания или проверки

Пункт

Объем испытаний

технических требований

методов контроля

1 Проверка внешнего вида, маркировки, расположения выводов и их защита

4.1.4, 4.5, 4.1.1, 4.1.2

6.2.2

Каждая

2 Проверка герметичности

4.1.6

6.2.4

То же

3 Проверка пробок с регулирующим клапаном

4.1.8

6.2.7

«

4 Проверка массы батареи

4.1.1

6.2.3

5 шт.

5 Испытание на номинальную емкость при температуре электролита (23 ± 2) °С

4.2.2

6.3.2

5 шт.

6 Испытание током номинальной мощности при температуре электролита (23 ± 2) °С

4.2.3

6.3.3

5 шт.

или

определение числа включений при стартерном режиме разряда (эквивалентная нагрузка)

4.2.3.1

6.3.3.1

5 шт.

5.1.1.3 Приемосдаточные испытания проводит представитель заказчика в присутствии изготовителя.

Испытания по 6.2.3, 6.3.2, 6.3.3 и 6.3.3.1 проводят на выборке п = 5 с приемочным числом С = 0.

Если при проверке выборочным контролем обнаружится хотя бы одно изделие, не соответствующее требованиям таблицы 2, то партию возвращают изготовителю для повторного контроля.

В случае обнаружения дефектного изделия при повторном предъявлении всю партию бракуют.

Батареи, выдержавшие испытания, допускается отгружать потребителю по согласованию с заказчиком.

5.1.2 Периодические испытания

5.1.2.1 Периодические испытания проводит изготовитель при участии и под контролем представителя заказчика.

Батареи для периодических испытаний отбирает представитель заказчика при участии изготовителя с составлением акта отбора.

Периодическим испытаниям подвергают батареи, выдержавшие приемосдаточные испытания, по плану выборочного одноступенчатого контроля на выборке п = 5 с приемочным числом С = 0.

Если при испытаниях хотя бы одна батарея из выборки не соответствует требованиям таблицы 3, то батареи, выпущенные за срок между проведенными испытаниями, считают не соответствующими требованиям настоящего стандарта.

После проведения мероприятий по приведению качества батарей в соответствие с требованиями настоящего стандарта проводят испытания по тем пунктам стандарта, по которым были получены неудовлетворительные результаты.

5.1.2.2 Испытания проводят на представительной выборке, в состав которой включают изделия, с момента изготовления которых прошло не более 60 сут.

5.1.2.3 Вид и периодичность проведения испытаний должны соответствовать указанным в таблице 3.

Таблица 3 - Периодические испытания

Вид испытания или проверки

Номер пункта

Периодичность испытания или проверки

технических требований

методов контроля

1 Проверка габаритных размеров

4.1.1

6.2.1

Один раз в 6 мес

2 Испытание на прием заряда

4.2.8

6.3.8

Один раз в 3 мес

3 Испытание на невыливаемость электролита

4.1.5

6.2.6

То же

4 Испытание на сопротивление изоляции

4.2.9

6.2.13

«

5 Испытание на наработку на стенде (параметры рабочего цикла), долговечность

4.3.1

6.4.1

«

6 Проверка прочности переносных устройств

4.1.3

6.2.5

«

7 Испытание на номинальную емкость при температурах электролита, °С:

4.2.2

6.3.2

Один раз в 6 мес

минус (18 ± 2);

минус (30 ± 2);

плюс (50 ± 2)

8 Испытание на сохранность заряда (саморазряд)

4.2.5

6.3.5

То же

9 Испытание током номинальной мощности при температурах, °С:

4.2.3

6.3.3

«

минус (18 ± 2);

минус (30 ± 2)

10 Испытание на емкость при разряде током 6 I1 А при температурах, °С:

4.2.4

6.3.4

«

плюс (23 ± 2);

минус (30 ± 2)

11 Испытание на вибропрочность

4.1.9

6.2.11

Один раз в 6 мес

12 Испытание на срок хранения

4.3.3

6.4.2

Один раз в 12 мес

13 Испытание тары и упаковки

4.6

6.4.3

То же

5.1.2.4 Испытания по пункту 6 таблицы 3 допускается проводить на моноблоке с встроенными переносными устройствами.

5.1.2.5 Батареи, выдержавшие неразрушающие испытания, допускается отгружать потребителю отдельными партиями по согласованию с представителем заказчика.

5.1.3 Испытания на надежность

5.1.3.1 Испытание на соответствие требованиям 4.3.1 и 4.3.3 относят к испытаниям на надежность.

5.1.4 Типовые испытания

5.1.4.1 Типовым испытаниям по 4.1.9 (пункты 2 - 11 таблицы 1), 4.1.11, 4.2.6, 4.2.7 подвергают батареи для оценки целесообразности и эффективности вносимых в конструкцию, технологический процесс или применяемые материалы изменений.

5.1.4.2 Типовым испытаниям подвергают батареи по заданным программе и объему. Результаты испытаний оформляют протоколом. Протокол испытаний предъявляют потребителю по его требованию.

5.1.5 Входной контроль

Входной контроль у потребителя проводят по ГОСТ 24297.

Объем входного контроля определяет потребитель.

6 Методы контроля

6.1 Общие условия испытаний и измерительные приборы

6.1.1 Испытания батарей проводят в нормальных климатических условиях по ГОСТ 20.57.406 при номинальных значениях потребляемой энергии и нагрузки, если для испытаний не требуются специфические условия.

6.1.2 Измерительные приборы

Методы измерений, используемые при испытаниях, следует выбирать так, чтобы они были пригодны для измеряемых параметров.

Измерительные приборы регулярно поверяют; класс точности приборов указан ниже.

6.1.3 Приборы, применяемые при испытаниях

Вольтметр класса точности 0,5 или выше. Сопротивление вольтметра должно быть не менее 1000 Ом/В.

Амперметр класса точности 0,5 или выше. Такой же класс точности должен быть у комплекта, состоящего из амперметра, шунта и проводов.

Денсиметры со шкалой от 1,10 до 1,30, ценой деления 0,01 по НД.

Манометры и вакуумметры класса точности 1,5 по ГОСТ 2405.

Весы для статического взвешивания с наибольшим пределом взвешивания в зависимости от массы аккумуляторной батареи 10, 20, 30, 50, 100 кг, среднего класса точности, по ГОСТ 29329.

Омметры по ГОСТ 23706, класса точности не ниже 0,5.

Линейка металлическая по ГОСТ 427.

Штангенциркуль по ГОСТ 166.

Термометры по ГОСТ 28498 соответствующего класса точности с ценой деления шкалы не более 1 °С. Точность градуирования термометров должна быть не менее 0,5 °С.

Приборы для измерения времени должны быть градуированы в секундах, минутах, часах, точность приборов ±0,5 % или выше.

6.1.4 Все испытания должны проводиться на новых, полностью заряженных по 6.3.1 батареях, если иное не оговорено в настоящем стандарте. Новыми считают батареи, с момента изготовления которых прошло не более 60 сут.

Батареи испытывают в порядке и на выборках согласно таблице 4, если иное не установлено в программах испытаний, согласованных с потребителем.

Таблица 4 - Порядок испытаний или проверок на выборках

Вид испытания или проверки

Номер пункта, подпункта

Выборка

I

II

III

IV

V

Проверка внешнего вида, маркировки и расположения выводов

4.1.4, 4.1.1

+

+

+

+

 

Проверка габаритных размеров

4.1.1

+

 

 

 

 

Проверка массы батареи

4.1.1

+

+

+

+

 

Проверка герметичности

4.1.6

+

+

+

+

 

Проверка пробок с регулирующим клапаном

4.1.7

+

+

+

+

 

Испытание на номинальную емкость при температурах, °С:

 

 

 

 

 

 

плюс (23 ± 2)

 

+

+

+

+

 

минус (18 ± 2)

 

 

+

 

 

 

минус (30 ± 2)

 

 

 

+

 

 

плюс (50 ± 2)

4.2.2

 

 

+

 

 

Испытание на прием заряда

4.2.8

+

 

 

 

 

Испытание током номинальной мощности при температуре, °С плюс (23 ± 2)

4.2.3

+

+

+

+

 

или

 

 

 

 

 

 

на эквивалентную нагрузку (число включений при стартерном режиме разряда)

4.2.3.1

+

+

+

+

 

Испытание на хранение

4.3.3

 

 

 

 

+

Испытание на невыливаемость электролита

4.1.5

+

 

 

 

 

Испытание на сопротивление изоляции

4.2.9

+

+

+

+

 

Испытание током номинальной мощности при температурах, °С:

 

 

 

 

 

 

минус (18 ± 2)

 

 

+

 

 

 

минус (30 ± 2)

4.2.3

 

+

 

 

 

Испытание на саморазряд

4.2.5

 

 

+

 

 

Испытание на емкость короткого разряда при температурах, °С:

 

 

 

 

 

 

плюс (23 ± 2)

 

 

 

 

+

 

минус (30 ± 2)

4.2.4

 

 

 

+

 

Испытание на наработку (параметры рабочего цикла)

4.3.1

+

 

 

 

 

Испытание на стабильность заряда

4.2.6

 

 

+

 

 

Испытание на ток короткого замыкания

4.2.7

 

+

 

 

 

Испытание на вибропрочность

4.1.9

 

 

+

 

 

Испытание на ударную прочность:

 

 

 

 

 

 

одиночного действия

4.1.9

 

 

 

+

 

многократного действия

4.1.9

 

 

 

+

 

Испытание на линейное ускорение

4.1.9

+

 

 

 

 

Испытание на изменение температуры среды

4.1.9

 

 

+

 

 

Испытание на пониженное давление

4.1.9

 

 

 

+

 

Испытание на повышенную влажность

4.1.9

 

 

 

+

 

Испытание на статическую пыль, песок

4.1.9

1

1

1

1

 

Испытание на атмосферные конденсированные осадки (иней, роса)

4.1.9

1

1

1

1

 

Испытание на соляной (морской) туман

4.1.9

1

1

1

1

 

Испытание на плесневые грибы

4.1.9

1

1

1

1

 

Рабочие растворы и специальные жидкости (дегазирующие, дезинфицирующие, дезактивирующие)

4.1.9

1

1

1

1

 

Примечание - Знак «+» означает, что испытания проводят. Цифра «1» означает, что испытания проводят на одном изделии из любой выборки.

6.2 Контроль батарей на соответствие требованиям к конструкции

6.2.1 Габаритные размеры батарей и размеры выводов (4.1.1) проверяют измерительным инструментом, обеспечивающим заданную в КД точность измерений.

6.2.2 Внешний вид батареи (4.1.4), правильность расположения выводов и их обозначение (4.1.1), защищенность выводов с целью исключения возможности коротких замыканий (4.1.2), маркировку (4.5.1) проверят визуально.

6.2.3 Массу батареи (4.1.1) проверяют взвешиванием на технических весах по ГОСТ 29329.

6.2.4 Герметичность батареи (4.1.6) проверяют созданием в каждом аккумуляторе в течение 3 - 5 с давления, пониженного или повышенного по сравнению с атмосферным на (20 ± 1,33) кПа [(150 ± 10) мм рт.ст.], при этом показания вакуумметра или манометра при использовании ручных установок должны оставаться постоянными, а при использовании автоматических установок допускается изменение показания вакуумметра или манометра не более чем на 0,196 кПа (1,5 мм рт.ст.) от первоначального значения.

6.2.5 Прочность переносных устройств (4.1.3) и мест их крепления определяют по их способности выдерживать разрывное усилие на испытательных машинах по ГОСТ 28840 или на машинах соответствующей мощности при скорости холостого хода подвижной головки 10 мм/мин. Разрывное усилие определяют по предельному отклонению стрелки прибора, установленного на машине и указывающего заданное разрывное усилие. Разрывное усилие должно быть не менее двукратной массы батареи с электролитом.

Батарею устанавливают на плиту машины и жестко к ней крепят. Усилие к каждому переносному устройству прикладывают в вертикальной плоскости. После достижения заданного разрывного усилия изделие выдерживают в течение не менее 1 мин.

В результате испытания ручки батареи должны быть целыми и в местах крепления не должно быть трещин.

6.2.6 Батареи, предназначенные для использования на неаэробатических самолетах (не выполняющих фигур высшего пилотажа), испытывают на невыливаемость электролита (4.1.5) в полностью заряженном состоянии при уровне электролита, откорректированном до уровня, рекомендуемого изготовителем. Затем батарею заряжают по 6.3.1.2 не позже чем за 2 ч до начала испытания при напряжении (2,4 ± 0,01) В на один аккумулятор. При проведении испытания батарею медленно наклоняют из стороны в сторону 10 раз на угол 60° от вертикальной оси, для чего батарею сначала закрепляют по длинной стороне, а затем переставляют и закрепляют по короткой стороне, т.е. под углом 90° к длинной стороне.

Время, необходимое для наклона из одного положения через вертикальную ось в другое, должно быть не более 20 с; батарея должна оставаться в каждом положении не менее 5 с.

Батареи, предназначенные для использования на аэробатических самолетах (выполняющих фигуры высшего пилотажа), испытывают в полностью заряженном состоянии при уровне электролита, откорректированном до уровня, рекомендованного изготовителем.

Для испытания батарею заряжают при постоянном напряжении, соответствующем среднему напряжению на аккумулятор (2,4 ± 0,01) В в течение 2 ч.

Затем батарею надежно закрепляют на платформе, способной к вращению вокруг горизонтальной оси на дне батареи; батарею фиксируют по длинной стороне и параллельно оси вращения.

Платформу вращают 10 раз; паузы между вращением должны быть 30 с.

Время вращения - не более 5 с. Испытание повторяют на батарее, переставленной на платформе под углом 90° к ее первоначальному положению.

Батареи не должны иметь утечки электролита и должны соответствовать требованиям 4.2.9.

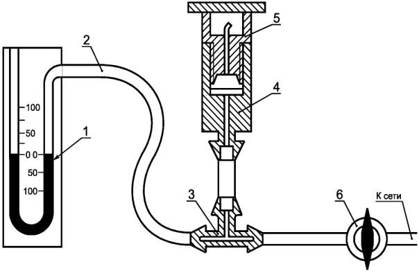
6.2.7 Работоспособность вентиляционных пробок (4.1.8) проверяют на испытательном стенде, схема которого представлена на рисунке 1.

Вентиляционную пробку с надетой на нее резиновой шайбой плотно ввертывают в патрон (имеющий отверстие с резьбой), аналогичный отверстию в аккумуляторной крышке.

Патрон с пробкой наклоняют на 180° относительно продольной оси пробки (по стержню клапана) и создают в испытательном стенде давление 12,0 кПа (90 мм рт.ст.). Время испытания 3 - 5 с. Падение давления воздуха на манометре за это время более чем на 0,5 кПа (3,75 мм рт.ст.) не допускается.

1 - образцовый манометр типа МО или сильфонный манометр типа МС; 2 - резиновая трубка;
3 - обратный клапан; 4 - штуцер с отверстием; 5 - пробка с резиновой шайбой; 6 - кран

Рисунок 1 - Схема установки для испытания вентиляционных пробок

6.2.8 Испытанию на воздействие температур (4.1.9) подвергают батареи, не залитые электролитом, при температурах плюс 60 °С и минус 50 °С. Оба испытания проводят на одной и той же батарее.

6.2.8.1 Испытание батарей при температуре 60 °С проводят в камере тепла.

После пребывания в течение 6 ч в этих условиях батареи не должны иметь видимых изменений.

6.2.8.2 Для испытания холодостойкости при температуре минус 50 °С батареи помещают в холодильную камеру при температуре минус 50 °С и выдерживают в течение 6 ч.

Перед установкой в холодильную камеру батареи, испытывавшиеся в камере тепла, должны быть охлаждены до комнатной температуры. Затем батареи вынимают из камеры, выдерживают в течение 15 - 20 мин при температуре окружающего воздуха (20 ± 5) °С и проверяют на герметичность согласно 6.2.4.

При сохранении герметичности батареи считают выдержавшими испытание.

6.2.9 Испытанию на взрывобезопасность (4.1.11) подвергают подготовленную к испытаниям и заряженную по 6.3.1.2 батарею.

Батарею подсоединяют к зарядному устройству и, не применяя принудительной вентиляции, заряжают в течение 5 мин током 0,5 I1 A.

По истечении не менее 5 мин заряда указанным током газы внутри батареи воспламеняют.

После воспламенения все обломки или куски должны находиться внутри корпуса и не должно быть выплескивания электролита.

При проведении этого испытания необходимо соблюдать меры предосторожности.

6.2.10 Испытанию на ударную прочность (4.1.9) подвергают батареи, выдержавшие испытания по 6.3.3 при температуре (23 ± 2) °С и заряженные по 6.3.1.1.

6.2.10.1 Испытание на воздействие одиночных ударов (4.1.9) проводят по ГОСТ 20.57.406 (метод 106-1) с целью проверки способности батарей противостоять разрушающему воздействию механических ударов одиночного действия, а также выполнять функции после их воздействия.

Батарею крепят к плите ударного стенда сверху рамкой или накладками поперек крышки стяжными шпильками с резьбой М8 и с максимальным моментом затяжки 5 Н·м.

Подготовленную к испытаниям и заряженную батарею разряжают по 6.3.3.

Затем батарею заряжают по 6.3.1.1, устанавливают на испытательную установку и испытывают в режимах, указанных в пункте 2 таблицы 1.

Испытание проводят воздействием ударов в направлении «дно - крышка».

Отсутствие механических повреждений в результате испытаний проверяют визуально, а также разрядом по 6.3.2 при начальной температуре электролита (23 ± 2) °С.

6.2.10.2 Испытание на ударную прочность при воздействии ударов многократного действия (4.1.9) проводят по ГОСТ 20.57.406 (метод 104-1). Способ крепления батарей - по 6.2.10.1.

Батареи считают выдержавшими испытание, если не обнаружено механических повреждений и следов электролита на поверхности батарей и если они сохраняют герметичность и соответствуют требованиям 6.3.2 при начальной температуре электролита (23 ± 2) °С.

6.2.11 Испытание на вибрационные нагрузки (4.1.9) проводят по ГОСТ 20.57.406, метод 103-2, с учетом изложенного в 6.2.11.1, 6.2.11.2.

При испытании батареи надежно закрепляют на вибрационном стенде. Способ крепления - по 6.2.10.1.

6.2.11.1 Испытание по определению резонансных частот проводят с использованием синусоидальной вибрации со скоростью развертывания 0,5 октавы в минуту при следующих условиях:

5 - 54 Гц (при постоянном смещении амплитуды 0,5 мм);

54 - 2000 Гц (при постоянном ускорении амплитуды 6 g).

Развертку снимают вдоль каждой из трех взаимно перпендикулярных осей (X, Y и Z) и при испытании на каждой частоте отмечают любое отклонение в работе оборудования или механический резонанс.

6.2.11.2 Испытание на синусоидальную вибрацию (вибропрочность) должно проводиться при скорости развертывания менее 1 октавы в минуту при следующих условиях:

5 - 54 Гц (постоянное смещение амплитуды 0,5 мм);

54 - 2000 Гц (постоянное ускорение амплитуды 6 g).

Время испытания вдоль каждой оси должно быть 3 ч для каждой из осей X, Y, Zn состоять из испытаний в течение 2 ч при частотах от 54 до 2000 Гц и 1 ч - при частотах от 5 до 54 Гц.

Если наблюдается резонанс в соответствии с 6.2.11.1, то батарею подвергают воздействию вибрации в течение 1 ч на каждой основной частоте в соответствующей оси плоскости. До испытания на воздействие вибрации в процессе наработки батарея должна быть полностью заряжена. В процессе испытаний на вибропрочность батарею разряжают током 0,1 I1 А при непрерывной записи напряжения и тока, чтобы определить их колебания или перерывы. Перерывы или неравномерные колебания напряжения или тока не допускаются. Временная характеристика контролирующих приборов должна быть не более 0,5 с.

По окончании испытания не должно быть повреждения батареи или утечки электролита.

6.2.12 Испытание на воздействие линейного ускорения (4.1.9) проводят по ГОСТ 20.57.406 (метод 107-1) на заряженных по 6.3.1.1 батареях в режимах по пункту 6 таблицы 1 в направлении «крышка - дно».

Способ крепления батарей - по 6.2.10.1.

Перед испытаниями и после них батареи проверяют на соответствие 6.3.2 при температуре (23 ± 2) °С.

6.2.13 Сопротивление изоляции батареи (4.2.9) измеряют при напряжении постоянного тока 250 В между отрицательным полюсным выводом батареи и любой точкой корпуса батареи. Относительная влажность окружающего воздуха - не более 70 %. Сопротивление изоляции должно быть не более 10 МОм.

После испытаний на невыливаемость электролита и на наработку сопротивление изоляции должно быть не более 0,25 МОм.

6.3 Испытания батарей на соответствие требованиям к электрическим параметрам и режимам

6.3.1 Испытаниям подвергают батареи, подготовленные к работе, заряженные током постоянной величины или при постоянном напряжении.

6.3.1.1 При заряде током постоянной величины батареи заливают электролитом плотностью (1,270 ± 0,01) г/см3 (25 °С) и через 2 ч после заливки заряжают током, указанным в НД на конкретный тип батареи, до напряжения не менее (2,4 ± 0,01) В на аккумулятор. Затем ток уменьшают на 50 % от первоначального и доводят батареи до состояния полного заряда.

Заряд следует проводить до достижения обильного газовыделения, постоянства напряжения и плотности электролита в аккумуляторах, не изменяющихся в течение 2 ч, после чего при непрекращающемся заряде корректируют плотность электролита в аккумуляторах до (1,270 ± 0,01) г/см3 (25 °С) и уровень электролита в соответствии с технической документацией по эксплуатации батарей.

Напряжение на батарее и температуру электролита измеряют не реже чем через каждые 4 ч, а к концу заряда указанные параметры и плотность электролита измеряют через каждый час. Проведение заряда при температуре электролита свыше 45 °С не допускается.

6.3.1.2 При заряде при постоянном напряжении (по указанию изготовителя) батареи заряжают поддержанием постоянного напряжения на выводах или при постоянном значении напряжения методом ограниченного тока (модифицированный заряд при постоянном значении напряжения).

6.3.2 При испытании на номинальную емкость (4.2.2) батарею выдерживают в течение не менее 16 ч и не более 24 ч при заданной температуре окружающего воздуха. После достижения электролитом заданной температуры, измеренной в среднем аккумуляторе, батарею разряжают током I1 A до конечного напряжения, соответствующего напряжению 1,67 В на аккумулятор.

В результате испытаний батареи должны соответствовать 4.2.2.

6.3.3 При испытании током номинальной мощности (4.2.3) батарею после выдержки при заданной температуре окружающего воздуха в течение не менее 16 ч и не более 24 ч разряжают так, чтобы в течение 15 с напряжение не падало ниже 1,0 В на аккумулятор.

Батареи разряжают автоматически. В процессе испытания записывают кривую зависимости тока от времени. Значение тока на пятнадцатой секунде должно быть не менее установленного изготовителем.

6.3.3.1 Испытание на эквивалентную нагрузку (4.2.3.1) проводят на заряженной по 6.3.1.1 батарее.

Батарею с начальной температурой электролита плюс (23 ± 2) °С или минус (5 ± 2) °С разряжают током, изменяющимся в пределах графиков в соответствии с НД на батарею конкретного типа.

Допускается отклонение фактической кривой разряда от его заданной (по значению разрядного тока) не более 1 %.

Фиксируют напряжение батареи на выводах при максимальном токе и в конце включения.

Число включений и напряжение в конце последнего включения должны быть не менее указанных в НД на батарею конкретного типа.

Интервал между включениями должен быть (30 ± 1) с. После последнего включения измеряют температуру и плотность электролита.

6.3.4 При испытании на емкость короткого разряда (4.2.4) заряженную по 6.3.1.1 и подготовленную к испытаниям батарею выдерживают при температуре окружающей среды плюс (23 ± 2) °С или минус (30 ± 2) °С в течение 16 ч, но не более 24 ч, после чего ее разряжают током 6I1 А до напряжения 1,33 В на аккумулятор при начальной температуре электролита плюс (23 ± 2) °С или минус (30 ± 2) °С.

В результате испытаний батареи должны соответствовать требованиям 4.2.4.

6.3.5 При испытании на потерю емкости в результате бездействия (саморазряд) (4.2.5) подготовленную к испытаниям и заряженную по 6.3.1.1 батарею разряжают по 6.3.2 при начальной температуре электролита (23 ± 2) °С. Продолжительность разряда фиксируют.

Затем батарею вновь заряжают и выдерживают при разомкнутой цепи (бездействие) в течение 28 сут при средней температуре окружающей среды (23 ± 2) °С.

По окончании бездействия батарею разряжают током I1 А до напряжения 1,67 В на аккумулятор при начальной температуре электролита (23 ± 2) °С.

Емкость батареи должна быть не менее 75 % емкости, полученной после разряда перед бездействием.

6.3.6 При испытании на стабильность заряда (4.2.6) подготовленную к испытаниям и заряженную по 6.3.1.1 батарею помещают в ванну с водой температурой (50 ± 2) °С и выдерживают в течение не менее 16 ч, но не более 24 ч.

Затем батарею в течение 5 мин разряжают током 6 I1 А. Немедленно после разряда батарею заряжают в ванне с водой температурой (50 ± 2) °С в течение 10 ч при постоянном напряжении (2,4 ± 0,01) В на аккумулятор. Ток заряда и температуру электролита в одном из средних аккумуляторов фиксируют с интервалом в 10 мин. После выдержки при разомкнутой цепи в течение 1 ч батарею разряжают током I1 А до конечного напряжения 1,67 В на аккумулятор, при этом емкость батареи должна быть не менее 75 % номинальной.

В процессе испытания в батарею не следует добавлять дистиллированную воду.

В процессе всего заряда ток не должен увеличиваться от минимального значения более чем на 0,1I1 А, а температура электролита не должна превышать 70 °С.

После окончания разряда батарею выдерживают в течение не менее 16 ч, но не более 24 ч при температуре (23 ± 2) °С, заряжают по 6.3.1.1, а затем разряжают током I1 А. Емкость батареи должна быть не менее 100 % номинальной.

6.3.7 Для проверки током короткого замыкания (4.2.7) подготовленную к испытаниям и заряженную по 6.3.1.1 батарею включают в испытательную схему на 60 с.

Общее сопротивление испытательной схемы не должно превышать (1,5 ± 0,5) мОм.

После испытания не должно быть видимой деформации корпуса.

6.3.8 Для оценки способности батареи принимать заряд (4.2.8), подготовленную и заряженную по 6.3.1.1 батарею разряжают по 6.3.2 при начальной температуре электролита (23 ± 2) °С. Продолжительность разряда фиксируют. Затем батарею снова заряжают и разряжают током I1 А в течение времени, соответствующему 50 % времени предшествующего разряда.

После этого батарею выдерживают в течение не менее 16 ч, но не более 24 ч при температуре (23 ± 2) °С и затем заряжают в течение 0,5 ч при постоянном напряжении, соответствующем напряжению (2,4 ± 0,01) В на аккумулятор.

Немедленно после заряда батарею разряжают при температуре окружающей среды (23 ± 2) °С током I1 А до конечного напряжения 1,67 В на аккумулятор.

Емкость батареи должна быть не менее 70 % полученной при первоначальном разряде.

6.4 Испытания на надежность

6.4.1 При испытании на наработку на стенде (параметры рабочего цикла) (4.3.1) подготовленную и заряженную по 6.3.1.1 батарею испытывают в следующем порядке:

а) выдерживают при температуре окружающей среды (23 ± 5) °С в течение 14 сут при разомкнутой цепи;

б) разряжают током 0,5I1 А в течение (10 ± 0,5) мин, затем немедленно разряжают на постоянное сопротивление в течение 20 с. После выдержки при разомкнутой цепи в течение 1 мин батарею снова разряжают на постоянное сопротивление в течение 20 с. Значение сопротивления, Ом, должно быть равно полуторному номинальному напряжению батареи, деленному на значение тока номинальной мощности при температуре (23 ± 2) °С. Номинальное напряжение батареи определяют как произведение напряжения 2,0 В на число аккумуляторов в батарее;

в) далее батарею заряжают при постоянном напряжении, соответствующем напряжению (2,4 ± 0,01) В на аккумулятор, в течение (60 ± 2) мин, при этом ток должен быть не более 8 I1 А. Затем батарею выдерживают при разомкнутой цепи в течение не менее 1 ч и не более 2 ч.

Порядок испытаний по перечислениям б), б) повторяют в течение 50 циклов;

г) после 50 циклов, проведенных по перечислениям б), в), батарею немедленно разряжают током I1 А при температуре электролита (23 ± 2) °С;

д) батарею подвергают нормальному обслуживанию и разряжают током I1 А при температуре (23 ± 2) °С.

Затем испытания по перечислениям а) - в) повторяют. Батареи считают выдержавшими испытания, если:

- минимальное значение напряжения на выводах батареи в процессе разряда согласно перечислению б) составляет не менее значения, соответствующего напряжению на аккумулятор, умноженному на их число;

- температура в среднем аккумуляторе батареи не превышает 60 °С;

- в процессе заряда при постоянном напряжении по 6.3.1.2 значение тока падает ниже указанного в НД на батарею конкретного типа;

- продолжительность разряда током I1 А немедленно после циклирования составляет не менее 48 мин (80 % C1);

- объем доливаемой в аккумуляторы воды при обслуживании не превышает значений, рекомендуемых изготовителем;

е) сопротивление изоляции между отрицательным выводом батарей и любой точкой корпуса батарей не менее 0,25 МОм при напряжении 250 В постоянного тока;

ж) после подготовки и заряда батареи продолжительность разряда током I1 А составляет не менее 54 мин (90 % C1);

з) батарея не имеет признаков внешних повреждений.

6.4.2 Для проверки сухозаряженных батарей на срок хранения (4.3.3) батареи хранят при температуре окружающей среды от 5 до 30 °С и относительной влажности до 85 %. По истечении срока хранения батареи проверяют на соответствие требованиям по номинальной емкости (4.2.2) и емкости короткого разряда (4.2.2), по току номинальной мощности (4.2.3) при температуре электролита (23 ± 2) °С и на сопротивление изоляции (4.2.9).

6.4.3 Испытание упаковки на прочность при транспортировании - по ГОСТ 23216.

7 Транспортирование и хранение

7.1 Транспортирование

7.1.1 Батареи (в том числе залитые электролитом) транспортируют по ГОСТ 23216 (условия С) транспортом всех видов в крытых транспортных средствах в соответствии с правилами перевозки грузов, действующими на транспорте конкретного вида.

Условия транспортирования в части воздействия климатических факторов - по группе условий хранения 4 (Ж2) ГОСТ 15150, но при температуре окружающей среды не ниже минус 50 °С.

7.1.2 Маркировка, транспортирование и хранение продукции при поставке в районы Крайнего Севера и в труднодоступные районы - по ГОСТ 15846.

7.2 Хранение

7.2.1 Батареи хранят в закрытом помещении по группе условий хранения 4 (Ж2) ГОСТ 15150, но при температуре от минус 50 до плюс 60 °С.

7.2.2 При хранении батареи устанавливают крышками вверх. При этом пробки на батареях должны быть плотно ввинчены, герметизирующие детали - колпачки, уплотнительные диски и т.д. - должны быть на своих местах.

8 Указания по эксплуатации

8.1 Применение батарей и условия их эксплуатации должны быть установлены в НД на батарею конкретного типа.

8.2 Приведение батарей в действие, их эксплуатация, обслуживание и хранение должны осуществляться в соответствии с Руководством по обслуживанию, Руководством по эксплуатации (ГОСТ 2.601) и требованиями настоящего стандарта.

 

Ключевые слова: батареи аккумуляторные авиационные, свинцовые, автономный запуск, обеспечение электропитанием, запуск в полете, питание в полете, технические требования

 



© 2013 Ёшкин Кот :-)