Информационная система
«Ёшкин Кот»

XXXecatmenu

МИНИСТЕРСТВО ЭНЕРГЕТИКИ И ЭЛЕКТРИФИКАЦИИ СССР

ГЛАВНОЕ ТЕХНИЧЕСКОЕ УПРАВЛЕНИЕ ПО ЭКСПЛУАТАЦИИ ЭНЕРГОСИСТЕМ

 

УТВЕРЖДАЮ:

Заместитель начальника

Главтехуправления,

главный специалист-электрик

К.М. АНТИПОВ

27 февраля 1979 г.

 

ИНСТРУКЦИЯ
ПО ПРОВЕРКЕ ТРАНСФОРМАТОРОВ НАПРЯЖЕНИЯ И ИХ ВТОРИЧНЫХ ЦЕПЕЙ

РД 34.35.305

Проект Инструкции составили инженеры В.Н. Вавин и М.Л. Голубев.

В Инструкции приведены программа и методы проверки трансформаторов напряжения (ТН) и их вторичных цепей. Даны основные сведения о трансформаторах напряжения и рекомендации по их применению, а также указания по расчетам и способам выполнения цепей напряжения.

Инструкция рассчитана на персонал служб РЗАИ энергосистем.

ВВЕДЕНИЕ

Инструкция содержит указания по проверке ТН и цепей напряжения, общих для всех присоединений и устройств защиты, автоматики, измерений, сигнализации, а также по выполнению схем и расчетной проверки ТН и их вторичных цепей.

В Инструкции приведены также основные сведения о погрешностях ТН, их конструкциях и параметрах.

Указания по проверке цепей напряжения отдельных присоединений и устройств содержатся в "Общей инструкции по Проверке устройств релейной защиты, электроавтоматики и вторичных цепей" ("Энергия", 1975)1 и в инструкциях по проверке других устройств.

Проверка ТН предусмотрена в объеме, необходимом для правильного выполнения соединения обмоток и схемы питания вторичных цепей.

При подготовке второго издания Инструкция переработана в связи со значительными изменениями рекомендуемых схем включения ТН и построения схем цепей напряжения.

Во втором издании Инструкции так же, как и в первом, не приведены методы проверки высоковольтной изоляции и погрешностей ТН. Проверка погрешностей не предусмотрена "Правилами устройств электроустановок" ("Энергия", 1966).

С выходом данной Инструкции первое издание (Госэнергоиздат, 1960) аннулируется.

_____________

1 Далее - Общая инструкция.

1. ОБЩИЕ УКАЗАНИЯ ПО ПРИМЕНЕНИЮ ТН

1.1. Трансформаторы напряжения применяются для питания электроизмерительных приборов, цепей релейной защиты, автоматики и сигнализации в электроустановках с рабочим напряжением выше 220 В. В Советском Союзе ТН выпускаются в соответствии с требованиями ГОСТ 1983-77 "Трансформаторы напряжения. Общие технические требования".

Основные сведения о ТН, необходимые для оценки возможности их использования в тех или иных условиях (точность работы, особенности конструктивного выполнения, технические данные) приведены в приложении 1.

1.2. Каждый ТН должен работать в классе точности (см. приложение 1), соответствующем требованиям, установленным директивными материалами Минэнерго СССР, в зависимости от характера подключенной нагрузки;

- для питания расчетных счетчиков класса 1, а также измерительных приборов классов точности 1 и 1,5 ТН должен работать в классе точности 0,5;

- для наиболее распространенных указывающих измерительных приборов класса точности 2,5 должен обеспечиваться класс точности ТН 1 и только как исключение допускается класс точности 3;

- для питания цепей релейной защиты требуется работа ТН в классе точности 3.

При питании вторичных нагрузок разного характера (например, релейной защиты и расчетных счетчиков) от одного и того же ТН должен обеспечиваться наиболее высокий класс точности ТН, необходимый для работы подключенной к нему аппаратуры.

1.3. Нагрузка ТН не должна превышать номинальной для требуемого класса точности.

1.4. Потеря напряжения во вторичных цепях ТН (см. приложение 1), снижающая точность работы подключенной к нему аппаратуры, согласно требованиям, установленным директивными материалами Минэнерго СССР, не должна превышать в цепи от ТН до расчетных счетчиков межсистемных линий электропередачи 0,25 % (при питании от ТН класса точности 0,5), до других расчетных счетчиков - 0,5 %, до щитовых приборов - 1,5 %, до фиксирующих измерительных приборов (ФИП) - 2 %, до реле защиты и автоматики - 3 %.

1.5. Схемы включения ТН и схемы их вторичных цеп ей должны обеспечивать надежное питание подключенной к ним аппаратуры учета электроэнергии, измерений, релейной защиты, автоматики.

2. ОСНОВНЫЕ ТРЕБОВАНИЯ К СХЕМАМ ТН И ИХ ВТОРИЧНЫХ ЦЕПЕЙ

2.1. Схемы ТН должны соответствовать условиям их работы и назначению и выполняться на основе указаний директивных материалов Минэнерго СССР.

Рекомендуемые схемы ТН и их вторичных цепей приведены в приложения 2.

2.2. Заземление вторичных обмоток трансформаторов напряжения.

2.2.1. Вторичные обмотки ТН должны заземляться для обеспечения безопасности персонала. Заземление должно быть надежным и наглядным. В проводах, соединяющих точку заземления с обмотками ТН не должно быть коммутационных и защитных аппаратов (рубильников, переключателей, автоматических выключателей, предохранителей и др.). Сечение заземляющего провода должно быть не менее 4 мм2 (по меди).

Заземление допускается выполнять через пробивной предохранитель, что наиболее целесообразно и рекомендуется Правилами устройства электроустановок для ТН, питающих оперативные цепи релейной защиты и автоматики.

Заземляться должна нулевая точка или один из фазных выводов вторичных обмоток. При соединении основных вторичных обмоток в звезду более распространено заземление одной из фаз (обычно фазы В), а не нуля. Это создает преимущества при проверке под рабочим напряжением правильности сборки и маркировки цепей напряжения.

2.2.2. Заземление должно устанавливаться по возможности ближе к ТН, как правило, на ближайшей к нему сборке выводов. Однако при этом недопустимо даже кратковременное объединение заземленных или незаземленных проводов вторичных цепей разных ТН во избежание неправильных действий релейной защиты или устройств синхронизации в случае появления тока в заземляющем контуре (например, про КЗ или при сварочных работах в РУ). Указанные неправильные действия возможны потому, что часть тока из заземляющего контура ответвится во вторичные цепи через два заземления, установленные в разных местах (у ТН, цепи которых объединены), и создаст значительное падение напряжения, существенно искажающее векторную диаграмму вторичных напряжений.

2.2.3. В связи с указанным в п. 2.2.2 при установке заземления вблизи ТН переключение нагрузки с одного ТН на другой должно производиться только с разрывом цепи, а при включении автоматических устройств синхронизации сразу на два ТН должно обеспечиваться электрическое разделение их вторичных цепей с помощью разделительных или фазоповоротных трансформаторов.

При отсутствии автоматических синхронизаторов разделение заземленной фазы в схеме ручной синхронизации может быть выполнено без разделительных трансформаторов.

2.2.4. Установка заземления вблизи ТН обязательна во всех автономных вторичных цепях при отсутствии переключения питания цепей напряжения на другой ТН: в цепях ТН, присоединенных к генераторам, к третичным обмоткам автотрансформаторов, к одинарной системе шин и т.д.

2.2.5. При наличии переключения питания нагрузки ТН для действующих электростанций и подстанций допускаются следующие отступления от требования установки заземления вблизи ТН (см. приложение 2):

- устанавливать заземление на релейном щите на общей для всех ТН заземляющей шинке, если кабели от всех ТН разных РУ выведены на этот релейный щит. Заземленные непосредственно у ТН выводы их вторичных обмоток, питающих автономные цепи напряжения, присоединять к этой шинке не допускается;

- устанавливать для ТН каждого РУ одно общее заземление на релейном щите, если на электростанции или подстанции имеется два или более РУ с двойной системой шин и отдельными релейными щитами. Общая заземляющая шинка при этом может прокладываться только в пределах отдельных релейных щитов.

2.3. Отсоединение ТН от вторичных цепей.

Для обеспечения безопасности при работах на ТН и его вторичных цепях должны устанавливаться рубильники или использоваться объемные трубчатые предохранители, разъемные соединения выкатных тележек в ячейках КРУ и т.п.

2.4. Включение ТН со стороны ВН.

2.4.1. В цепи первичной обмотки ТН до 35 кВ, как правило, должны устанавливаться предохранители для обеспечения сохранения в работе шин или других первичных цепей, к которым подключен ТН при КЗ на его ошиновке или вводах ВН.

Ток КЗ при повреждениях в цепи вторичной обмотки и даже на ее выводах во многих случаях имеет недостаточное значение для перегорания этих предохранителей, вследствие чего сам ТН ими не защищается.

2.4.2. В тех случаях, когда возникновение КЗ в цепи первичной обмотки маловероятно или последствия такого КЗ не представляют особой опасности для электроснабжения потребителей, предохранители на стороне ВН ТН могут не устанавливаться. Так, в комплектных токопроводах мощных генераторов ТН включаются без предохранителей, поскольку при этом разделение отдельных фаз практически исключает возникновение КЗ на ошиновке. При установке ТН на каком-либо одном присоединении, имеющем надежный резерв (например, на трансформаторе, работающем параллельно с другими), а не на шинах, он также может включаться без предохранителей, так как повреждение в цепи этого ТН приведет к отключению только одного присоединения без прекращения питания его нагрузки.

2.4.3. Допускается также включение без предохранителей на шины КРУ 6 - 10 кВ однофазных ТН с литой изоляцией (типа ЗНОЛ), поскольку при их повреждении маловероятно возникновение КЗ на шинах.

2.4.4. На напряжение 35 кВ и выше ТН могут включаться без предохранителей. Как показал опыт эксплуатации, это не приводит к существенному снижению надежности электростанций и подстанций, так как повреждения ТН происходят относительно редко.

2.5. Защита при повреждениях во вторичных цепях.

2.5.1. Для защиты ТН от повреждения при КЗ во вторичных цепях должны применяться предохранители или автоматические выключатели. Предохранители могут устанавливаться только на ТН, не питающие быстродействующие устройства релейной защиты, которые могут неправильно работать при нарушении исправности цепей напряжения. При наличии таких устройств для защиты ТН должны применяться автоматические выключатели (см. приложение 2).

2.5.2. Автоматические выключатели или предохранители должны включаться во все незаземленные провода вторичных цепей ТН. Исключение составляет лишь цепь 3Uо, в которую защитные аппараты должны включаться только на ТН, работающих в сетях с изолированной нейтралью, где защита необходима для предотвращения повреждения ТН, у которого цепь 3Uо оказалась закороченной при устойчивом однофазном замыкании на землю на стороне высшего напряжения указанная защита в цепи 3Uо должна применяться только при разводке этой цепи по панелям отдельных присоединений или при наличии в ней кабеля длиной более 10 м.

2.5.3. Двухобмоточные ТН и соединенные в звезду основные обмотки трехобмоточных трансформаторов должны защищаться трехполюсными автоматическими выключателями с электромагнитными и тепловыми расцепителями (см. приложение 2).

Основные и дополнительные обмотки трехобмоточных ТН должны защищаться отдельными автоматическими выключателями.

На ранее установленных автоматических выключателях ТН допускается оставлять только электромагнитные расцепители, если они обеспечивают требуемую чувствительность.

2.5.4. При недостаточной чувствительности теплового расцепителя к удаленным КЗ в протяженных цепях, питающихся от шинок на щите, или при недопустимости отключения КЗ с выдержкой времени теплового расцепителя (проверяется расчетом) необходимо устанавливать в этих цепях неселективные (с автоматическими выключателями в цепях вторичных обмоток ТН) автоматические выключатели с электромагнитными и тепловыми расцепителями.

2.5.5. В цепи 3Uо ТН в сетях с изолированной нейтралью должен устанавливаться автоматический выключатель только с тепловым расцепителем или предохранитель. При наличии испытательного провода, выведенного от замкнутой вершины разомкнутого треугольника, в нем устанавливается автоматический выключатель только с электромагнитным расцепителем. В этом случае обеспечивается сохранение цепи 3Uо, если ток КЗ проходит через оба защитные аппарата.

2.5.6. Во вспомогательных проводах, присоединенных к замкнутым вершинам разомкнутого треугольника ТН 110 кВ и выше, должен устанавливаться автоматический выключатель с электромагнитным и тепловым расцепителями.

2.5.7. Автоматические выключатели и предохранители, устанавливаемые во вторичных цепях, должны размещаться по возможности ближе к ТН, чтобы протяженность незащищенных кабелей от ТН до защитных аппаратов была возможно меньшей. Шкафы ТН, расположенные на открытых РУ, должны иметь подогрев, что необходимо для надежной работы расположенных в них автоматических выключателей.

2.5.8. Для более быстрого восстановления питания цепей напряжения защиты элементов открытых РУ автоматические выключатели, защищающие ТН, разрешается переносить из его шкафа на щит в следующих случаях:

- если не требуется быстрый автоматический вывод из действия защиты линий для предотвращения ее ложных срабатываний при повреждении цепей напряжения (например, при пуске всех ступеней дистанционной защиты по току обратной последовательности);

- если ложное действие защиты при нарушении исправности вторичных цепей между ТН и автоматическим выключателем не может привести к опасным нарушениям нормального режима работы энергосистемы или какого-либо ее участка.

При перестановке автоматических выключателей на щит в шкафу ТН должны быть установлены либо автоматический выключатель, имеющий только тепловой расцепитель, либо предохранители ПР или НПН, надежно защищающие кабель и отстроенные по времени от электромагнитных расцепителей выключателей, перенесенных на щит. При установке предохранителей рубильники в шкафу ТН могут быть демонтированы.

2.6. Предотвращение действия релейной защиты из-за неисправностей цепей напряжения.

2.6.1. В сетях напряжением от 35 до 330 кВ устройства, блокирующие защиту при нарушениях цепей напряжения, должны получать питание от двух источников - от основных вторичных обмоток ТН, соединенных в звезду, и от дополнительных обмоток, соединенных по схеме разомкнутого треугольника. Описание таких устройств приведено в приложении 2.

2.6.2. Для обеспечения возможности включения устройств блокировки в схемах ТН должны предусматриваться выводы из всех точек, к которым подключаются эти устройства, и должна быть выполнена разводка по панелям проводов от этих точек. Основные и дополнительные обмотки ТН следует защищать отдельными автоматическими выключателями.

2.6.3. При питании от ТН устройств защиты и автоматики во избежание их неправильного действия из-за обрывов цепей напряжения кроме блокирования этих устройств на элементах напряжением 35 кВ и выше необходима сигнализация нарушения целости цепей напряжения (см. приложение 2).

2.6.4. У ТН 110 кВ и выше кроме вторичных цепей основных обмоток должна контролироваться исправность цепи разомкнутого треугольника дополнительных обмоток. Это необходимо ввиду ответственности этой цепи, питающей защиту линий от наиболее часто возникающих однофазных КЗ, и невозможности выявления ее неисправности по постоянно работающим измерительным приборам.

Контроль исправности цепи 3Uо осуществляется периодическими измерениями напряжения небаланса, в нормальном режиме составляющего 1 - 3 В (приложение 2).

2.7. Самопроизвольное смещение нейтрали в сетях напряжением 3 - 35 кВ.

2.7.1. Для предотвращении самопроизвольных смещений нейтрали и повреждений ТН директивными материалами Минэнерго СССР рекомендуется в электроустановках напряжением 3 - 35 кВ при отсутствии компенсирующих: устройств (дугогасящих катушек), а также генераторов и синхронных компенсаторов с непосредственным охлаждением водой обмоток статора устанавливать резисторы в цепи разомкнутого треугольника каждого ТН 3 - 35 кВ с заземленной нейтралью на стороне ВН (см. приложение 2)

2.7.2. При наличии дугогасящих катушек или генераторов (синхронных компенсаторов) с непосредственным водяным охлаждением обмоток статора защита от самопроизвольных смещений нейтрали не требуется ввиду невозможности их возникновения.

2.8. Разводка цепей напряжения.

2.8.1. Прокладка вторичных цепей ТН должна выполняться контрольным или силовым кабелем без разделения одной цепи по разным кабелям. Например, трех- или четырехпроводные трехфазные цепи от основных вторичных обмоток ТН должны подаваться на щит в одном кабеле. Двухпроводная цепь от концов одной обмотки однофазного трансформатора или от дополнительных обмоток, соединенных по схеме разомкнутого треугольника (цепь 3Uо), также не должна разделяться по разным кабелям.

2.8.2. Для предотвращения неправильных действий защиты из-за наводок продольных ЭДС во вторичных цепях ТН следует:

- переключение цепей напряжения присоединений РУ с ТН одной системы шин на ТН другой системы шин блок-контактами разъединителей применять только в распределительных устройствах 6 - 35 кВ. В РУ 110 кВ и выше должны применяться схемы с реле-повторителями положения разъединителей;

- в РУ 110 кВ и выше применять во вторичных, цепях ТН только кабели в металлической оболочке и заземлять оболочку с обоих концов каждого кабеля. При наличии соединительных муфт оболочка кабелей по обе стороны каждой из них должны быть электрически соединены между собой. При этом использование изолированной металлической оболочки (например, кабеля ААШВ) в качестве одного из проводов вторичной цепи напряжения по соображениям надежности не допускается;

- кабели в цепях основных и дополнительных обмоток ТН от шкафа ТН до щита по всей длине прокладывать рядом.

Ранее проложенные в этих РУ кабели, не имеющие металлической оболочки, могут быть оставлены во вторичных цепях ТН, если опыт эксплуатации показал невозможность неправильного действия защиты под влиянием продольных ЭДС.

2.9. Питание цепей напряжения расчетных счетчиков.

2.9.1. В тех случаях, когда в цепях напряжения расчетных счетчиков допустима потеря напряжения до 0,5 % (на межсистемных линиях электропередачи при подключении счетчиков к ТН класса точности 1 и на линиях, питающих потребителей электроэнергии), рекомендуется предусматривать их питание от общих шинок напряжения на щите, если не требуется увеличения сечения жил основного кабеля от ТН до щита более чем до 120 мм2. При необходимости прокладки кабеля с жилами сечением более 120 мм2 для питания расчетных счетчиков следует прокладывать отдельный кабель. При подключении указанных расчетных счетчиков к ТН, находящимся в эксплуатации, допускается прокладка отдельного кабеля для счетчиков при меньшем сечении жил основного кабеля, если потеря напряжения в нем превышает 0,5 %.

2.9.2. При подключении расчетных счетчиков межсистемных линий электропередачи к ТН класса точности 0,5 (например, к ТН 110 - 220 кВ) на них должно подаваться питание по отдельному кабелю, так как в указанных случаях потеря напряжения в цепи счетчиков не должна превышать 0,25 %.

2.9.3. Расчетные счетчики линий, получающие питание по отдельному кабелю от малонагруженных ТН, присоединенных к шинам, должны при переводе линии с одной системы шин на другую переключаться на другой ТН с помощью реле-повторителей или отдельных переключателей.

2.9.4. При нагрузке ТН, подключенных к шинам 6 - 220 кВ, превышающей их мощность в высшем классе точности, должны устанавливаться отдельные ТН для питания расчетных счетчиков. Кроме расчетных счетчиков, к этим ТН могут подключаться другие нагрузки (измерительные приборы, устройства автоматики, релейной защиты и пр.), если суммарная нагрузка ТН будет не более допустимой при его работе в высшем классе точности.

2.10. Резервирование трансформаторов напряжения.

2.10.1. В РУ с двойной системой шин для взаимного резервирования ТН систем шин должно предусматриваться переключение нагрузки с одного трансформатора на другой без выполнения каких-либо операций в первичной схеме.

2.10.2. В РУ напряжением 330 кВ и выше должно предусматриваться переключение нагрузки с одного ТН на другой - резервный. Это необходимо при выходе ТВ из строя или при выводе его в ремонт.

2.10.3. Для резервирования ТН, присоединенных к ВЛ, должен использоваться ТН, установленный на шинах РУ, выполненных по "полуторной" схеме или по схеме "шины - автотрансформатор"; на автотрансформаторах - при схеме многоугольника или на трансформаторах блоков генератор-трансформатор при отсутствии автотрансформаторов.

При отсутствии такого резервного ТН допускается вместо него использовать ТН другой линии электропередачи.

При таком взаимном резервировании в целях сохранения в работе оставшейся без ТН неповрежденной линии после отключения соседней линии с резервным ТН в объединенных энергосистемах принимают дополнительные меры, повышающие эффективность действия защиты и АПВ (обычно оставляют в работе только устройства, менее подверженные ложным действиям и отказам при отсутствии напряжения). Однако при этом все-таки не исключается возможность отключения обеих линий при КЗ на той из них, на которой ТН остается в работе. Поскольку этот недостаток может проявляться лишь в редких случаях, разрешается применять взаимное резервирование и не устанавливать отдельный резервный ТН.

2.10.4. Для ТН на линиях 750 кВ кроме резервирования по п. 2.10.3 должна предусматриваться установка второго (резервного) трансформаторного устройства со своими рубильниками, автоматическими выключателями и кабелями до релейного щита. Переход на второе трансформаторное устройство должен производиться с помощью разъединителей, подключающих это устройство к конденсаторам связи и коммутационных аппаратов во вторичных цепях.

При использовании для высокочастотных каналов двух комплектов конденсаторов связи (по два на фазу) второе трансформаторное устройство должно быть постоянно подключено ко второму комплекту конденсаторов связи.

2.10.5. При установке глухого заземления в цепях напряжения вблизи ТН переключение на резервный трансформатор должно выполняться с перерывом питания нагрузки.

Для этой цели должны применяться переключатели, исключающие возможность объединения заземленных проводов разных ТН, например ПКУЗ.

При установке глухого заземления на щите для двух и более ТН при двойной системе шин переключение нагрузки одного ТН на другой допускается выполнять с помощью рубильников.

3. УКАЗАНИЯ ПО РАСЧЕТНОЙ ПРОВЕРКЕ ТН И ИХ ВТОРИЧНЫХ ЦЕПЕЙ

3.1. При новом включении ТН и при изменениях их схемы и вторичной нагрузки должна производиться расчетная проверка соответствия нагрузки требуемому классу точности, потери напряжения до наиболее удаленных нагрузок, а также предохранителей и автоматических выключателей во вторичных цепях напряжения.

3.2. Расчет нагрузки трансформаторов напряжения.

3.2.1. Расчет для определения нагрузки ТН следует выполнять по данным о потреблении отдельных реле и приборов, подключенных к цепям напряжения. Недостающие значения потребления отдельных реле, приборов или устройств должны быть измерены.

Потребление релейной и измерительной аппаратуры выражается в вольт-амперах (В·А). Для измерительных приборов оно обычно задается при Uном = 100 В, а для реле - и при других значениях напряжения. Для расчета потребление всей аппаратуры, включенной на линейное напряжение, должно быть приведено к напряжению 100 В, а аппаратуры, включенной на фазное напряжение, - к напряжению 100/ В. Пересчет на расчетное напряжение производится по выражению

(1)

где Sрасч - потребление при расчетном (линейном или фазном) напряжении Uрасч;

SU - потребление, заданное при напряжении U.

Это выражение составлено исходя из условия постоянства сопротивления реле (прибора) при напряжении U и Uрасч.

Если известно только сопротивление Z реле или прибора, то потребление определяется по выражению

(2)

3.2.2. Для расчета максимальной нагрузки вторичных обмоток ТН, соединенных в звезду, должны быть определены суммарные нагрузки, включенные на междуфазные напряжения (Sав, Sвс, Sса) и на фазные напряжения (Sа, Sв, Sс). В расчет вводятся две наибольшие из междуфазных нагрузок и наибольшая фазная нагрузка (обозначаются соответственно S1, S2, Sф).

Нагрузка наиболее загруженной фазы ТН Sн.ф определяется по выражению

(3)

где K = S1/S2.

При отсутствии нагрузок, включенных на фазные напряжения, Sф = 0.

Пояснения к выражению (3) приведены в приложении 3.

3.2.3. При соединении вторичных обмоток однофазных ТН в звезду нагрузка, подсчитанная для наиболее загруженной фазы по выражению (3), должна сопоставляться с мощностью одной фазы трансформаторов в требуемом классе точности

При питании вторичной нагрузки от трехфазного ТН его мощность в требуемом классе точности сопоставляется с утроенной мощностью нагрузки наиболее загруженной фазы, подсчитанной по выражению (3).

3.2.4. При соединении двух ТН в открытый треугольник (см. рис. П.9, а) нагрузка наиболее загруженного ТН определяется также по выражению (3). При этом Sca принимается равной S1, а наибольшая из нагрузок Sав и Sвс - S2 (см. приложение 3).

3.2.5. Нагрузка дополнительных обмоток ТН 35 кВ и выше, состоящая из реле блокировки (см. рис. П5 и П7) и устройств синхронизации (на ТН 110 кВ и выше) может также определяться по выражению (3). Однако расчет мощности этой нагрузки обычно не производится, так как она всегда намного меньше мощности дополнительных обмоток.

Мощность нагрузки Sно цепи 3Uо приводится, согласно выражению (1), к напряжению 100 В.

Для трехфазных ТН она сопоставляется с мощностью трансформатора в классе точности 3. С мощностью однофазных ТН в том же классе точности 3 сопоставляется суммарная мощность нагрузки цепи 3Uо и основной обмотки.

При этом для сетей с изолированной нейтралью расчетным является однофазное замыкание на землю, при котором одна из фаз ТН зашунтирована на стороне ВН и вся нагрузка получает питание от двух других фаз. При этом напряжение на них Uф = 3Uo/ и нагрузка Sнагр = Sно/.

Нагрузка основной обмотки остается без изменений и подсчитывается по выражению (3).

Суммарная нагрузка ТН будет

(4)

В сетях с заземленной нейтралью суммарная нагрузка ТН наибольшая при двухфазном КЗ на землю, при котором зашунтированы две фазы ТН и вся нагрузка Sно питается от третьей фазы. Нагрузка основной обмотки при этом снижается, так как две междуфазные нагрузки, присоединенные к оставшейся в работе фазе, оказываются включенными на фазное напряжение, вследствие чего каждая из них уменьшается в три раза. Обозначая эти междуфазные нагрузки  и  можно записать выражение для определения суммарной нагрузки ТН в следующем виде:

(5)

Примеры расчета нагрузки ТН приведены в приложении 3 (примеры 1, 2 и 3).

3.3. Расчет потерь напряжения.

3.3.1. Для определения потерь напряжения должны быть известны сопротивления жил кабелей и токи нагрузки в цепях напряжения.

Сопротивление жил кабелей измеряется или определяется по формуле

(6)

где l - длина кабеля, м;

g - удельная проводимость, принимаемая для меди равной 57 и для алюминия - 34,5;

q - сечение кабеля, мм2.

Токи нагрузки определяются по наибольшим значениям потребляемой мощности аппаратуры, питающейся по данному кабелю, и могут быть подсчитаны для любого кабеля по выражениям (3) и (5).

Для вычисления тока нагрузки следует разделить полученное значение потребляемой мощности на напряжение, которому соответствует эта мощность.

При соединении ТН в открытый треугольник наибольший ток будет в фазе в, поэтому мощность должна определяться по нагрузкам, присоединенным к этой фазе (S и Sвс).

3.3.2. Потери напряжения определяются как падение напряжения в последовательно соединенных кабелях в цепях основных обмоток трансформатора напряжения по выражению

DU = K1I1r1 + K2I2r2 + … + KnInrn

(7)

где I1, I2, In - токи в последовательно соединенных n кабелях.;

K1, K2, Kn - коэффициенты для пересчета фазного падения напряжения на линейное; при питании нагрузки по трем фазам коэффициент равен , а при питании по двум жилам кабеля нагрузки, включенной на линейное напряжение, - 2.

Определение потерь линейного, а не фазного напряжения производится потому, что потери линейного напряжения в вольтах равны потерям напряжения в процентах.

В цепи 3Uо обычно последовательно соединены не более двух кабелей:

DU = 2 (I1r1 + I2r2),

(8)

где коэффициентом 2 учитывается обратный провод.

3.3.3. При необходимости прокладки нового кабеля в цепях напряжения (например, для питания новых нагрузок) сечение его жил должно выбираться по допустимым потерям напряжения. Если кабель присоединяется непосредственно к ТН, то для цепи основных обмоток

(9)

где Uдоп - допустимая для новой нагрузки потеря напряжения;

Iнагр - ток новой нагрузки.

Для цепи 3Uо

(10)

Если новый кабель присоединяется к ТН через другие питающие кабели, то вместо DUдоп в выражениях (9) и (10) следует подставлять DUдоп - SDUпит, где DUпит потери напряжения в питающих кабелях.

По полученному значению rпр.макс с помощью выражения (6) вычисляется сечение жил кабеля q.

Применение рекомендуемой методики расчета потерь напряжения показано в примерах 4, 5 в 6 приложения 3.

3.4. Расчетная проверка предохранителей и автоматических выключателей

3.4.1. Номинальный ток расцепителя автоматического выключателя или плавкой вставки предохранителя должен быть не менее наибольшего возможного тока длительной нагрузки в его цепи. Последний должен определяться в учетом возможного увеличения нагрузки при резервировании другого ТН.

Кроме того, ток, соответствующий отключающей способности предохранителя, или максимальный допустимый при КЗ ток расцепителя автоматического выключателя должен быть не менее максимального тока КЗ в месте установки этого защитного аппарата.

При малых значениях тока нагрузки, как, например, у трансформаторов напряжения 6 - 20 кВ, работающих в классе точности 0,5 и 0,2 в цепи питания счетчиков или в цепи дополнительных обмоток, соединенных в разомкнутый треугольник, номинальный ток предохранителя или автоматического выключателя сопоставляется только с его отключающей способностью.

Для обеспечения надежного действия предохранителей номинальный ток плавких вставок должен быть меньше минимального значения тока КЗ не менее чем в 4 - 5 раз.

Коэффициент чувствительности электромагнитного расцепителя (отсечки) автоматического выключателя (отношение минимального значения тока КЗ к наибольшему току срабатывания этого расцепителя должен быть не менее 1,5.

Наиболее широкое распространение для защиты трансформаторов напряжения получили автоматические выключатели АП50 с электромагнитным и тепловым расцепителями (см. приложение 3).

3.4.2. Особенности применения автоматических выключателей в цепи основных обмоток:

- при включении на линию электромагнитных ТН типа НКФ должна учитываться необходимость отстройки отсечки автоматического выключателя от бросков емкостного тока, возникающих при снятии напряжения с линии. Эти токи кратковременно проходят во вторичных цепях по автотрансформаторам, предназначенным для регулирования уставок дистанционных защит, и могут быть порядка 50 - 60 А.

Для предотвращения отключения автоматических выключателей при указанных бросках емкостного тока ток срабатывания электромагнитного расцепителя следует принимать равным

Icp = Kн I2емк

(11)

где I2емк - максимальное значение броска емкостного тока во вторичных цепях;

Kн - коэффициент надежности, равный 1,3.

При кратности срабатывания 3,5 номинальный ток расцепителя должен быть

(12)

Эффективность такой отстройки от бросков емкостного тока должна проверяться при наладке;

- номинальный ток неселективного автоматического выключателя, устанавливаемого на щите в цепи удаленных нагрузок, рекомендуется всегда принимать равным 2,5 А. При этом обеспечивается надежная работа электромагнитного расцепителя при КЗ за сопротивлением проводов (в одной фазе) до 3 Ом. Поскольку при КЗ за таким сопротивлением напряжение в месте установки автоматического выключателя будет выше 0,9 Uном, вполне допустима ликвидация более удаленных КЗ с помощью теплового расцепителя, который надежно срабатывает при повреждении за кабелем с жилами сечением 1,5 мм2 длиной до 650 м.

В то же время максимальное значение тока КЗ за этим автоматическим выключателем всегда будет меньше допустимого по его отключающей способности (Iкз.макс = 400 А), так как согласно "Методическим указаниям по эксплуатации автоматических воздушных выключателей серии АП50" (СЦНТИ ОРГРЭС, 1975), полное сопротивление одного полюса автоматического выключателя АП50 с электромагнитным и тепловым расцепителями на номинальный ток 2,5 А составляет 0,32 Ом.

3.4.3. Особенности применения и расчетной проверки автоматических выключателей в цепи дополнительных обмоток:

- поскольку ток нагрузки в проводах и, ф обычно не превышает 1 А, в этих цепях, как правило, устанавливаются автоматические выключатели с Iном = 2,5 А. Проверка применимости этих выключателей по отключающей способности не требуется. Такая проверка должна производиться только для автоматических выключателей без теплового расцепителя. При этом для ТН с номинальным напряжением дополнительных обмоток 100/3 В в связи с малым значением сопротивления Zк необходимо при определении тока КЗ учитывать сопротивление проводов от выводов ТН до автоматического выключателя;

- в цепи 3Uо (в проводе н) ТН до 35 кВ (см. рис. П.12) должен устанавливаться автоматический выключатель только с тепловым расцепителем, чтобы не разрывать цепь 3Uо при повреждении между проводами н-и. При отсутствии провода и (например, в схеме на рис. П.11) автоматический выключатель в цепи 3Uо может иметь только электромагнитный расцепитель.

3.4.4. Для оценки чувствительности автоматических выключателей и предохранителей определяется минимальное значение тока КЗ в наиболее удаленных точках цепей напряжения. Рекомендации по выполнению расчета тока КЗ приведены в приложении 3.

Коэффициент чувствительности вычисляется по выражению

(13)

или для автоматических выключателей АП50

(14)

В тех случаях, когда электромагнитный расцепитель автоматического выключателя при КЗ за кабелем удаленной нагрузки (измерительные приборы, цепи синхронизации) окажется нечувствительным, допустимо ликвидировать повреждение за этим кабелем с помощью теплового расцепителя, если при минимальном токе при этом повреждении напряжение на щите (в начале кабеля удаленной нагрузки) будет не ниже 0,9 Uном. При более глубоком снижении напряжения или при недостаточной чувствительности теплового расцепителя (Kч < 1,5) необходима установка неселективного автоматического выключателя в цепи этого кабеля.

Надежность действия теплового расцепителя должна быть

Kн = Iкз.мин/Iном.расц ³ 3.

(15)

Ликвидация КЗ даже на наиболее удаленных панелях реле защиты и автоматики с помощью теплового расцепителя недопустима. Поэтому при недостаточной чувствительности электромагнитного расцепителя следует для повышения коэффициента чувствительности до Kч ³ 1,5 увеличить ранее выбранное сечение жил кабеля до этой панели либо установить в цепях кабелей, питающих панели защиты, неселективные автоматические выключатели.

Расчетная проверка предохранителей и автоматических выключателей во вторичных цепях разных ТН приведена в примерах 7, 8 и 9 приложения 3.

4. ВИДЫ, ПЕРИОДИЧНОСТЬ И ОБЪЕМЫ ПРОВЕРОК

4.1. В соответствии с действующим типовым положением о службах РЗАИ в ведении МС РЗАИ находятся все вторичные цепи ТН, начиная от наконечников кабелей, подключенных к выводам вторичных обмоток ТН., со всеми находящимися в этих цепях аппаратами, приборами и вспомогательными деталями. В виде исключения персонал МС РЗАИ при необходимости определяет однополярные выводы обмоток ТН, измеряет сопротивление КЗ ТН и сопротивление изоляции вторичных обмоток.

4.2. Виды, периодичность и объемы проверок вторичных цепей ТН, профилактического контроля и восстановления их устанавливаются директивными материалами Главтехуправления Минэнерго СССР.

4.3. Значительная часть методов различных проверок, общих для всех устройств релейной защиты и электроавтоматики, в том числе и для вторичных цепей ТН, изложена в Общей инструкции и в настоящей Инструкции не рассматривается. Использование Общей инструкции при проверке вторичных цепей ТН обязательно.

4.4. Проверка вторичных цепей ТН должна выполняться в следующем объеме.

4.4.1. Проверка при новом включении:

а) подбор необходимых схем, расчетов и прочей проектной документации, ознакомление с ней, проверка выполнения требований ПУЭ, ПТЭ и прочих директивных материалов;

б) составление и оформление необходимых заявок и программ, подготовка исполнительных схем и прочей документации, необходимой для проведения проверок;

в) подготовка испытательной аппаратуры, инструмента, вспомогательных монтажных материалов;

г) проверка (внешним осмотром) исправности вторичных цепей ТН и аппаратуры и соответствия их требованиям директивных материалов;

д) определение однополярных выводов ТН;

е) определение сопротивления короткого замыкания ТН;

ж) проверка маркировки и правильности сборки схемы вторичных цепей ТН;

з) проверка схемы и аппаратуры переключения цепей с одного ТН на другой;

и) испытание электрической прочности изоляции вторичных цепей ТН;

к) измерение сопротивления изоляции вторичных цепей ТН;

л) определение сопротивления вторичных цепей ТН;

м) проверочные расчеты токов КЗ, уточнение параметров автоматических выключателей и номинальных токов плавких вставок предохранителей;

н) проверка автоматических выключателей, предохранителей и аппаратуры контроля;

о) восстановление полной схемы вторичных цепей перед включением ТН;

п) проверка правильности сборки схемы вторичных цепей ТН под рабочим напряжением;

р) определение потери напряжения во вторичных цепях ТН;

с) проверка чувствительности защиты вторичных цепей автоматическими выключателями и предохранителями опытом КЗ;

т) проверка отстройки автоматических выключателей от пусковых токов нагрузки и зарядного тока линии;

у) оформление результатов проверки.

4.4.2. Первый профилактический контроль.

При первом профилактическом контроле должны выполняться п.п. 4.4.1, а, б, в, г, з, и, к, н, о, п, у.

4.4.3. Последующий профилактический контроль и восстановление.

При последующих профилактических контролях и восстановлении должны соблюдаться п.п. 4.4.1, б, в, г, з, и, к, н, о, п, у.

4.4.4. Для аппаратуры и цепей, находящихся в особо тяжелых условиях (высокая температура, влажность, вибрация, запыленность и т.п.) в программы проверок могут добавляться проверки или увеличиваться объемы восстановления, позволяющие оценить влияние этих тяжелых условий на аппаратуру и цепи, предотвратить их повреждение, повысить надежность работы. Объем этих проверок и восстановлении устанавливается по местным условиям.

4.4.5. Регулировка блок-контактов и проверка цепей от блок-контактов до выводов панелей устройств или реле-повторителей, цепей от реле-повторителей или шинок щита управления до панелей устройств в зависимости от местных условий могут выполняться одновременно с проверкой ТН или с проверкой питающихся по этим цепям устройств защиты и автоматики.

5. МЕТОДЫ ПРОВЕРОК

5.1. Внешний осмотр

5.1.1. При внешнем осмотре должны быть проверены: исправность оборудования, правильность и качество монтажа, выполнение требований директивных документов, соответствие выполненного монтажа проекту.

Все отступления от проекта, допустимые по директивным документам, должны быть согласованы со службой РЗАИ, утверждавшей проект.

5.1.2. При осмотре ТН должны быть записаны, с последующим занесением в бланк паспорта-протокола все заводские технические данные ТН. Обязательно проверяется наличие заводских обозначений выводов, исправность выводов вторичных обмоток, надежность уплотнения коробок и сальников.

5.1.3. Должна быть проверена правильность подключения ТН со стороны питания.

Выводы первичной обмотки однофазных ТН, соединенные в звезду, должны соединяться с контуром заземления отдельный проводником. Бак ТН, сердечник, подставка и прочие заземляемые детали, изолированные от обмоток, должны соединяться с контуром заземления отдельным проводником. Особое внимание следует обращать на выполнение этого требования у ТН типов НКФ, ЗНОМ и подобных, у которых вывод Х помещен в общую коробку с выводами вторичных обмоток.

У трехфазных ТН, например у ТН типа НТМИ вывод нуля первичной обмотки и бак должны соединяться с контуром заземления отдельными проводниками. У трехфазных ТН типа НТМК и других, не имеющих вывода нуля первичной обмотки, нуль вторичной обмотки, хотя и выведен, обычно не используется. Во избежание случайных КЗ рекомендуется закрыть этот вывод колпачком или крышкой из изоляционного материала.

Если однофазные ТН с одинаковой изоляцией выводов А и Х, например типа НОМ с соединенной в звезду первичной обмоткой, ошибочно подключены к шинам выводом Х вместо А и исправить эту ошибку невозможно, то следует соответственно изменить маркировку вторичных цепей, отметив это в паспорте-протоколе. Аналогично исправляются такие же ошибки при соединении ТН в открытый треугольник.

У ТН типа НТМИ должна быть проверена правильность подводки фаз с первичной стороны - чередование фаз должно быть следующим: А, В, С, согласно заводским обозначениям выводов ТН.

При этом необходимо отличать чередование фаз от расположения и расцветки или обозначений фаз в соответствии с требованиями ПУЭ. Обозначения (окраска) фаз по ПУЭ принимаются в зависимости от взаимного расположения шин и расположения их относительно трансформаторов; окраска выполняется до подачи напряжения на шины и должна соответствовать обозначениям и чередованию фаз энергосистемы, что проверяется обычно пофазной подачей напряжения от энергосистемы. Эта проверка в настоящей Инструкции не рассматривается.

У ТН типа НДЕ по заводской документации должны быть проверены комплектование конденсаторов, правильность подключения выводов первичной обмотки X1, X2, X3 и положение переключателей ответвлений от обмоток реактора и трансформатора. Следует учитывать, что емкости конденсаторов, способы включения регулировочных выводов X1, X2, X3 и положения переключателей подбираются на заводе-изготовителе для каждого ТН по результатам испытаний, изменять их нельзя, за исключением случая изменения емкости конденсаторов, например при их замене из-за повреждения. Если производилась такая замена, то по заводской документации производится пересчет коэффициента деления и подбираются новые положения переключателей.

5.1.4. Если в кабельной сети 35 кВ с заземленной нейтралью установлены обычные ТН типа ЗНОМ-35, у которых вторичное напряжение дополнительной обмотки составляет 100/3 В вместо необходимых 100 В, то в проекте должны быть предусмотрены мероприятия, предотвращающие неправильную работу релейной защиты от замыканий на землю и электроавтоматики из-за несоответствия номинального значения напряжения 3Uo номинальному напряжению стандартных реле. При внешнем осмотре необходимо проверить выполнение этих мероприятий.

5.1.5. Особое внимание следует обращать на ТН старых типов, иностранных фирм и прочие, конструктивно отличающиеся от выпускаемых отечественной промышленностью, и тщательно проверять пригодность их для работы в местных условиях.

В частности, необходимо обращать внимание на обозначения выводов обмоток и схемы их подключения.

5.1.6. При внешнем осмотре должно быть обращено особое внимание на способы и детали подключения кабелей больших сечений к выводам вторичных обмоток ТН, к выводам автоматических выключателей, предохранителей и прочей аппаратуры. Это требование вызвано тем, что для выполнения требований ПУЭ о значении потери напряжения во вторичных цепях приходится применять кабели больших сечений - до 120 мм2. Выводы выключателей АП50, предохранителей и прочей аппаратуры вторичных цепей, а также вторичных обмоток ТН, их коробки и сальники у современных конструкций, например у НКФ и ЗНОМ, не приспособлены для подключения кабелей таких сечений. Поэтому необходимы специальные наконечники или переходные детали для подключения жил кабелей. При внешнем осмотре следует особо проверять качество изготовления и надежность этих деталей. Основные требования к ним следующие: малое переходное сопротивление контактных поверхностей, надежность контакта, защита контактных поверхностей от окисления, а для алюминиевых деталей - невозможность ухудшения контакта из-за вытекания алюминия, удобство сборки и разборки соединения, устойчивость к изменениям температуры и влажности, к вибрациям, в том числе и к постоянным.

5.1.7. Необходимо проверить соответствие сечения проложенных кабелей проектным и выверить кабельный журнал. Увеличение сопротивления цепей за счет уменьшения сечения недопустимо.

Допустимо в виде исключения уменьшение сечения небольших отрезков кабелей, например от ТН до его шкафа, с обязательной компенсацией увеличения сопротивления, вызванного уменьшением сечения. Для этого можно увеличить сечения других участков цепи, заменять алюминий медью, изменять трассу кабеля для уменьшения его длины и т.п. Такие отступления от проекта должны быть подтверждены расчетами и согласованы со службой РЗАИ, утверждавшей проект.

5.1.8. Должны быть тщательно проверены правильность и качество монтажа кабельных разделок, состояние кабелей в лотках и каналах, надежность защиты кабелей от механических повреждений, состояние шкафов и ящиков в соответствии с Общей инструкцией.

5.1.9. Должны быть также проверены:

- выполнение требований п. 2.8.1 и 2.8.2 настоящей Инструкции по прокладке кабелей, распределении выводов ТН по жилам кабелей, заземлению металлических оболочек;

- выполнение требований п. 2.2 настоящей Инструкции о заземлении вторичных обмоток ТН, правильность и качество монтажа заземлений;

- выполнение требований п. 2.5.7 настоящей Инструкции, правильность и качество монтажа рубильников и аппаратуры защиты от КЗ;

- правильность и качество монтажа аппаратуры сигнализации о повреждении цепей ТН, шинок на щите и выполнение требований п. 2.6.3 настоящей Инструкции и п. 1.5 приложения 2.

- состояние и правильность монтажа резисторов в схеме разомкнутого треугольника по п. 2.7.1 настоящей Инструкции и п. 1.7 приложения 2;

- правильность схемы и качество монтажа, переключения цепей на резервный ТН, выполнение требований п. 2.8.2 настоящей Инструкции и п. 3.1 приложения 2;

- правильность схемы, качество монтажа и выполнение требований настоящей Инструкции о переключениях цепей напряжения;

- наличие и правильность различных надписей и обозначений. Названия и обозначения аппаратов и их положений должно точно совпадать с обозначениями и названиями их в инструкции по обслуживанию ТН и их вторичных цепей;

- тщательность очистки всех шкафов, ящиков, корпусов аппаратов, замена поврежденных деталей, особенно винтов и гаек с поврежденной резьбой, восстановление поврежденной изоляции и окраски, исправления надписей и маркировки.

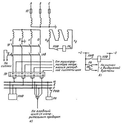
5.2. Определение однополярных выводов ТН.

5.2.1. Определение однополярных выводов должно обязательно производиться у ТН с нарушенными заводскими обозначениями выводов, у ТН, подвергавшихся ремонту с отсоединением обмоток и в других подобных случаях. У исправных TН с четкими заводскими обозначениями определение однополярных выводов необязательно. Ошибки завода-изготовителя в обозначении выводов чрезвычайно редки и обнаруживаются при проверке под рабочим напряжением. Схемы определения однополярных выводов даны на рис. 1.

Рис. 1. Схемы определения однополярных выводов ТН:

а - однофазных; б - трехфазных, соединенных по схеме Унн;
в - трехфазных, соединенных по схеме Ун/У; г - трехфазных, соединенных по схеме Ун

Гальванометром Г может служить любой измерительный прибор постоянного тока с обозначением полярности зажимов и требуемой чувствительностью, например гальванометр, миллиамперметр, милливольтметр. Для удобства работы желательно иметь нуль у прибора посредине шкалы. Для этой работы целесообразно использовать приборы М45М, M231, универсальные приборы серии Ц и другие. При измерениях прибором с нулем в начале шкалы следует учитывать его особенность: при отклонении стрелки прибора влево она может удариться в левый ограничитель и отклониться вправо. Для устранения этого можно корректором немного сдвинуть стрелку прибора вправо от нуля, а после окончания работ возвратить ее на нуль.

Источниками тока могут быть 1 - 2 батареи от карманного фонаря, автомобильный аккумулятор на 6 - 12 В и др. Аккумуляторы должны включаться через сопротивление, ограничивающее ток до значения, допустимого для аккумулятора.

5.2.2. У однофазных ТН, например НОМ, НКФ, ЗНОМ, определения однополярных выводов рекомендуется производить по схеме рис. 1, а. Вывод (+) батареи подключается к выводу А ТН, прибор подключается к вторичной обмотке произвольно. Подбирается включение прибора, при котором стрелка отклоняется вправо при замыкании цепи батареи и влево при размыкании. Вывод вторичной обмотки ТН, к которому подключен (+) прибора, будет иметь одинаковую полярность с выводом первичной обмотки, к которому подключен (+) батареи.

Для ускорения работы следует учитывать конструкцию ТН: у НКФ, ЗНОМ и подобных вывод А первичной обмотки находится наверху и подключается к шинам, вывод Х находится в общей коробке с выводами вторичных обмоток. Кроме того, следует сравнивать расположение выводов проверяемого ТН с расположением обозначенных выводов однотипного исправного ТН или с заводской документацией.

5.2.3. Проверку трехфазных ТН с соединением обмоток Унн, например НТМИ, рекомендуется выполнять по схеме рис. 1, б. Выводы (-) батареи и прибора подключаются к нулям обмоток, (+) гальванометра и (+) батареи - поочередно к фазным выводам обмоток. При замыкании цепи батареи стрелка прибора отклоняется вправо при подключении его к выводу вторичной обмотки, однополярному с выводом первичной обмотки, к которому подключен (+) батареи. При подключении (+) прибора к другим выводам вторичной обмотки и замыкании цепи батареи стрелка отклоняется влево. Определить выводы нулей обмоток можно по размерам их изоляторов, измерением сопротивления обмоток между каждой парой выводов, по заводской документации, сравнением расположения выводов проверяемого ТН с однотипным исправным ТН.

5.2.4. Проверку трехфазных ТН с соединением обмоток У/Ун рекомендуется производить по схеме 1, в. Гальванометр подключается так: (-) - к нулю вторичной обмотки, (+) - поочередно к другим выводам. Батарея поочередно включается на выводы АВ, ВС, СА, (+) батареи должен включаться на выводы А, В, С соответственно.

При правильной полярности и включении прибора на вывод а его стрелка отклонится вправо, при включении на вывод с - влево, при включении на вывод в - незначительно в любую сторону. Измерения повторяются три раза, для каждой пары выводов первичной обмотки.

5.2.5. Определение выводов обмоток, соединенных в разомкнутый треугольник, рекомендуется производить по схеме 1, 2: (+) батареи поочередно подключается к выводам А, Б, С; при правильной полярности стрелка прибора отклоняется вправо; (+) прибора соответствует выводу ад.

5.2.6. После окончания измерений по их результатам должны быть нанесены обозначения выводов маслостойкой и водоупорной краской. Результаты испытаний должны быть записаны в паспорт-протокол.

5.2.7. Если заводские обозначения выводов ТН отличаются от принятых в ГОСТ 1983-77 (ТН иностранных фирм), то они сохраняются, а рядом наносятся обозначения по ГОСТ.

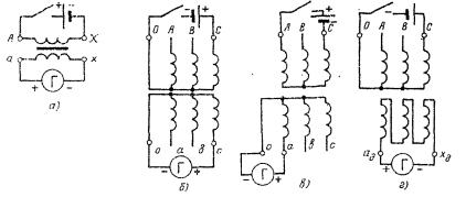
5.3. Определение сопротивления КЗ ТН.

5.3.1. Сопротивление КЗ ТН необходимо знать для расчета токов КЗ и защиты от них во вторичных цепях ТН.

Это испытание обязательно для всех ТН типа НДЕ, ТН, вторичные обмотки которых соединены в разомкнутый треугольник, и ТН, для которых нет заводских данных. Для ТН, обмотки которых соединены в звезду иди открытый треугольник, это испытание целесообразно для уточнения заводских данных.

5.3.2. Определять сопротивление короткого замыкания ТН при питании со стороны первичных обмоток обычно невозможно из-за отсутствия специальной аппаратуры в МС РЗАИ. Поэтому рекомендуется измерять сопротивление ТН (Ом), отнесенное к вторичной обмотке по схемам рис. 2 при питании со стороны вторичных обмоток.

Первичные обмотки ТН надежно закорачиваются, ток во вторичной обмотке доводится до максимально возможного, но не более номинального тока, соответствующего максимальной мощности ТН. Регулировка тока производится реостатом. Искажения формы кривой тока и напряжения не будет, так как сопротивление закороченного ТH линейно. Поэтому измерения могут выполняться приборами любого типа. Сопротивление однофазных ТН, например НКФ, ЗНОМ (Ом/фазу) определяется по рис. 2, а как напряжение (В) деленное на ток (А). Для составления полной схемы замещения трехобмоточного трансформатора необходимо измерять сопротивления всех трех пар обмоток; обычно достаточно измерить сопротивления КЗ только для основной и дополнительной обмоток при закороченной первичной. Измерения сопротивления между двумя вторичными обмотками при разомкнутой первичной обычно необязательно и требует особо строгого соблюдения требований правил техники безопасности.

5.3.3. Для трехфазных ТН, например НТМИ, имевших нулевые выводы обмоток, соединенных в звезду, измерения рекомендуется выполнять по схеме рис. 2, б, поочередно для каждой фазы. В паспорт-протокол записываются результаты всех трех измерений, для расчета тока КЗ принимается среднее значение.

Трехфазные ТН с обмотками, соединенными по схеме У/Ун, рекомендуется проверять по схеме рис. 2, в. Сопротивление одной фазы получается при делении результата измерения на два.

5.3.4. Для трехфазных ТН, имеющих вторичную обмотку, соединенную в разомкнутый треугольник, например НТМИ, измерения рекомендуется выполнять по рис. 2, г; чтобы получить сопротивление одной фазы, результат делится на три.

5.3.5. При испытании необходимо строго соблюдать требования правил техники безопасности. Особо следует следить за надежностью закороток первичных обмоток; при случайном размыкании их на первичной обмотке могут появиться напряжения, опасные как для персонала, так и для ТН. При испытаниях трехобмоточных ТН третья обмотка должна быть разомкнута. Значение тока следует доводить до номинального тока ТН во вторичной обмотке, определяемого для максимальной мощности, без учета класса точности. Измерительные приборы должны иметь класс точности 0,2, допустим класс точности 0,5 при условии правильного подбора пределов измерения и соблюдения правил измерений, изложенных в Общей инструкции.

Рис. 2. Схемы определения сопротивления ТН:

а - однофазных; б - трехфазных, соединенных по схеме Унн;
в - трехфазных, соединенных по схеме Ун/Δ; г - трехфазных, соединенных по схеме У/Ун

5.4. Проверка маркировки и правильности сборки схемы вторичных цепей.

5.4.1. Для уменьшения числа отключений жил кабелей рекомендуется следующий порядок работ: после внешнего осмотра отключаются кабели от выводов вторичных обмоток ТН и проводятся испытания ТН - определение однополярных выводов (при необходимости) в сопротивления КЗ ТН. Затем снимаются заземления и, не подключая кабели к ТН, производится проверка схемы и маркировки вторичных цепей, измерение сопротивления изоляции, испытание электрической прочности изоляции, определение сопротивления вторичных цепей, проверка автоматических выключателей и вспомогательной аппаратуры. После этого подключаются кабели к ТН и полностью восстанавливается разобранная схема вторичных цепей по заранее проверенной маркировке.

Проверка правильности сборки схемы вторичных цепей и их маркировки должна производиться методами, изложенными в Общей инструкции.

Выполненная маркировка должна полностью совпадать с маркировкой на монтажных и принципиальных схемах. При необходимости в зависимости от местных условий вносятся исправления в схемы или в выполненную маркировку.

Особое внимание следует обратить на маркировку кабелей с жилами большого сечения и различных шин, для которых обычно применяемые для вторичных цепей бирки непригодны. В зависимости от местных условий маркировка наносится устойчивой краской непосредственно на изоляцию жилы или на шину или же на пластинки из токонепроводящих водостойких материалов (текстолита, гетинакса, оргстекла и т.п.), привязываемые к жилам и шинам. Цвет краски, которой наносится маркировка, должен отличаться от цвета шин и изоляции жил. Маркировка должна быть хорошо различимой на расстоянии без дополнительного освещения от переносных источников. Привязывать маркировку проволокой запрещается.

Одновременно с проверкой маркировки жил должна проверяться и сверяться с кабельным журналом маркировка кабелей.

Все недостающие и поврежденные винты, гайки, шайбы заменяются, а бирки с неясными надписями восстанавливаются или заменяются.

Проверка маркировки производится по всем цепям от выводов вторичных обмоток ТН до зажимов выводов панелей релейной защиты, автоматики, измерительных приборов, реле повторителей или шинок на щите.

5.5. Проверка правильности монтажа схемы переключения цепей с одного ТН на другой.

5.5.1. Способы переключения цепей устройств релейной защиты, автоматики и измерения указаны в настоящей Инструкции, должны проверяться выполнение этих требований, качество монтажа, состояние аппаратуры, правильность выполнения схемы. Основное требование к схеме: при всех предусмотренных положениях переключающего аппарата (переключатель с ручным управлением, блок-контакты разъединителей, реле-повторители) на зажимы выводов устройства, цепи которого переключаются, подаются одноименные фазы от разных ТН. Это должно проверяться предварительно "прозвонкой" цепей и в дальнейшем измерениями под рабочим напряжением.

Методы "прозвонки" этих цепей указаны в Общей инструкции. Основное внимание следует обратить на качество монтажа кабелей, проложенных к блок-контактам, надежность работы блок-контактов и защиту их от пыли, снега и дождя.

5.5.2. Надежность работы блок-контактов должна проверяться многократным включением и отключением разъединителя. Тяги между валом блок-контактов и валом разъединителя должны регулироваться так, чтобы при отключении разъединителя блок-контакты размыкались, как только ножи разъединителя выйдут из губок. При включении разъединителя блок-контакты должны замыкаться, когда нож подходит к губкам, но еще не касается их. Дополнительно проверяется, что ход ножа в губках обеспечивает достаточный запас по углу поворота вала блок-контактов на замыкание с учетом возможных отклонений от отрегулированного положения.

Все поврежденные детали блок-контактов, особенно ржавые пружины, должны быть заменены. Контактные поверхности должны очищаться надфилем, чистить их шкуркой запрещается. Жилы кабеля не должны касаться движущихся деталей блок-контактов и корпуса. Ввод кабелей в корпус блок-контактов, крышка корпуса и место входа тяги в корпус должны иметь надежные уплотнения, защищающие блок-контакты от дождя, снега, и пыли.

5.5.3. Реле-повторители следует проверять или настраивать по специальным инструкциям. При наладке цепей напряжения ТН подается оперативный ток на блок-контакты разъединителей и проверяется лишь правильность работы реле-повторителей при всех положениях разъединителей.

5.6. Измерение сопротивления изоляции.

5.6.1. Сопротивление изоляции должно измеряться мегаомметром на 1000 В (желательно 2500 В) методами, изложенными в Общей инструкции. Сопротивление изоляции относительно земли должно быть не менее 1 МОм для полной схемы вторичных цепей каждого ТН. Обмотки ТН при этом должны быть подключены к вторичным цепям (подключение производить временно).

Сопротивление изоляции относительно земли должно определяться для полностью собранной схемы с подключенными обмотками ТН, со всеми включенными реле и приборами, при всех положениях аппаратов, переключающих цепи напряжения с одного ТН на другой.

Сопротивление изоляции между фазами (жилами) должно измеряться при отключенных обмотках реле и приборов.

5.6.2. Для экономии времени целесообразно присоединять мегаомметр между землей и жилой кабеля; остальные жилы соединить между собой и заземлить.

Таким образом одновременно проверяется изоляция каждой жилы относительно земли и других жил.

5.7. Испытание электрической прочности изоляции.

5.7.1. Испытание должно проводиться методами, указанными в Общей инструкции. При испытаниях необходимо учитывать некоторые особенности вторичных цепей ТН, а именно:

а) вторичные обмотки ТН напряжением 1000 В не испытываются и на время испытания отключаются от вторичных цепей;

б) у реле и измерительных приборов, у которых обмотки тока и напряжения расположены на одном каркасе, токовые обмотки отключаются от своих цепей и соединяются временно с обмотками напряжения;

в) кабели, проложенные от ТН до щита управления рекомендуется испытывать напряжением 1000 В не только между жилой и землей, но и между жилами. Для кабелей, проложенных от ТН до аппаратов защиты вторичных цепей от КЗ, такое испытание обязательно, так как они не защищены от КЗ.

5.7.2. При таких испытаниях напряжение следует подавать поочередно на каждую жилу, остальные жилы соединять между собой и заземлять.

На время указанных испытаний кабели должны быть отключены от шин щита или панелей устройств защиты и автоматики. После испытания схема должна быть полностью восстановлена, и должно быть, повторно проверено сопротивление изоляции полностью собранной схемы относительно земли.

5.7.3. При восстановлении и контроле напряжением 1000 В должны испытываться только замененные или отремонтированные кабели и аппараты, для остальных допускается вместо испытания электрической прочности изоляции измерение ее сопротивления мегаомметром на напряжение 2500 В.

5.8. Измерение сопротивления вторичных цепей.

5.8.1. Перед измерениями необходимо отключить заземляющие провода от вторичных цепей и восстановить заземления после окончания измерений. Измерения следует производить методом амперметра и вольтметра на переменном токе (рис. 3). Вызвано - это тем, что индуктивное сопротивление кабелей больших сечений, особенно медных, соизмеримо с активным. Например, активное сопротивление медного кабеля сечением 95 мм2 - около 0,2 Ом/км, а индуктивное - около 0,08 Ом/км, или около 40 % активного. Кроме того, велико индуктивное сопротивление расцепителей автоматических выключателей. Место установки закоротки выбирается по местным условиям. Все вторичные цепи целесообразно разбить на несколько участков и измерять сопротивления по участкам, например от ТН до шинок щита управления, от шинок до панелей и т.д.

Основное требование следующее: в измеряемую цепь должны входить все составные элементы схемы: переходные сопротивления контактов, кабели, расцепители выключателей, предохранители, шинки, рубильники, блок-контакты. Это вызвано тем, что по сравнению с сопротивлением жил кабелей сопротивление этих элементов велико, а расчетная чувствительность защиты от КЗ в этих цепях часто невысока.

Рис. 3. Схема измерения сопротивления вторичных цепей ТН

5.8.2. Для цепей обмоток, соединенных в звезду, следует измерять сопротивления каждой пары фаз и каждой фазы и нулевого провода. По этим данным вычисляется среднее значение сопротивления каждой фазы и нуля. Для цепей разомкнутого треугольника следует измерять попарно сопротивления между жилами НИ, ФК, НК, ИФ и вычислять среднее сопротивление каждой жилы. Следует учитывать, что часто применяются четырехжильные кабели с разным сечением жил.

Класс точности приборов должен быть не ниже 0,5 (желательно 0,2).

5.9. Проверочные расчеты токов КЗ и защиты во вторичных цепях.

Эти расчеты рекомендуется производить по результатам измерений сопротивлений вторичных цепей и ТН. По ним должна проверяться чувствительность защиты вторичных цепей и соответствие установленной аппаратуры действительным значениям токов КЗ. При необходимости установленная аппаратура защиты (предохранители, автоматические выключатели) должна быть заменена или дополнена новой. Расчеты следует выполнять методами, указанными в приложении 3.

5.10. Проверка автоматических выключателей, предохранителей и аппаратуры контроля цепей.

5.10.1. Основные правила проверки исправности механизма автоматических выключателей изложены в Общей инструкции.

Следует учитывать особенности выключателей АП50, рекомендованных для установки во вторичных цепях ТН:

а) различать номинальный ток выключателя и его теплового расцепителя;

б) выключатели АП50 предназначены для работы при температуре окружающей среды от -10 до +40 °С и влажности не более 80 % при температуре +20 °С. поэтому шкафы, где они установлены, должны иметь подогрев и защиту от попадания дождя и снега;

в) выключатели АП50 нельзя устанавливать в местах, подверженных вибрации, толчкам и тряске;

г) характеристики тепловых расцепителей АП50 приводятся в заводских данных при температуре окружающей среды +25 °С при протекании тока одновременно по всем полюсам и начальной температуре расцепителей не более +35 °С. Время срабатывания их в этих условиях (по данным завода-изготовителя) следующее:

Кратность тока

1,1

1,35

6

Время

Более 1 ч

Менее 30 мин

2 - 10 с

5.10.2. Проверка тепловых расцепителей должна производиться поочередно для каждого полюса (рис. 4). Измерения повторяются многократно, поэтому необходимо давать время для остывания теплового расцепителя - около 2 мин, для чего в схему введен переключатель П: пока остывает тепловой расцепитель одного полюса, проверяются другие. Время срабатывания теплового расцепителя измеряется обычным электросекундомером, например ПВ-53-Л.

Рис. 4. Схема проверки автоматических выключателей

Ток регулируется реостатом R1. Реостат R2 заменяет тепловой расцепитель на время подбора требуемого тока, чтобы не перегревать расцепитель. Сопротивление R2 подбирается равным сопротивлению расцепителей в зависимости от их номинального тока и, по данным ПО "Союзтехэнерго" должно быть следующим:

Номинальный ток расцепителя, А

1,6

2,5

4

10

16

25

40

50

Сопротивление, Ом

0,65

0,32

0,13

0,05

0,02

0,012

0,007

0,003

Для всех автоматических выключателей с тепловыми расцепителями следует измерять время работы с обязательным учетом разброса, при трех- и шестикратном номинальном токе расцепителей. Измеряемое время срабатывания при шестикратном токе следует сравнивать с заводскими данными для оценки исправности расцепителя. По времени, измеренному при трехкратном токе, оценивается работа защиты при минимальной чувствительности, равной трем.

Действительный ток срабатывания теплового расцепителя измерить средствами, которыми располагает МС РЗАИ, практически невозможно из-за отсутствия необходимой аппаратуры и температурных условий. Для оценки исправности теплового расцепителя результаты измерений времени срабатывания следует сравнивать с заводскими характеристиками. В качестве примера на рис. 5 даны заводские характеристики для тепловых расцепителей на номинальные токи 2,5; 10 и 25 А.

Конструкция AП50 предусматривает возможность регулирования тока срабатывания его теплового расцепителя в пределах 0,65 - 1 номинального. Прибегать к регулировке тока срабатывания для повышения чувствительности следует лишь при особой необходимости. По данным завода-изготовителя, разброс тока срабатывания на минимальной уставке доходит до ±25 % и действительный ток срабатывания, который должен учитываться при расчете чувствительности, будет не 0,65Iном, а 0,65·1,25Iном = 0,81Iном, и действительная чувствительность будет незначительной. Поскольку действительный ток срабатывания средствами МС PЗАИ определить невозможно, то неизвестна и действительная чувствительность. Если последовательно включено несколько выключателей с тепловыми расцепителями, то для проверки их селективности снимаются и сравниваются между собой характеристики t = f(I).

Рис. 5 Характеристики t = f (I) автоматических выключателей АП50 с номинальным током тепловых расцепителей

а - 2,5 А; б - 10 А; в - 25 А

5.10.3. Обязательно определяется действительный ток срабатывания отсечки и его разброс от Iном. Разброс не должен превосходить гарантированного заводом. Проверка ведется так же, как для обычного максимального реле. Если в цепях, защищенных этим выключателем, имеется блокировка релейной защиты от повреждений цепей напряжения, то необходимо миллисекундомером измерить время срабатывания отсечки при токе, равном 1,5 действительного тока срабатывания.

Время срабатывания, по данным завода, должно быть 0,017 с. Это время сравнивается с временем срабатывания блокировки. Если блокировки нет, измерение времени срабатывания отсечки необязательно.

5.10.4. При профилактическом контроле и восстановлении при необходимости должны сниматься гасительные камеры, проверяться и при необходимости зачищаться контакты и внутренние стенки камер. Работа теплового расцепителя и отсечки должна проверяться, как указано в пп. 5.10.2 и 5.10.3, при трехкратном номинальном токе теплового расцепителя и при 1,5-кратном токе срабатывания отсечки.

5.10.5. Цепи сигнализации от блок-контактов должны проверяться по Общей инструкции.

5.10.6. Проверка предохранителей производится следующим образом.

В цепях ТН могут применяться только трубчатые предохранители с закрытым патроном; пробочные предохранители и трубчатые с открытым патроном не допускаются. При всех проверках должна проверяться исправность предохранителя, чистота контактных поверхностей, надежность подключения к нему жил кабелей или проводов, исправность пружин. Тип, номинальный ток и напряжение, разрывная мощность предохранителя должны соответствовать проекту или результатам расчетов токов КЗ. У неразборных патронов по заводским обозначениям должно проверяться соответствие номинального тока плавкой вставки проекту или проверочному расчету чувствительности. Разборные патроны необходимо разобрать, проверить исправность и номинальный ток плавкой вставки, соответствие ее типа или конструкции типу или конструкции патрона, качество крепления вставки в патроне. Чувствительность предохранителей должна проверяться проверочным расчетом тока КЗ и опытом КЗ при новом включении, как для автоматических выключателей. При контроле и восстановлении особое внимание должно обращаться на состояние контактных поверхностей и исправность вставок.

Для разборных патронов замена вставок, изменивших свой нормальный цвет из-за нагрева или окисления обязательна.

5.10.7. Проверка приборов контроля исправности цепей осуществляется следующим образом.

Контроль исправности цепей 3Uо рекомендуется производить низкоомным вольтметром или миллиамперметром, включаемыми оперативным персоналом вручную. Проверка при новом включении, контроле и восстановлении сводится к проверке исправности кнопки, добавочного сопротивления и деталей крепления проводов к ним и аппаратов.

Измерительный прибор и добавочное сопротивление должны проверяться в электроизмерительной лаборатории по соответствующим инструкциям.

5.10.8. Проверка пробивных предохранителей выполняется следующим образом.

Пробивные предохранители допускается устанавливать вместо заземления вторичных обмоток ТН только для ТН, являющихся источником оперативного тока. При новом включении и восстановлении пробивной предохранитель обязательно разбирается, заменяются пробитые или поврежденные слюдяные прокладки, и предохранитель собирается. Толщина прокладок и тип предохранителя должны подбираться так, чтобы предохранитель пробивался примерно при 300 - 350 В переменного тока (например, ПП-А/3). При испытании мегаомметром на номинальное напряжение 250 В предохранитель пробиваться не должен, при испытании мегаомметром на 500 В предохранитель должен четко пробиваться. Выводы от мегаомметра подключаются к выводам предохранителя, ручка мегаомметра должна вращаться с нормальным числом оборотов.

После сборки при новом включении пробивное напряжение должно определяться на переменном токе, на испытательной установке. При новом включении проверка мегаомметром является контрольной и основной при контроле. При восстановлении предохранитель должен проверяться в объеме нового включения.

5.10.9. Проверка правильности сборки схемы сигнализации об обрывах цепей напряжения должна выполняться по Общей инструкции, реле должны проверяться по соответствующим инструкциям.

5.10.10. У резисторов, включаемых в цепь 3Uо, для предотвращения смещения нейтрали и возникновения субгармонических колебаний при всех видах проверок должны проверяться исправность резистора и надежность конструкции и контактов. При новом включении следует дополнительно измерить с точностью до 5 % сопротивление резистора и сравнить с рекомендациями п. 1.7 приложения 2. Реле в схеме включения резистора должны проверяться по соответствующим инструкциям.

5.11. Восстановление цепей перед проверкой под напряжением производится следующим образом. После полной сборки всей схемы вторичных цепей должна быть проверена затяжка винтовых креплений, очищена вся аппаратура, должны быть удалены остатки материалов от ремонтных работ, установлены на свое место крышки корпусов, коробок выходных зажимов, проверены уплотнения кабелей, крышек, дверей, восстановлены заземления вторичных обмоток.

5.12. Проверка под напряжением.

5.12.1. Проверку совпадения маркировки вторичных цепей с обозначениями фаз первичной стороны рекомендуется производить пофазной подачей напряжения на каждую фазу. Если на первичной стороне имеются однополюсные разъединители или предохранители, например в КРУ и КРУН 6 - 10 кВ, то пофазная подача напряжения выполняется с их помощью. При трехполюсных разъединителях и отсутствии предохранителей (РУ напряжением 35 кВ и выше) пофазная подача напряжения может выполняться только расшиновкой с первичной стороны.

Если расшиновка невозможна, то пофазная подача напряжения заменяется отключением кабелей от выводов вторичных обмоток двух других фаз и подачей на первичные обмотки всех фаз трехфазного напряжения.

В ряде случаев вместо нормального рабочего напряжения эту проверку удобнее выполнить подачей на первичные обмотки напряжения от постороннего источника, например от сети 380 В.

Для ТН типа НДЕ это напряжение следует подавать на трансформаторное устройство. При такой подаче напряжения надо заранее подсчитать значение вторичного напряжения и подобрать вольтметр на малые пределы измерения.

Для ТН генераторов все проверки под рабочим напряжением должны производиться при подъеме их напряжения с нуля.

На вторичной стороне ТН для уменьшения возможности ошибок рекомендуется разбирать нулевую точку звезды и схемы разомкнутого треугольника. Измерения должны производиться на ближайшей к ТН сборке выводов, от которой отключаются все отходящие от нее цепи.

Вольтметром должны быть измерены напряжения на всех кабелях с приходящих от ТН на сборку выводов, по его показаниям определена фаза, находящаяся под напряжением, и сверены между собой ее обозначения на первичной и вторичной сторонах. При необходимости маркировка исправляется.

5.12.2. После проверки маркировки должна быть восстановлена схема соединений вторичных обмоток, нагрузка оставлена отключенной и на ТН подано трехфазное напряжение - нормальное рабочее или от постороннего источника.

Вольтметром должны быть измерены напряжения всех вторичных обмоток ТН, выведенных на сборку или в ящик. При правильном включении вторичных обмоток в звезду с нулем все линейные напряжения равны между собой, все фазные равны между собой и в  раз меньше линейных. При правильном включении в открытый треугольник равны между собой все линейные напряжения. При правильном включении вторичных обмоток в разомкнутый треугольник равны между собой все фазные (они же линейные) напряжения. Напряжение на выводах разомкнутого треугольника должно быть равно нулю, практически же оно обычно составляет несколько вольт.

Фазоуказателем, например ФУ-2, должно быть проверено чередование фаз. Заземленная фаза в подключается к выводу В или П фазоуказателей; к выводам А (I) и С (III) подключаются соответственно, фазы а и с; если диск фазоуказателя вращается правильно (по стрелке на диске), то чередование фаз - А, В, С в соответствии с обозначениями выводов фазоуказателя.

Наиболее часто встречающиеся ошибки в схемах соединений и способы определения их по показаниям вольтметра показаны на рис. 6 - 8. К классу точности вольтметра особые требования не предъявляются, удобнее пользоваться универсальными приборами, например серии Ц.

Следует учитывать, что при неправильной сборке схемы, например разомкнутого треугольника, вольтметр может оказаться под напряжением порядка 200 В. Поэтому все измерения надо начинать на пределе измерения 300 В и лишь при правильно собранной схеме переходить на меньшие пределы измерений.

Значительное напряжение на выводах разомкнутого треугольника при правильной сборке схемы может вызываться следующими причинами:

а) несимметрией первичных фазных напряжений. Определяется по вторичным фазным напряжениям обмоток, включенных по схеме звезды. Необходимо учитывать, что в сетях с изолированной нейтралью несимметрия первичных фазных напряжений за счет неодинаковой емкости относительно земли разных фаз и отсутствия транспозиции может быть очень велика;

б) насыщением стали сердечников ТН. Определяется осциллоскопом по форме кривой напряжения небаланса. Обычно проявляется при первичном напряжении, превышающем номинальное первичное напряжение ТH. При насыщении стали в напряжении небаланса преобладают третьи гармонические составляющие;

в) различными наводками от посторонних магнитных полей.

Наводки обычно появляются лишь при значительной нагрузке соседних присоединений. Определяются по осциллоскопу и измерением небаланса двумя вольтметрами: с большим сопротивлением (не менее 1000 Ом на 1 В шкалы) и малым. Из-за малой мощности наводок напряжение небаланса от них при измерении вольтметром с большим сопротивлением значительно выше, чем при измерении низкоомным вольтметром. Поэтому измерение напряжения небаланса рекомендуется производить низкоомным вольтметром.

Обычно при подключении нормальной нагрузки небаланс от наводок резко уменьшается. Устранение причин появления небаланса обычно невозможно; определение его производится для учета значения и причины его появления при настройке уставов релейной защиты, например защиты от замыканий на землю в сетях с изолированной централью.

Схема соединений

Результаты измерений

Векторная диаграмма напряжений

Заключение

Первичных

Вторичных

Uав = Uвс = Uса @ 100 В

Схема собрана правильно

Uав = Uвс @ 100 В

Uса =  Uав @ 173 В

Неправильно включена вторичная обмотка фазы ВС

Рис. 6. Пример проверки правильности сборки схемы вторичных обмоток ТН в открытый треугольник

Схема соединений

Результаты измерений

Векторная диаграмма напряжений

Заключение

Первичных

Вторичных

Uао = Uво = Uсо @ 58 В

Uав = Uвс = Uса @ 100 В

Схема собрана правильно

Uао = Uво = Uсо @ 58 В

Uав =  Uао @ 100 В

Uвс = Uса @ 58 В

Неправильно включена вторичная обмотка фазы С

Рис. 7. Пример проверки правильности сборки схемы вторичных обмоток ТН в звезду

Схема соединений

Результаты измерений

Векторная диаграмма напряжений

Заключение

Первичных

Вторичных

Нейтраль сети заземлена

UНИ = UНФ = UИФ = UИК = UФК @ 100 В

UНК = 0

Схема собрана правильно

Нейтраль сети изолирована

UНИ = UНФ = UИФ = UИК = UФК @ 33 В

UНК = 0

Нейтраль сети заземлена

UНИ = UИФ = UИК = UФИ @ 100 В

UНФ @ 173 В

UНК = 200 В

Неправильно включена вторичная обмотка фазы С

Нейтраль сети изолирована

UНИ = UИФ = UИК = UОИ @ 33 В

UНФ @ 58 В

UНК @ 66 В

Рис. 8. Пример проверки правильности сборки схемы вторичных обмоток ТН в разомкнутый треугольник

5.12.3. После проверки схемы соединения обмоток ТН необходимо построить потенциальную диаграмму схемы разомкнутого треугольника. Для этого у однофазных трехобмоточных ТН должны быть вольтметром измерены напряжения между всеми фазами и нулем обмотки, соединенной в звезду, и каждым выводом разомкнутого треугольника. Для этого необходимо объединить в одной точке обмотки, соединенные в звезду и разомкнутый треугольник. Обычно это обеспечивается заземлениями вторичных обмоток.

В произвольном масштабе (удобен масштаб 1 B = 1 мм) строится диаграмма напряжений обмоток, соединенных в звезду. На диаграмме совмещаются заземленные точки обеих обмоток.

Из концов векторов звезды радиусом в принятом масштабе, равным измеренному напряжению между этим выводом и выводами разомкнутого треугольника, проводятся дуги. Точка их пересечения дает начало векторов напряжений обмоток, соединенных в разомкнутый треугольник. Пример построения этой диаграммы дан на рис. 9. Для остальных выводов построение выполняется аналогично.

Для построения достаточно двух измерений; третье - контрольное. Возможны случаи, когда из-за ошибок в измерении, изменения первичного напряжения и прочих причин три дуги не пересекаются в одной точке, а образуют треугольник.

В этом случае за начало вектора принимается центр треугольника. По потенциальной диаграмме проверяется правильность сборки схемы разомкнутого треугольника.

Для трехфазных ТН построение такой диаграммы невозможно, положение вектора 3Uо для них определяется имитацией однофазного замыкания на землю.

5.12.4. После построения потенциальной диаграммы обязательно определяется действительное значение и положение вектора 3Uо имитацией однофазного замыкания на землю. Необходимо убедиться в том, что сумма векторов напряжения Uфк и Uиф у однофазных ТН (Uнк) в нормальном режиме совпадает с вектором 3Uо при замыкании на землю фазы А.

Рис. 9. Построение потенциальной диаграммы обмоток ТН, соединенных в разомкнутый треугольник

Это вызвано тем, что при проверке направленных защит от замыканий на землю невозможно создать действительное замыкание на землю; поэтому вместо действительного напряжения 3Uо к реле направления мощности, питающихся от однофазных ТН, временно подается напряжение Uнк. Для этого от реле отключается вывод Н, а вместо него подключается вывод И.

Для защит, питающихся от трехфазных ТН, такой способ проверки невозможен, для их проверки напряжение 3Uо создается имитацией однофазного замыкания на землю.

Имитация однофазного замыкания на землю обязательна для всех ТН, от которых питаются направленные защиты от замыканий на землю. Для трехфазных ТН это единственный способ проверки правильности сборки цепей 3Uо, а для однофазных ТH не все ошибки в сборке схемы разомкнутого треугольника обнаруживаются снятием и построением потенциальной диаграммы.

Для однофазных трехобмоточных ТН имитацию однофазного замыкания следует выполнять отключением от вывода хд и соединением с выводом ад конца кабеля от фазы А к сборке зажимов (рис. 10, а).

Рис. 10. Способы создания 3Uо в нормальном режиме:

а - для однофазных ТН; б - для трехфазных ТН с однофазными сердечниками;
в - для трехфазных ТН с пятистержневым сердечником

Затем на все фазы ТН подается нормальное напряжение, снимается и строится потенциальная диаграмма (рис. 11, а).

5.12.5. Для трехфазных ТH этот способ неприменим, поэтому для них имитацию однофазного замыкания следует выполнять отключением и замыканием на землю одной фазы с первичной стороны.

Для трехфазных ТН с однофазными сердечниками вывод А отключается от шин и замыкается на землю (см. рис. 10, б), после чего на ТН подается трехфазное напряжение, снимается и строится потенциальная диаграмма (см. рис. 11, б).

Для трехфазных ТН с пятистержневым сердечником отключается и замыкается на землю расположенная на среднем стержне фаза В (см. рис. 10, в). Это необходимо для симметричного распределения по стержням сердечника магнитных потоков оставшихся фаз. Затем подается трехфазное напряжение на ТН, снимается и строится диаграмма (см. рис. 11, в). Во всех случаях потенциальная диаграмма 3Uо снимается и строится относительно всех оставшихся под напряжением фаз и нуля обмоток, соединенных в звезду.

Рис. 11. Векторные диаграммы:

а - для однофазных ТН; б - для трехфазных ТН с однофазными сердечниками;
в - для трехфазных ТН с пятистержневым сердечником

Трехфазные ТН обычно применяются в сетях с изолированной нейтралью, поэтому при имитации замыкания на землю значение напряжения 3Uо будет значительно меньше 100 В, возникающих при действительном замыкании на землю.

Такое же значение 3Uо будет и у однофазных ТН для сети с изолированной нейтралью при имитации однофазного замыкания на землю.

Встречаются случаи, когда для питания направленных защит применяются однофазные двухобмоточные ТH, например НОМ-6, вторичные обмотки которых соединены в разомкнутый треугольник. В этом случае при имитации замыкания на землю векторная диаграмма снимается и строится относительно напряжений другого ТН любого типа с соединением обмоток в звезду и питанием от тех же шин.

5.12.6. При последующих профилактических контролях и восстановлении под рабочим напряжением должны измеряться все фазные и линейные напряжения и напряжение 3Uо (напряжение небаланса) и проверяться чередование фаз.

Если заменялись кабели или переразделывались кабельные воронки и концевые разделки, то проверка должна производиться в объеме нового включения.

5.13. Фазировка ТН.

Цель фазировки - убедиться, что при всех положениях устройств, переключающих цепи напряжения, на реле подаются одноименные фазы от разных ТН. Фазировка должна производиться для всех ТН, заменяющих один другого при всех положениях переключающих устройств.

Для фазировки оба ТН должны быть включены на одно напряжение с первичной стороны, фазируемые вторичные обмотки должны быть объединены в одной точке схемы, одинаковой для обоих ТН. Как правило, это обеспечивается заземлением вторичных обмоток. Вольтметром должны быть измерены напряжения между каждым выводом вторичных обмоток одного ТН и каждым выводом другого ТН. При одинаковых ТН показания вольтметра при включении между одноименными фазами (в пределах точности ТН и измерений) должно быть равно нулю, при включении на разноименные выводы - равно линейному или фазному напряжению. Следует учитывать, что при возможных ошибках в схемах напряжение между разноименными фазами может доходить до двойного линейного, поэтому вольтметр должен иметь верхний предел измерения не менее 200 В, и, лишь убедившись в правильности сборки схемы, можно переходить на меньшие пределы измерений.

5.14. Проверка правильности схемы переключения цепей с одного ТН на другой и правильности маркировки на входных выводах панелей.

5.14.1. Проверку правильности маркировки на входных выводах панелей рекомендуется производить вольтметром и фазоуказателем. Для этого измерением напряжений относительно земли следует определить заземленные выводы: фазу в в схеме звезды и открытого треугольника, вывод К в схеме разомкнутого треугольника. Эти напряжения должны быть равны нулю. Напряжение относительно земли нуля звезды должно быть равно фазному, напряжения относительно земли остальных фаз звезды и открытого треугольника равны линейному.

Напряжение между выводами И и Ф разомкнутого треугольника и землей равно фазному, напряжение между выводом Н и землей - напряжению небаланса. Напряжение на выводах Н и К следует измерять низкоомным вольтметром с полным сопротивлением в пределах 150 - 200 Ом, чтобы уменьшить влияние возможных наводок, или осциллоскопом по составляющей основной частоты.

Определение маркировки незаземленных фаз производится фазоуказателем. К выводу В (II) фазоуказателя подключается заземленный вывод - фаза в в схемах звезды и открытого треугольника и вывод К разомкнутого треугольника. К выводам А (I) и С (III) подключаются произвольно фазы А и С звезды и открытого треугольника и выводы И и Ф разомкнутого треугольника.

Подбирается такая схема, чтобы фазоуказатель показал правильное чередование фаз А, В, С (пo стрелке на диске). Фазы а и с звезды и открытого треугольника маркируются по обозначениям выводов фазоуказателя. В схеме разомкнутого треугольника вывод Ф соответствует обозначению С (III) фазоуказателя, вывод И - обозначению А (I).

Такая проверка производится на входных выводах всех панелей, куда подается напряжение. Если цепи напряжения переключаются с одного ТН на другой, то проверка производится при обоих положениях переключающего аппарата - переключателя с ручным управлением, блок-контактов разъединителей и реле-повторителей. В зависимости от местных условий проверка маркировки после переключающего аппарата производится одновременно с проверкой ТH или одновременно с проверкой питающихся по этим цепям устройств защиты и автоматики.

5.14.2. Определить наименование фаз (маркировку) на входных выводах панелей возможно и пофазной подачей напряжения. В шкафу ТН отключаются две фазы звезды и нуль, остается подключенной заземленная фаза в.

На всех панелях опускаются мостики всех входных выводов в цепях напряжения, чем отключается вторичная нагрузка ТН. Измерением напряжения относительно земли проверяют подключение только заземленной фазы в. Затем подключается фаза а и измерением напряжения определяются выводы, к которым она подключена. Отключается фаза а, поочередно подключаются и определяются фазы с, о и выводы разомкнутого треугольника. Отключать всю нагрузку ТН необходимо для того, чтобы через обмотки реле и приборов не было подано напряжение включенной фазы на выводы других фаз.

5.15. Измерение нагрузки и потерь напряжения во вторичных цепях.

5.15.1. Измерение потерь напряжения во вторичных цепях затруднено по следующим причинам:

а) малое абсолютное значение потерь - от 0,2 до 3 В (0,2 ¸ 3 %), что требует измерительных приборов на малые пределы измерения и высокого класса точности - не ниже 0,2 для цепей счетчиков и не ниже 0,5 для цепей защиты.

Для измерения могут быть использованы вольтметр Д574/4 на 7,5 В класса точности 0,2; вольтметр Э515/1 на 1,5 - 15 В класса точности 0,5;

б) большое (несколько сот метров) расстояние между ТН и местом установки измерительных приборов и реле;

в) возможность резкого изменения нагрузки на ТН при срабатывании различных устройств релейной защиты и автоматики и трудность создания режима максимальной нагрузки на ТН.

5.15.2. Если расстояние от ТН до реле или измерительных приборов невелико, то потери напряжения рекомендуется измерять по схеме рис. 12, где вольтметр показывает непосредственно значение потерь напряжения. Обычно длина кабелей от ТН по первой сборки выводов (СВ) в таких РУ невелика и потерями напряжения в них можно пренебречь.

Второй вывод вольтметра подключается к сборке измерительных выводов на входе панели или непосредственно к выводам реле или приборов (П, Р) в зависимости от значения сопротивления проводов между реле и зажимами.

5.15.3. При больших расстояниях от ТН до панелей защиты и измерительных приборов, например в РУ 110 - 500 кВ, непосредственное измерение потерь напряжения выполнить трудно. Требуется прокладка проводов для вольтметра, кроме того, нельзя пренебрегать потерями напряжения в кабелях между ТН и его шкафом; вольтметр приходится включать на выводы ТН. Поэтому в таких случаях непосредственное измерение потерь напряжения рекомендуется заменять ее расчетом по результатам измерения нагрузки и определенного ранее сопротивления цепей. Измерение нагрузки производится для каждого участка цепи, сопротивление которого измерялось ранее. Измерением тока во всех фазах определяется наиболее нагруженная из них. Любым способом, приведенным в Общей инструкции, измеряется угол между вектором тока наиболее нагруженной фазы и ее фазным напряжением или его cosj. Так как абсолютное значение потерь напряжения мало по сравнению со значением номинального напряжения, то угол между векторами напряжения на выводах ТН UTH и напряжения в конце участка сети Uс (рис. 13) очень мал (около 2 - 3°). Поэтому с достаточной для практических целей точностью можно принять потери напряжения ΔU = |UТН| - |Uс| равными Ircosφ и вычислить их по результатам измерения I, r, cosj. При отсутствии нулевого провода измеряется угол между векторами тока и опережающим его линейным напряжением - например, угол между векторами тока Iа и напряжения Uав. В этом случае потери напряжения будут равны Ircos(φ + 30º).

Если нагрузка питается только по двум фазам без нулевого провода, то измеряется угол между вектором тока и линейного напряжения. Потери напряжения в этом случае равны 2Ircosj. Полные потери напряжения от ТН до наиболее удаленной панели можно считать равными сумме потерь напряжений на отдельных участках.

При двойной системе шин для случая перевода всей нагрузки на один ТН потери напряжения в основном кабеле (от ТН до щита) могут быть вычислены по результатам измерений для ТН каждой системы шин путем геометрического суммирования векторов тока и определения нового угла j для суммарного тока.

Рис. 12. Схема измерения потерь напряжения

Рис. 13. Векторная диаграмма для расчета потерь напряжения

Для схемы разомкнутого треугольника при новом включении РУ искусственно создаются напряжение 3Uо и полная нагрузка этой цепи и измеряется угол между векторами напряжения 3Uо и тока в цепи 3Uо ТН. Необходимо при этом учитывать разные значения напряжения 3Uо при действительном замыкании на землю и его имитации и соответственно увеличивать при расчетах ток. Потери напряжения равны 2Ircosj. Если это выполнить невозможно, то потери напряжения определяются расчетным путем. Для этого следует измерить ток и угол между векторами тока и напряжения наиболее характерных нагрузок (обычно реле направления мощности разных типов) и по этим данным вычислить потери напряжения для суммарного тока и общего угла.

5.15.4. Одновременно с измерением потерь напряжения измеряется и нагрузка на ТН во всех фазах и на выводах ТН. Включение амперметра на рис. 12 показано условно. Его следует включать в каждый кабель, подключенный к релейному щиту, или в первом от ТН шкафу так, чтобы он учитывал всю нагрузку ТН. Если от шкафа отходит не один кабель, а два или три, например отдельные кабели релейной защиты и счетчиков или измерительных приборов, то потери напряжения и нагрузка в каждом кабеле измеряются поочередно. Желательно иметь несколько одинаковых амперметров и включать их сразу во все фазы или выводы. Предел измерения подбирается по проектной нагрузке ТН или по его номинальному току, класс точности достаточен 0,5. Нагрузка ТН обычно неравномерна и может изменяться в разных фазах по-разному при срабатывании различных устройств защиты и автоматики. В цепях измерительных приборов нагрузка обычно постоянная и измерение ее нетрудно. Для цепей релейной защиты и автоматики необходимо измерять потери напряжения при максимальной нагрузке. Для этого тщательно анализируется поведение релейной защиты и автоматики при различных режимах работы сети, при КЗ и определяется режим, создающий максимальную нагрузку на ТН. Необходимо учитывать и нагрузку других ТН, для которых проверяемый является резервным, и перевести эту нагрузку на проверяемый ТН.

Затем отключаются выключатели или рубильника в шкафу ТН, устройства защиты и автоматики, создающие максимальную нагрузку, от руки устанавливаются в сработавшее положение и закрепляются временными прокладками или креплениями. Затем включаются выключатели или рубильники и производятся измерения нагрузки.

При измерениях необходимо учитывать термическую стойкость кратковременно включаемых обмоток реле и производить измерения быстро.

После окончания измерений вычисляются потери напряжения в процентах (см. п. 3.3), по значению нагрузки проверяется класс точности ТH полностью восстанавливается вся схема, возвращаются в исходное положение реле.

5.15.5. Для схемы разомкнутого треугольника необходимо создать напряжение 3Uо. Проще всего это достигается исключением из схемы вторичной обмотки фазы А, как указано на рис. 10, а. Для трехфазных ТН напряжения 3Uо создается отключением и заземлением с первичной стороны одной фазы по рис. 10, б и в.

Следует учитывать, что напряжение 3Uо в этом режиме для трехфазных ТН составляет 33 В вместо 100 В.

5.16. Опыт КЗ.

Проведение опыта КЗ во вторичных цепях ТН обязательно для всех ТН, особенно типа НДЕ.

Рекомендуется проводить эти испытания с осциллографированием тока КЗ для всех ТН крупных электростанций и подстанций 110 - 330 кВ, где защита вторичных цепей от КЗ часто работает на пределе чувствительности.

Проверка работы автоматических выключателей и предохранителей опытом КЗ без осциллографирования, но с измерением тока КЗ обязательна для всех ТН всех напряжений.

Опыт КЗ должен производиться по специальной программе, составляемой для каждого случая с учетом конкретной схемы каждого ТН и местных условий.

Схема включения осциллографа, согласование схемы пуска осциллографа с моментом КЗ, подбор резисторов и шунтов должны производиться по заводской документации на осциллографы и местным условиям и указываться в программе.

Место КЗ должно выбираться в конце участка сети, защищаемого данным выключателем или предохранителем. Вид КЗ должен выбираться таким, при котором ток наименьший.

Включение на КЗ должно производиться дополнительным автоматическим выключателем, желательно с дистанционным управлением; должно быть обеспечено отключение КЗ на случай отказа проверяемого выключателя или предохранителя.

Для проведения опыта КЗ в цепях 3Uо должна быть подготовлена схема для создания напряжения 3Uо с учетом его действительного значения.

5.17. Проверка отстройки автоматических выключателей от зарядного тока линии и пусковых токов нагрузки.

5.17.1. Для ТН, подключенных к линиям электропередачи, кроме проверки чувствительности автоматических выключателей обязательна проверка их отстройки от зарядного тока линии. Для этой проверки требуется несколько раз включать и отключать линию, поэтому она должна производиться по специальной программе, составляемой и утверждаемой в установленном порядке. При этих опытах обязательно осциллографирование емкостного тока линии. По осциллограмме оценивается запас в отстройке расцепителей выключателя от емкостного тока. Способы осциллографирования, согласование пуска и остановки осциллографа с включением и отключением линии определяются местными условиями и указываются в программе.

5.17.2. У всех автоматических выключателей должна проверяться отстройка от пусковых токов максимальной нагрузки ТН. Для этого после подачи напряжения на ТН переводится вся возможная нагрузка, в том числе и та, для которой данный ТН является резервным. Несколько раз рубильником или проверяемым выключателем включается полная нагрузка ТН. Выключатель не должен отключаться. Для ответственных объектов желательно осциллографировать пусковые токи нагрузки, для остальных обязательно хотя бы приблизительное измерение пускового тока амперметром, например с помощью измерительных клещей во всех фазах. Это вызвано тем, что многие приборы и реле, питающиеся от ТН, имеют малое сопротивление при отпущенном якоре (сердечнике), что создает значительный пусковой ток. После установки якоря (сердечника) в рабочее положение сопротивление значительно увеличивается, а ток уменьшается. Рекомендуемое испытание имитирует близкое КЗ в первичной сети и перевод нагрузки с одного ТН на другой в аварийных условиях.

5.18. Оформление результатов проверки.

По результатам проверки должен оформляться паспорт-протокол на каждый трехфазный ТН или группу однофазных ТН (см. приложение 2),

Должны быть выверены монтажные и принципиальные схемы и укомплектован альбом схем в соответствии с требованием ПТЭ.

Должен быть тщательно выверен текст инструкции по обслуживанию ТН их вторичных цепей для оперативного персонала, при необходимости внесены местные дополнения с учетом местных условий.

Оперативный персонал должен быть обучен всем операциям с ТН и аппаратурой его вторичных цепей непосредственно на месте установки аппаратов, пользованию инструкцией.

Должна быть сделана запись в журнале релейной защиты о готовности ввода ТН в нормальную эксплуатацию.

Приложение 1

ОСНОВНЫЕ СВЕДЕНИЯ О ТН

1. Точность работы ТН

1.1. Точность работы ТН оценивается по их погрешностям.

1.2. Погрешности по напряжению и по углу характеризуются отличием вектора вторичного напряжения от вектора первичного, возникающим из-за падений напряжения в активном и индуктивном сопротивлениях обмоток трансформатора напряжения и несовпадения этих падений напряжения по фазе с напряжениями обмоток.

Погрешность по напряжению, согласно ГОСТ на трансформаторы напряжения, выражается в процентах и определяется по формуле

(П.1)

где nном - номинальный коэффициент трансформации (равен отношению номинального первичного напряжения к номинальному вторичному напряжению);

U1 - напряжение, приложенное к зажимам первичной обмотки;

U2 - напряжение на зажимах вторичной обмотки.

Угловая погрешность d представляет собой угол между векторами вторичного и первичного напряжения, выраженный в минутах. Если вектор вторичного напряжения опережает вектор первичного, угловая погрешность считается положительной, а если вектор вторичного напряжения отстает от вектора первичного, то - отрицательной.

Погрешности ТН повышаются при увеличении его нагрузки, так как при этом возрастает падение напряжения на сопротивлении первичной и вторичной обмоток. Чем больше нагрузка и сопротивление обмоток, тем больше погрешности.

Отсюда следует, что ограничение мощности нагрузки, подключаемой к ТН, ограничивает и его погрешности.

Для снижения погрешности на многих типах трансформаторов напряжения применяется коррекция напряжения (отмотка нескольких витков первичной обмотки), чем компенсируется уменьшение напряжения при работе ТН на вторичную нагрузку.

Кроме коррекции напряжения применяется и угловая коррекция, возможная только на трехфазных ТН. Она осуществляется смещением на фазе напряжений первичных обмоток, для чего используются компенсационные обмотки, расположенные на стержнях других фаз магнитопровода.

1.3. Для трансформаторов напряжения в соответствии с ГОСТ устанавливаются классы точности, определяющие предельно допустимые погрешности, приведенные в табл. П.1.

Таблица П.1

Предельно допустимые погрешности трансформаторов напряжения

Класс точности

Погрешность

по напряжению, ± %

угловая, ± мин

0,2

0,2

10

0,5

0,5

20

1

1

40

3

3

Не нормируется

Значение погрешностей трансформаторов напряжения не должны превышать указанных в табл. П.1 при:

- частоте 50 Гц;

- значениях первичного напряжении U1 от 0,8 до 1,2 Uном;

- отдаваемой вторичной обмоткой мощности (при коэффициенте мощности, равном 0,8)

где Uном - номинальное первичное напряжение трансформатора;

Sном - номинальная мощность трансформатора.

Номинальная мощность трансформатора напряжения согласно ГОСТ устанавливается для каждого класса точности.

Кроме номинальной мощности для каждого ТН устанавливается максимальная мощность, при которой он может длительно работать без перегрева, но вне классов точности.

2. Потери напряжения во вторичных цепях ТН

2.1. Потери напряжения (в процентах) определяются по формуле

(П.2)

где U2 - напряжение на выводах вторичной обмотки ТН;

U - напряжение на реле или на измерительных приборах.

Потери напряжения возникают вследствие падения напряжения в сопротивлении проводов. На рис. П.1 падение напряжения I2r - во вторичной цепи показано совпадающим по фазе с током нагрузки I2, так как значение индуктивного сопротивления этой цепи обычно незначительно и может не приниматься во внимание.

2.2. Падение напряжения в сопротивлении вторичных цепей создает дополнительные погрешности, понижающие точность работы измерительных приборов и реле. При этом дополнительная погрешность по напряжению всегда отрицательна и равна потерям напряжения, а дополнительная угловая погрешность равна углу dдоп между векторами Uн и U2 (см. рис. П.1).

Рис. П.1. Векторная диаграмма тока и напряжения во вторичных цепях ТН

2.3. Значение потерь напряжения во вторичных цепях ТН зависит от cosj его нагрузки.

При cosj = 1 потери напряжения равны падению напряжения и дополнительная угловая погрешность отсутствует. При меньших значениях cosj и неизменном падении напряжения потери напряжения уменьшаются и появляется угловая погрешность.

Поскольку в реальных условиях cosj может быть близок к 1, при определении сечения проводов по допустимым потерям напряжения последние принимаются равными падению напряжения.

Наименьшее значение потерь напряжения и наибольшая угловая погрешность будут при cosj = 0. При этом, если падение напряжения равно 3 %, потери напряжения составят лишь 0,5 %, а дополнительная угловая погрешность - 1° 45'.

3. Особенности конструктивного выполнения ТН

Трансформаторы с номинальным первичным напряжением до 18 кВ изготовляются как однофазными, так и трехфазными, на более высокие номинальные напряжения - только однофазными.

Трехфазные ТН выпускаются в двух исполнениях: двухобмоточные трехстержневые и трехобмоточные пятистержневые (рис. П.2).

Рис. П.2. Трехфазные ТН:

а - магнитопровод трехфазного трехстержневого трансформатора;
б - схема трехфазного двухобмоточного трансформатора типа НТС;
в - схема и векторная диаграмма напряжений первичной обмотки трансформатора НТМК;
г - пятистержневой магнитопровод и схема трансформатора типа НТМИ

Трехфазные трехстержневые ТН предназначены для питания электроизмерительных приборов и релейной защиты и имеют группу соединения У/Ун - 0.

Изоляция их первичных обмоток рассчитана на междуфазное напряжение, которое может быть к ней длительно приложено в условиях однофазного замыкания на землю в прилежащей сети.

Трехстержневые ТН не могут использоваться для устройств контроля изоляции, поскольку необходимое в этом случае заземление нулевой точки их первичной обмотки недопустимо из-за большого магнитного сопротивления для магнитных потоков нулевой последовательности, возникающих в режиме однофазного замыкания на землю. В трехстержневом сердечнике отсутствует замкнутый контур для указанных магнитных потоков и они могут замыкаться только через стенки бака. Возникающие при этом большие намагничивающие токи создают недопустимый перегрев обмоток трансформатора. Поэтому нулевая точка первичной обмотки у трехстержневых трансформаторов не выводятся и первичные и вторичные обмотки выполняются на фазное напряжение.

Трехфазные трехстержневые ТН типа НТС выпускаются без компенсации угловой погрешности, а типа НТМК имеют компенсационные обмотки для коррекции отрицательной угловой погрешности. Эти компенсационные обмотки с небольшим числом витков (примерно в 250 раз меньшем, чем у основных первичных обмоток) включены последовательно в каждую фазу первичной обмотки со стороны нуля (см. рис. П.2, в). При этом компенсационные обмотки расположены на стержнях других фаз. Таким образом, первичная обмотка имеет схему зигзага с неравными плечами, за счет чего вектор напряжения первичной обмотки смещается относительно вектора напряжения сети на угол коррекции (порядка 10 - 15'). Это показано на рис. П.2, в где векторы напряжения сети UА, UВ, UС, являющиеся суммой напряжений основных и компенсационных обмоток, опережают векторы напряжений первичных обмоток на угол компенсации dк. Так как векторы напряжений вторичных обмоток при положительной угловой погрешности тоже опережают векторы напряжений первичных обмоток, они приближаются к векторам напряжений сети и угловая погрешность уменьшается.

При необходимости осуществления отрицательной компенсации (например, при емкостном характере вторичной нагрузки) достаточно изменить чередование фаз, подведенных к первичной обмотке этого трансформатора (например, поменять местами фазы В и С).

При неправильном чередовании фаз компенсационные обмотки будут увеличивать, а не уменьшать угловую погрешность.

У пятистержневых трансформаторов типа НТМИ обмотки расположены на трех стержнях сердечника (см. рис. П.2, г). Свободные от обмоток крайние стержни предназначены для замыкания магнитных потоков нулевой последовательности.

Эти трансформаторы напряжения имеют группу соединения Унн - 0. Нулевые точки первичной и вторичной обмоток, соединенных в звезду, выведены. Обмотки и их изоляция рассчитаны на междуфазное напряжение. Третья обмотка, соединенная в разомкнутый треугольник, является фильтром напряжения нулевой последовательности и предназначена для питания защиты и сигнализации от замыканий на землю. Схема соединений трансформатора типа НТМИ показана на рис. П.2, г.

Для получения напряжения нулевой последовательности необходимо заземлять нулевую точку первичной обмотки. При этом допустима работа ТН не менее 8 ч в условиях замыкания на землю при первичном междуфазном напряжении до 1,1Uном.

Однофазные ТН выполняются как двухобмоточными, так и трехобмоточными. Двухобмоточные трансформаторы типов НОС, НОМ и НОЛ предназначены для включения на междуфазное напряжение в сети с изолированной нейтралью, изоляция обмотки ВН по отношению к корпусу рассчитана на междуфазное напряжение. Дополнительную третью обмотку, предназначенную для соединения по схеме разомкнутого треугольника, имеют трансформаторы типов ЗНОЛ, ЗНОМ, НКФ и НДЕ-500, НДЕ-750.

Дополнительная обмотка однофазного трансформатора при нагрузке на основной вторичной обмотке, соответствующей классу 1, должна удовлетворять требованиям класса точности 3.

Трансформаторы напряжения типов ЗНОЛ и ЗНОМ для сети с изолированной нейтралью так же, как трехфазные типа НТМИ, могут находиться под междуфазным напряжением до 1,1Uном не менее 8 ч, несмотря на то, что их высоковольтные обмотки имеют фазное номинальное напряжение.

У ТН, предназначенных для сетей с большим током замыкания на землю, работающих с глухозаземленными нейтралями (например, сети напряжением 110 кВ и выше), дополнительные вторичные обмотки, соединяемые в разомкнутый треугольник, выполняются на номинальное напряжение 100 В (с коэффициентом трансформации nном = Uном.фаз/100), а у трансформаторов, выпускаемых для сетей с малым током замыкания на землю, имеющих изолированную нейтраль (например, сети 35 кВ и ниже), - на Uном = 100 / 3 В (с nном = Uном.фаз/33).

При металлическом однофазном замыкании на землю, когда напряжение поврежденной фазы равно нулю, напряжение 3Uо на разомкнутом треугольнике у тех и других трансформаторов будет равно 100 В, если в сети с заземленной нейтралью напряжения двух неповрежденных фаз равны номинальному напряжению трансформатора и их векторы сдвинуты один по отношению к другому на угол 120°, а в сети с изолированной нейтралью линейные напряжения симметричны и равны Uном трансформатора.

В указанных условиях отклонение напряжения 3Uо от 100 В не должно превышать ±10 %, если основная вторичная обмотка включена на номинальную нагрузку, соответствующую классу точности 1, а дополнительные вторичные обмотки - на номинальную вторичную нагрузку, соответствующую классу точности 3.

Трансформаторы типов ЗНОЛ и ЗНОМ на 6 - 24 кВ предназначены для генераторов, причем масляные трансформаторы ЗНОМ приспособлены для встраивания в комплектные пофазные токопроводы. При встраивании в токопроводы высоковольтный ввод соединяется с шиной ножевым контактом, а корпус с размещенными на нем выводами вторичных обмоток остается снаружи. Бак трансформатора ЗНОМ, встраиваемого в токопровод, изготовляется из немагнитной стали во избежание нагрева вихревыми токами.

Трансформаторы напряжения на 110 кВ и выше имеют специальное исполнение.

Каскадные ТН типа НКФ выполняются в виде маслонаполненных блоков (колонок), содержащих по два каскада, выполненных на одном двухстержневом сердечнике.

Трансформатор на 110 кВ представляет собой один такой блок. Трансформаторы напряжения на 220, 330 и 500 кВ состоят соответственно из двух, трех и четырех соединенных последовательно двухкаскадных блоков. Ранее выпускавшийся ТН типа НКФ-400 состоит из трех блоков с двумя магнитопроводами в каждом, т.е. имеет шестиступенчатую схему. Блоки НКФ-400 использовались также для получения ТН на 500 кВ, для чего к трем блокам добавлялся четвертый. При этом составлялась восьмикаскадная схема.

Сущность каскадной схемы заключается в распределении первичной обмотки на равномерные участки (каскады), обеспечивающем снижение напряжения на ее изоляции относительно сердечника трансформатора в каждом каскаде.

На рис. П.3 приведена схема четырехступенчатого каскадного трансформатора напряжения НКФ на 220 кВ. Обмотка А-Х высшего напряжения (ВН) разбита на четыре части. Обмотки ВН двух каскадов каждого блока размещены на разных стержнях сердечника. Так как обмотка каждого каскада соединена с сердечником, к ее изоляции приложена 1/4 рабочего напряжения.

Рис. П.3. Схема ТН НКФ-220-58

Вторичные обмотки (НН) - основная (с выводами а-х) и дополнительная (с выводами ад и хд) - наложены поверх первичной обмотки нижнего блока на участке, ближнем к ее заземленное концу Х. Для распределения нагрузки ТН, подсоединенной к обмоткам НН, между трансформаторами нижнего и верхнего блоков на каждом из них имеются связующие обмотки Р, соединенные между собой. Для трансформатора верхнего блока обмотка Р является вторичной, а для трансформатора нижнего - дополнительной первичной.

Обмотки П на трансформаторах верхнего и нижнего блоков предназначены для уменьшения ЭДС рассеяния этих трансформаторов, требующегося в связи с тем, что вторичные обмотки помещены на одном стержне магнитопровода, а первичные - на обоих. Они создают дополнительную связь между каскадами одного блока и называются выравнивающими.

Схемы трансформаторов напряжения НКФ на 330 и 500 кВ аналогичны и отличаются от приведенной на рис. П.3 лишь наличием дополнительных верхних блоков. Трансформатор напряжения НКФ-110 представляет собой один блок, имеющий схему нижнего блока, показанного на рис. П.3, но без связующей обмотки P.

Трансформаторы напряжения НДЕ-500 и НДЕ-750 выполняются с емкостным делителем. Первичная обмотка ТН за счет включения через емкостный делитель находится под рабочим напряжением около 12 кВ. В качестве емкостного делители используются конденсаторы связи CMP-166/-0,014 и конденсатор отбора мощности OMP-15-0,107. Конденсаторы связи могут одновременно использоваться для ВЧ связи.

Схема ТН типа НДЕ-500 приведена на рис. П.4. Емкостный делитель подключается непосредственно к линии. Он состоит из конденсатора связи C1 и конденсатора отбора мощности C2. В цепи емкостного делителя показана аппаратура ВЧ связи.

Рис. П.4. Схема ТН НДЕ-500

Трансформатор напряжения Т, имеющий две вторичные обмотки (основную с выводами а-х и дополнительную с выводами ад и хд присоединен к делителю через ВЧ заградитель З и реактор P. Трансформатор Т и реактор Р представляют собой трансформаторное устройство, размещенное в общем кожухе. Реактор предназначен для компенсации емкостного сопротивления делителя, необходимой для исключения влияния тока нагрузки ТН на значение напряжения на выводах вторичной обмотки из-за падения напряжения в значительной реактивности первичной цепи.

В первичной обмотке трансформатора Т и в обмотке реактора Р предусмотрена ступенчатая подрегулировка числа витков для подгонки значения напряжения на вторичной обмотке соответственно классу точности и для подбора индуктивности реактора, необходимой для достижения эффективной компенсации емкостного сопротивления первичной цепи. Необходимость такой подгонки обусловлена относительно большим разбросом значений емкостей конденсаторов. Указанная подгонка должна производиться как при изготовлении ТН, так и в случае замены какого-либо конденсатора.

К основной вторичной обмотке ТН подключен противорезонансный балластный фильтр Фб, необходимый для гашения феррорезонансных колебаний с частотой третьей субгармонической составляющей (I/3fраб) во вторичной цепи.

Кроме трансформаторов напряжения для питания цепей автоматики широко применяются (главным образом, на электростанциях) вспомогательные однофазные трансформаторы с двумя вторичными обмотками типа ЗОМ.

Трансформаторы ЗОМ по конструкции аналогичны ТН типа ЗНОМ, но отличаются от них тем, что не имеют класса точности. Их погрешности не нормируются, и обычно они несколько выше предусмотренных ГОСТ для класса точности 3.

4. Технические данные ТН

4.1. Номинальные напряжения и мощности, а также значения Uк %, отнесенные к максимальной мощности, приведены в табл. П.2.

4.2. Номинальные напряжения. Согласно ГОСТ 1983-77, номинальными напряжениями обмоток называются напряжения, указанные на щитке трансформатора соответственно для каждой из обмоток. Номинальным напряжением трансформатора называется номинальное напряжение его первичной обмотки.

В обозначении типа трансформатора указывается напряжение, соответствующее классу изоляции его первичной обмотки.

Дополнительная обмотка ТН типов ЗНОЛ.09 и ЗНОЛ.06 по требованию заказчика может быть выполнена на номинальное напряжение 100 В (например, для использования ЗНОЛ.09 или ЗНОЛ.06 вместо трансформатора 30М).

4.3. Номинальная мощность. Согласно ГОСТ, для каждого ТН устанавливается номинальная мощность для соответствующих классов точности и максимальная мощность.

Для трехфазных ТН устанавливается номинальная трехфазная мощность.

Для однофазных трансформаторов с двумя вторичными обмотками (основной и дополнительной) устанавливается суммарная мощность для обеих обмоток, для дополнительной обмотки всегда устанавливается класс точности 3.

4.4. Напряжение КЗ. Значения Uк % в табл. П.2 приведены по данным, полученным от заводов-изготовителей. У ТН типов НДЕ-500 и НДЕ-750 Uк % соответствует активному сопротивлению.

Таблица П2.

Основные технические данные ТВ

Тип

Номинальное напряжение обмоток, В

Номинальная мощность в классе точности, В·А

Максимальная мощность, В·А

Схема соединения, обмоток

Uк %

ВН

ННосн

ННдоп

0,2

0,5

1

3

НОС-0,5

380

100

-

-

25

50

100

200

I/I-0

4,4

НОС-0,5

500

100

-

-

25

50

100

200

I/I-0

4,2

НОЛ.08-6

6000

100

-

30

50

75

200

400

I/I-0

3,47

НОЛ.08-10

10000

100

-

50

75

150

300

640

I/I-0

4,95

НОМ-6

3000

100

-

-

30

50

150

240

I/I-0

3,58

НОМ-6

6000

100

-

-

50

75

200

400

I/I-0

6,15

НОМ-10

10000

100

-

-

75

150

300

640

I/I-0

6,4

НОМ-15

13800

100

-

-

75

150

300

640

I/I-0

3,6

НОM-15

15750

100

-

-

75

150

300

640

I/I-0

4,63

НОМ-15

18000

100

-

-

75

150

300

640

I/I-0

4,5

НОМ-35

35000

100

-

-

150

250

600

1200

I/I-0

3,87

НТС-0,5

380

100

-

-

50

75

200

400

У/Ун-0

3,76

НТС-0,5

500

100

-

-

50

75

200

400

У/Ун-0

3,76

НТМК-6-48

3000

100

-

-

50

75

200

400

У/Ун-0

2,98

НТМК-6-48

6000

100

-

-

75

150

300

640

У/Ун-0

3,92

HTМК-10

10000

100

-

-

120

200

500

960

У/Ун-0

3,07

НТМИ-6

3000

100

100/3

-

50

75

200

400

Унн-0

3,01

НТМИ-6

6000

100

100/3

-

75

150

300

640

Унн-0

5,23

НТМИ-10

10000

100

100/3

-

120

200

500

960

Унн-0

5,00

НТМИ-18

13800

100

100/3

-

120

200

500

960

Унн-0

4,08

НТМИ-18

15750

100

100/3

-

120

200

500

960

Унн-0

4,32

НТМИ-18

18000

100

100/3

-

120

200

500

960

Унн-0

4,32

ЗНОМ-15-72

6000/

100/

100/3

-

50

75

200

400

I/I/I-0-0

3,42

ЗНОМ-15-72

10000/

100/

100/3

-

75

150

300

640

I/I/I-0-0

4,63

ЗНОМ-15-72

13800/

100/

100/3

60

90

150

300

640

I/I/I-0-0

4,57

ЗНОМ-15-72

15750/

100/

100/3

60

90

150

300

640

I/l/I-0-0

5,1

ЗНОМ-20

18000/

100/

100/3

60

90

150

300

640

I/I/I-0-0

5,6

ЗНОМ-20

20000/

100/

100/3

-

75

150

300

640

I/I/I-0-0

5,25

ЗНОМ-24

24000/

100/

100/3

-

150

250

600

980

I/I/I-0-0

4,4

ЗНОМ-35-65

35000/

100/

100/3

-

150

250

600

1200

I/I/I-0-0

6,00

ЗНОЛ.09-6

6000/

100/

100/3

30

50

75

200

400

I/I/I-0-0

3,55

ЗНОЛ.09-10

10000/

100/

100/3

50

75

150

300

640

I/I/I-0-0

4,8

ЗНОЛ.06-6

6000/

100/

100/3

30

50

75

200

400

I/I/I-0-0

3,55

ЗНОЛ.06-10

10000/

100/

100/3

50

75

150

300

640

I/I/I-0-0

4,8

ЗНОЛ.06-15

13800/

100/

100/3

50

75

150

300

640

I/I/I-0-0

5,12

ЗНОЛ.06-15

15750/

100/

100/3

50

75

150

300

640

I/I/I-0-0

5,12

ЗНОЛ.06-20

18000/

100/

100/3

50

75

150

300

640

I/I/I-0-0

5,02

3HOЛ.06-20

20000/

100/

100/3

50

75

150

300

640

I/I/I-0-0

5,02

ЗНОЛ.06-24

24000/

100/

100/3

50

75

150

300

640

I/I/I-0-0

5,03

НКФ-110-57

110000/

100/

100

-

400

600

1200

2000

I/I/I-0-0

4,05

НКФ-110-58

66000/

100/

100/3

-

400

600

1200

2000

I/I/I-0-0

3,55

HKФ-110-58

110000/

100/

100/3

-

400

600

1200

2000

I/I/I/-0-0

4,43

НКФ-220-58

150000/

100/

100

-

400

600

1200

2000

I/I/I-0-0

3,83

НКФ-220-58

220000/

100/

100

-

400

600

1200

2000

I/I/I-0-0

4,13

НКФ-330

330000/

100/

100

-

400

600

1200

2000

I/I/I-0-0

4,35

НКФ-400

400000/

100/

100

-

-

500

1000

2000

I/I/I-0-0

5,45

HKФ-500

500000/

100/

100

-

-

500

1000

2000

I/I/I-0-0

4,48

НДЕ-500

500000/

100/

100

-

300

500

1000

1200

I/I/I-0-0

1,9

НДЕ-750

750000/

100/

100

-

300

500

1000

1200

I/I/I-0-0

1,9

4.5. Трансформаторы типа ЗОМ. Основные технические данные трансформаторов ЗОМ приведены в табл. П.3 значения Uк % в этой таблице получены от завода-изготовителя.

Таблица П.3

Технические данные трансформаторов типа ЗОМ

Тип

Номинальное напряжение, В

Номинальная мощность обмоток, B·A

Uк % обмотки

ВН

ННосн

ННдоп

основной

дополнительной

основной

дополнительной

ЗОM-1/15

6000/

100/

127-100

75

850

1,65

7,55

10000/

100/

127-100

75

850

1,69

8,05

13800/

100/

127-100

75

850

1,615

7,2

15000/

100/

127-100

75

850

1,71

8,22

18000/

100/

127-100

75

850

2,18

8,41

ЗОМ-1/20

20000/

100/

127-100

75

850

2,14

8,15

ЗОМ-1/24

24000/

100/

127-100

75

850

0,94

4,46

Примечания: 1. Мощность основной и дополнительной обмоток ТН типа ЗОМ-1/5 дана при условии их неодновременной работы.

2. Значения Uк % отнесены к номинальной мощности своих обмоток.

Приложение 2

СХЕМЫ ТН И ИХ ВТОРИЧНЫХ ЦЕПЕЙ

1. Пояснения к требованиям по выполнению схем

1.1. По установке заземления

1.1.1. Требование по установке заземления вблизи ТH (см. п. 2.2.2 настоящей Инструкции) было включено в директивные документы Минэнерго СССР в 1973 г. До этого в течение длительного времени на всех электростанциях и подстанциях устанавливалось одно общее заземление на щите на заземляющей шинке, объединяющей вторичные цепи всех ТН (шинка в 600). При этом вследствие значительной удаленности заземления от ТН вторичные, обмотки каждого из них дополнительно заземлялись через пробивные предохранителя, которые при перекрытии защитного промежутка сами становились источником неправильных действий устройств защиты и автоматики при появлении тока в заземляющем контуре (см. п. 2.2.2) настоящей Инструкции).

Кроме того, при удаленных заземлениях значительно снижается ток КЗ при замыканиях на землю в цепях напряжения и чувствительность защищающих ТН автоматических выключателей или предохранителей в ряде случаев оказывается недостаточной.

В целях повышения надежности вторичных цепей Главным техническим управлением по эксплуатации энергосистем Минэнерго СССР было предложено по возможности приблизить заземления к ТН, а пробивные предохранители демонтировать.

1.1.2. В связи с тем, что необходимое при установке заземления вблизи ТН (см. пп. 2.2.2 и 2.2.3 настоящей Инструкции) осуществление полного разделения вторичных обмоток разных ТН, принятых в эксплуатацию до 1973 г. и питающих общие цепи напряжения, в большинстве случаев требует трудновыполнимых изменений схемы переключения цепей напряжения присоединений РУ напряжением 35 кВ и выше, для действующих электростанций и подстанций с такими трансформаторами допускается установка заземления на щите (см. п. 2.2.5 настоящей Инструкции).

1.2. По отсоединению ТН от вторичных цепей (см. п. 2.3 Инструкции).

При ведении работ на ТН и его ошиновке необходимо отключить вторичные обмотки трансформатора во избежание появления высокого напряжения на первичной обмотке за счет обратной трансформации напряжения, подающегося от вторичных цепей, подключенных в это время к другому работающему ТН или к постороннему источнику питания (например, для проверки измерительных приборов). В месте отключения должен создаваться видимый разрыв цепи, в связи с чем отключения автоматическими выключателями, блок-контактами разъединителей или контактами промежуточных реле недостаточно.

1.3.По защите ТН при повреждениях во вторичных цепях.

1.3.1. Для защиты ТН, питающих быстродействующие защиты, подверженные неправильным действиям, должны устанавливаться автоматические выключатели (см. п. 2.5.1 Инструкции). Это необходимо для обеспечения эффективного действия специальных устройств блокировки, устанавливаемых в отдельных комплектах защиты для предотвращения их излишнего срабатывания при нарушении исправности вторичных цепей напряжения, так как предохранители могут перегорать недостаточно быстро.

Автоматические выключатели кроме быстродействия, обладают большей надежностью, обеспечивают возможность быстрого восстановления питания цепей напряжения, их блок-контакты могут использоваться для сигнализации о нарушении исправности этих цепей. Поэтому автоматические выключатели находят широкое применение и в тех случаях, когда допустима установка предохранителей.

1.3.2. Требование, приведенное в п. 2.5.3 Инструкции, возникло в связи с тем, что отдельные участки вторичных цепей ТН 110 кВ и выше часто имеют большую протяженность (например, цепи синхронизации на электростанциях), чувствительность защищающих ТН автоматических выключателей, имеющих только электромагнитные расцепители, при КЗ в конце этих участков, как правило, недостаточна.

Чувствительность защиты при удаленных КЗ может быть значительно повышена, если автоматические выключатели будут снабжаться кроме электромагнитных также и тепловыми расцепителями.

Применение тепловых расцепителей целесообразно и для повышения чувствительности автоматических выключателей к внутриаппаратным повреждениям.

1.4. Устройства блокировки защиты при неисправностях цепей напряжения.

1.4.1. Устройства, выполняемые согласно п. 2.6 Инструкции обеспечивают возможность применения трехполюсных автоматических выключателей для защиты обмоток ТН, соединенных в звезду. Однако при использовании таких устройств основные и дополнительные обмотки ТН должны защищаться отдельными автоматическими выключателями (см. п. 2.5.3 Инструкции).

1.4.2. Схема рекомендуемого устройства блокировки, предложенная Теплоэлектропроектом1, приведена на рис. П.5. В этой схеме сопротивление резистора Rа = 0,5 Rв = 0,5 Rс; число витков обмоток трансформатора Т: w1 = w2 = w3. В нормальном режиме при исправных цепях напряжения ток Io = 0,5 Ia = Iв = Ic и IaD = Io. Так как токи Ia и IaD в первичных обмотках трансформатора Т создают встречное действие, ток в реле РН отсутствует.

_____________

1 В.Н. Вавин. Устройство для блокировки релейной защиты при обрывах во вторичных цепях трансформаторов напряжения. Авт. свид. № 440737 (СССР). "Открытия. Изобретения. Пром. образцы. Товарные знаки". 1974, № 3.

При возникновении неисправности в цепях напряжения равновесие МДС, создаваемых токами Ia и IaD, нарушается и устройство блокировки срабатывает.

Устройство реагирует на обрыв одной, двух, трех фаз или нулевого провода. Обмотка трансформатора Т, включенная на Uнк, предназначена для компенсации напряжения нулевой последовательности при замыканиях на землю на стороне ВН ТН в целях предотвращения отказов релейной защиты из-за излишних срабатываний устройств блокировки.

Данное устройство легко получить путем небольших переделок комплекта КРБ-12. Для этого две (из трех) обмотки трансформатора Тб, включенные на фазные напряжения, соединяются в параллель (для обеспечения термической устойчивости) и включаются в нулевой провод; резистор Rа заменяется резистором с сопротивлением, меньшим в 2 раза, и изменяется схема внутренних соединений КРБ-12. Технические данные резисторов, поставляемых ЧЭАЗ в устройствах КРБ-12, приведены в табл. П.4.

1.4.3. Для блокировки защиты в сетях напряжением 110 - 330 кВ допускается также использование ранее установленных устройств КРБ-11.

Рекомендуемые схемы включения КРБ-11 с подачей питания от дополнительных обмоток ТН через конденсаторы (предложение Теплоэлектропроекта) показаны на рис. П.6, а, б. Маркировка цепей напряжения на этих схемах соответствует показанной на рис. П.5, а.

Рис. П.5. Схема устройства блокировки защиты при обрывах цепей напряжения для сетей 35 - 330 кВ:

а - типовая схема соединений; б - потенциальная диаграмма ТН 110 кВ и выше; в - схема устройства
блокировки; г - векторная диаграмма токов в устройстве блокировки в условиях нормального режима

Рис. П.6. Схемы включения устройства КРБ-11 на напряжение основных и дополнительных обмоток ТН 110-220 кВ:

а - включение реле РН на сравнение напряжений фазы в основной и дополнительной обмоток ТН;
б - включение КРБ-11 с подачей питания от дополнительной обмотки ТН фазы а;
в - включение КРБ-11 с дополнением реле PH-55/160

Таблица П.4

Место установки резистора

Обозначение резистора на рис. П.5

Заводское обозначение резистора

Тип резистора

Сопротивление R, Ом

В отдельном устройстве КРБ-12

Rв

R4

ПЭВ-15

1000

Rc

R2

ПЭВ-15

1000

R2

R1 + Rрег

ПЭВР-20

430 + 300

В комплекте защиты ПЗ-2

Rв

24R

ПЭВ-10

1300

Rc

25R

ПЭВ-10

1300

R2

27R + 26R

ПЭВ-10

1800 + 600

В нормальном режиме реле РН в схемах рис. П.6 а, б не работает, так как оно включено между эквипотенциальными точками схемы (см. потенциальную диаграмму на рис. П.5, а). При нарушении исправности цепей напряжения, в том числе и при полном исчезновении питания от основных обмоток ТН, на реле РН появляется напряжение и оно срабатывает.

При включении КРБ-11 по схемам рис. П.6 а, б не контролируется целость заземленного провода (фазы в), что допустимо при отсутствии в заземленной цепи контактов коммутационных аппаратов.

Реле РТо, включенное в нулевой провод трансформаторов тока защищаемого присоединения, не позволяет устройству блокировать защиту при замыканиях на землю в сети, где включен ТН.

1.4.4. Вместо цепи питания КРБ-11 от дополнительных обмоток через конденсатор можно дополнительно к этому устройству включить реле РНо типа РН-55/160, как показано на рис. П.6, в (предложение Тулэнерго). Однако этот способ применим лишь при времени действия блокируемой защиты не менее 40 - 50 мс.

1.4.5. Устройства, выполняемые по схемам рис. П.5 и П.6, в ряде случаев (например, при двухфазных КЗ в цепях напряжения) могут действовать только после отключения автоматических выключателей, защищающих TH. B связи с этим указанные автоматические выключатели должны иметь время отключения не более 20 мс.

При этом общее время блокирования составит примерно 30 - 35 мс. Это, как правило, достаточно для защит, предназначенных для сетей 110 - 220 кВ.

1.4.6. Для сетей напряжением 330 - 500 кВ и выше обычно применяются более быстродействующие защиты и требуется более быстрое их блокирование при нарушениях цепей напряжения.

Для таких защит применяются устройства блокировки, принцип действия которых основан на пофазном сравнении напряжений основных и дополнительных вторичных обмоток ТH (рис. П.7), поставляемых заводом-изготовителем комплектно с блокируемыми защитами. При этом время блокирования не зависит от времени отключения КЗ в цепях напряжения.

Рис. П.7. Схема устройства блокировки защиты при нарушении цепей напряжения 330 кВ и выше:

ТБА, ТБВ, ТБС - трансформаторы блокировки; B1, B2, B3 - выпрямители;
С - сглаживающий конденсатор; РП - поляризованное реле

1.5. Сигнализация нарушения целости цепей напряжения.

Сигнализация об обрыве цепей напряжения по п. 2.6.3 Инструкции должна обеспечиваться при срабатывании автоматических выключателей или перегорании предохранителей во вторичной или первичной цепи ТН.

При отсутствии предохранителей достаточна сигнализация об отключении автоматических выключателей, предусматриваемая во всех схемах ТН с автоматическими выключателями во вторичных цепях.

Для контроля целости предохранителей могут использоваться реле минимального напряжения (три реле, включенные на линейные напряжения), подающие сигнал "Обрыв напряжения", с выдержкой времени, превышающей время действия защиты. Однако при применении такого контроля не всегда обеспечивается необходимая чувствительность.

Так, при питании цепей напряжения от трехфазного пятистержневого ТН в случае перегорания предохранителя в одной из фаз со стороны ВН магнитные потоки двух других фаз, замыкаясь через крайние стержни и стержень поврежденной фазы, восстанавливают в последней напряжение, значительно уменьшая несимметрию вторичных напряжений. При этом напряжение поврежденной фазы (например, фазы в) составляет Uв = 0,5Uф, а линейные напряжения Uав = Uвс » 0,75Uном, тогда как на минимальном реле напряжения уставка должна быть не выше 0,8Uном.

В связи с изложенным для контроля предохранителей получили распространение центральные релейные устройства, состоящие из реле напряжения обратной последовательности РНФ-1 с минимальной уставной и реле минимального напряжения ЭН-50.

1.6. Контроль исправности цепи 3Uо (см. п. 2.6.4 Инструкции).

В связи с тем, что в протяженных цепях 3Uо обычно наводится ЭДС посторонними магнитными полями, соизмеримая по значению с напряжением небаланса Uнб, измерение Uнб высокоомным вольтметром может дать примерно одинаковые результаты при проверке исправной цепи и при ее обрыве. Поэтому, для обеспечения правильных результатов проверки напряжение небаланса должно измеряться вольтметром с внутренним сопротивлением не более 200 Ом. Обычно вместо вольтметра применяют миллиамперметр Э-421 со шкалой до 100 мА и внутренним сопротивлением 50 Ом. Его включают через резистор с r = 100 Ом.

Максимальному отклонению прибора соответствует напряжение 3Uо = 15 В. При измерении прибор подключается к цепи 3Uо кнопкой.

Периодический контроль исправности цепи 3Uо прост и вполне достаточен, поскольку в этой цепи отсутствуют предохранители и автоматические выключатели.

1.7. По предотвращению самопроизвольного смещения нейтрали (см. п. 2.7.1 Инструкции).

При отсутствии компенсации емкостных токов, имеющих малые значения в сетях напряжением 3 - 35 кВ вследствие несимметрии емкостей между отдельными фазами и землей, а также нелинейности сопротивления холостого хода ТН возможна частичная компенсация указанных емкостей (не на всех трех фазах) индуктивностью трансформаторов напряжения. При разных сочетаниях индуктивных и емкостных сопротивлений по фазам происходит смещение нейтрали, которое может сопровождаться значительным возрастанием фазных напряжений. Это может вызвать одновременные повреждения изоляции в нескольких местах.

Для предотвращения таких смещений нейтрали следует устанавливать в цепи 3Uо постоянно включенный резистор 25 Ом, рассчитанный на длительное протекание тока 4 А.

Следует иметь в виду, что в системе с малыми емкостными токами возможно также возникновение низкочастотных (субгармонических) колебаний в контуре, состоящем из емкости фазы по отношению к земле и индуктивности ТН. Такие субгармонические колебания не сопровождаются значительным повышением напряжения, но опасны для TН, так как при этом в его первичных обмотках могут проходить большие токи. Для предотвращения субгармонических колебаний директивными документами Минэнерго СССР рекомендуется предусматривать в цепи 3Uо TH в схемах блоков генератор-трансформатор и синхронный компенсатор-трансформатор второй резистор 25 Ом на ток 4 А, автоматически шунтирующий первый постоянно включенный резистор.

Схема автоматического включения второго резистора, разработанная Союзтехэнерго показана на рис. П.8.

Рис. П.8.Схема включения активных сопротивлений и цепи 3Uо:

а - схема; б - способ выполнения безиндукционного сопротивления;
R3 - безиндукционный резистор 3Ом (нихром d = 0,45 мм); R1, R2 - резисторы по 25 Ом;
Т - реле тока РТЗ-50 (ток срабатывания 15 мА в диапазоне 15 - 30 мА); К - кнопка;
П - промежуточное реле РП-23; Л - сигнальная лампа.

1.8. По разводке цепей напряжения (см. п. 2.8 Инструкции).

Прокладка вторичных цепей ТН без разделения одной цепи по разным кабелям необходима во избежание значительного увеличения индуктивного сопротивления вторичных цепей и недопустимого возрастания потери напряжения в них. При объединении электрической цепи в одном кабеле магнитные потоки, создаваемые токами в близко расположенных одна к другой жилах этого кабеля, будут почти полностью взаимно уничтожаться, так как геометрическая (векторная) сумма токов одной цепи всегда равна нулю. Поэтому индуктивное сопротивление такой цепи будет относительно малым. При разделении той же цепи по разным кабелям равновесие токов и магнитных потоков нарушается и индуктивное сопротивление цепи резко возрастает.

Кроме того, если к защите подвести заземленные и не заземленные провода цепей напряжения по жилам разных кабелей, то при замыканиях на землю в сетях 110 кВ и выше в них будут наводиться неодинаковые продольные ЭДС токами в заземляющем контуре и токами нулевой последовательности линий, параллельно которым проложены кабели цепей напряжения. Разность этих продольных ЭДС при значительной протяженности кабелей и их прокладке по разным трассам может вызвать значительное искажение векторной диаграммы напряжений, поданных на защиту.

При правильном выполнении разводки вторичных цепей ТН (без разделения) эта разность продольных ЭДС уменьшается (значение разности ЭДС будет зависеть только от симметрии расположения жил в кабеле; в обычных не симметрированных кабелях она составит не более 15 - 20 % наведенной продольной ЭДС

2. Схемы включения ТН

2.1. На рис. П.9 - П.17 приводятся рекомендуемые схемы включения ТН различного назначения, получившие распространение в энергосистемах. В этих схемах не показаны разъединители на стороне ВН, являющиеся элементами схемы первичных соединений.

2.2. На рис. П.9 приведены схемы включения ТН 6 - 10 кВ, устанавливаемых в шкалах КРУ.

Рис. П.9. Трансформаторы напряжения в шкафах КРУ:

а - однофазные ТН типа НОМ, соединенные по схеме открытого треугольника;
б -трехфазный ТН типа НТМК; в - трехфазный ТН типа НТМИ;
ШР - штепсельный разъем на выкатной тележке КРУ; , - предохранители;
1AB - автоматический выключатель;
R - резистор 25 Ом; РНо - максимальное реле напряжения РН-53/60Д
(контроль изоляции на стороне ВН трансформатора напряжения);
РНФ - фильтр-реле напряжения обратной последовательности РНФ-1;
РН - минимальное реле напряжения PH-54/160; РПФ - промежуточное реле РПУ-2

Эти ТН со стороны ВН присоединены к шинам КРУ через предохранители. Со стороны НН (см. рис. П.9, а, б) установлены предохранители, в цепи основных обмоток (см. рис. П.9, в) - автоматический выключатель. В цепи 3Uо в связи с ее малой протяженностью защитные аппараты не предусмотрены. Резистор R в этой цепи устанавливается только при отсутствии компенсации емкостных токов в сети, где установлен данный ТН.

Заземление в схемах рис. П.9, а, б установлено непосредственно у ТН, а в схеме рис. 9, в - на шинках напряжения секции КРУ.

Реле РНФ, РН и РПФ (см. рис. П.9, в) предназначены для контроля целости предохранителей на стороне ВН. Контакт реле РПФ в цепи катушки реле РНо нужен для предотвращения излишних срабатываний устройства контроля изоляции на стороне BН при перегорании предохранителей.

2.3. На рис. П.10 приведена схема включения ТН, устанавливаемого на секции шин главного РУ 6 - 10 кВ ТЭЦ при наличии резервной системы шин.

В этой схеме со стороны ВН предусмотрены предохранители, а со стороны НН - автоматический выключатель (только в цепи основных обмоток так же, как на рис. П.9, в). Контроль предохранителей выполнен аналогично показанному на рис. П.9, в.

Заземление установлено вблизи ТН. В связи с этим рубильник для отключения его вторичных цепей включен во все четыре провода основной обмотки.

Питание шинок напряжения каждой секции ГРУ резервируется от трансформатора резервной системы шин с помощью переключателя ПР.

Поскольку к шинам ГРУ всегда подключается компенсированная сеть, предотвращение самопроизвольных смещений нейтрали в схеме рис. П.10 не предусмотрено.

Рис. П.10. Схема включения ТН типа НТМИ рабочей секции шин ГРУ ТЭЦ:

а - цепи трансформатора напряжения; б - цепи сигнализации; - предохранитель;
1P - рубильник; 1АВ - автоматический выключатель; ПР - переключатель;
РНФ - фильтр-реле напряжения обратной последовательности РНФ-1М;
РН - минимальное реле напряжения PH-54/160; РНо - максимальное реле напряжения РН-53/60Д;
РПФ - промежуточное реле РПУ-2

2.4. На рис. П.11 показана схема включения однофазных трансформаторов 6 - 24 кВ на мощном генераторе, работающем в блоке с трансформатором.

Первичные обмотки трансформаторов подключаются без предохранителей к комплектным токопроводам через штепсельные разъемы ШР. Основные и дополнительные обмотки трансформатора 2ТН заземлены отдельно.

Цепь 3Uo и вторичная обмотка трансформатора ЗТН имеют общее заземление, так как они объединяются, в комплекте защиты ЗЗГ-1. Следует отметить недопустимость применения разделительного трансформатора с целью установки отдельных заземлений, поскольку при этом значительно возросли бы сопротивления третьей гармонической составляющей в цепи защиты.

Основная вторичная обмотка трансформатора 1ТН напряжением Uном = 100/ В, питающая реле, приборы и устройства синхронизации, защищена автоматическим выключателем 1АВ. Цепь 3Uо, питающаяся от дополнительных обмоток трансформатора 1ТН, и трансформатор ЗТН используются для защиты статора генератора от замыканий на землю. Они защищены автоматическими выключателями 2АВ и 3АВ.

Дополнительные обмотки трансформатора 2ТН (на 100 В) обеспечивают питание АРВ напряжением 173 В. Они защищены автоматическим выключателем 4АВ.

Для повышения надежности питании реле защиты от повышения напряжения и АРВ рубильник в цепи основных обмоток трансформатора 1ТН установлен после автоматического выключателя, а в цепи обмоток трансформатора 2ТН, питающих АРВ, он не установлен (в целях повышения надежности). При этом видимый разрыв в цепи АРВ в случае необходимости может быть создан снятием крышки автоматического выключателя 4АВ и установкой изолирующей прокладки между его контактами.

Применения защиты от самопроизвольных смещений нейтрали в схеме рис. П.11 не требуется, так как она предназначена для мощных генераторов с водяным охлаждением обмотки статора.

Соединение дополнительных обмоток однофазных трансформаторов по схеме разомкнутого треугольника на многих электростанциях и подстанциях выполнено по-разному. В целях унификации схем ТН и способов проверки правильности включения защит от замыканий на землю целесообразно применять единую схему соединения в разомкнутый треугольник. Рекомендуемая схема разомкнутого треугольника показана на рис. П.11 и на схемах включения однофазных ТН, имеющих две вторичные обмотки.

Рис. П.11. Схема включения однофазных ТН 6-24 кВ с двумя вторичными обмотками
на генераторном напряжении мощного блока генератор-трансформатор:

1TH - трансформатор напряжения ЗНОМ; 2ТН - трансформатор ЗОМ;
3ТН - трансформатор напряжения ЗНОЛ.06 (или ЗОМ); ШР - штепсельный разъем;
- - рубильники; 1AB - 4AВ - автоматические выключатели

2.5. На рис. П.12 приведена схема включения однофазных трехобмоточных ТН 35 кВ типа ЗНОМ-35. Вторичные цепи основных и дополнительных обмоток выведены на шинки, находящиеся на щите.

На рис. П.12, б показана потенциальная диаграмма вторичных напряжений, на которой векторы напряжений основной и дополнительной обмоток совмещены соответственно схеме соединений и обозначены все узлы схемы.

От одной из замкнутых вершин разомкнутого треугольника выведен провод на шинку u, используемую при проверках рабочим током защит от замыканий на землю, получающих питание от цепи 3Uо.

Заземление вторичных обмоток трансформатора напряжения установлено непосредственно у трансформатора.

Во всех незаземленных и заземленных проводах, отходящих от ТН, установлены рубильники и автоматические выключатели. При этом для защиты цепи 3Uо в проводе н предусмотрен отдельный автоматический выключатель.

В схеме предусмотрен неселективный автоматический выключатель 5АВ для присоединения удаленных нагрузок.

Отдельные цепи для питания расчетных счетчиков (показаны пунктиром) прокладываются лишь при нецелесообразности их питания по общему кабелю.

В схеме предусмотрено переключение на резервное питание вторичных цепей данного ТН от трансформатора 2ТH с помощью переключателей 1ПP - 3ПP.

Для предотвращения самопроизвольных смещений нейтрали в некомпенсированных сетях с малым емкостным током в цепи 3Uо до автоматического выключателя включен резистор R.

Рис. П.12. Схема ТН 35 кВ при двойной системе шин и при заземлении вторичных цепей у ТН:

а - схема; б - потенциальная диаграмма; , - рубильники;
1АВ - 5АВ - автоматические выключатели; 1ПР - 3ПР - переключатели;
R - резистор 25 Ом

2.6. Схема рис. П.13 также приведена для однофазных трехобмоточных ТН 35 кВ, но при установке заземлений во вторичных цепях на общей для распределительного устройства 35 кВ шинке фазы в.

В связи с этим в заземленных проводах основных и дополнительных обмоток отсутствуют коммутационные аппараты (рубильники, переключатели, автоматические выключатели).

Резервное питание от трансформатора 2ТН может подаваться через рубильники - . При включении этих рубильников необходимо отключить автоматические выключатели 1АВ - 4АВ и рубильники 1P, 2P.

Рубильник и автоматический выключатель 4АВ должны быть трехполюсными во избежание создания второго объединения заземленных проводов двух ТН, выведенных на общую шинку фазы в, которое нарушает токораспределение по этим проводам и равновесие магнитных потоков вокруг жил кабелей трансформаторов.

Рис. П.13. Схема ТН 35 кВ при двойной системе шин и при заземлении вторичных цепей на щите:

1P - 5P - рубильники; 1АВ - 5АВ - автоматические выключатели; R - резистор 25 Ом

2.7. На рис. П.14 показаны схемы включения со стороны РУ и потенциальная диаграмма ТН 110 кВ и выше при установке заземления вблизи трансформатора и на щите.

В схеме рис. П.14, б отсутствуют полюса рубильников , в заземленных на щите проводах в и к.

Обмотки ВН трансформатора (каскадного или с емкостным делителем) изображены условно.

В обеих схемах предусмотрена возможность питания счетчиков по отдельному кабелю (через автоматический выключатель 3АВ). Предусмотрено также питание от цепи 3Uо по отдельному кабелю фиксирующих измерительных приборов. Это необходимо, так как для них допускаются потери напряжения не более 2 %, тогда как для защит, питающихся по общему кабелю, допустима потеря напряжения до 3 %.

Схема включения ТН на щите зависит от способа резервирования питания его вторичных цепей.

На рис. П.15 приведены схемы, применяемые при взаимном резервировании двух ТН (например, при двойной системе шин) с помощью переключателей 1ПР - 3ПР. Следует отметить, что при установке заземления на щите вместо переключателей часто применяются рубильники, включенные так же, как на схеме рис. П.13 (рубильники - ).

Однако схема с рубильниками имеет недостаток, заключающийся в возможности объединения вторичных цепей двух ТН через рубильники резервирования. Это может привести к одновременному отключению автоматических выключателей в цепях основных и дополнительных обмоток обоих ТН (1АВ и 2АВ на рис. П.14, б).

Так, если при включенном положении указанных рубильников, заменяющихся переключатели 1ПР, 2ПР (см. рис. П.15, б), рубильники 1P, 2P (см. рис. П.14, б) ошибочно останутся включенными, то при отключении одной из систем шин (защитой или вручную) напряжение на нее будет подаваться через два соединенных последовательно ТН, через которые будет проходить большой ток (КЗ или емкостный), что вызовет отключение автоматических выключателей.

Полное обесточение цепей напряжения приведет к отказу в действии устройств блокировки защиты линий, выполненных по схеме рис. П.5 или П.6, и ложному отключению линий дистанционной защитой, оставшейся без напряжения.

Для предотвращения таких ложных отключений следует устанавливать в местных инструкциях порядок операций, связанных с объединением вторичных цепей двух ТН.

При резервировании питания вторичных цепей одного или нескольких трансформаторов одним ТН (например, трансформатором, подключенным к шинам при полуторной схеме РУ) схема может выполняться по рис. П.15, но при этом не прокладываются кабели от резервируемого трансформатора к переключателям 1ПР, 2ПР, 3ПР резервирующего трансформатора. Указанные переключатели на резервирующем трансформаторе в этом случае не устанавливаются.

При взаимном резервировании ТН, подключенных к трем линиям электропередачи напряжением 330 кВ и выше, схема включения каждого из них выполняется по рис. П.16.

При установке заземления на щите включение переключателей 1ПР, 2ПР в схеме рис. П.16 производится аналогично указанному на рис. П.15, б.

2.8. На рис. П.17 приведены схемы включения ТН, устанавливаемого на обходной системе шин для синхронизации при замене обходным выключателем выключателей других присоединений.

На электростанциях, где управление выключателями генераторов (блоков) осуществляется с главного щита, ТН устанавливаются на двух фазах (см. рис. П.17, а).

При управлении выключателями блоков генератор-трансформатор с блочного щита, выключателями остальных присоединений (линии автотрансформаторов и др.) с центрального щита ТН устанавливается на одной фазе.

Рис. П.14. Схема включения ТН в РУ 110 кВ и выше:

а - при заземлении вблизи ТН; б - при заземлении на щите; в - потенциальная диаграмма;
, - рубильники; 1АВ - 3АВ - автоматические выключатели;
ФИП - фиксирующий измерительный прибор

Рис. П.15. Включение ТН на щите при взаимном резервировании двух трансформаторов:

а - при заземлении вблизи ТН; б - переключатели и шинки при заземлении на щите;
1ПР - 3ПР - переключатели; 4АВ - неселективный автоматический выключатель;
R - резистор; mA - миллиамперметр; К - кнопка

Рис. П.16. Включение ТН на щите при взаимном резервировании трех трансформаторов:

1ПР - 3ПР - переключатели на три положения; 4АВ - неселективный автоматический выключатель;
R - резистор; mA - миллиамперметр; К - кнопка

Рис. П.17. Схемы включения в потенциальные диаграммы ТН на обходной системе шин 110 - 220 кВ:

а - включение трансформатора на две фазы; б - включение трансформатора на одну фазу;
1P - рубильник; 1АВ - автоматический выключатель

3. Особенности выполнения вторичных цепей напряжения

3.1. Переключение питания цепей напряжения отдельных присоединений.

3.1.1. При двойной системе шин цепи напряжения при переводе присоединений с одной системы шин на другую могут переключаться на другой ТН блок-контактами шинных разъединителей или контактами реле-повторителей положения этих разъединителей.

3.1.2. На рис. П.18 переключение производится блок-контактами разъединителей 6 - 35 кВ. В схеме рис. П.18, в при установке заземления на щите показано включение кабелей, прокладываемых к блок-контактам, при котором сумма токов в жилах этих кабелей равна нулю. Чтобы сумма токов, была равна нулю и в шинках напряжения, присоединение к ним указанных кабелей следует производить в одном месте.

Рис. П.18. Переключение цепей напряжения присоединений 6 - 35 кВ
блок-контактами разъединителей:

а - поясняющая схема; б - схема переключения цепей напряжения при заземлении вблизи ТН;
в - то же, но при заземлении на щите

3.1.3. На рис. П.19 приведены схемы переключения реле-повторителями цепей напряжения присоединений 35 - 220 кВ, на которых отсутствуют устройства защиты, подверженные ложным срабатываниям при одновременном исчезновении и восстановлении напряжения и постоянного тока, и устройства, на которые должна подаваться цепь 3Uо.

При заземлении вблизи ТН (см. рис. П.19, б) выполнена встречная блокировка реле 1РПP, 2РПP, не допускающая объединения цепей напряжения двух ТН через контакты этих реле.

При заземлении на щите встречная блокировка реле-повторителей обычно не предусматривается (см. рис. П.19, б). При этом, если включены оба шинных разъединителя, объединяются цепи двух ТН через контакты реле-повторителей, что может привести к нежелательным последствиям. Так, если при выводе в ремонт одной из систем шин во время переключения всех ее присоединений на другую систему шин на одном из них после отключения разъединителя его блок-контакт останется замкнутым (что возможно при нарушении механической связи привода разъединителя с блок-контактом), то и основные вторичные обмотки ТН обеих систем шин останутся соединенными между собой. Вследствие этого после отключения шиносоединительного выключателя на систему шин, отключенную для ремонта, будет подаваться напряжение через последовательно соединенные трансформаторы напряжения 1ТH и 2ТН. При этом из-за большого емкостного тока шин возможно отключение автоматических выключателей обоих ТН. В связи с изложенным применение встречной блокировки реле-повторителей целесообразно и при установке заземления на щите.

На рис. П.19, б и в видно, что при заземлении вблизи ТН требуется большее количество контактов реле-повторителей, чем при заземлении на щите.

О неисправности (обрыве) цепей катушек реле-повторителей подается сигнал.

3.14. В схеме (рис. П.20) для переключения цепей напряжения линий 110 кВ и выше при двойной системе шин используются по два реле-повторителя, управляемых блок-контактами каждого из разъединителей. Реле 1РПР и 2РПР - с замедлением при возврате, реле 11РПP и 12РПР - без замедления.

Рис. П.19. Переключение контактами реле-повторителей цепей напряжения
измерительных приборов и защит от междуфазных КЗ с токовыми
пусковыми органами на присоединениях 35 - 220 кВ:

а - поясняющая схема; б - включение реле-повторителей и схема переключений при заземлении
вблизи трансформатора исчезновения напряжения; в - то же, но при заземлении на щите;
г - сигнализация напряжения; 1РПР, 2РПР - промежуточные реле РПУ-2.

Рис. П.20. Переключение цепей напряжения линий 110 - 220 кВ:

а - поясняющая схема; б - включение реле-повторителей; в - схема переключений;
г - сигнализация неисправностей в цепях напряжения; 1РПР, 2РПР - реле РПУ-2;
11РПР, 12РПР - реле РП-252; Рб - контакт реле блокировки.

При отключении разъединителей реле 11РПР и 12РПР будут возвращаться и снимать оперативный ток защиты быстрее, чем замедленные реле 1РПР и 2РПР снимут с защиты напряжение. При включении разъединителей реле 11РПР, 12PПP будут срабатывать и подавать оперативный ток только после срабатывания реле 1РПР, 2РПР, подающих на защиту напряжение.

При таком включении реле-повторителей контакты реле 11РПP и 12РПР будут подавать и снимать с защиты оперативный ток только при наличии на ней напряжения. Благодаря этому предотвращается возможность неправильных действий дистанционной и дифференциально-фазной защит и ОАПВ при исчезновении и восстановлении питания реле-повторителей оперативным током. Предотвращается также ложное действие указанных устройств в случае разрегулировки блок-контактов разъединителей.

При обрыве цепей катушек реле-повторителей подается сигнал.

Схема рис. П.20 приведена для случая установки заземления вблизи ТН. При заземлении на щите встречная блокировка реле-повторителей (показана на рис. П.20, б) и включение контактов реле-повторителей в заземленные провода (в и к) не обязательны.

3.2. Цепи синхронизации.

3.2.1. К устройствам синхронизации подключаются вторичные цепи двух ТН, включенных по обе стороны выключателя, на котором производится синхронизация. В связи с этим цепи синхронизации могут соединяться со вторичными цепями нескольких ТН с помощью реле синхронизации PCX, управляемых ключами синхронизации или ключами выбора выключателя.

Со стороны генерирующего источника на устройство синхронизации должны подаваться два линейных напряжения Uав и Uвс, а от системы - одно, в условиях синхронизации совпадающее по фазе с напряжением Uав.

Для синхронизации на генераторном напряжении используются основные обмотки ТН, а со стороны высшего напряжения электростанции (110 кВ и выше) - дополнительные обмотки, соединенные по схеме разомкнутого треугольника. Это позволяет получить со стороны ВН напряжение, совпадающее при синхронизме по фазе с Uав генератора, и не применять при синхронизации фазоповоротные трансформаторы.

При наличии на электростанции РУ 35 кВ напряжение на шинах этого РУ также отличается по фазе от генераторного напряжения. Однако при необходимости выполнения синхронизации на выключателе 35 кВ (например, при питании шин 35 кВ от двух трансформаторов связи) использовать дополнительные обмотки ТН 35 кВ нельзя, так как в нормальном режиме напряжение этих обмоток равно 100/3 В, а при однофазных замыканиях на землю повышается в  раза. Поэтому в цепи синхронизации должна включаться основная обмотка этого трансформатора через фазоповоротный трансформатор.

3.2.2. На рис. П.21 приведена схема цепей синхронизации для электростанций, где все выключатели, на которых может производиться синхронизация, управляются с главного щита.

На главном щите устанавливается центральное устройство синхронизации (ЦУС), позволяющее осуществлять точную автоматическую синхронизацию, точную ручную синхронизацию и полуавтоматическую самосинхронизацию.

На рис. П.21, а показана схема включения блока генератор-трансформатор в РУ 110 - 220 кВ, а также обходной и шиносоединительный выключатели 110 - 220 кВ. Показаны также векторные диаграммы напряжений генератора и шин ВН в условиях нормального режима и соответствующие им потенциальные диаграммы напряжений на вторичных обмотках трансформаторов напряжения 1ТН - 4ТН (см. также рис. П.14, П.17, а и рис. П.11).

Поскольку в автоматических синхронизаторах (например, AC-1T, АСТ-4А, АСТ-4Б) объединяется одна из фаз (фаза в) синхронизируемых напряжений, в схеме рис. П.21, б предусмотрен разделительный трансформатор РТ.

При замене выключатели 110 - 220 кВ любого присоединения (в том числе и блока генератор-трансформатор) обходным выключателем синхронизация производится на обходном выключателе с использованием ТН обходной системы шин (ЗТН). При этом для синхронизации блока от ЗТН (трансформатор напряжении со стороны генератора) на устройство синхронизации должны подаваться два линейных напряжения. Поэтому на обходной системе шин нужно устанавливать ТН на двух фазах (см. рис. П.17, а).

На рис. П.21, в приведена схема синхронизации на выключателе 35 кВ с применением фазоповоротного трансформатора, состоящего из двух однофазных трансформаторов ФТа, ФТв.

На блочных электростанциях выключатели на стороне ВН блоков управляется с блочных щитов (БЩУ), а остальные присоединения РУ напряжением 110 кВ и выше - с центрального щита (ЦЩУ). Соответственно и синхронизация производится как на БЩУ, так и на ЦЩУ.

Рис. П.21. Цепи синхронизации, осуществляемой только на главном щите электростанции:

а - поясняющая схема; б - цепи синхронизации; в - поясняющая схема и схема синхронизации на
выключателе 35 кВ трансформатора связи; 1РПP - 4РПP - контакты реле-повторителей положения
разъединителей 1P - 4P; 1PCX - 4PСX - контакты реле синхронизации на выключателях 1B - 4B;
РТ - разделительный трансформатор (Т-74, 270 В·А; 127/127 В, Uк = 10,5 + 11 %);
ЦУС - центральное устройство синхронизации; ШСХд - шинка для самосинхронизации;
ФТа, ФТв - однофазные трансформаторы Т-74, 270 В·А, 220/127 В

3.2.3. Пример схемы цепей синхронизации на блочной электростанции показан на рис. П.22.

Цепи синхронизации на рис. П.22, а показаны применительно к поясняющей схеме, приведенной на рис. П.21, а.

На БЩУ устанавливаются такие же ЦУС, как показанное на рис. П.21, a, a ЦЩУ - только устройство точной ручной синхронизации (УС на рис. П.22, а).

В схеме синхронизации на ЦЩУ разделительный трансформатор не предусмотрен ввиду отсутствия необходимости объединения цепей синхронизируемых напряжений в устройстве точной ручной синхронизации.

При замене выключателя блока обходным выключателем использование для синхронизации ТН обходной системы шин нецелесообразно, так как привело бы к необходимости разводки вторичных цепей этого трансформатора по блочным щитам.

В связи с этим в схеме рис. П.22, а для синхронизации блока как на своем, так и на обходном выключателе предусмотрено использование ТН генератора (4ТН). Для этого при управлении обходным выключателем с блочного щита используется реле PCX и с помощью двухпозиционного реле-повторителя положения обходного разъединителя реле-повторители положения шинных разъединителей блока (1РПР, 2РПP) переводятся на управление блок-контактами разъединителей обходного выключателя (см. рис. П.22, б).

При таком выполнении цепей синхронизации блоков ТН обходной системы шин используется только при синхронизации других присоединений напряжением 110 кВ и выше. В связи с этим на обходной системе шин ТН устанавливается только на одной фазе (см. рис. П.17, б).

Рис. П.22. Цепи синхронизации на блочной электростанции:

а - цепи синхронизации на ЦЩУ и БЩУ; б - схема управления реле-повторителями шинных
разъединителей обходного выключателя; 1РПР - 4РПP - реле-повторители разъединителей 1P - 4P;
1РCX - 3PCХ - контакты реле синхронизации на выключателях 1B - 3B при ее осуществлении на
центральном щите; PCX- реле синхронизации на обходном выключателе при ее осуществлении на
блочном щите; РПР - двухпозиционное реле-повторитель обходного разъединителя;
РТ - разделительный трансформатор.

Приложение 3

РАСЧЕТНАЯ ПРОВЕРКА ТН И ИХ ВТОРИЧНЫХ ЦЕПЕЙ

1. Расчет нагрузки ТН

1.1. Для более подлого использования мощности ТН по возможности выравнивают их вторичную нагрузку по фазам. Однако обычно нагрузка все же неравномерна, поэтому расчет сводится к определению нагрузки для наиболее загруженной фазы ТН.

В целях упрощения в практических расчетах суммирование потребляемой мощности производят арифметически без учета разных коэффициентов мощности (cosj) отдельных нагрузок и неравномерность нагрузки учитывают приближенно. Эти упрощения создают некоторый расчетный запас.

В качестве расчетной для трехпроводных цепей напряжения может быть принята схема, приведенная на рис. П.23, а.

Для расчета максимальной нагрузки трансформатора напряжения необходимо подсчитать суммарные, нагрузки Saв, Sвс, Sсa, приведенные к линейным напряжениям согласно выражению (1).

Наиболее нагруженной фазой будет та, по которой проходит наибольший ток.

Соответственно принятым упрощениям можно считать, что токи Iав, Iвс, Iса отстают от создающих их линейных напряжений Uав, Uвс, Uса на один и тот же угол j. Тогда угол между векторами неравных токов составит 120° (см. рис. П.23, б).

Рис. П.23. Нагрузка основных вторичных обмоток ТН;

а - расчетная схема; б - векторная диаграмма токов нагрузки

Согласно схеме, на рис. П.23, а

Ia = Iав - Ica

(П.1)

Принимая Ica/Iав = к (или Sca/Sав = к)

можно записать:

Ia = Iав - aкIab и далее

Ia = Iав(I - кеj120)

(П.2)

Отсюда значение тока в фазе а

(П.3)

Мощность нагрузки ТH фазы а составит

Подставляя значение Ia из формулы (П.3), получим

В соответствии с изложенным можно определить мощность нагрузки любой фазы по отношению мощностей нагрузок S1нагр и S2нагр, присоединенных к этой фазе:

где к = S1нагр/S2нагр

Наибольшее значение STH будет для той фазы, к которой присоединены две междуфазные нагрузки, каждая из которых больше третьей. Например, если Sав > Sвс > Sса, то наибольшая нагрузка будет в фазе в (Sв), к которой присоединены нагрузки Sав и Sса.

При наличии нагрузок, включенных на фазные напряжения (в четырехпроводных вторичных цепях), потребляемая ими мощность Sф, приведенная к фазному напряжению согласно формуле (1), должна суммироваться с мощностью междуфазной нагрузки Sнф соответствующих фаз; при этом полная мощность нагрузки любой из фаз TH будет:

(П.4)

1.2. При соединении вторичных обмоток двух трансформаторов напряжения в открытый треугольник (см. рис. П.9, а) мощность нагрузки каждого из них составит

Sнагр.TH = Uмф Iф,

где Iф - ток в фазе а или с.

Принимая Sca = S1, и наибольшую из нагрузок Sав и Sвс равной S2, а отношение S1/S2 = к, с учетом формулы (П.3) можно написать

При одинаковых нагрузках Sав, Sвс и Sса к = I и  или Sнагр.ТН = 1,73 Sмф. Если ту же нагрузку, равную 3S2нагр включить только на напряжения Uав и Uвс (чтобы Saв было равно Sвс и Sсa нулю), то на каждый ТН придется половина этой суммарной нагрузки, т.е. Sнагр.ТН = 1,5Sмф, а не 1,73Sмф. Следовательно, при схеме открытого треугольника целесообразнее не включать нагрузку на напряжение Uca, а по возможности равномерно распределять ее между фазами а-в и вс.

2. Технические данные и особенности применения автоматического выключателя АП50

2.1. Электромагнитные расцепители по заказу выполняются на любое из следующих значений номинального тока: 1,6; 2,5; 4; 6,4; 10; 16; 25; 40; 50A. При этом расцепители при любом номинальном токе могут иметь любое из двух исполнений по кратности срабатывания на 11Iном и на 3,5Iном.

Исполнение по кратности срабатывания должно указываться в заказе; если оно не указано, то поставляется автоматический выключатель на ток Iср = 11Iном.

Полное время отключения автоматического выключателя при действии электромагнитного расцепителя tср @ 0,017 с.

Тепловые расцепители имеют такие же номинальные токи, как и электромагнитные. При этом они начинают работать при токе 1,35Iном ± 25 % и обеспечивают надежное действие (с требуемой чувствительностью.) при значении тока порядка 3Iном.

Максимальный допустимый при КЗ ток расцепителей автоматических выключателей АП50, применяемых в цепях напряжения:

Iном,

А

2,5

4

6,4

10

16

25

Iкз.мин,эл.магн

А

400

600

800

2000

2000

3000

Iкз.мин,тепл

А

35

56

90

400

600

900

2.2. Для обеспечения должной чувствительности электромагнитных расцепителей при КЗ во вторичных цепях ТН рекомендуется во всех случаях применять расцепители с кратностью срабатывания 3,5. При этом возможен разброс тока срабатывания от 3Iном до 4Iном. Поэтому проверка чувствительности должна производиться с учетом возможного увеличения тока срабатывания до 4Iном.

2.3. При отсутствии автоматического выключателя на требуемый номинальный ток с кратностью 3,5 допускается производить перемотку его электромагнитных расцепителей в лаборатории энергосистемы или ее предприятия.

Ввиду относительно большого значения тока срабатывания электромагнитного расцепителя (3 - 4Iном) для повышения чувствительности автоматического выключателя к удаленным КЗ и внутриаппаратным повреждениям рекомендуется применение автоматических выключателей с электромагнитным и тепловым расцепителями.

3. Расчет тока КЗ

3.1. При расчете допускаются следующие упрощения:

- не учитывается индуктивное сопротивление вторичных цепей, питаемых от ТН;

- не учитывается активное сопротивление обмоток всех ТН, кроме НДЕ.

Вследствие этого значения тока КЗ получаются завышенными не более чем на 5 - 10 %, что не выходит за пределы допустимой погрешности.

Для определения тока КЗ должны быть известны активные сопротивления проводов и значения сопротивления Zк или напряжения КЗ Uк ТН. Значения напряжения Uк ТН отечественного производства приведены в табл. П.2 и П.3. Значение сопротивления Zк (Ом), приведенное к обмотке низшего напряжения, определяется по выражению

(П.5)

где Uк - напряжение короткого замыкания, %;

Uном - номинальное напряжение вторичной обмотки ТН, В;

S - мощность ТН, к которой отнесено Uк, В·А.

3.2. Максимальный ток, отключаемый автоматическим выключателем или предохранителем определяется, как правило, при трехфазном КЗ на выводах трансформатора.

При соединении трансформатора в открытый треугольник ток в фазах а и с, в которые включается защитный аппарат (см. рис. П.9, а), равен

(П.6)

Ток в фазе в при этом больше в  раза.

При схеме звезда-звезда (см. рис. П.9, б)

(П.7)

где Uмф - номинальное междуфазное напряжение вторичной цепи; в большинстве случаев Uмф = 100 В, при применении трансформаторов типа ЗОМ при соединении в звезду дополнительных обмоток (см. рис. П.11) Uмф = 173 В.

При включении вторичных обмоток трехфазного ТН, а также однофазных трехобмоточных ТН на напряжение до 35 кВ по схеме звезда с выведенным нулем (см. рис. П.9, б, в, П.10 и П.11) максимальный ток в цепи основных обмоток (в нулевом проводе) будет при двухфазном КЗ на нуль, когда со стороны высшего напряжения любая фаза замкнута на землю. При этом

(П.8)

При включении однофазных ТН с номинальным напряжением вторичных обмоток 100 В по схеме "звезда - разомкнутый треугольник" в случае замыкания проводов всех трех фаз ток в проводах и-ф составит

(П.9)

Следует иметь в виду, что действительное значение максимального тока на выводах ТН типа НДЕ значительно меньше рассчитанного по выражениям (П.7) и (П.9) вследствие насыщения реактора в первичной цепи ТН. Поэтому для НДЕ, согласно данным ВНИИЭ, следует принимать максимальный ток КЗ в цепи основных обмоток равным 168 А, а в проводах и, ф дополнительных обмоток 87 А.

Наибольшее значение тока в проводе и ТН 35 кВ (см. рис. П.12) определяется в режиме однофазного замыкания на землю на стороне 35 кВ, когда напряжение неповрежденных фаз В, С относительно земли повышается в  раз. В этом случае при замыкании между проводами и-в

(П.10)

где rпр - сопротивление одного провода от ТН до автоматического выключателя.

Максимальный ток через автоматический выключатель в цепи 3Uо при КЗ в этой цепи непосредственно за автоматическим выключателем и однофазном замыкании на землю в сети высшего напряжения равен

(П.11)

где rпр - сопротивление проводов в цепи 3Uо от трансформатора до автоматического выключателя.

3.3. Минимальный ток для проверки чувствительности защитных аппаратов рассчитывается при КЗ в наиболее удаленной точке вторичных цепей.

При соединении ТН в открытый треугольник минимальный ток будет при двухфазном КЗ между не заземленными фазами, а в схеме "звезда-звезда без нулевого провода" - при двухфазном КЗ между любыми фазами. При включении вторичных обмоток однофазных ТН в разомкнутый треугольник минимальный ток будет при КЗ между проводами, отходящими от замкнутой и разомкнутой вершин треугольника (например, между проводами и-к или н-ф в схеме на рис. П.14). Во всех этих случаях

(П.12)

При соединении вторичных обмоток ТН по схеме "звезда с выведенным нулем" минимальный ток будет при однофазном КЗ.

(П.13)

Сопротивление проводов в фазе (Srnp) и в нулевом проводе (Sronp) указаны отдельно, так как сечение жил кабеля в фазе и в нулевом проводе может быть различным (при прокладке от ТН до щита четырехжильного силового кабеля).

Для ТН типа НДЕ минимальный ток через автоматический выключатель в проводах и-ф может подсчитываться по выражению

(П.14)

а ток через автоматический выключатель в цепи основных обмоток - по выражению

(П.15)

Однако из-за насыщения реактора вычисление тока КЗ по этим выражениям с приемлемой точностью может производиться лишь при токах в основной и дополнительной обмотках до 60 А и в дополнительной до 30 А. Если для обеспечения необходимой чувствительности электромагнитных расцепителей (Кч ³ 1,5) токи должны быть больше указанных, их значения необходимо уточнить измерением.

4. Примеры расчета

Пример 1. Определить мощность нагрузки ТН типа НОМ-6, установленных на шинах 6 кВ и включенных по схеме, приведенной на рис. П.9, а. Во вторичные цепи этого ТН включены шесть счетчиков, установленных на питающем трансформаторе и на двух отходящих линиях; один указывающий и один регистрирующий вольтметр и реле напряжения №-54/160 (в схеме АВР).

Потребление каждого счетчика по 6 B·A на напряжениях Uав и Uвс, потребление указывающего вольтметра 7 B·A, регистрирующего вольтметра 10 B·A, реле PH-54/160 при 40 В потребляет 1 B·A, а при 100 В, согласно выражению (1),

Вольтметры и реле включены на напряжение Uca. Междуфазные нагрузки равны

Sав = Sвс = 6·6 = 36 В·А; Sca = 7 + 10 + 6,25 = 23,25 В·А.

Определим нагрузку на каждый трансформатор напряжения по выражению (3), принимая S1нагр = Sca, S2нагр = Sвс и Sф = 0,

Это значение превышает мощность ТН в классе точности 0,5, равную 50 B·A (см. табл. П.2), что недопустимо для учета электроэнергии. В связи с этим указывающий вольтметр и реле следует переключить на напряжение Uав, а регистрирующий вольтметр на напряжение Uвс.

Тогда Sав = 36 + 7 + 6,25 = 49,25 В·А;

Sвс = 36 + 10 = 46 В·А.

Это и есть нагрузки ТН, так как при Sca = 0, К = 0, вследствие чего выражение (3) приобретает вид

Требуемая точность работы ТН обеспечивается, поскольку Saв и Sвc меньше 50 В·А.

Пример 2. Определить мощность нагрузки трехфазного ТН типа НТМИ-10, установленного на шинах 10 кВ. Вторичная нагрузка состоит из двух счетчиков (активной и реактивной энергии) и одного ваттметра на питающем трансформаторе, указывающего и регистрирующего вольтметров (включены на Uса), реле защиты трансформатора - РН-53/60Д на 30 - 60 В (включено на Uса) и РНФ-М (включено на три фазы), реле контроля изоляции РН-53/60Д на 15 - 30 В в цепи 3Uо.

Потребление каждого счетчика по 6 В·А на напряжениях Uав и Uвс, ваттметра по 10 B·A на Uав и Uвс, указывающего вольтметра 7 В·А, регистрирующего вольтметра 10 В·А, реле РНФ1М 15 B·A на фазу, реле РН-53/60Д на 30 - 60 В 10 В·А при 220 В, а при 100 В

Междуфазные нагрузки равны

Sав = Sвс = 2,6 + 10 + 15 = 37 B·A;

Sса = 7 + 10 + 2,06 + 15 = 34,06 B·A.

Наибольшая нагрузка будет на фазе в, к которой присоединены нагрузки Sав и Sвс. Так как они равны между собой, к = 1 и, согласно выражению (3),

Мощность НТМИ-10 в классе точности 0,5 составляет 120 В·А (см. табл. П.2).

Утроенная мощность нагрузки

3Sнф = 3·37 = 111 В·А < 120 В·А.

Нагрузка в цепи 3Uо состоит из одного реле контроля изоляции. Его потребление равно 5 B·A при 110 В, а при 100 В нагрузка в этой цепи

при мощности дополнительных обмоток, работающих в классе точности 3, равной 500 В·А.

Пример 3. Определить нагрузку ТН типа НКФ-220, установленного на одной из двух систем шин 220 кВ.

Основные обмотки питают датчики измерений и релейную аппаратуру защиты шести линий и одного автотрансформатора, реле напряжения защиты шин 220 кВ и измерительные приборы на щите управления.

Потребление аппаратуры:

1. Панели защиты ЭПЗ-1636-67 на каждой линии 45 В·А, на всех линиях Saв = Sвс = Sса = 6·45 = 270 B·A.

2. Панели защиты ДФЗ-201 с реле сопротивления (на трех линиях) по 25 В·А на напряжении Uса

Sca = 3·25 = 75 В·А.

3. Панели защиты автотрансформатора:

а) одно реле РМОП-2 15 B·A на фазу;

б) реле PH-54/160 Sвс = 6,25 В·А (см. пример 1).

4. Реле защиты шин РН-53/60Д на 15 - 30 В Sвс = 4,14 В·А (см. пример 2).

5. Датчики активной и реактивной мощности (на шести линиях и автотрансформаторе) каждый по 1 В·А на напряжениях Uав и Uвс и 10 В·А на напряжении Uса. Bсе датчики:

Sав = Sвс = 12·1 = 12 В·А и Sса 12·10 = 120 В·А.

6. Указывающий и регистрирующий вольтметры на щите управления Sвс = 7 + 10 = 17 В·А.

Междуфазные нагрузки составят:

Saв = 270 + 15 + 18 = 303 В·А;

Sвc = 270 + 15 + 6,25 + 4,14 + 12 + 17 = 324,39 В·А;

Sсa = 270 + 75 + 15 + 120 = 480 B·A.

Наиболее загружена фаза С, к которой приключены нагрузки Sвс и Sса. Согласно выражению (3), принимая S1нагр = Sca и S2нагр = Sвс получим:

При такой нагрузке ТВ будет работать в классе точности I (при этом, согласно табл. П.2, мощность трансформатора 600 B·A), что допустимо дли измерительных приборов и защиты. При необходимости включения счетчиков на линиях для их питания должны устанавливаться отдельные ТН (чтобы обеспечить класс точности 0,5).

При резервировании ТН другой системы шин нагрузка на данный трансформатор примерно удваивается и будет

Sнф » 2 · 407 = 814 B·A

При этом трансформатор будет работать в классе точности 3 (Sном = 1200 В·A). В связи с непродолжительностью такого режима это следует считать допустимым.

Нагрузки в цепи 3Uо:

1. Панели ЭПЗ-1636-67 с реле РБМ-177 (на шести линиях), потребляющим 35 В·А Sнагр = 6·35 = 210 В·А.

2. Панель защиты автотрансформатора с реле РБМ-177, Sнагр = 35 В·А.

3. Реле напряжения РН-53/60Д на 15 - 30 В в защите шин 220 кВ, Sнагр = 4,14 B·A (см. пример 2).

4. Фиксатор импульсного действия ФИП, потребляющий 3 B·A. Нагрузка цепи 3Uо составит

Sно = 210 + 35 + 4,14 + 3 = 252,14 В·А.

Суммарная нагрузка ТН, согласно выражению (5),

При резервировании ТН другой системы шин

SТН » 2·519,14 = 1038,28 В·А,

что соответствует классу точности 3.

Пример 4. Для вторичных цепей ТН НОМ-6, соединенных в открытый треугольник, с нагрузками, указанными в примере 1, определить потери напряжения до счетчиков, установленных в одном месте и питающихся по кабелю длиной 30 м, сечением 2,5 мм2, и до измерительных приборов и реле защиты, питающихся по другому кабелю длиной 36 м и сечением 2,5 мм2. Оба кабеля с медными жилами.

Сопротивление жилы кабеля до счетчиков, согласно выражению (6),

Нагрузка, создаваемая счетчиками, Saв = Sвс = 36 В·А (см. пример 1).

Согласно формуле (3) при

Ток нагрузки в фазе в

Потери напряжения, согласно выражению (7),

или DU = 0,226 % < 0,5 %.

При включении реле и указывающего вольтметра на Uaв, a регистрирующего вольтметра на Uвс (см. пример 1) нагрузка по кабелю, питающему эту аппаратуру,

Saв = 7 + 6,25 = 13,25 B·A и Sав = 10 B·A

Применяя формулу (3), получим:

Ток в фазе в

Сопротивление жилы кабеля

Потери напряжения ΔU = ·0,202·0,253 = 0,089 В < 1,5 В.

Пример 5. Определить потери напряжения до наиболее удаленных нагрузок ТН типа НКФ-220 (см. рис. П.14, а и П.15, а), установленного на шинах 220 кВ. Нагрузка трансформатора указана в примере 3. От ТН до щита проложены общие кабели с алюминиевыми жилами: от шкафа ТН до щита длиной 150 м - в цепи основных обмоток кабель 3×70 + 1×25 (жила сечением 25 мм2 в нулевом проводе) и в цепи дополнительных обмоток кабель 3×25 + 1×12,5 (жила сечением 12,5 мм2 в проводе Ф); от ТН до шкафа кабели 2×70 мм2 длиной 15 м от основных обмоток и 2×25 мм2 от дополнительных обмоток. От шкафа ТН до прибора ФИП в цепи 3Uо проложен кабель с медными жилами 2×1,5 мм2 длиной 270 м. От ввода общих кабелей на релейном щите до наиболее удаленной панели защиты ЭПЗ-1636-67 проложены кабели с медными жилами в цепях основных и дополнительных обмоток длиной 25 м (4×10 мм2) и 4×2,5 мм2 соответственно.

От релейного щита до измерительных приборов на щите управления проложен кабель с медными жилами длиной 105 м (2×2,5 мм2). Сопротивление жилы общих кабелей:

а) в цепи основных обмоток  Ом;

б) в цепи 3Uо  Ом

Сопротивление жил кабеля в цепи 3Uо к прибору ФИП

Сопротивление жилы кабеля от ввода общих кабелей ТН на релейном щите до дальней панели защиты

В цепи Y  Ом; в цепи 3Uо  Ом.

Сопротивление жилы кабеля от релейного щита до измерительных приборов

Ток нагрузки в общем кабеле (определяется по нагрузкам, вычисленным в примере 3):

а) в цепи основных обмоток

б) в цепи 3Uо

Ток нагрузки в кабеле прибора ФИП в цепи 3Uо

Ток нагрузки в кабеле от ввода общих кабелей ТН на релейном щите до удаленной панели защиты:

а) в цепи основных обмоток:

Мощность нагрузка Sав = Sвс = Sсa = 45 В·А (см. пример 3), согласно формуле (3), к = 1 и

б) в цепи 3Uо; Sно = 35 B·A;

ток нагрузки в кабеле к измерительным приборам.

Мощность нагрузим Sвс = 17 B·A (см. пример 3)

Потеря напряжения до датчиков мощности

Потери напряжения до наиболее удаленной панели защиты:

а) в цепи основных обмоток, согласно выражению (7),

б) в цепи 3Uо, согласно выражению (8),

DU = 2 (2,52·0,226 + 0,35·0,175) = 1,26 В < 3 В.

Потери напряжения до прибора ФИП, согласно выражению (8),

DU = 2·0,03·3,15 = 0,19 B < 2 B.

Потери напряжения до измерительных приборов

При резервировании ТН другой системы шин токи нагрузки и потери напряжения в общих кабелях удвоятся. При этом потери напряжения составят:

- по удаленной панели защиты:

а) в цепи основных обмоток

б) в цепи 3Uо

DU = 2 (5,04·0,208 + 0,35·0,175) = 2,4 B < 3 B;

- до датчиков мощности DU = 2·0,92 = 1,84 В > 1,5 В;

- до измерительных приборов

DU = 3·18,8·0,075 + 2·0,17·0,74 = 2,618 В > 1,5 В.

Учитывая кратковременность такого режима, эти превышения допустимых потерь напряжения от ТН до измерительных приборов можно не принимать во внимание.

Пример 6. Выбрать кабель для питания от ТН на шинах 220 кВ цепей напряжения дистанционной защиты ПЗ-5, устанавливаемой на автотрансформаторе.

Потребление защиты 50 B·A на фазу. Другие нагрузки, а также сечение и длина проложенных кабелей указаны в примерах 3 и 5. Новая панель защиты устанавливается на щите управления. Длина кабеля от ввода общих кабелей ТН на релейном щите до панели защиты 110 м.

Нагрузки ТН, подсчитанные в примере 3, изменятся и составят:

Sав = 303 + 50 = 353 B·A; Sвс = 324,39 + 50 = 374,39 B·A; Sса = 480 + 50 = 530 B·A.

Соответственно изменится и нагрузка в наиболее загруженной фазе с, определяемая по выражению (3), к = 580/374,39 = 1,41 и

При резервировании ТН другой системы шин Sнф » 2·572 = 1144 B·A < 1200 В·А.

В результате этих изменений возрастет суммарная нагрузка цепи основной обмотки:

SТН = 252,14 + (530 + 374,39)/3 = 553,14 В·А, а при резервировании второго ТН STH » 2·553,14 = 1106,28 B·A < 1200 B·A.

Максимальный ток нагрузки общего кабели

Потери напряжения в этом кабеле

Ток в кабеле защиты ПЗ-5  A.

Согласно выражению (9),

Сечение кабеля . Выбираем кабель 4×10 мм2.

Цепи дополнительных обмоток в защите ПЗ-5 используются только для питания устройства блокировки, показанного на рис. П.5 (обмотки, включенные на напряжения Uни и 3Uо).

Так как ток каждой из указанных обмоток ничтожно мал (0,0445 А при 100 В), для их питания выбираем кабель с минимальным сечением жил по условию обеспечения механической прочности соединений с зажимами 3×1,5 мм2.

Сопротивление жилы этого кабеля

При двухфазном КЗ на землю в фазах В и С в проводе н будет двойной ток; потери напряжения в цепи 3Uо от релейного щита до панели ПЗ-5 составят

DU = 0,0445·2·1,29 + 0,0445·1,29 = 0,175 B

С учетом потерь напряжения в общем кабеле при резервировании ТН другой системы шин (см. пример 5)

DU = 2·11,94·0,104 + 0,175 = 2,655 B < 3 B.

Пример 7. Проверить применимость установленных во вторичной цепи ТН типа НОМ-6 предохранителей НПН-15 с плавкими вставками на 6 А. Схема включения трансформаторов, их нагрузка и данные кабелей во вторичных цепях указаны в примерах 1 и 4.

Предохранитель НПН-15 имеет неограниченную отключающую способность, и его применение для защиты ТН допустимо.

Сопротивление трансформатора, согласно выражению (П.5) и данным табл. П.2:

Минимальный ток при КЗ за кабелем питающим измерительные приборы и реле защиты,

Надежность сгорания предохранителя

Пример 8. Проверить применимость автоматического выключателя АП50 с тепловым расцепителем Iном = 16 А в цепи 3Uо ТН типа ЗНОМ-35, включенных по схеме, показанной на рис. П.12.

От ТН каждой фазы до шкафа с автоматическим выключателем в цепи 3Uо проложены кабели с медными жилами (2×6 мм2) длиной по 6 м.

Сопротивление ТН, согласно выражению (П.5),

Сопротивление жил кабелей в цепи 3Uо

Наибольший ток при КЗ в цепи 3Uо и однофазном замыкании на землю на стороне 35 кВ, согласно выражению (П.11),

Ток Iмакс не превышает отключающую способность автоматического выключателя с тепловым расцепителем, для которого Iкз.макс = 600 А.

Начало работы этого расцепителя обеспечивается при токе (1,35 + 0,25) Iном = 1,6 × 16 = 25,6 А. Если при КЗ в цепи 3Uо ток будет меньше этого значения, то это не опасно для ТН, так как его номинальный ток при максимальной мощности составляет

Пример 9. Проверить применимость автоматических выключателей, установленных во вторичных цепях ТН НКФ-220, выполненных, как указано в примерах 3, 5 и 6.

Автоматические выключатели в цепях основных и дополнительных обмоток (1AВ и 2АВ на рис. П.14, а) и в цепи измерительных приборов (4АВ на рис. П.15, а) имеют электромагнитные и тепловые расцепители. Номинальный ток расцепителей 1АВ 25А, а 2АВ и 3 АВ - 2,5 А.

Максимальный ток нагрузки в цепи 1АВ при резервировании ТН другой системы шин (см. пример 6)

Iнагр.макс = 19,8 А < 25 А.

Сопротивление ТН согласно выражению (П.5),

Для проверки применимости автоматического выключателя 1АВ по отключающей способности определяется максимальный ток КЗ в цепи основных обмоток, согласно выражению (П.7),

Сопротивление жил кабелей до наиболее удаленной панели защиты на релейном щите (см. пример 5).

Srпр = 0,075 + 0,044 = 0,119 Ом

Сопротивление нулевой жилы основного кабеля

Srопр = 0,174 + 0,044 = 0,218 Ом.

Минимальный ток КЗ в цепи основных обмоток на дальней панели защиты на релейном щите, согласно выражению (П.13),

Чувствительность электромагнитного расцепителя, согласно выражению (14),

Сопротивление нового кабеля до панели дистанционной защиты автотрансформатора (см. пример 6)

Сопротивление проводов от ТН до этой панели

Srпр = 0,075 + 0,193 = 0,268 Ом;

Srопр = 0,174 + 0,193 = 0,367 Ом.

При КЗ на панели дистанционной защиты автотрансформатора

Чувствительность электромагнитного расцепителя

Расцепитель нечувствителен. Для обеспечения Кч ³ 1,5 суммарное сопротивление фазной и нулевой жал кабеля, питающего панель дистанционной защиты, должно быть снижено до такого же значения, как у кабеля, питающего дальнюю панель на релейном щите:

rпр + rопр = 2·0,044 = 0,088 Ом.

При этом потребовалось бы проложить к панели дистанционной защиты кабель с жилами большего сечения, чем у основного кабеля.

Прокладывать такой кабель для питания только одной панели нецелесообразно. Поэтому следует в цепи питания дистанционной защиты автотрансформатора установить неселективный автоматический выключатель, как для удаленной нагрузки.

При нагрузке 0,866 А (см. пример 6) вполне пригоден автоматический выключатель с электромагнитным и тепловым расцепителем на номинальный ток 2,5 А.

Чувствительность электромагнитного расцепителя этого выключателя будет

Сопротивление жил кабелей от ТН до измерительных приборов (см. пример 5).

Srпр = 0,075 + 0,74 = 0,815 Ом.

Должная чувствительность электромагнитного расцепителя неселективного автоматического выключателя 4АВ в цепи измерительных приборов (Кч ³ 1,5) обеспечивается, так как Srпр = 0,815 Ом < 3 Ом.

Сопротивление ТН до выводов дополнительной обмотки, согласно выражению (П.5),

Чувствительность автоматического выключателя в цепи дополнительных обмоток (2АВ) проверяется при КЗ на панели дистанционной защиты автотрансформатора между проводами и-к (провод ф, имеющий в основном кабеле большее сопротивление, на эту панель не подается).

Сопротивление жилы общих кабелей rпр = 0,226 Ом (см. пример 5). Сопротивление жилы кабеля от релейного щита до панели дистанционной защиты rпр = 1,29 Ом (см. пример 6).

Srпр = 0,226 + 1,29 = 1,516 Ом

Минимальный ток КЗ, согласно выражению (П.12)

Чувствительность электромагнитного расцепителя

Приложение 4

ПАСПОРТ-ПРОТОКОЛ ТН И ЕГО ВТОРИЧНЫХ ЦЕПЕЙ

__________________

предприятие

 

_____________________

(электростанция подстанция)

1. Трансформатор напряжения

1

Трансформатор напряжения

 

1

Место установки ТН

 

2

Тип, номинальное напряжение, схема соединений обмоток

 

3

Заводской №, год выпуска

 

4

Тип и № конденсаторов

 

Коэффициент деления

 

Для ТН

типа НДЕ

Положение переключателей

реактора

 

трансформатора

 

5

Класс точности

 

0,5

1

3

Предельная мощность

Мощность, В·А

 

 

 

 

6

Однополярные выводы

 

 

 

 

7

Измерение сопротивления ТН

Замкнуты выводы

 

 

 

 

Питание подано на выводы

 

 

 

 

Напряжение, В

 

 

 

 

Ток, А

 

 

 

 

Измерено сопротивление, Ом

 

 

 

 

Расчетное сопротивление, Ом/фазу

 

 

 

 

8

Состояние ТН по внешнему осмотру

 

 

 

 

2. Основные кабели

№ п.п.

Место прокладки

Маркировка кабеля

Марка кабеля

Сечение (мм2) и число жил

Длина, м

Сопротивление изоляции, МОм

между жилами

по отношению к земле

1

 

 

 

 

 

 

 

2

 

 

 

 

 

 

 

3

 

 

 

 

 

 

 

4

 

 

 

 

 

 

 

5

 

 

 

 

 

 

 

6

 

 

 

 

 

 

 

7

 

 

 

 

 

 

 

8

 

 

 

 

 

 

 

9

 

 

 

 

 

 

 

10

 

 

 

 

 

 

 

11

 

 

 

 

 

 

 

12

 

 

 

 

 

 

 

13

 

 

 

 

 

 

 

14

 

 

 

 

 

 

 

15

 

 

 

 

 

 

 

16

 

 

 

 

 

 

 

17

 

 

 

 

 

 

 

18

 

 

 

 

 

 

 

19

 

 

 

 

 

 

 

20

 

 

 

 

 

 

 

21

 

 

 

 

 

 

 

22

 

 

 

 

 

 

 

23

 

 

 

 

 

 

 

24

 

 

 

 

 

 

 

25

 

 

 

 

 

 

 

 

Места установки соединительных муфт

№ кабеля

Расстояние по трассе от шкафа ТН, м

 

 

 

 

3. Вторичные цепи

1. Вторичные цепи и маркировка выполнены по принципиальной схеме № ______ и

монтажной № _______ проекта, выполненного ________ и согласованного с _________

2. Допущены отступления от проекта: _______________________________________

___________________________________________________________________________

___________________________________________________________________________

___________________________________________________________________________

___________________________________________________________________________

Отступления согласованы с ___________________________________________________

___________________________________________________________________________

3. Состояние вторичных цепей, кабельных разделок, шкафов, блок-контактов разъединителей, трассы кабелей по внешнему осмотру

4. Сопротивление изоляции полной схемы вторичных цепей относительно земли, измеренное мегаомметром на напряжение, В.

5. Результаты испытания переменным напряжением 1000 В в течение 1 мин.

6. Принципиальная схема соединения обмоток ТН и размещение автоматических выключателей, предохранителей, рубильников и прочей аппаратуры с обозначением выводов ТН.

7. Измерение сопротивления вторичных цепей.

№ п.п.

Цепь от ... до

Место установки закоротки

Место подключения питания

Напряжение, В

Ток, А

Сопротивление, Ом

1

 

 

 

 

 

 

2

 

 

 

 

 

 

3

 

 

 

 

 

 

4

 

 

 

 

 

 

5

 

 

 

 

 

 

6

 

 

 

 

 

 

7

 

 

 

 

 

 

8

 

 

 

 

 

 

9

 

 

 

 

 

 

10

 

 

 

 

 

 

11

 

 

 

 

 

 

12

 

 

 

 

 

 

13

 

 

 

 

 

 

14

 

 

 

 

 

 

15

 

 

 

 

 

 

8. Расчетные значения сопротивлений.

№ п.п.

Цепь от … до

Сопротивление цепи "звезда", Ом

Сопротивление цепи "разомкнутый треугольник", Ом

Фаза а

Фаза в

Фаза c

Нуль

Жила Н

Жила К

Жила И

Жила Ф

1

 

 

 

 

 

 

 

 

 

2

 

 

 

 

 

 

 

 

 

3

 

 

 

 

 

 

 

 

 

4

 

 

 

 

 

 

 

 

 

5

 

 

 

 

 

 

 

 

 

6

 

 

 

 

 

 

 

 

 

7

 

 

 

 

 

 

 

 

 

8

 

 

 

 

 

 

 

 

 

9

 

 

 

 

 

 

 

 

 

10

 

 

 

 

 

 

 

 

 

9. Расчет тока КЗ и чувствительности защиты вторичных цепей от КЗ.

№ п.п.

Место КЗ

Замкнуты фазы

Ток КЗ расчетный

Тепловой расцепитель или предохранитель

Отсечки

Номинальный ток

Чувствительность

Ток срабатывания

Чувствительность

1

 

 

 

 

 

 

 

2

 

 

 

 

 

 

 

3

 

 

 

 

 

 

 

4

 

 

 

 

 

 

 

5

 

 

 

 

 

 

 

6

 

 

 

 

 

 

 

7

 

 

 

 

 

 

 

8

 

 

 

 

 

 

 

9

 

 

 

 

 

 

 

10

 

 

 

 

 

 

 

10. Проверка автоматических выключателей.

№ п.п.

Место установки и тип автоматического выключателя

Номинальный ток расцепителя

Кратность отсечки

Ток срабатывания отсечки

Время срабатывания, С при кратности, К

К =

К =

К =

К =

К =

1

 

 

 

 

 

 

 

 

 

2

 

 

 

 

 

 

 

 

 

3

 

 

 

 

 

 

 

 

 

4

 

 

 

 

 

 

 

 

 

5

 

 

 

 

 

 

 

 

 

6

 

 

 

 

 

 

 

 

 

4. Проверка под рабочим напряжением

1. Проверка соответствия обозначений фаз пофазной подачей напряжения на ТН.

Обозначения фаз с первичной стороны

 

 

 

 

Обозначения фаз на вторичной стороне

 

 

 

 

Расцветка фаз в проверяемом РУ

 

 

 

 

Чередование фаз проверяемого РУ

 

 

 

 

2. Проверка правильности соединения обмоток ТН измерением напряжений

Схема

Фазы

Значение, В

 

Измерения для потенциальной диаграммы

 

Фазы

Значение, В

Фазы

Значение, В

Звезда

ав

 

 

На

 

 

а-земля

 

ас

 

Нв

 

 

в-земля

 

оа

 

Нс

 

с-земля

 

ао

 

Ua

 

 

О-земла

 

во

 

Uв

 

 

Н-земля

 

со

 

Uc

 

 

И-земля

 

Разомкнутый треугольник

НИ

 

Ф-а

 

 

ф-земля

 

НФ

 

Ф-в

 

 

К-земля

 

НК

 

Ф-с

 

 

 

 

ИФ

 

 

 

 

ИК

 

 

 

 

 

ФК

 

 

Чередование фаз во вторичных цепях

…………………………..

3. Получение 3Uо способом _______________________________________________

___________________ и построение его относительно звезды ТН __________________

Фазы

На

Нв

Нс

Но

Uа

Uв

Uс

Uо

Значение, В

 

 

 

 

 

 

 

 

4. Фазировка ТН _____________________ с ТН _______________________________

Место фазировки

Результаты

Место фазировки

Результаты

 

 

 

 

 

 

 

 

 

 

 

 

 

 

 

 

5. Векторные диаграммы разомкнутого треугольника и 3Uо.

6. Проверка, правильности маркировки, переключения цепей и чередования фаз на входе панелей.

Место проверки

Результаты

Место проверки

Результаты

 

 

 

 

 

 

 

 

 

 

 

 

 

 

 

 

 

 

 

 

 

 

 

 

 

 

 

 

7. Измерение потерь напряжения и нагрузки на ТН способом

Режим

Ток нагрузки, А в фазах

Потеря напряжения, В, в фазах

Заключение

а

в

с

о

Н

И

Ф

К

а

в

с

о

Н

И

Ф

К

Нормальный

 

 

 

 

 

 

 

 

 

 

 

 

 

 

 

 

 

Максимальная нагрузка одного ТН

 

 

 

 

 

 

 

 

 

 

 

 

 

 

 

 

 

При резервировании TН в нормальном режиме

 

 

 

 

 

 

 

 

 

 

 

 

 

 

 

 

 

8. Определение класса точности ТН.

Режим

Расчетная нагрузка, А, в фазах

Класс точности, ТН

ав

вс

са

ао

во

со

НК

Нормальный

 

 

 

 

 

 

 

 

Максимальная нагрузка одного ТН

 

 

 

 

 

 

 

 

При резервировании ТН в нормальном режиме

 

 

 

 

 

 

 

 

9. Опыт КЗ.

Место КЗ

Вид КЗ

Ток КЗ

Чувствительность расцепителей

теплового или предохранителя

отсечки

 

 

 

 

 

 

 

 

 

 

Измерения производились

10. Отстройка отсечек расцепителей от емкостного и пускового токов.

Вид отстройки

Ток, А

Отстройка

Вид отстройки

Ток, А

Отстройка

 

 

 

 

 

 

 

 

 

 

 

 

Измерения производились

11. Дата проверки ________________________________________________________

Проверку производил _____________________________________________________

Начальник MС РЗАИ _____________________________________________________

Приложения: осциллограммы опытов

5. Результаты плановых проверок

Дата

Наименование и объем проверки, выявленное отклонение характеристик, обнаруженные дефекты

Сопротивление изоляции всех цепей ТН по отношению к земле, МОм

Подписи

Проверявшего

начальника MС РЗАИ

Звезда

Разомкнутый треугольник

 

 

 

 

 

 

 

 

 

 

 

 

 

 

 

 

 

 

 

 

 

 

 

 

 

 

 

 

 

 

 

 

 

 

 

 

Изменения схемы вторичных цепей и нагрузки вторичных обмоток трансформатора напряжения

Дата

Произведенные изменения

Подписи

проверявшего

начальника МС РЗАИ

 

 

 

 

 

 

 

 

 

 

 

 

 

 

 

 

 

 

 

 

 

 

 

 

 

 

 

 

 

 

 

 

 

 

 

 

 

 

 

 

 

 

 

 

 

 

 

 

 

 

 

 

 

 

 

 

 

 

 

 

 

 

 

 

 

 

 

 

 

 

 

 

 

 

 

 

 

 

 

 

 

 

 

 

 

 

 

 

 

 

 

 

СОДЕРЖАНИЕ

 

 

 



© 2013 Ёшкин Кот :-)