Информационная система
«Ёшкин Кот»

XXXecatmenu

ГОСУДАРСТВЕННЫЙ СТАНДАРТ СОЮЗА ССР

ГОСУДАРСТВЕННАЯ СИСТЕМА ОБЕСПЕЧЕНИЯ
ЕДИНСТВА ИЗМЕРЕНИЙ

ГИГРОМЕТРЫ ПЬЕЗОСОРБЦИОННЫЕ

МЕТОДЫ И СРЕДСТВА ПОВЕРКИ

ГОСТ 8.472-82

ГОСУДАРСТВЕННЫЙ КОМИТЕТ СССР ПО СТАНДАРТАМ
Москва

РАЗРАБОТАН Государственным комитетом СССР по стандартам

ИСПОЛНИТЕЛИ

И.А. Соков (руководитель темы), Г.Д. Вапняр

ВНЕСЕН Государственным комитетом СССР по стандартам

Член Госстандарта В.И. Кипаренко

УТВЕРЖДЕН И ВВЕДЕН В ДЕЙСТВИЕ Постановлением Государственного комитета СССР по стандартам от 22 сентября 1982 г. № 3701

ГОСУДАРСТВЕННЫЙ СТАНДАРТ СОЮЗА ССР

Государственная система обеспечения единства
измерений

ГИГРОМЕТРЫ ПЬЕЗОСОРБЦИОННЫЕ

Методы и средства поверки

State system for ensuring the uniformity measurements.
Peizosrption hygrometers. Methods and means of verification

ГОСТ
8.472-82

Постановлением Государственного комитета СССР по стандартам от 22 сентября 1982 г. № 3701 срок введения установлен

с 01.01.84

Настоящий стандарт распространяется на пьезосорбционные гигрометры и измерительные преобразователи относительной влажности (далее - гигрометры) классов точности 1 и более, выпускаемые по ГОСТ 23382-78, и устанавливает методы и средства их первичной и периодической поверок.

1. ОПЕРАЦИИ И СРЕДСТВА ПОВЕРКИ

1.1. При проведении поверки гигрометров должны быть выполнены операции, указанные в табл. 1.

1.2. При проведении поверки должны быть применены средства поверки, указанные ниже:

образцовый генератор влажного газа типа «Родник-2», относительная влажность 0 и 10 - 100 % при температуре 5 - 60 °С, основная абсолютная погрешность ±0,5 %;

гигрометр типа Волна-1М, диапазон измерения 0 - 100 %, основная абсолютная погрешность ±1,5 %;

мегаомметр типа М4100/3, номинальное выходное напряжение 500 В или типа М4100/1, номинальное выходное напряжение 100 В;

манометр типа МТИ, диапазон измерения 0 - 100 кПа;

самопишущий одноточечный потенциометр типа КСП-4, класса 0,25, диапазон измерения 0 - 10 мВ;

преобразователь постоянного тока, выходное напряжение 24 В, номинальный ток 0,2 А;

вольтметр типа С502/1, класса 0,5, диапазон измерения 0 - 10 В;

Таблица 1

Наименование операции

Номер пункта стандарта

Обязательность проведения операции при поверке

первичной

периодической

Внешний осмотр

4.1

Нет

Да

Опробование

4.2

Проверка электрического сопротивления изоляции

4.2.2

Нет

Да

Проверка герметичности первичного преобразователя

4.2.3

Нет

Да

Проверка относительной влажности в юстировочном устройстве

4.2.4

Нет

Да

Определение основной абсолютной погрешности

4.3

Да

Да

Определение изменения абсолютной погрешности, вызванного изменением температуры анализируемого газа

4.4

Да

Да

Примечание. Преобразователь относительной влажности типа ДОВП-1 на герметичность не проверяют.

камеры 1 - 3 (см. обязательное приложение 1);

кольцо-калибр 8211-0095 6h по ГОСТ 17763-72;

кольцо-калибр 8211-1095 6h по ГОСТ 17764-72;

запорный вентиль с максимальным давлением 1,0 МПа;

сжатый газ в баллоне - воздух по ГОСТ 11882-73 или азот по ГОСТ 9293-74, диапазон измерения 2 - 15 МПа;

редуктор типа РДВ, диапазон измерения 15 - 0,05 МПа;

барометр-анероид БАММ-1, диапазон измерения 800 - 1060 гПа;

термометр Б-4 № 2 по ГОСТ 215-73, цена деления 0,1 °С;

частотомер типа Э373, диапазон измерения 45 - 55 Гц, основная погрешность ±0,25 Гц.

1.3. Допускается применять другие, находящиеся в эксплуатации или вновь разработанные средства поверки, прошедшие метрологическую аттестацию в органах государственной метрологической службы и удовлетворяющие по точности требованиям настоящего стандарта.

При поверке гигрометров классов точности 2 и более допускается применять генератор влажного газа типа «Родник».

2. УСЛОВИЯ ПОВЕРКИ И ПОДГОТОВКА К НЕЙ

2.1. При проведении поверки должны быть соблюдены нормальные условия применения гигрометров по ГОСТ 23382-78.

2.2. Гигрометр выдерживают в условиях поверки не менее 12 ч, а затем подключают к электрической сети и прогревают в соответствии с требованиями инструкции по эксплуатации, но не менее 0,5 ч.

2.3. Средства поверки и поверяемый гигрометр подготовляют к работе в соответствии с инструкцией по эксплуатации.

3. ТРЕБОВАНИЯ БЕЗОПАСНОСТИ

3.1. Перед поверкой поверяемый гигрометр и генератор влажного газа необходимо заземлить.

3.2. При поверке необходимо соблюдать правила безопасности, указанные в инструкции по эксплуатации на поверяемый гигрометр и образцовый генератор влажного газа.

4. ПРОВЕДЕНИЕ ПОВЕРКИ

4.1. Внешний осмотр

4.1.1. При внешнем осмотре гигрометра должно быть установлено:

соответствие комплектности данным, указанным в паспорте, за исключением комплекта ЗИП;

наличие на резьбовой втулке выносного преобразователя исправной герметизирующей прокладки;

наличие юстировочного устройства;

наличие в инструкции по эксплуатации на преобразователь типа ДОВП-1 номинальной статической характеристики;

юстировочное устройство должно быть чистым, герметично закрытым и содержать насыщенный раствор соли с твердым осадком; на нем должно быть указано номинальное значение относительной влажности;

наличие на корпусе гигрометра таблички, на которой нанесен товарный знак предприятия-изготовителя, наименование и условное обозначение гигрометра, год выпуска и порядковый номер по системе нумерации предприятия-изготовителя;

все блоки и преобразователь гигрометра должны быть с одним и тем же порядковым номером;

наличие на циферблатах показывающего и регистрирующего приборов и на индикаторном табло цифрового прибора обозначений измеряемых величин и их единиц (j, %);

отсутствие на сборочных единицах, корпусе и покрытиях дефектов, препятствующих его использованию по прямому назначению;

наличие на корпусе гигрометра клеммы для заземления;

исправность соединительного кабеля и разъема (аккуратно и надежно заделаны), блоки надежно соединены;

плотность установки чувствительного элемента гигрометра в гнезде и наличие ограждения;

отсутствие на фильтре чувствительного элемента явных загрязнений.

4.2. Опробование

4.2.1. Резьбовое проходное кольцо-калибр и юстировочное устройство должны свободно навинчиваться на резьбовую втулку первичного преобразователя вместо решетки, ограждающей чувствительный элемент, и плотно прижимать герметизирующую прокладку. Непроходное кольцо-калибр не должно навинчиваться более чем на один оборот.

4.2.2. Проверка электрического сопротивления изоляции гигрометров

Сопротивление изоляции гигрометров, питающихся от сети номинальным напряжением 100 - 400 В, измеряют мегаомметром М4100/3; питающихся от сети номинальным напряжением до 100 В - мегаомметром М4100/1. Измерения проводят между замкнутыми штырьками сетевой вилки и клеммой заземления, при этом кнопка (тумблер) «Сеть» должна быть включена.

Электрическое сопротивление изоляции гигрометров без осевого кабеля измеряют между закороченными штырьками разъема цепи питания и корпусом.

Электрическое сопротивление изоляции не должно превышать 40 МОм.

4.2.3. Проверка герметичности первичного преобразователя

Первичный преобразователь гигрометра в зависимости от конструкции (см. обязательное приложение 1) помещают в камеру 2 или 3 и проверяют его герметичность.

4.2.4. Относительную влажность в юстировочном устройстве проверяют контрольным гигрометром «Волна-ГМ». Показания контрольного гигрометра не должны отличаться от номинального значения влажности юстировочного устройства более чем на ±2 %.

Гигрометры, не удовлетворяющие указанным требованиям, к дальнейшей поверке не допускают.

4.3. Определение основной абсолютной погрешности

Первичный преобразователь гигрометра устанавливают в рабочую камеру генератора влажного газа или камеру (см. обязательное приложение 1).

К выходу «0 - 10 мВ» поверяемого гигрометра присоединяют самопишущий потенциометр, а к выходу преобразователя типа ДОВП-1 - вольтметр.

В генераторе устанавливают температуру (20 ± 1) °С и относительную влажность, соответствующую поверяемой точке диапазона измерения гигрометра.

Основную абсолютную погрешность гигрометра D определяют как разность между его установившимся показанием и относительной влажностью в рабочей камере генератора.

Относительную влажность, измеренную преобразователем типа ДОВП-1, определяют по номинальной статической характеристике преобразования.

Основную абсолютную погрешность гигрометра определяют не менее чем в пяти равномерно расположенных точках диапазона измерений, из которых одна точка должна быть на отметке 30 %. Основная абсолютная погрешность гигрометра при периодической поверке не должна превышать предела допускаемой погрешности, указанного в нормативно-технической документации на гигрометр конкретного типа.

При первичной поверке основная абсолютная погрешность гигрометра не должна превышать 0,8 значения, указанной в НТД на гигрометр конкретного типа.

4.4. Определение изменения абсолютной погрешности, вызванного изменением температуры анализируемого газа

В генераторе устанавливают температуру (40 ± 1) °С, относительную влажность на отметке 30 % и определяют абсолютную погрешность гигрометра.

Изменение абсолютной погрешности вычисляют по формуле

где Dl(t) - изменение абсолютной погрешности, вызванное изменением температуры анализируемого газа на 10 °С;

D40, D20 - абсолютная погрешность гигрометра при температуре анализируемого газа (20 ± 1) и (40 ± 1) °С соответственно.

Изменение абсолютной погрешности не должно превышать значения, указанного в НТД на гигрометр конкретного типа.

При поверке гигрометров ведут протокол, форма которого приведена в обязательном приложении 2.

5. ОФОРМЛЕНИЕ РЕЗУЛЬТАТОВ ПОВЕРКИ

5.1. Положительные результаты государственной первичной поверки оформляют записью в паспорте, удостоверенной подписью поверителя, и нанесением оттиска поверительного клейма.

5.2. Положительные результаты государственной периодической поверки оформляют выдачей свидетельства установленной формы.

5.3. Положительные результаты ведомственной поверки оформляют в порядке, установленном ведомственной метрологической службой.

5.4. Гигрометры, не удовлетворяющие требованиям настоящего стандарта, к выпуску и применению не допускают.

ПРИЛОЖЕНИЕ 1
Обязательное

СПЕЦИАЛЬНЫЕ СРЕДСТВА ПОВЕРКИ

Камера 1

Описание: 86

1 - штуцер; 2 - термометр; 3- втулка уплотнительная; 4 - корпус

Черт. 1

* Размеры для справок.

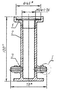
Камера 2

Описание: 87

1 - прокладка; 2 - корпус; 3 - штуцер

Черт. 2

* Размеры для справок.

Камера 3

Описание: 88

1 - штуцер; 2 - корпус; 3 - кольцо уплотнительное; 4 - втулка; 5 - гайка

Черт. 3

* Размеры для справок.

ПРИЛОЖЕНИЕ 2
Обязательное

ФОРМА ПРОТОКОЛА ПОВЕРКИ

___________________________________________________________________________

наименование организации, проводившей поверку.

______________198    г.

ПРОТОКОЛ ПОВЕРКИ
пьезосорбционного гигрометра

типа ______________________________№ ______________________________,

выпущенного ______________________________ в _______________________19    г.,

принадлежащего ___________________________________________________________

При поверке применялись образцовые средства измерений:

генератор влажного газа __________________________ № ________________________

вольтметр ____________________________________________ № __________________

потенциометр ___________________________________________ № ________________

гигрометр ____________________________________________ № __________________

РЕЗУЛЬТАТЫ ПОВЕРКИ

1. Внешний осмотр

Вывод: ___________________________________

2. Опробование

2.1. Измерение электрического сопротивления изоляции

Результат измерения: _________________________ МОм

Вывод: ______________________________________

2.2. Проверка герметичности

Испытательное давление, кПа

Значение спада давления, кПа

Начальное Р0

Отсчет Р15

Действительное Р0 - Р15

допускаемое DР

Вывод: _________________________________________________________________

2.3. Проверка относительной влажности в юстировочном устройстве

Номинальная влажность в стакане jном

Показание контрольного гигрометра jг

Разность jном - jг

Вывод: _________________________________________________________________

3. Определение основной абсолютной погрешности гигрометра и ее изменения

Температура в камере, °С

Относительная влажность в генераторе jд, %

Показание поверяемого гигрометра jг, %

Значение основной абсолютной погрешности, %

Изменение погрешности Dl(t), %

действительное D

допускаемое Dдоп и Dl(t)доп

Вывод: _________________________________________________________________

Заключение: гигрометр типа __________________________, № _________________

соответствует требованиям настоящего стандарта и признан годным (не годным)

                                                                                                           ненужное зачеркнуть

для эксплуатации.

Поверитель ____________________________

                                              подпись

СОДЕРЖАНИЕ

 

 



© 2013 Ёшкин Кот :-)