Информационная система
«Ёшкин Кот»

XXXecatmenu

ГОСУДАРСТВЕННЫЙ СТАНДАРТ СОЮЗА ССР

 

ИЗДЕЛИЯ ТЕХНИЧЕСКИЕ
ИЗ БЛАГОРОДНЫХ МЕТАЛЛОВ
И СПЛАВОВ

ТЕХНИЧЕСКИЕ УСЛОВИЯ

 

ГОСТ 6563-75

 

 

 

ГОСУДАРСТВЕННЫЙ КОМИТЕТ СССР ПО СТАНДАРТАМ

Москва

 

 

ГОСУДАРСТВЕННЫЙ СТАНДАРТ СОЮЗА ССР

ИЗДЕЛИЯ ТЕХНИЧЕСКИЕ ИЗ БЛАГОРОДНЫХ
МЕТАЛЛОВ И СПЛАВОВ

Технические условия

Technical articles made of
noble metals and their alloys.
Specifications

ГОСТ
6563
-75*

Взамен
ГОСТ 6563-58

Постановлением Государственного комитета стандартов Совета Министров СССР от 31 декабря 1975 г. № 4123 срок введения установлен

с 01.01.77

Проверен в 1986 г. Постановлением Госстандарта от 28.07.86 № 2266

срок действия продлен

до 01.01.92

Несоблюдение стандарта преследуется по закону

Настоящий стандарт распространяется на технические изделия из благородных металлов и сплавов, в том числе лабораторную посуду и принадлежности, применяемые в различных отраслях промышленности и науки.

(Измененная редакция, Изм. № 3).

1. ТИПЫ И ОСНОВНЫЕ РАЗМЕРЫ

1.1. Технические изделия по форме, размерам и предельным отклонениям должны соответствовать указанным на черт. 1 - 93 и в табл. 1 - 52.

Неуказанные предельные отклонения размеров должны быть .

(Измененная редакция, Изм. № 2).

А. Посуда лабораторная

Тигли высокие из платины

Изделие № 100

Черт. 1

Таблица 1

Номера изделий

Вместимость, см3

D

d

H

δ0

δ

Масса, г

мм

100-1

4

18

12

20

0,22 ± 0,02

0,14 ± 0,03

3,4

100-2

6

20

13

25

0,24 ± 0,02

0,15 ± 0,03

5,4

100-3

9

24

16

26

0,27 ± 0,02

0,17 ± 0,03

8,0

100-4

12

26

18

30

0,28 ± 0,02

0,19 ± 0,04

30,5

100-5

15

28

19

33

0,30 ± 0,02

0,21 ± 0,04

13,0

100-6

18

30

20

36

0,35 ± 0,03

0,24 ± 0,05

18,0

100-7

25

32

21

40

0,37 ± 0,03

0,26 ± 0,05

24,0

100-8

32

35

24

42

0,40 ± 0,03

0,28 ± 0,05

26,4

100-9

40

38

26

45

0,45 ± 0,03

0,31 ± 0,05

36,0

100-10

54

42

28

50

0,45 ± 0,03

0,31 ± 0,05

44,0

100-11

90

50

33

60

0,60 ± 0,03

0,52 ± 0,08

95,0

100-12

145

60

40

70

0,75 ± 0,03

0,63 ± 0,10

170,0

100-13

310

72

50

100

1,0 ± 0,03

0,78 ± 0,10

365,0

Примечание. По требованию потребителя тигли № 100-1-100-8 могут изготовлять из сплавов марок ПлИ-5 или ПлРд-7, а также из платины с утолщенной стенкой, равной 1,5δ и дном, равным 1,5δ0.

Крышки к тиглям высоким из платины

Изделие № 101

Черт. 2

Таблица 2

Номера изделий

D

d

h

K

δ (пред. откл. ± 0,02)

Масса, г

мм

101-1

22

17

2

25

0,15

1,4

101-2

23

19

2

28

0,15

1,7

101-3

28

23

2

33

0,15

2,2

101-4

31

25

2,5

36

0,15

2,6

101-5

33

27

2,5

39

0,15

3,2

101-6

35

29

2,5

40

0,15

3,3

101-7

37

31

2,5

43

0,15

3,8

101-8

40

34

2,5

46

0,15

4,4

101-9

42

37

2,5

49

0,15

5,1

101-10

46

41

2,5

53

0,15

5,9

101-11

55

48

4

63

0,2

12,6

101-12

65

58

4

74

0,2

16,3

101-13

78

71

5

87

0,25

31,4

Тигли высокие из серебра

Изделие № 102

Черт. 3

Таблица 3

Номера изделий

Вместимость, см3

D

d

H

δ0

δ

Масса, г

мм

102-1

4

18

12

20

0,44 ± 0,03

0,27 ± 0,05

3,6

102-2

6

20

13

25

0,48 ± 0,03

0,34 ± 0,05

6,0

102-3

9

24

16

26

0,54 ± 0,03

0,38 ± 0,05

8,6

102-4

12

26

18

30

0,56 ± 0,03

0,38 ± 0,05

11,5

102-5

15

28

19

33

0,60 ± 0,04

0,41 ± 0,05

14,0

102-6

18

30

20

36

0,68 ± 0,04

0,50 ± 0,06

18,0

102-7

25

33

21

40

0,74 ± 0,04

0,57 ± 0,08

26,0

102-8

32

36

24

42

0,76 ± 0,04

0,58 ± 0,08

29,0

102-9

40

39

26

45

0,88 ± 0,04

0,66 ± 0,10

39,0

102-10

54

43

28

50

0,96 ± 0,04

0,68 ± 0,10

49,0

Крышки к тиглям высоким из серебра

Изделие № 103

Черт. 4

Таблица 4

Номера изделий

D

d

h

K

Масса, г

мм

103-1

22

17

2

25

1,2

103-2

23

19

2

28

1,4

103-3

28

23

2

33

1,8

103-4

31

25

2,5

36

2,3

103-5

33

27

2,5

39

2,7

103-6

35

29

2,5

40

2,8

103-7

37

31

2,5

43

3,2

103-8

40

34

2,5

46

3,6

103-9

42

37

2,5

49

4,1

103-10

46

41

2,5

53

5,1

Тигли высокие из золота

Изделие № 104

Черт. 5

Таблица 5

Номера изделий

Вместимость, см3

D

d

H

δ0

δ

Масса, г

мм

104-1

4

18

12

20

0,22 ± 0,02

0,14 ± 0,03

3,1

104-2

6

20

13

25

0,24 ± 0,02

0,15 ± 0,03

4,9

104-3

9

24

16

26

0,27 ± 0,02

0,17 ± 0,03

7,3

104-4

12

26

18

30

0,28 ± 0,02

0,19 ± 0,04

9,6

104-5

15

28

19

33

0,30 ± 0,02

0,21 ± 0,04

12,0

104-6

18

30

20

36

0,34 ± 0,03

0,24 ± 0,05

15,0

104-7

25

32

21

40

0,37 ± 0,03

0,26 ± 0,05

22,0

Крышки к тиглям высоким из золота

Изделие № 105

Черт. 6

Таблица 6

Номера изделий

D

d

h

K

Масса, г

мм

105-1

22

17

2

25

1,2

105-2

23

19

2

28

1,5

105-3

28

23

2

33

2,0

105-4

31

25

2,5

36

2,4

105-5

33

27

2,5

39

2,9

105-6

35

29

2,5

40

3,1

105-7

37

31

2,5

43

3,4

Тигли высокие из платины с усиленной кромкой (отбортовкой)

Изделие № 106

Черт. 7

Таблица 7

Номера изделий

Вместимость, см3

D

d

H

δ0

δ

Масса, г

мм

106-1

4

18

12

20

0,22 ± 0,03

0,14 ± 0,03

4,0

106-2

6

20

13

25

0,24 ± 0,03

0,15 ± 0,04

6,0

106-3

9

24

16

26

0,27 ± 0,03

0,17 ± 0,04

9,0

106-4

12

26

18

30

0,28 ± 0,03

0,19 ± 0,04

12,0

106-5

15

28

19

33

0,30 ± 0,03

0,21 ± 0,04

15,0

106-6

18

30

20

36

0,34 ± 0,03

0,24 ± 0,05

19,0

106-7

25

32

21

40

0,37 ± 0,03

0,26 ± 0,05

26,0

106-8

32

35

24

42

0,40 ± 0,03

0,28 ± 0,05

30,0

106-9

40

38

26

45

0,45 ± 0,03

0,31 ± 0,05

40,0

106-10

54

42

28

50

0,45 ± 0,03

0,31 ± 0,06

50,0

Примечание. По требованию потребителя тигли № 106-1-106-8 могут изготовлять из сплавов марок ПлИ-5 или ПлР-7, а также из платины с утолщенной стенкой, равной 1,5δ и дном, равным 1,5δ0.

Тигли широкие из платины или серебра

Изделие №107

Черт. 8

Таблица 8

Номера изделий

Вместимость, см3

D

d

H

δ0

δ

Масса, г

мм

Из платины

107-1

9

28

14

22

0,28 ± 0,02

0,23 ± 0,04

9,0

107-2

20

38

19

28

0,37 ± 0,03

0,27 ± 0,05

20,0

107-3

27

42

22

30

0,40 ± 0,03

0,29 ± 0,05

26,0

Из серебра

107-4

9

28

14

22

0,56 ± 0,04

0,44 ± 0,06

9,0

107-5

20

38

19

28

0,74 ± 0,04

0,54 ± 0,08

20,0

107-6

27

42

22

30

0,80 ± 0,05

0,65 ± 0,08

27,0

Примечание. Крышки к широким тиглям подбираются из крышек к высоким тиглям:

тиглю № 107-1 соответствует крышка № 101-5 массой 3,2 г;

     »      № 107-2           »                   »       № 101-9      »      5,1 г;

     »      № 107-3           »                   »       № 101-10    »      6,0 г;

     »      № 107-4           »                   »       № 103-5      »      2,7 г;

     »      № 107-5           »                   »       № 103-9      »      4,1 г;

     »      № 107-6           »                   »       № 103-10    »      5,2 г.

Микротигли из платины или золота

Изделие № 108

Черт. 9

Таблица 9

Номера изделий

Вместимость, см3

D

d

H

Масса, г

мм

Из платины

108-1

0,3

8

5

8,5

0,5

108-2

0,7

10

6

11

1,0

108-3

1,2

12

8

14

1,5

108-4

2,3

15

10

17

2,1

Из золота

108-5

0,3

8

5

8,5

0,5

108-6

0,7

10

6

11

0,9

108-7

1,2

12

8

14

1,3

108-8

2,3

15

10

17

1,9

Крышки к микротиглям из платины или золота

Изделие № 109

Черт. 10

Таблица 10

Номера изделий

D

d

h

K

Масса, г

 

мм

Из платины

109-1

10

7

1,5

9

0,3

109-2

13

9

1,8

10

0,5

109-3

15

11

2,0

12

0,7

109-4

18

14

2,0

15

1,0

Из золота

109-5

10

7

1,5

9

0,3

109-6

13

9

1,8

10

0,5

109-7

15

11

2,0

12

0,6

109-8

18

14

2,0

15

0,9

Тигли из платины с поддоном и отверстиями в дне

Изделие № 110

Черт. 11

Таблица 11

Номера изделий

D

D

H

h

δ0 (пред. откл. ±0,03)

δ (пред. откл. ±0,05)

Масса, г

мм

110-1

26

18

26

6

0,4

0,3

19,0

110-2

32

18

38

7

0,4

0,3

26,0

Примечание. Тиглю № 110-1 соответствует крышка № 101-4 массой 2,7 г; тиглю № 110-2 соответствует крышка № 101-7 массой 3,8 г.

(Измененная редакция, Изм. № 1, 2).

Тигли конические с крышкой из платины

Изделие № 111

Масса 34 г

Черт. 12

Изделие № 112

Масса 40 г

Черт. 13

Тигли конические с отверстиями в дне из платины

Изделие № 113

Масса 28 г.

Черт. 14

Чашки со сферическим дном из платины или серебра

Изделия № 115 и № 116

Черт. 15

Таблица 12

Номера изделий

Вместимость, см3

D

H

δ0

δ

Масса, г

мм

Из платины

115-1

16

37

20

0,20 ± 0,02

0,16 ± 0,03

8,5

115-2

32

47

24

0,24 ± 0,02

0,17 ± 0,04

16,0

115-3

63

60

29

0,28 ± 0,02

0,19 ± 0,04

28,0

115-4

100

70

34

0,30 ± 0,02

0,21 ± 0,04

43,0

115-5

160

80

40

0,32 ± 0,03

0,22 ± 0,05

61,0

115-6

225

90

45

0,33 ± 0,03

0,24 ± 0,05

80,0

115-7

325

100

52

0,34 ± 0,03

0,24 ± 0,05

105,0

115-8

450

110

58

0,38 ± 0,03

0,27 ± 0,05

150,0

115-9

550

120

60

0,40 ± 0,03

0,27 ± 0,05

180,0

115-10

825

142

70

0,40 ± 0,03

0,28 ± 0,05

255,0

115-11

1200

156

78

0,45 ± 0,03

0,30 ± 0,05

335,0

Из серебра

116-1

16

37

20

0,40 ± 0,03

0,30 ± 0,05

8,5

116-2

32

47

24

0,48 ± 0,03

0,32 ± 0,05

16,0

116-3

63

60

29

0,56 ± 0,03

0,37 ± 0,05

29,0

116-4

100

70

34

0,60 ± 0,04

0,39 ± 0,06

42,0

116-5

160

80

40

0,64 ± 0,04

0,44 ± 0,06

60,0

116-6

225

90

45

0,66 ± 0,04

0,48 ± 0,06

82,0

116-7

325

100

52

0,70 ± 0,04

0,48 ± 0,06

105,0

116-8

450

110

58

0,80 ± 0,04

0,53 ± 0,08

150,0

116-9

550

120

60

0,82 ± 0,04

0,54 ± 0,08

175,0

116-10

825

142

70

0,84 ± 0,05

0,62 ± 0,10

255,0

116-11

1200

156

78

0,90 ± 0,05

0,66 ± 0,10

335,0

Чашки со сферическим дном из платины с усиленной кромкой (отбортовкой)

Изделие № 117

Черт. 16

Таблица 13

Номера изделий

Вместимость, см3

D

H

δ0 (пред. откл. ±0,03)

δ

Масса, г

мм

117-1

16

37

20

0,20

0,16 ± 0,04

10

117-2

32

47

24

0,24

0,17 ± 0,04

18

117-3

63

60

29

0,28

0,19 ± 0,04

32

117-4

100

70

34

0,30

0,21 ± 0,04

50

117-5

160

80

40

0,32

0,22 ± 0,05

68

117-6

225

90

45

0,33

0,24 ± 0,05

88

117-7

325

100

52

0,34

0,24 ± 0,06

115

117-8

450

110

58

0,38

0,27 ± 0,06

162

117-9

550

120

60

0,40

0,27 ± 0,06

194

117-10

825

142

70

0,42

0,28 ± 0,07

281

117-11

1200

156

78

0,45

0,30 ± 0,08

365

Примечание. По требованию потребителя чашки № 117-1 - 117-8 могут изготовлять из сплавов марок ПлИ-5 или ПлРд-7, а также из платины с утолщенной стенкой, равной 1,5δ и дном 1,5δ0.

Чашки из платины или серебра

Изделия № 118 и № 119

Черт. 17

Таблица 14

Номера изделий

Вместимость, см3

D

H

δ0

δ

Масса, г

мм

Из платины

118-1

18

40

18

0,20 ± 0,02

0,16 ± 0,03

10,0

118-2

34

52

20

0,24 ± 0,02

0,18 ± 0,03

19,0

118-3

65

63

25

0,26 ± 0,02

0,19 ± 0,03

32,0

118-4

115

75

31

0,28 ± 0,02

0,21 ± 0,03

51,0

118-5

200

90

35

0,30 ± 0,02

0,21 ± 0,03

72,0

118-6

280

100

41

0,30 ± 0,02

0,22 ± 0,04

88,0

118-7

400

115

45

0,34 ± 0,02

0,24 ± 0,04

135,0

118-8

550

127

51

0,36 ± 0,02

0,25 ± 0,05

165,0

Из серебра

119-1

18

40

18

0,40 ± 0,03

0,30 ± 0,05

10,0

119-2

34

52

20

0,48 ± 0,03

0,36 ± 0,05

19,0

119-3

65

63

25

0,56 ± 0,03

0,40 ± 0,05

31,0

119-4

115

75

31

0,56 ± 0,03

0,41 ± 0,05

47,0

119-5

200

90

35

0,62 ± 0,03

0,45 ± 0,05

72,0

119-6

280

100

41

0,65 ± 0,03

0,43 ± 0,07

90,0

119-7

400

115

45

0,70 ± 0,03

0,48 ± 0,08

133,0

119-8

550

127

51

0,72 ± 0,03

0,48 ± 0,08

162,0

Чашки из платины с усиленной кромкой (отбортовкой)

Изделие № 120

Черт. 18

Таблица 15

Номера изделий

Вместимость, см3

D

H

δ0 (пред. откл. ±0,03)

δ

Масса, г

мм

120-1

13

40

18

0,20

0,16 ± 0,04

11,0

120-2

34

52

20

0,24

0,18 ± 0,04

21,0

120-3

65

63

25

0,26

0,19 ± 0,05

33,0

120-4

115

75

31

0,28

0,21 ± 0,05

52,0

120-5

200

90

35

0,30

0,21 ± 0,05

78,0

120-6

280

100

41

0,30

0,22 ± 0,05

95,0

120-7

400

115

45

0,34

0,24 ± 0,05

144,0

120-8

550

127

51

0,36

0,24 ± 0,05

179,0

Примечание. По требованию потребителя чашки № 120-1 - 120-8 могут изготовлять из сплавов марок ПлИ-5 или ПлРд-7, а также из платины с утолщенной стенкой, равной 1,5δ и дном, равным 1,5δ0.

Чашки для сжигания из платины

Изделие № 121

Черт. 19

Таблица 16

Номера изделий

Вместимость, см3

D

H

Масса, г

мм

121-1

10

35

12

10,0

121-2

45

50

23

23,0

Чашки конические из платины

Изделие № 122

Черт. 20

Таблица 17

Номера изделий

Вместимость, см3

D

d

H

Масса, г

мм

122-1

30

50

45

15

18,0

122-2

58

60

54

18

26,0

122-3

80

70

61

21

32,0

Воронки из платины

Изделие № 123

Черт. 21

Таблица 18

Номера изделий

D

d

H

h

δ

δ0

Масса, г

мм

123-1

40

4

80

31

0,25 ± 0,04

0,35 ± 0,04

19,0

123-2

50

5

100

39

0,34 ± 0,05

0,35 ± 0,04

35,0

123-3

60

6

120

47

0,39 ± 0,06

0,50 ± 0,05

58,0

123-4

70

7

140

55

0,53 ± 0,06

0,50 ± 0,05

110,0

Воронки с цилиндром из платины

Изделие № 124

Черт. 22

Таблица 19

Номера изделий

D

H

h

δ (пред. откл. ±0,06)

Масса, г

мм

124-1

60

30

25

0,41

113,0

124-2

80

40

35

0,38

175,0

124-3

100

40

45

0,36

245,0

Воронки с цилиндром и решеткой из платины

Изделие № 125

Черт. 23

Таблица 20

Номера изделий

Вместимость, см3

D

h

h1

H

d

δ

δ0

s

d1

Масса, г

мм

125-1

55

56

24

25

100

6

0,25 ± 0,04

0,35 ± 0,04

1,5

1,0

70,0

125-2

120

72

30

32

127

8

0,29 ± 0,05

0,35 ± 0,04

1,75

1,25

125,0

125-3

225

92

35

41

156

10

0,35 ± 0,06

0,5 ± 0,05

2,0

1,5

240,0

125-4

450

120

40

54

194

12

0,44 ± 0,08

0,5 ± 0,05

2,25

1,75

510,0

Стаканы цилиндрические из платины или серебра

Изделие № 126

Черт. 24

Таблица 21

Номера изделий

Вместимость, см3

D

H

δ0

δ

Масса, г

мм

Из платины

126-1

100

40

80

0,33 ± 0,03

0,28 ± 0,04

68,0

126-2

150

45

96

0,40 ± 0,03

0,33 ± 0,04

110,0

126-3

240

55

106

0,43 ± 0,03

0,40 ± 0,04

175,0

126-4

480

75

113

0,48 ± 0,03

0,44 ± 0,04

285,0

126-5

950

100

125

0,60 ± 0,04

0,55 ± 0,05

560,0

Из серебра

126-6

100

40

80

0,9 ± 0,03

0,77 ± 0,05

92,0

126-7

150

45

96

0,9 ± 0,03

0,77 ± 0,05

125,0

126-8

240

55

106

0,9 ± 0,03

0,77 ± 0,05

175,0

126-9

480

75

113

1,0 ± 0,04

0,83 ± 0,06

285,0

126-10

950

100

125

1,0 ± 0,04

0,83 ± 0,06

425,0

Стаканы конические из платины или серебра

Изделие № 127

Черт. 25

Таблица 22

Номера изделий

Вместимость, см3

D

d

H

Масса, г

мм

Из платины

127-1

20

32

25

40

135,0

127-2

45

40

30

60

235,0

127-3

90

48

35

80

365,0

Из серебра

127-4

20

32

25

40

65,0

127-5

45

40

30

60

115,0

127-6

90

48

35

80

180,0

Колбы круглодонные низкогорлые из платины

Изделие № 128

Черт. 26

Таблица 23

Номера изделий

Вместимость, см3

D

d

d1

H

δ0 (пред. откл. ±0,03)

δ

Масса, г

мм

128-1

30

40

16

19

60

0,38

0,31 ± 0,06

43,0

128-2

60

50

16

19

75

0,40

0,32 ± 0,06

58,0

128-3

100

60

18

21

90

0,43

0,32 ± 0,06

95,0

128-4

200

75

23

26

110

0,46

0,33 ± 0,06

155,0

128-5

300

86

25

28

128

0,55

0,37 ± 0,07

235,0

128-6

550

102

28

31

152

0,65

0,43 ± 0,1

395,0

Колбы круглодонные высокогорлые из платины

Изделие № 129

Черт. 27

Таблица 24

Номера изделий

Вместимость, см3

D

d

d1

H

δ0 (пред. откл. ±0,03)

δ

Масса, г

мм

129-1

30

40

16

19

85

0,38

0,31 ± 0,06

52,0

129-2

60

50

16

19

110

0,40

0,32 ± 0,06

71,0

129-3

100

60

18

21

140

0,43

0,32 ± 0,06

115,0

129-4

200

75

23

26

160

0,46

0,33 ± 0,06

180,0

129-5

300

86

25

28

190

0,55

0,37 ± 0,07

276,0

129-6

550

102

28

31

215

0,65

0,43 ± 0,1

458,0

Колбы конические из платины или палладия

Изделие № 130

Черт. 28

Таблица 25

Номера изделий

Вместимость, см3

D

d

d1

d2

H

h

δ (пред. откл. ±0,05)

Масса, г

мм

Из платины

130-1

45

46

26

21,5

19,5

70

20

0,6

105,0

130-2

90

60

26

21,5

19,5

90

20

0,6

165,0

130-3

160

70

26

21,5

19,5

110

20

0,6

235,0

130-4

280

85

30

25,5

22,5

134

24

0,65

385,0

130-5

400

98

30

25,5

22,5

154

24

0,7

515,0

Из палладия

130-6

45

46

26

21,5

19,5

70

20

0,6

61,0

130-7

90

60

26

21,5

19,5

90

20

0,6

96,0

130-8

160

70

26

21,5

19,5

110

20

0,6

136,0

130-9

280

85

30

25,5

22,5

134

24

0,65

220,0

130-10

400

98

30

25,5

22,5

154

24

0,7

300,0

(Измененная редакция, Изм. № 2).

Пробки к коническим колбам из платины или палладия

Изделие № 130

Черт. 29

Таблица 26

Номера изделий

D

d

H

h

Масса, г

мм

Из платины

130-11

25

18,2

31

20

33,0

130-12

29

21,5

35

24

46,0

Из палладия

130-13

25

18,2

31

20

19,0

130-14

29

21,5

35

24

27,0

Примечание. Колбам № 130-1, 130-2, 130-3 соответствует пробка № 130-11; колбам № 130-4, 130-5 соответствует пробка № 130-12; колбам № 130-6, 130-7, 130-8 соответствует пробка № 130-13; колбам № 130-9, 130-10 соответствует пробка № 130-14.

(Измененная редакция, Изм. № 2).

Пробирки и чехлы из платины, палладия, золота, серебра и платинородиевого сплава марки ПлРд-7

Изделие № 131

Черт. 30

Таблица 27

Номера изделий

D

δ

L

Масса изделий, г (из платины)

мм

131-1

2,0

0,1

25

0,3

131-2

2,0

0,1

50

0,6

131-3

2,0

0,2

50

1,2

131-4

2,6

0,2

50

1,6

131-5

2,6

0,3

50

2,3

131-6

3,0

0,3

40

2,2

131-7

3,0

0,2

50

1,9

131-8

4,0

0,3

25

1,9

131-9

6,0

0,5

550

102,0

131-10

8,0

0,5

350

89,0

131-11

10,0

0,5

100

32,4

131-12

10,0

0,5

200

64,4

131-13

12,0

0,5

80

80,9

131-14

14,0

0,5

200

91,5

131-15

15,0

0,5

200

97,5

131-16

16,0

0,5

100

52,0

131-17

17,0

1,0

350

379,0

131-18

17,0

1,0

430

465,0

131-19

20,0

0,5

200

132,0

131-20

25,0

0,5

200

166,0

Примечания:

1. Изделия № 131-1 - 131-8 изготовляют без развальцовки.

2. Маркируются только изделия № 131-11 - 131-20.

Крышки из золота

Изделие № 132

Черт. 31

Таблица 28

Номера изделий

D

d

δ0 (пред. откл. ±0,04)

δ (пред. откл. ±0,04)

Масса, г

мм

132-1

50

38

0,3

0,23

14,0

132-2

50

38

0,4

0,32

19,0

132-3

66

51

0,4

0,30

30,0

Изделие № 133

Масса 52 г

Черт. 32

Б. Принадлежности лабораторные

Лодочки для элементарного анализа из платины

Изделие № 200

Черт. 33

Таблица 29

Номера изделий

L

B

Масса, г

мм

200-1

40

8

5,6

200-2

50

8

6,7

200-3

60

8

8,4

200-4

70

8

9,4

200-5

40

10

6,0

200-6

50

10

7,2

200-7

60

10

9,0

200-8

70

10

10,0

Лодочки для сжигания из платины

Изделие № 201

Черт. 34

Таблица 30

Номера изделий

L, мм

Масса, г

201-1

40

6,5

201-2

50

7,5

201-3

60

9,2

201-4

70

10,5

Микролодочки из платины

Изделие № 202

Черт. 35

Таблица 31

Номера изделий

B

H

L

R

Масса, г

мм

202-1

5

4

15

1,5

1,0

202-2

5

4

18

2,0

1,2

202-3

5

4

20

2,0

1,4

202-4

5

4

25

2,5

1,6

202-5

6

5

30

2,5

2,4

Ящики для сжигания из платины

Изделие № 203

Черт. 36

Таблица 32

Номера изделий

А

B

Масса, г

мм

203-1

50

30

16,0

203-2

55

35

20,0

203-3

60

40

23,0

Треугольники с раздвижными концами из платины или палладия

Изделие № 205

Черт. 37

Таблица 33

Номера изделий

l

d

Масса, г

мм

из платины

из палладия

205-1

60

1,2

4,8

2,8

205-2

88

1,2

6,8

3,9

205-3

95

1,2

7,5

4,3

205-4

115

1,5

13,5

7,8

205-5

120

1,5

14,2

8,2

205-6

148

1,5

17,5

10,0

Треугольники с оплавленными концами из платины или палладия

Изделие № 206

Черт. 38

Таблица 34

Номера изделий

а

b

d

Масса, г

мм

из платины

из палладия

206-1

35

20

1,2

5,6

3,2

206-2

40

20

1,2

5,9

3,4

206-3

50

20

1,2

6,6

3,8

206-4

60

22

1,5

12,0

6,9

206-5

70

22

1,5

13,0

7,5

206-6

80

22

1,5

14,2

8,2

Ложки из платины

Изделие № 207

Черт. 39

Таблица 35

Номера изделий

D

H

L

l

Масса, г

мм

207-1

10

5

40

25

3,0

207-2

12

6

40

25

3,8

207-3

16

7,5

50

35

5,8

207-4

20

10

50

35

8,5

Примечание. Пайка ручки к полусфере производится припоем марки ЗлПдПл 60-30-10 по ГОСТ 6835-2002.

Масса припоя для изделий № 207-1 и 207-2 не более - 0,5 г, в том числе золота - 0,3 г, палладия - 0,2 г, для изделий № 207-3 и 207-4 не более - 0,7 г, в том числе золота - 0,4 г, палладия - 0,2 г.

(Измененная редакция, Изм. № 1, 4).

Ложка-шпатель из платины

Изделие № 208

Черт. 40

Таблица 36

Номера изделий

δ

h

с

Масса, г

мм

208-1

1,5

8

1,5

67,0

208-2

3,0

12

2,0

120,0

(Измененная редакция, Изм. № 2).

Шпатели лабораторные

Изделия № 209-1, 210-1

Черт. 41

Изделия № 209-2, 210-2

Черт. 42

Изделия № 209-3, 210-3

Черт. 43

Изделия № 209-4, 210-4

Черт. 44

Изделия № 209-5, 210-5

Черт. 45

Изделия № 209-6, 210-6

Черт. 46

Изделия № 209-7, 210-7

Черт. 47

Изделия № 209-8, 210-8

Черт. 48

Изделия № 209-9, 210-9

Черт. 49

Изделия № 209-10, 210-10

Черт. 50

Изделия № 209-11, 210-11

Черт. 51

Изделия № 209-12, 210-12

Черт. 52

Изделия № 209-13, 210-13

Черт. 53

Изделия № 209-14, 210-14

Черт. 54

Таблица 37

Номера изделий

δ, мм

Масса, г

Номера изделий

δ, мм

Масса, г

Из платины

Из серебра

209-1

0,8 ± 0,04

8,5

210-1

1,2 ± 0,05

6,1

209-2

1,0 ± 0,05

8,3

210-2

1,5 ± 0,05

6,1

209-3

0,8 ± 0,05

8,8

210-3

1,2 ± 0,05

6,4

209-4

0,65 ± 0,04

7,2

210-4

1,0 ± 0,05

5,3

209-5

1,0 ± 0,05

17,7

210-5

1,5 ± 0,06

13,0

209-6

1,0 ± 0,05

9,9

210-6

1,5 ± 0,06

7,3

209-7

1,0 ± 0,05

10,5

210-7

1,5 ± 0,06

7,8

209-8

1,0 ± 0,05

9,8

210-8

1,5 ± 0,06

7,3

209-9

1,0 ± 0,05

7,6

210-9

1,5 ± 0,06

5,6

209-10

1,0 ± 0,05

4,4

210-10

1,5 ± 0,06

3,2

209-11

1,0 ± 0,05

4,5

210-11

1,5 ± 0,06

3,3

209-12

1,0 ± 0,05

4,7

210-12

1,5 ± 0,06

3,5

209-13

1,0 ± 0,05

4,3

210-13

1,5 ± 0,06

3,2

209-14

2,5 ± 0,08

55,0

210-14

3,0 ± 0,10

32,2

Капилляры из платины

Изделие № 211

Черт. 55

Таблица 38

Номера изделий

D

d (пред. откл. ±0,03)

L

Масса, г

мм

211-1

1,95

0,80

300

16,0

211-2

2,25

0,85

120

9,0

211-3

6,94

6,7

26

1,2

211-4

8,40

8,2

26

1,4

Изделие № 212

Масса 16 г

Черт. 56

Изделие № 213

Черт. 57

Таблица 39

Номера изделий

d

d1

Масса, г

мм

213-1

2,0

0,5

32,0

213-2

2,4

0,9

32,2

213-3

2,5

1,0

32,3

213-4

2,6

1,1

32,4

Наконечники пера из сплава марки ПлИ-10

Изделие № 214

Черт. 58

Номера изделий

D (пред. откл. -0,05)

d (пред. откл. ±0,03)

Масса, 100 шт., г

мм

214-1

0,6

0,2

2,3

214-2

0,7

0,30

3,1

Изделие № 215

Масса 100 шт. 3,5 г

Черт. 59

Конус фильтровальный из платины

Изделие № 216

Масса 2,4 г

Черт. 60

В. Аппаратура для электролиза

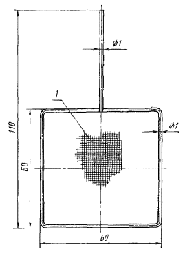
Электроды сетчатые цилиндрические из платины

Изделие № 300

1 - сетка из проволоки диаметром 0,10-0,01 мм, 1024 отверстия на 1 см2; 2 - стеклянные изоляторы по окружности (3 шт.) на платиновых стержнях диаметром 0,8 мм.

(Измененная редакция, Изм. № 2).

Черт. 61

Примечание. Допускается прогиб сетки по образующей цилиндра.

Таблица 41

Номера изделий

d

d1

d2

Масса, г

мм

катода

анода

300-1

1,0

1,4

-

17,0

-

300-2

1,2

1,8

-

23,0

-

300-3

1,0

-

1,2

-

13,0

300-4

1,2

-

1,5

-

16,0

Примечание. Катоду № 300-1 соответствует анод № 300-3; катоду № 300-2 соответствует анод № 300-4.

(Новая редакция, Изм. № 2, 4).

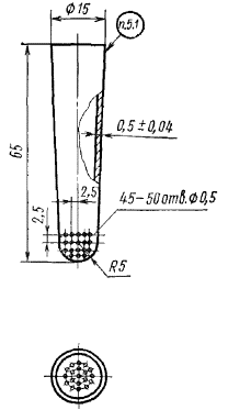
Электроды сетчатые со спиралью из платины

Изделие № 301

Изделие № 301-1. Масса 18,2 г    Изделие № 301-2. Масса 8,3 г

Масса 26,5 г

1 - сетка из проволоки диаметром 0,10-0,01 мм, 1024 отверстия на 1 см2.

Черт. 62

Примечание. Допускается перегиб сетки по образующей цилиндра.

(Измененная редакция, Изм. № 2).

Изделие № 302-1. Масса 1,3 г      Изделие № 302-2. Масса 1,0 г

Масса 2,3 г

1 - сетка из проволоки диаметром 0,10-0,01 мм, 1024 отверстия на 1 см2; 2 - стеклянные изоляторы диаметром 1,5 мм (3 шт.). Прикрепляются платиновой проволокой диаметром 0,3 мм

Черт. 63

Примечание. Допускается прогиб сетки по образующей цилиндра.

(Измененная редакция, Изм. № 2).

Электроды к электродиализаторам из платины

Изделие № 303

Масса 9,5 г

1 - сетка из проволоки диаметром 0,10-0,01 мм, 1024 отверстия на 1 см2

Черт. 64

Электроды сетчатые плоские из платины

Изделие № 304

Масса 8,0 г

1 - сетка из проволоки диаметром 0,10-0,01 мм, 1024 отверстия на 1 см2

Черт. 65

Электроды из фольги со спиральным анодом из платины

Изделие № 305

Изделие № 305-1. Масса 8,5 г      Изделие № 305-2. Масса 6,5 г

Масса 15 г

1 - фольга толщиной 0,05 мм

Черт. 66

(Измененная редакция, Изм. № 2).

Электроды тигельные из платины

Изделие № 306

Масса 30 г

Черт. 67

Электроды чашевидные из платины

Изделие № 307

Масса 26 г

Черт. 68

Изделие № 308

Масса 18 г

Черт. 69

Электроды конические со спиралью из платины

Изделие № 309

Изделие № 309-1. Масса 19,0 г    Изделие № 309-2. Масса 13,0 г

Масса 32 г

Черт. 70

Примечание. Пайка к конусу производится припоем марки ЗлПдПл 60-30-10 по ГОСТ 6835-2002. Масса припоя не более - 1,0 г, в том числе золота - 0,6 г, палладия - 0,3 г.

(Измененная редакция, Изм. № 2, 4).

Электроды проволочные со спиралью из платины

Изделие № 310

Масса 15 г

Черт. 71

Электроды дисковые из платины

Изделие № 311

Масса 12 г

Черт. 72

Электроды тарельчатые из платины

Изделие № 312

Масса 13,5 г

Черт. 73

Электроды дисковые из платины

Изделие № 316

Черт. 74

Таблица 42

Номера изделий

D

δ

d

l

Масса, г

мм

316-1

4

1

1

80

1,6

316-2

5

0,2

0,3

30

0,2

316-3

5

1

1

80

1,8

316-4

6

1

1

250

4,8

316-5

10

0,3

0,3

30

0,6

316-6

10

1

1

35

2,3

316-7

20

2

2

80

18,7

Электроды пластинчатые из платины

Изделие № 317

Черт. 75

Таблица 43

Номера изделий

B

H

δ

d

L

Масса, г

мм

317-1

5

5

0,2

1,0

25

0,4

317-2

5

10

0,3

0,3

40

0,4

317-3

5

10

0,6

1,0

30

1,0

317-4

10

10

0,3

0,3

40

0,7

317-5

10

10

0,6

0,8

22

1,4

317-6

10

10

1,0

1,0

85

3,4

317-7

10

10

1,5

2,0

210

17,0

317-8

15

25

1,0

2,0

100

13,8

317-9

20

15

2,0

3,5

162

43,8

317-10

25

20

1,5

3,0

135

34,0

317-11

30

50

1,0

2,0

200

42,4

Изделие № 318

Масса 4,2 г

Черт. 76

Изделие № 319

Таблица 44

Номера изделий

А

Б

H

d

l

Масса, г

мм

319-1

10

10

0,3

0,3

30

0,7

319-2

10

10

0,6

0,6

15

1,4

319-3

10

10

1,5

2

350

26,8

Черт. 77

Г. Аппаратура лабораторная.

Ампула с пробкой

Изделия № 400 - 402

Черт. 78

Примечание. Соединение деталей серебряных ампул пайкой припоем марки ПСр-70 по ГОСТ 19738-74. Масса припоя не более - 1,5 г, в том числе серебра - 1,1 г.

Таблица 45

Номера изделий

Вместимость, см3

Металл

Масса, г

400

 

Платина

20,0

401

8

Палладий

12,0

402

 

Серебро

10,0

Перегонные аппараты из платины или палладия

Изделия № 403, 404

Черт. 79

Примечание. Пробку притереть по горловине колбы.

Таблица 46

Номера изделий

Вместимость, см3

Металл

D

H

l

Mассa, г

мм

403-1

90

Платина

60

90

100

203,0

403-2

150

Платина

70

110

250

340,0

404-1

90

Палладий

60

90

100

133,0

404-2

150

Палладий

70

110

250

185,0

Перегонные аппараты из платины или палладия

Изделия № 407, 408

Черт. 80

Примечание. Пробку притереть по горловине колбы.

Таблица 47

Номера изделий

Вместимость, см3

Металл

D

H

l

Масса, г

мм

407-1

280

Платина

85

134

400

575,0

407-2

400

Платина

98

154

500

750,0

408-1

280

Палладий

85

134

400

325,0

408-2

400

Палладий

98

154

500

420,0

Перегонные аппараты с холодильником для плавиковой кислоты из платины или палладия

Изделия № 411, 412

Черт. 81

Примечание. Пробку притереть по горловине колбы.

Таблица 48

Номера изделий

Вместимость, см3

Металл

δ (пред. откл. ±0,05)

δ0 (пред. откл. ±0,15)

Масса, г

мм

411

550

Платина

0,65

0,5

530,0

412

550

Палладий

0,90

0,6

380,0

Калориметрическая чашка (Зубова) из платины

Изделие № 413

Масса 14 г.

Черт. 82

Примечание. Крышку пригнать по месту плотно.

Чашка из платины

Изделие № 414

Масса 18 г

Черт. 83

Пипетка из платины для взятия проб жидкостей

Изделие № 415

Масса 18 г

Черт. 84

Примечание. Пайка пипетки производится припоем марки ЗлПдПл 60-30-10 по ГОСТ 6835-2002. Масса припоя не более 1,0 г, в том числе золота - 0,6 г, палладия - 0,3 г.

(Измененная редакция, Изм. № 4)

Тигли для вискозиметра из платины и сплавов марок ПлИ-10, ПлРд-7, ПлРд-10

Изделие № 416

Черт. 85

Таблица 49

Номера изделий

Вместимость, см3

D

H

δ0

δ

a

b

h

Масса из платины, г

мм

416-1

15

25

38

1,0 ± 0,10

0,7 ± 0,05

2

2

6

54,5

416-2

40

35

50

1,0 ± 0,10

0,8 ± 0,08

2

3

4

112,5

416-3

40

35

50

1,1 ± 0,10

1,0 ± 0,10

2

2

6

136,3

416-4

50

39

47

0,5 ± 0,05

0,5 ± 0,05

1

1

13

74,0

416-5

65

40

60

1,1 ± 0,10

1,0 ± 0,10

2

2

10

187,0

416-6

75

41

61

0,6 ± 0,05

0,6 ± 0,05

2

2

10

118,2

416-7

60

41,5

50

0,8 ± 0,08

0,8 ± 0,08

2,5

3,5

5

134,0

416-8

75

42

61

1,0 ± 0,10

1,0 ± 0,10

2

3

10

199,4

416-9

70

42

61

1,5 ± 0,15

1,5 ± 0,15

2

3

10

292,0

416-10

100

42

85

2,0 ± 0,15

1,0 ± 0,10

2

3

10

292,6

416-11

100

45

70

1,1 ± 0,10

1,0 ± 0,10

2

3

10

245,7

416-12

100

45

71,2

1,0 ± 0,10

0,8 ± 0,08

2

3

10

206,2

416-13

110

45

80

1,2 ± 0,10

1,1 ± 0,10

2

3

10

301,2

416-14

95

47

61

1,0 ± 0,10

1,0 ± 0,10

2

3

10

227,1

416-15

195

50

110

1,2 ± 0,10

1,1 ± 0,10

3

3

10

450,7

416-16

185

55

90

1,5 ± 0,15

1,5 ± 0,15

2

3

10

558,9

416-17

180

60

70

1,5 ± 0,15

1,0 ± 0,10

4,5

5

10

377,8

416-18

1070

100

150

2,0 ± 0,15

2,0 ± 0,15

4

5

15

2311,0

(Новая редакция, Изм. № 2).

Шарики со стержнем для вискозиметра из платины и сплавов марок ПлИ-10 и ПлРд-10

Изделие № 418

Черт. 86

Таблица 50

Номера изделий

D

d

l

Масса из платины, г

мм

418-1

10

3

100

27,0

418-2

12

3

100

35,0

418-3

15

3,5

100

59,0

418-4

16

3,5

100

67,0

418-5

17

3,5

100

76,0

418-6

20

4

100

117,0

418-7

22

4

100

147,0

418-8

25

4

100

204,0

418-9

25

4

200

229,0

(Измененная редакция, Изм. № 2).

Приборы из платины для определения закиси железа

Изделие № 419

Вместимость 90 см3, масса 215 г

Черт. 87

Изделие № 420

Вместимость 280 см3, масса 460 г.

Черт. 88

Примечание. Пробку притереть по горловине колбы.

Д. Разные изделия

Наконечники для пинцетов из платины

Изделие № 505

Масса одной пары 2,4 г

Черт. 89

Наконечники для щипцов из платины

Изделие № 506

Черт. 90

Таблица 51

Номера изделий

L

H

C

r

Масса, г, (одной пары)

мм

506-1

15

6

5

2,5

5,9

506-2

18

4,5

4,5

2,2

5,5

506-3

30

7

7

3,5

14,8

506-4

40

7

7

3,5

20,0

506-5

60

10

10

5,0

44,0

Мешалка с винтовыми лопастями из платины и сплава марки ПлРд-7

Изделие № 507

Черт. 91

Таблица 51а

Номера изделий

l, мм

Масса из платины, г

507-1

140

64,1

507-2

250

93,7

(Измененная редакция, Изм. № 2).

Тигли с крышками для дериватографа из платины или сплава марки ПлРд-7

Изделие № 508

Крышка

Тигель

Тигель

Черт. 92

Таблица 52

Номера изделий

D

H

d

d1

d2

h

Масса изделий из платины, г

мм

тигля

крышки

508-1

10,0

12,5

7,5

-

-

-

4,9

-

508-2

11,0

14,0

10,0

-

-

-

6,0

-

508-3

14,0

17,5

10,5

-

-

-

8,4

-

508-4

17,5

22,5

13,0

-

-

-

12,5

-

508-5

20,0

22,5

15,5

-

-

-

16,3

-

508-6

-

-

-

11,0

8,5

1,5

-

0,8

508-7

-

-

-

12,0

9,5

1,5

-

1,2

508-8

-

-

-

15,5

12,5

2,0

-

1,6

508-9

-

-

-

19,5

16,0

2,5

-

2,4

508-10

-

-

-

21,0

18,5

2,5

-

3,4

Примечание. Тиглю № 508-1 соответствует крышка № 508-6, тиглю № 508-2 соответствует крышка № 508-7, тиглю № 508-3 соответствует крышка № 508-8, тиглю № 508-4 соответствует крышка № 508-9, тиглю № 508-5 соответствует крышка № 508-10.

(Измененная редакция, Изм. № 2).

Тигли для термографии из платины

Изделие № 509

Масса 8,3 г

Черт. 93

1.2. Масса изделий рассчитана по номинальным размерам и является справочной. Отклонения по массе не должны превышать ±5 %.

1.3. Для определения массы изделий, изготовляемых из платино-иридиевых сплавов марок. ПлИ-5, ПлИ-10 или платино-родиевых сплавов марок ПлРд-7, ПлРд-10, значения массы, указанные в табл. 1, 7, 13, 15, 49, 50, 51а, 52 должны быть умножены на:

1,002 - для сплава марки ПлИ-5;

1,004 - для сплава марки ПлИ-10;

0,952 - для сплава марки ПлРд-7;

0,932 - для сплава марки ПлРд-10.

Примеры условных обозначений

Тигель высокий из платины, изделие № 100-1:

Тигель Пл 99,8 100-1 ГОСТ 6563-75

Чашка из серебра, изделие № 119-1:

Чашка Ср 999 119-1 ГОСТ 6563-75

Анод сетчатого электрода со спиралью из платины, изделие № 301:

Анод Пл 99,8 301 ГОСТ 6563-75

Тигель для дериватографа из сплава марки ПлРд-7, изделие № 508-1:

Тигель ПлРд-7 508-1 ГОСТ 6563-75

Крышка к тиглю для дериватографа из платины, изделие № 508-7:

Крышка Пл 99,8 508-7 ГОСТ 6563-75

(Измененная редакция, Изм. № 1, 2).

2. ТЕХНИЧЕСКИЕ ТРЕБОВАНИЯ

2.1. Изделия должны быть изготовлены из благородных металлов и сплавов с химическим составом по ГОСТ 13498-79, ГОСТ 13462-79, ГОСТ 6835-2002 и ГОСТ 6836-2002 в соответствии с требованиями настоящего стандарта по технологическому регламенту, утвержденному в установленном порядке.

(Измененная редакция, Изм. № 1).

2.2. Поверхность изделий должна быть чистой, без плен, трещин, раковин, расслоений, заусенцев, вмятин, рисок и посторонних включений. Матовость, следы зачистки, риски, если они при контрольной зачистке не выводят изделия за предельные отклонения, допускаются.

2.3. Рекомендуемые области применения лабораторной посуды из платины и ее сплавов и химико-аналитические операции, для которых допускается использование платиновой посуды и изделий, приведены в приложении 1.

(Измененная редакция, Изм. № 1, 4).

2.4 Основные требования к условиям эксплуатации изделий из благородных металлов должны соответствовать приложению 2

(Измененная редакция, Изм. № 4)

3. ПРАВИЛА ПРИЕМКИ

3.1. Изделия принимают партиями. Партия должна состоять из изделий одного типа и размера, одного химического состава и быть оформлена одним документом о качестве, содержащим:

товарный знак или наименование и товарный знак предприятия-изготовителя;

условное обозначение изделия;

номер партии;

химический состав;

массу партии в граммах;

дату выпуска;

штамп технического контроля.

Масса партии не ограничивается.

(Измененная редакция, Изм. № 1).

3.2. Проверке внешнего вида и размеров подвергают каждое изделие.

3.3. Химический состав материала изделий устанавливается на основе анализа пробы, отбираемой от каждой плавки.

3.4. При получении неудовлетворительных результатов по внешнему виду, размерам или химическому составу изделия, не удовлетворяющие требованиям настоящего стандарта, бракуются.

4. МЕТОДЫ ИСПЫТАНИЙ

4.1. Проверка поверхности изделий осуществляется внешним осмотром без применения увеличительных приборов.

4.2. Проверка размеров изделий производится измерительным инструментом, обеспечивающим требуемую точность.

4.3. Химический состав определяют по ГОСТ 12225-80, ГОСТ 12226-80, ГОСТ 12556.1-82, ГОСТ 12556.2-82, ГОСТ 12559.1-82, ГОСТ 12559.2-82, ГОСТ 22864-77, ГОСТ 27973.0-88, ГОСТ 27973.1-88, ГОСТ 27973.2-88, ГОСТ 27973.3-88, ГОСТ 28353.0-89, ГОСТ 28353.1-89, ГОСТ 28353.2-89, ГОСТ 28353.3-89.

(Измененная редакция, Изм. № 2).

5. МАРКИРОВКА, УПАКОВКА, ТРАНСПОРТИРОВАНИЕ И ХРАНЕНИЕ

5.1. На каждом изделии должно быть нанесено клеймо с указанием марки металла и последней цифры номера изделия.

Изделия № 106-1, 106-2, 106-3, 117-1, 117-2, 117-3, 117-4, 120-1, 120-2, 120-3, 120-4 маркируют ниже отбортовки.

(Измененная редакция, Изм. № 1).

5.2. Изделия должны быть обернуты папиросной бумагой по ГОСТ 3479-75, уложены в картонные или пластмассовые коробки и упакованы в сплошные деревянные ящики.

Допускается применять другой способ и материал упаковки, обеспечивающий сохранность при транспортировании и хранении.

(Измененная редакция, Изм. № 2).

5.3. Транспортная маркировка - по ГОСТ 14192-96.

(Измененная редакция, Изм. № 1, 4).

5.4. Хранение, транспортирование и учет изделий технических из благородных металлов и сплавов должны проводиться в соответствии с порядком хранения, транспортирования и учета драгоценных металлов. Условия хранения в части воздействия климатических факторов - по ГОСТ 15150-68, группа 3 (Ж).

(Измененная редакция, Изм. № 1).

5.5, 5.6. (Исключены, Изм. № 1).

6 ГАРАНТИИ ИЗГОТОВИТЕЛЯ

6.1 Изготовитель гарантирует соответствие технических изделий требованиям настоящего стандарта при соблюдении условий транспортирования, хранения и эксплуатации, установленных настоящим стандартом.

(Измененная редакция, Изм. № 4)

ПРИЛОЖЕНИЕ 1

Рекомендуемое

(Измененная редакция, Изм. № 4)

 

ПРИМЕНЕНИЕ ЛАБОРАТОРНОЙ ПОСУДЫ ИЗ ПЛАТИНЫ И ЕЕ СПЛАВОВ

1. Рекомендуемые области применения приведены в таблице

Тип изделия

Область применения

Тигли из платины высокие

Тигли высокие с усиленной кромкой

Тигли широкие

Микротигли

Крышки к тиглям

Вскрытие проб сплавлением, спеканием, кислотным разложением.

Выпаривание, высушивание, озоление и прокаливание проб

Чашки из платины со сферическим дном

Чашки из платины со сферическим дном с усиленной кромкой

Чашки из платины плоскодонные

Чашки из платины плоскодонные с усиленной кромкой

Ящики для сжигания из платины

То же и перекристаллизация из расплавов и растворов

Тигли конические с крышкой

Вскрытие проб спеканием смесью хлорида аммония и карбоната кальция

Тигли из платины с поддоном и отверстиями в дне

Конус фильтровальный из платины

Воронки с цилиндром и решеткой

Фильтрование осадков, фильтрование с отсасыванием

Колбы круглодонные

Колбы конические

Пробки к коническим колбам

Кислотное разложение проб

Лодочки для сжигания

Лодочки для элементного анализа

Микролодочки

Сожжение проб органических веществ в элементном анализе

Шпатели лабораторные

Ложки - шпатели из платины

Перемешивание проб в операциях кислотного разложения, сплавления, спекания

Капилляры из платины

Неорганический микроанализ, анализ горючих газов сожжением

Электроды сетчатые цилиндрические

Электроды сетчатые со спиралью

Микроэлектроды

Весовой электроанализ, кулонометрия с постоянным потенциалом

Электроды сетчатые

Электроды пластинчатые

Электродиализ

Электроды проволочные

Вольтамперометрия, амперометрические титрование, электрофорез

Электроды дисковые

Кондуктометрия, вольтамперометрия

Аппараты перегонные из платины различной конструкции, в том числе с холодильником

Очистка дистилляцией реактивов используемых в анализе главным образом фтористоводородной кислоты

Пипетка из платины для взятия проб жидкостей

Дозирование проб фтористоводородной кислоты

Приборы из платины для определения закиси железа

Разложение проб смесью фтористоводородной и серной кислот

Наконечники для пинцетов и щипцов из платины

Все операции, связанные с нагревом платиновой посуды

Примечания:

1. Форму и размер посуды или изделия выбирают в соответствии с характером аналитического процесса и массой пробы.

2. В аналитических операциях используют также платиновую проволоку по ГОСТ 18389-73, фольгу по ГОСТ 24353-80, листы и полосы по ГОСТ 24718-81, диски, сетки, трубки капиллярные по нормативно-технической документации.

2. Химико-аналитические операции, для которых допускается использование платиновой посуды и изделий

2.1. Платиновую посуду и изделия применяют при химико-аналитических операциях во фторидных системах.

2.1.1. При разложении фтористоводородной кислотой (смесью фтористоводородной и хлорной кислот) природных и промышленных силикатных материалов: пород, минералов, стекол, керамических материалов, цемента и др.; руд, минералов и концентратов бериллия, ниобия, тантала, титана, циркония, редкоземельных элементов, урана, хрома, а также технологических продуктов на основе оксидов перечисленных элементов; сухих остатков природных и сточных вод, зол растительных и животных тканей, аэрозолей, минеральной части почв и т.д. применяют платиновые тигли, чашки, колбы, шпатели.

Потери платины в процессе разложения с фтористоводородной кислотой возможны в пределах до нескольких десятков микрограмм за одну операцию.

2.1.2. При кислотном разложении природных и промышленных материалов во фторидных системах с использованием платиновой посуды и изделий допускается применение следующих бинарных смесей кислот: фтористоводородная - хлористоводородная кислота; фтористоводородная - хлорная кислота; фтористоводородная - серная кислота; фтористоводородная - азотная кислота, свободная от примесей хлоридов, а также тройных смесей кислот фтористоводородная - азотная - серная кислота и фтористоводородная - азотная - хлорная кислота.

Категорически запрещается использование систем с хлористоводородной кислотой в присутствии окислителей, в том числе нитратов, пиролюзита и других окислителей, вызывающих выделение хлора, разрушающего платину.

Непременное условие применения систем с хлорной кислотой - отсутствие в анализируемых пробах восстановителей: органических веществ, гипофосфитов, соединений сурьмы (III) и других восстановителей, вызывающих разложение хлорной кислоты со взрывом.

Потери платины при кислотном разложении в бинарных и тройных смесях кислот не должны превышать 1 - 3 мг за одну операцию.

2.1.3. В операциях сплавления с солями и комплексными соединениями фтористоводородной кислоты: фторидами и бифторидами калия и аммония, фторосиликатом натрия, фтороборатом натрия, смесью фторида калия или фторида натрия с пиросульфатом калия или натрия, а также при обработке проб смесью борной кислоты с фторидами натрия или лития при температуре до 950 - 1000 °С используют платиновые тигли и чашки.

2.1.4. При вскрытии фторосодержащих неорганических материалов методом пирогидролиза используют платиновые лодочки и трубки.

2.2. В сульфатных системах посуду из платины применяют для разложения оксидов, фторидов, карбонатов, фосфатов, боридов, некоторых силикатов и ряда других соединений нагреванием с серной кислотой; вскрытия многочисленных минералов титана, ниобия, тантала, ванадия, вольфрама, циркония, алюминия, хрома и др., в том числе рутила, титаномагнетита, ильменита, колумбита, танталита, некоторых шпинелей; разложения прокаленных оксидов титана, ниобия, тантала, циркония, железа, алюминия, бериллия и др. сплавлением с бисульфатами и пиросульфатами аммония, натрия и калия.

Потери платины при сплавлении с бисульфатами и пиросульфатами щелочных металлов составляют 1 - 3 мг на одну операцию.

2.3. При вскрытии проб спеканием и сплавлением с карбонатами щелочных металлов: карбонатом натрия, карбонатом натрия-калия, гидрокарбонатом натрия, карбонатом калия и гидрокарбонатом калия применяют тигли из платины. При температуре ниже 1300 °С потери в весе платины не превышают 1 - 2 мг за одно сплавление.

2.4. При вскрытии проб силикатных пород и минералов, минералов и руд титана, ниобия, тантала, циркония, марганца, хрома и др. природных и многих промышленных материалов сплавлением с бурой, борным ангидридом, метаборатом лития, а также при вскрытии проб сплавлением со смесью буры и соды используют тигли из платины и сплава платины с золотом (ПлЗл-5) по нормативно-технической документации, утвержденной в установленном порядке.

Потери платины при сплавлении с боратными плавнями около 2 мг за одну операцию, а при сплавлении со смесью буры и соды 2 - 5 мг за одну операцию.

2.5. Платиновую посуду применяют при выпаривании и концентрировании проб природных вод, технологических растворов, органических растворителей, минеральных кислот, а также перекристаллизации реактивов.

2.6. Платиновые тигли и чашки при необходимости используют для определения зольности органических и биологических материалов, почв и др., а также при озолении этих материалов в целях последующего определения химического состава золы.

(Измененная редакция, Изм. № 1).

ПРИЛОЖЕНИЕ 2

Обязательное

(Измененная редакция, Изм. № 4)

ОСНОВНЫЕ ТРЕБОВАНИЯ К УСЛОВИЯМ ЭКСПЛУАТАЦИИ ИЗДЕЛИЙ ИЗ БЛАГОРОДНЫХ МЕТАЛЛОВ

1. В термических операциях с платиновой посудой следует соблюдать меры предосторожности.

1.1. Нагрев платиновой посуды можно проводить в электрических печах в окислительной (воздушной) среде или в среде водорода, а также открытым пламенем при помощи горелок.

1.2. Посуду из платины можно прокаливать только на несветящемся пламени газовой горелки. Нельзя прокаливать платину на светящемся или коптящем пламени, а также в зоне внутреннего конуса пламени.

1.3. Процесс озоления и последующего прокаливания органических веществ, в том числе бумажных фильтров, следует проводить при условии постепенного нагревания при достаточном доступе воздуха.

1.4. Не допускается нагрев изделий из платины в печах с карборундовыми нагревательными элементами, а также на ацетиленовых горелках и в среде, содержащей углерод.

1.5. Новые платиновые изделия необходимо ставить в печь так, чтобы они не соприкасались, так как при температуре свыше 1000 °С может произойти их слипание.

1.6. Во всех случаях, когда проводят нагрев платиновой посуды, применяют щипцы и пинцеты с платиновыми наконечниками.

1.7. Серебряную посуду нельзя прокаливать и нагревать в электрических печах при температуре свыше 700 °С.

2. Во избежание повреждения тиглей, чашек и других изделий

2.1. Не допускается прокаливать в платиновой посуде:

1) соединения металлов, образующих с платиной легкоплавкие сплавы: ртуть, свинец, олово, золото, благородные металлы, медь, цинк, кадмий, алюминий, висмут, железо, а также соединения этих элементов, которые в присутствии восстановителей (материал фильтра, окись углерода, водород пламени) легко восстанавливаются до металлов;

2) неметаллы, образующие с платиной соединения, повреждающие посуду: серу, селен, теллур, фосфор, углерод, мышьяк, сурьму, бор;

3) кремниевую кислоту при температуре свыше 1200 °С.

2.2. Не допускается применять:

1) в качестве плавней - пероксид натрия, гидроксиды щелочных металлов, смесь карбонатов щелочных металлов с серой и серноватистокислым натрием при температуре свыше 500 °С;

2) для кислотного разложения - фосфорную кислоту, хлористоводородную кислоту в присутствии азотной кислоты, пироллюзита и других окислителей, вызывающих выделение хлора.

Не допускается использование платиновой посуды в операциях с царской водкой, хлорной и бромной водой, в операциях хлорирования и других, связанных с выделением свободных галоидов;

3) при пользовании посудой из серебра в качестве плавней углекислый натрий, тиосульфат натрия, пиросульфат калия, нитрат калия. Можно использовать в качестве плавней пероксид натрия, едкий натр, а также смесь пероксида натрия и углекислого натрия в соотношении 5:1.

3. Очистка посуды и изделий из благородных металлов

3.1. Очистку платиновой посуды следует производить:

кипячением с дистиллированной водой и хлористоводородной кислотой (1:1);

сплавлением с гидросульфатом или пиросульфатом калия;

сплавлением с содой и кипячением с разбавленным раствором хлористоводородной кислоты после выщелачивания сплава;

сплавлением с фтороборатом калия;

сплавлением с двойной солью хлорида магния и аммония при температуре 1100 - 1200 °С.

3.2. Электроды по окончании электролиза интенсивно промывают дистиллированной водой, затем спиртом.

3.3. Платиновые электроды с осадком цинка, окиси свинца очищают азотной кислотой.

3.4. Для правки тиглей и чашек из благородных металлов используют деревянные матрицы соответствующей формы. Для полировки платиновых изделий используют тальк, тонкодисперсную кремнекислоту и песок; предпочтительная фракция 0,043 мм.

(Введено дополнительно, Изм. № 1).

 

СОДЕРЖАНИЕ

 

 



© 2013 Ёшкин Кот :-)