Информационная система
«Ёшкин Кот»

XXXecatmenu

ГОСТ 30575-98

МЕЖГОСУДАРСТВЕННЫЙ СТАНДАРТ

 

ДИЗЕЛИ СУДОВЫЕ,
ТЕПЛОВОЗНЫЕ И ПРОМЫШЛЕННЫЕ

Методы измерения и оценки
воздушного шума

 

 

 

МЕЖГОСУДАРСТВЕННЫЙ СОВЕТ
ПО СТАНДАРТИЗАЦИИ, МЕТРОЛОГИИ И СЕРТИФИКАЦИИ

Минск

 

Предисловие

1 РАЗРАБОТАН Российской Федерацией ТК 235 «Дизели судовые, тепловозные и промышленные»

ВНЕСЕН Госстандартом России

2 ПРИНЯТ Межгосударственным Советом по стандартизации, метрологии и сертификации (Протокол № 14-98 от 12 ноября 1998 г.)

За принятие проголосовали:

Наименование государства

Наименование национального органа по стандартизации

Азербайджанская Республика

Азгосстандарт

Республика Беларусь

Госстандарт Беларуси

Грузия

Грузстандарт

Республика Казахстан

Госстандарт Республики Казахстан

Киргизская Республика

Киргизстандарт

Республика Молдова

Молдовастандарт

Российская Федерация

Госстандарт России

Республика Таджикистан

Таджикгосстандарт

Республика Узбекистан

Узгосстандарт

Украина

Госстандарт Украины

3 Стандарт соответствует ИСО 6798-95 «Поршневые двигатели внутреннего сгорания. Измерение излучаемого воздушного шума. Технический и ориентировочный методы»

4 Постановлением Государственного комитета Российской Федерации по стандартизации и метрологии от 8 апреля 1999 г. № 118 межгосударственный стандарт ГОСТ 30575-98 введен в действие непосредственно в качестве государственного стандарта Российской Федерации с 1 января 2000 г.

5 ВВЕДЕН ВПЕРВЫЕ

СОДЕРЖАНИЕ

 

МЕЖГОСУДАРСТВЕННЫЙ СТАНДАРТ

ДИЗЕЛИ СУДОВЫЕ, ТЕПЛОВОЗНЫЕ И ПРОМЫШЛЕННЫЕ

Методы измерения и оценки воздушного шума

Marine, locomotive and industrial diesel engines.

Methods of measuring and estimating the airborne noise

Дата введения 2000-01-01

1 Область применения

Настоящий стандарт распространяется на судовые, тепловозные и промышленные дизели и устанавливает технический и ориентировочный методы для определения шумовых характеристик. Стандарт является обязательным.

2 Нормативные ссылки

В настоящем стандарте использованы ссылки на следующие стандарты:

ГОСТ 8.038-94 Государственная система обеспечения единства измерений. Государственный первичный эталон и общесоюзная поверочная схема для средств измерения звукового давления в воздушной среде

ГОСТ 12.1.003-83 Система стандартов безопасности труда. Шум. Общие требования безопасности

ГОСТ 12.1.026-80 Система стандартов безопасности труда. Шум. Определение шумовых характеристик источников шума в свободном звуковом поле над звукоотражающей плоскостью. Технический метод

ГОСТ 12.1.028-80 Система стандартов безопасности труда. Шум. Определение шумовых характеристик источников шума. Ориентировочный метод

ГОСТ 10150-88 Дизели судовые, тепловозные и промышленные. Общие технические условия

ГОСТ 10448-80 Дизели судовые, тепловозные и промышленные. Правила приемки и методы испытаний

ГОСТ 17187-81 Шумомеры. Общие технические требования и методы испытаний

ГОСТ 23941-79 Шум. Методы определения шумовых характеристик. Общие требования

3 Общие требования

3.1 Настоящий стандарт предназначен для оценки и сравнения шумовых характеристик дизелей при мощности, частоте вращения и условиях окружающей среды по ГОСТ 10150.

3.2 Технический метод применяют при условиях испытаний, которые предусматривают наличие свободного звукового поля над отражающей поверхностью.

3.3 Ориентировочный метод применяют, когда условия испытаний не отвечают требованиям 3.2. Тогда возможно определение шумовых характеристик по характеристике А с меньшей точностью, чем при техническом методе.

3.4 В качестве шумовой характеристики дизелей устанавливают средние уровни звукового давления в октавных полосах частот со среднегеометрическими частотами от 63 до 8000 Гц или третьоктавных полосах частот со среднегеометрическими частотами от 100 до 10000 Гц.

3.5 Требования к измерению шума во впускном и выпускном трубопроводах установлены в приложении А.

4 Средства измерений

4.1 Для измерения уровня звукового давления следует применять шумомер не ниже 2-го класса по ГОСТ 17187.

4.2 Шумомер следует калибровать по ГОСТ 8.038 до и после проведения измерений.

5 Виды испытаний

Измерение уровней звукового давления дизелей на соответствие требованиям нормативных документов на контрольный дизель следует проводить при сертификационных, приемочных, типовых и периодических испытаниях по ГОСТ 10448 после капитального ремонта на стенде изготовителя.

6 Подготовка к проведению измерений

6.1 Условия проведения измерений - по ГОСТ 12.1.026 и ГОСТ 12.1.028.

6.2 Измерительное расстояние должно быть равно 1 м (d = 1 м).

Для ориентировочного метода допускается уменьшение измерительного расстояния до 0,5 м.

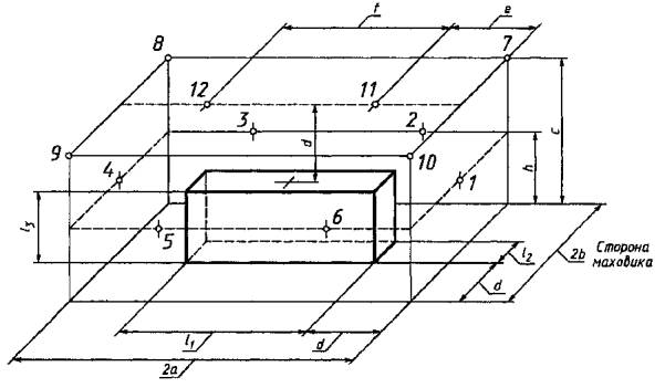
6.3 Количество и расположение микрофонов на измерительной поверхности зависят от размеров огибающего дизель параллелепипеда и определяют по таблице 1.

Таблица 1 - Размеры параллелепипеда и расположение микрофонов

Размер параллелепипеда, м

Количество микрофонов

Расположение микрофонов на измерительной поверхности

Длина l

Ширина b

Высота h

Не более 2,0

Не более 2,0

Не более 2,5

9

Рисунок 1

2,0 - 4,0

*)

Не более 2,5

12

Рисунок 2

Более 4,0

Не более 2,5

15

Рисунок 3

*)

Более 2,5

19

Рисунок 4

*) При измерении ориентировочным методом данный размер может быть любым; для технического метода данный размер должен быть меньше или равен 15 м

a = l1/2 + d; b = l2/2 + d; c = l3 + d; h = c/2.

Примечание - a, b, c, h - размеры для построения измерительной поверхности и определения расположения точек измерений

Рисунок 1 - Размещение девяти точек измерения на измерительной поверхности

a = l1/2 + d; b = l2/2 + d; c = l3 + d; h = c/2; e = a/2; f = 2e = a.

Примечание - a, b, c, h, e, f - размеры для построения измерительной поверхности и определения расположения точек измерений

Рисунок 2 - Размещение двенадцати точек измерения на измерительной поверхности

a = l1/2 + d; b = l2/2 + d; c = l3 + d; h = c/2; e = a/3; f = 2e.

Рисунок 3 - Размещение пятнадцати точек измерений на измерительной поверхности

a = l1/2 + d; b = l2/2 + d; c = l3 + d; h1 = c/4; h2 = 3/4c; e = a/3; f = 2e.

Рисунок 4 - Размещение девятнадцати точек измерений на измерительной поверхности

6.3.1 Если измерения в каких-либо из предусмотренных таблицей 1 точках невозможно из-за наличия сопутствующих стендовых механизмов, то допускается иной выбор точки измерения, максимально приближенной к вышеуказанной. Изменение расположения микрофона должно быть отмечено в протоколе испытаний.

6.3.2 Выбор и установку микрофона следует проводить таким образом, чтобы исключить неблагоприятное влияние окружающих условий, например сильное электрическое или электромагнитное поле, ветер, поток воздуха на впуске или поток отработавших газов, высокая или низкая температура окружающей среды.

6.3.3 Настройка шумомера и отсчет показаний должны соответствовать ГОСТ 12.1.026.

6.4 Дизель, предназначенный для проведения испытаний, должен соответствовать нормативным документам на конкретный дизель.

6.5 Если дизель испытывают с передачей или приводным механизмом, или испытательный стенд оснащен другим дополнительным оборудованием, не входящим в комплектацию дизеля, то это должно быть отражено в протоколе испытаний, а шум, излучаемый перечисленными механизмами и оборудованием, должен рассматриваться как посторонний. На стенде должны быть приняты соответствующие меры к снижению постороннего шума.

7 Проведение измерений

7.1 Измерения при работающем дизеле проводят на режимах работы, предусмотренных программой и методикой испытаний для конкретного дизеля.

Измерения следует проводить каждым микрофоном.

Отсчет показаний шумомера проводят последовательно для каждого микрофона.

Период наблюдения при всех измерениях для каждого микрофона - не менее 4 с.

7.2 Измерения при неработающем дизеле проводят для оценки шума помех. Порядок измерений должен соответствовать 7.1.

8 Расчет уровня звукового давления

8.1 Уровень звукового давления L, дБ, - по ГОСТ 12.1.003.

8.2 Требования технического метода признаются выполненными, если корректировка шума помех равна или менее 1 дБ, а поправочный коэффициент K для окружающей среды равен или менее 2 дБ.

8.3 Требования ориентировочного метода признаются выполненными, если корректировка шума помех равна или менее 3 дБ, а K для окружающей среды равно или менее 7 дБ.

9 Протокол испытаний

9.1 Протокол испытаний должен соответствовать ГОСТ 23941.

9.2 Протокол испытаний должен включать следующие данные:

- вид и цель испытаний;

- ссылку на настоящий стандарт;

- наименование предприятия-изготовителя дизеля и дату его выпуска;

- марку и обозначение типа дизеля, номер дизеля по системе нумерации предприятия-изготовителя;

- наименование предприятий-изготовителей средств измерений, обозначение типов и заводские номера;

- место и дату испытаний;

- режимы работы дизеля;

- уровень звукового давления;

- оценку результатов измерений;

- дополнительные измерения;

- наименование организации, выполняющей измерения, ф. и. о. и должность лица, проводящего измерения;

- дату составления протокола.

ПРИЛОЖЕНИЕ А

(рекомендуемое)

Измерение шума во впускном и выпускном трубопроводах дизеля

А.1 Измерение шума на впуске и выпуске дизеля проводят для расчета глушителей шума или оценки эффективности глушения шума.

Шум следует измерять при комплектации дизеля в соответствии с нормативными документами на конкретный дизель.

Для измерения шума следует предусмотреть прямой участок трубопровода с поверхностью входного сечения, расположенной под углом 90° к оси трубопровода.

Поверхность входного сечения не должна быть ограничена отражающими стенками. Рекомендуется расположение указанного сечения на расстоянии не менее 2 м от отражающих поверхностей.

Сопротивление трубопровода следует свести до минимума.

Шум, излучаемый поверхностью дизеля и любым вспомогательным оборудованием, должен быть исключен соответствующим экранированием.

Конструктивные особенности следует привести в протоколе испытаний.

А.2 Для измерения шума во впускном трубопроводе измерительная поверхность и расположение пяти микрофонов должны соответствовать рисунку А1.

A.3 Для измерения шума в выпускном трубопроводе измерительная поверхность и расположение двух микрофонов должны соответствовать рисунку А.2.

DR - внутренний диаметр трубопровода

Рисунок А.1 - Размещение точек измерений на измерительной поверхности при измерении шума во впускном трубопроводе

Рисунок А.2 - Размещение точек измерений на измерительной поверхности при измерении шума в выпускном трубопроводе

А.4 Режимы работы дизеля по 7.1.

А.5 Влияние окружающей среды, механизмов и оборудования следует ограничить. При проведении измерений на открытом воздухе влиянием окружающей среды допускается пренебрегать.

Ключевые слова: судовые, тепловозные и промышленные дизели; воздушный шум; метод определения; уровень звукового давления

 

 



© 2013 Ёшкин Кот :-)