ГОСТ 27148-86
МЕЖГОСУДАРСТВЕННЫЙ СТАНДАРТ
ИЗДЕЛИЯ КРЕПЕЖНЫЕ
ВЫХОД РЕЗЬБЫ. СБЕГИ, НЕДОРЕЗЫ
И
ПРОТОЧКИ
РАЗМЕРЫ
|

|
Москва
Стандартинформ
2006
|
МЕЖГОСУДАРСТВЕННЫЙ СТАНДАРТ
|
Изделия крепежные
ВЫХОД РЕЗЬБЫ. СБЕГИ, НЕДОРЕЗЫ И ПРОТОЧКИ
Размеры
Fasteners.
Screw thread run-out.
Washout threads, total thread run-outs and undercuts. Dimensions
|
ГОСТ
27148-86
|
Дата введения 01.01.88
Настоящий
стандарт распространяется на крепежные изделия с метрической резьбой по ГОСТ
8724 и устанавливает размеры сбегов резьбы, выполненной нарезанием или
накатыванием, размеры недорезов при выполнении резьбы до упора, форму и размеры
проточек для выхода резьбообразующего инструмента.
Стандарт
допускается распространять на изделия с метрической резьбой, не относящиеся к
крепежным.
Допускается для
изделий, спроектированных до 1 января 1988 г., применять сбеги, недорезы и
проточки по ГОСТ
10549.
1. Размеры
сбегов и недорезов для наружной метрической резьбы должны соответствовать
указанным на черт. 1 и 4 (при выполнении резьбы нарезанием), на черт. 2, 3 и 5 (при
выполнении резьбы накатыванием) и в табл. 1.

Черт. 1

Черт. 2

Черт. 3

Черт. 4

Черт. 5
Таблица 1
мм
|
Шаг резьбы Р
|
Номинальный диаметр резьбы с
крупным шагом d
|
Сбег x, не более
|
Недорез а, не более
|
Проточка
|
|
нормальный ≈ 2,5Р
|
короткий ≈ 1,25P
|
нормальный ≈ 3Р
|
короткий ≈ 2P
|
длинный ≈ 4P
|
dg
h13*
|
g1
не менее
|
g2
не более ≈ 3P
|
r ≈ 0,5Р
|
|
0,2
|
0,8
|
0,5
|
0,25
|
0,6
|
0,4
|
0,8
|
d - 0,3
|
0,32
|
0,6
|
0,1
|
|
0,25
|
1; 1,2
|
0,6
|
0,3
|
0,75
|
0,5
|
1
|
d - 0,4
|
0,4
|
0,75
|
0,12
|
|
0,3
|
1,4
|
0,75
|
0,4
|
0,9
|
0,6
|
1,2
|
d - 0,5
|
0,5
|
0,9
|
0,16
|
|
0,35
|
1,6; 1,8
|
0,9
|
0,45
|
1,05
|
0,7
|
1,4
|
d - 0,6
|
0,6
|
1,05
|
0,16
|
|
0,4
|
2
|
1
|
0,5
|
1,2
|
0,8
|
1,6
|
d - 0,7
|
0,6
|
1,2
|
0,2
|
|
0,45
|
2,2; 2,5
|
1,1
|
0,6
|
1,35
|
0,9
|
1,8
|
d - 0,7
|
0,7
|
1,35
|
0,2
|
|
0,5
|
3
|
1,25
|
0,7
|
1,5
|
1
|
2
|
d - 0,8
|
0,8
|
1,5
|
0,2
|
|
0,6
|
3,5
|
1,5
|
0,75
|
1,8
|
1,2
|
2,4
|
d - 1
|
0,9
|
1,8
|
0,4
|
|
0,7
|
4
|
1,75
|
0,9
|
2,1
|
1,4
|
2,8
|
d - 1,1
|
1,1
|
2,1
|
0,4
|
|
0,75
|
4,5
|
1,9
|
1
|
2,25
|
1,5
|
3
|
d - 1,2
|
1,2
|
2,25
|
0,4
|
|
0,8
|
5
|
2
|
1
|
2,4
|
1,6
|
3,2
|
d - 1,3
|
1,3
|
2,4
|
0,4
|
|
1
|
6; 7
|
2,5
|
1,25
|
3
|
2
|
4
|
d - 1,6
|
1,6
|
3
|
0,6
|
|
1,25
|
8
|
3,2
|
1,6
|
3,75
|
2,5
|
5
|
d - 2
|
2
|
3,75
|
0,6
|
|
1,5
|
10
|
3,8
|
1,9
|
4,5
|
3
|
6
|
d - 2,3
|
2,5
|
4,5
|
0,8
|
|
1,75
|
12
|
4,3
|
2,2
|
5,25
|
3,5
|
7
|
d - 2,6
|
3
|
5,25
|
1
|
|
2
|
14; 16
|
5
|
2,5
|
6
|
4
|
8
|
d - 3
|
3,4
|
6
|
1
|
|
2,5
|
18; 20; 22
|
6,3
|
3,2
|
7,5
|
5
|
10
|
d - 3,6
|
4,4
|
7,5
|
1,2
|
|
3
|
24; 27
|
7,5
|
3,8
|
9
|
6
|
12
|
d - 4,4
|
5,2
|
9
|
1,6
|
|
3,5
|
30; 33
|
9
|
4,5
|
10,5
|
7
|
14
|
d - 5
|
6,2
|
10,5
|
1,6
|
|
4
|
36; 39
|
10
|
5
|
12
|
8
|
16
|
d - 5,7
|
7
|
12
|
2
|
|
4,5
|
42; 45
|
11
|
5,5
|
13,5
|
9
|
18
|
d - 6,4
|
8
|
13,5
|
2
|
|
5
|
48; 52
|
12,5
|
6,3
|
15
|
10
|
20
|
d - 7
|
9
|
15
|
2,5
|
|
5,5
|
56; 60
|
14
|
7
|
16,5
|
11
|
22
|
d - 7,7
|
11
|
17,5
|
3,2
|
|
6
|
64; 68
|
15
|
7,5
|
18
|
12
|
24
|
d - 8,3
|
11
|
18
|
3,2
|
________
* Для d £
3 мм h12.
Примечания:
1. Нормальный сбег и нормальная
проточка - для всех изделий классов точности А, В и С.
2. Нормальный недорез - для
изделий класса точности А, длинный недорез - для изделий классов точности В и
С.
3. Короткий сбег и короткий
недорез - для изделий, в которых по техническим причинам необходим уменьшенный
выход резьбы.
4. Допускается
изготовлять проточки с размерами, указанными в приложении.
2. Форма и
размеры проточек наружной метрической резьбы должны соответствовать указанным
на черт. 6 и в табл. 1.

Черт. 6
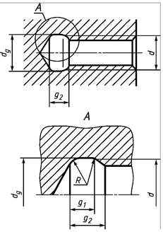
3. Размеры
сбегов, недорезов и проточек для внутренней метрической резьбы должны
соответствовать указанным на черт. 7 и 8 и в табл. 2.

Черт. 7

Черт. 8
Таблица
2
мм
|
Шаг резьбы Р
|
Номинальный диаметр резьбы с
крупным шагом d
|
Сбег х, не более
|
Недорез а, не менее
|
Проточка
|
|
нормальный
|
короткий
|
длинный
|
нормальный
|
короткий
|
длинный
|
g1, не менее
|
g2, не более
|
dg H13
|
R ≈ 0,5P
|
|
нормальная
|
узкая
|
нормальная
|
узкая
|
|
0,2
|
0,8
|
0,4
|
0,3
|
0,8
|
1,6
|
1,0
|
2,0
|
0,8
|
0,5
|
1,2
|
0,9
|
d + 0,1
|
0,1
|
|
0,25
|
1; 1,2
|
0,5
|
0,3
|
1,0
|
1,8
|
1,2
|
2,5
|
1,0
|
0,6
|
1,4
|
1,0
|
d + 0,1
|
0,12
|
|
0,3
|
1,4
|
0,6
|
0,4
|
1,2
|
2,0
|
1,2
|
2,8
|
1,2
|
0,75
|
1,6
|
1,25
|
d + 0,1
|
0,16
|
|
0,35
|
1,6; 1,8
|
0,7
|
0,4
|
1,4
|
2,2
|
1,5
|
3,2
|
1,4
|
0,9
|
1,9
|
1,4
|
d + 0,2
|
0,16
|
|
0,4
|
2
|
0,8
|
0,6
|
1,6
|
2,5
|
1,5
|
3,5
|
1,6
|
1,0
|
2,2
|
1,6
|
d + 0,2
|
0,2
|
|
0,45
|
2,2; 2,5
|
0,9
|
0,6
|
1,8
|
3,0
|
2,0
|
4,0
|
1,8
|
1,1
|
2,4
|
1,7
|
d + 0,2
|
0,2
|
|
0,5
|
3
|
1,0
|
0,8
|
2,0
|
3,0
|
2,0
|
5,0
|
2,0
|
1,25
|
2,7
|
2,0
|
d + 0,3
|
0,2
|
|
0,6
|
3,5
|
1,2
|
0,8
|
2,4
|
3,5
|
2,5
|
5,5
|
2,4
|
1,5
|
3.3
|
2,4
|
d + 0,3
|
0,4
|
|
0,7
|
4
|
1,4
|
1,0
|
2,8
|
3,5
|
2,5
|
6,0
|
2,8
|
1,75
|
3,8
|
2,75
|
d + 0,3
|
0,4
|
|
0,75
|
4,5
|
1,5
|
1,0
|
3,0
|
4,0
|
2,5
|
7,0
|
3,0
|
1,9
|
4
|
2,9
|
d ± 0,3
|
0,4
|
|
0,8
|
5
|
1,6
|
1,2
|
3,2
|
4,0
|
2,5
|
8,0
|
3,2
|
2,0
|
4,2
|
3,0
|
d + 0,3
|
0,4
|
|
1
|
6; 7
|
2,0
|
1,5
|
4,0
|
6,0
|
4,0
|
10,0
|
4,0
|
2,5
|
5,2
|
3,7
|
d + 0,5
|
0,6
|
|
1,25
|
8
|
2,5
|
1,8
|
5,0
|
8,0
|
4,0
|
12,0
|
5,0
|
3,2
|
6,7
|
4,9
|
d + 0,5
|
0,6
|
|
1,5
|
10
|
3,0
|
2,0
|
6,0
|
9,0
|
4,0
|
13,0
|
6,0
|
3,8
|
7,8
|
5,6
|
d + 0,5
|
0,8
|
|
1,75
|
12
|
3,5
|
2,5
|
7,0
|
11,0
|
5,0
|
16,0
|
7,0
|
4,3
|
9,1
|
6,4
|
d + 0,5
|
1,0
|
|
2
|
14; 16
|
4,0
|
3,0
|
8,0
|
11,0
|
5,0
|
16,0
|
8,0
|
5,0
|
10,3
|
7,3
|
d + 0,5
|
1,0
|
|
2,5
|
18; 20; 22
|
5,0
|
3,5
|
10,0
|
12,0
|
6,0
|
18,0
|
10,0
|
6,3
|
13
|
9,3
|
d + 0,5
|
1,2
|
|
3
|
24; 27
|
6,0
|
4,0
|
12,0
|
15,0
|
7,0
|
22,0
|
12,0
|
7,5
|
15,2
|
10,7
|
d + 0,5
|
1,6
|
|
3,5
|
30; 33
|
7,0
|
5,0
|
14,0
|
17,0
|
8,0
|
25,0
|
14,0
|
9,0
|
17,7
|
12,7
|
d + 0,5
|
1,6
|
|
4
|
36; 39
|
8,0
|
6,0
|
16,0
|
19,0
|
9,0
|
28,0
|
16,0
|
10,0
|
20,0
|
14,0
|
d + 0,5
|
2,0
|
|
4,5
|
42; 45
|
9,0
|
6,0
|
18,0
|
23,0
|
11,0
|
33,0
|
18,0
|
11,0
|
23,0
|
16,0
|
d + 0,5
|
2,0
|
|
5
|
48; 52
|
10,0
|
7,0
|
20,0
|
26,0
|
12,0
|
37,0
|
20,0
|
12,5
|
26,0
|
18,5
|
d + 0,5
|
2,5
|
|
5,5
|
56; 60
|
11,0
|
8,0
|
22,0
|
28,0
|
13,0
|
40,0
|
22,0
|
14,0
|
28,0
|
20,0
|
d + 0,5
|
3,2
|
|
6
|
64; 68
|
12,0
|
9,0
|
24,0
|
28,0
|
13,0
|
42,0
|
24,0
|
15,0
|
30,0
|
21,0
|
d + 0,5
|
3,2
|
ПРИЛОЖЕНИЕ
Справочное
ДОПУСТИМЫЕ
РАЗМЕРЫ ПРОТОЧЕК
Таблица
3
мм
|
Шаг резьбы Р
|
Проточка
|
|
Узкая (g2 ≈ 2,5P)
|
Широкая (g2 ≈ 3,5P)
|
|
g1, не менее
|
g2, не более
|
g1, не менее
|
g2, не более
|
|
0,2
|
0,25
|
0,5
|
0,45
|
0,7
|
|
0,25
|
0,25
|
0,6
|
0,55
|
0,9
|
|
0,3
|
0,3
|
0,75
|
0,6
|
1,05
|
|
0,35
|
0,4
|
0,9
|
0,7
|
1,2
|
|
0,4
|
0,5
|
1,0
|
0,8
|
1,4
|
|
0,45
|
0,5
|
1,1
|
1,0
|
1,6
|
|
0,5
|
0,5
|
1,25
|
1,1
|
1,75
|
|
0,6
|
0,6
|
1,5
|
1,2
|
2,1
|
|
0,7
|
0,8
|
1,75
|
1,5
|
2,45
|
|
0,75
|
0,9
|
1,9
|
1,6
|
2,6
|
|
0,8
|
0,9
|
2,0
|
1,7
|
2,8
|
|
1
|
1,1
|
2,5
|
2,1
|
3,5
|
|
1,25
|
1,5
|
3,2
|
2,7
|
4,4
|
|
1,5
|
1,8
|
3,8
|
3,2
|
5,2
|
|
1,75
|
2,1
|
4,3
|
3,9
|
6,1
|
|
2
|
2,5
|
5,0
|
4,5
|
7
|
|
2,5
|
3,2
|
6,3
|
5,6
|
8,7
|
|
3
|
3,7
|
7,5
|
6,7
|
10,5
|
|
3,5
|
4,7
|
9
|
7,7
|
12
|
|
4
|
5,0
|
10
|
9,0
|
14
|
|
4,5
|
5,5
|
11
|
10,5
|
16
|
|
5
|
6,5
|
12,5
|
11,5
|
17,5
|
|
5,5
|
7,5
|
14
|
12,5
|
19
|
|
6
|
8,0
|
15
|
14,0
|
21
|
ИНФОРМАЦИОННЫЕ ДАННЫЕ
1. РАЗРАБОТАН И ВНЕСЕН Государственным комитетом СССР по стандартам
2. УТВЕРЖДЕН И ВВЕДЕН В ДЕЙСТВИЕ Постановлением Государственного комитета СССР по стандартам от
11.12.86 №3780
3. Стандарт полностью соответствует СТ СЭВ 214-86.
Стандарт полностью соответствует международным стандартам: ИСО 3508-76 и ИСО 4755-83.
4. ВВЕДЕН ВПЕРВЫЕ
5. ССЫЛОЧНЫЕ НОРМАТИВНО-ТЕХНИЧЕСКИЕ ДОКУМЕНТЫ
6. ПЕРЕИЗДАНИЕ
|