Информационная система
«Ёшкин Кот»

XXXecatmenu

ГОСТ 26595-85

МЕЖГОСУДАРСТВЕННЫЙ СТАНДАРТ

ФРЕЗЫ ТОРЦОВЫЕ С МЕХАНИЧЕСКИМ
КРЕПЛЕНИЕМ МНОГОГРАННЫХ ПЛАСТИН

ТИПЫ И ОСНОВНЫЕ РАЗМЕРЫ

Москва

Стандартинформ

2010

МЕЖГОСУДАРСТВЕННЫЙ СТАНДАРТ

ФРЕЗЫ ТОРЦОВЫЕ С МЕХАНИЧЕСКИМ КРЕПЛЕНИЕМ
МНОГОГРАННЫХ ПЛАСТИН

Типы и основные размеры

Face milling cutters with mechanically clamped indexable inserts.
Types and basic dimensions

ГОСТ
26595-85

Взамен
ГОСТ 22085-76,
ГОСТ 22086-76

Постановлением Государственного комитета СССР по стандартам от 31 июля 1985 г. № 2446 дата введения установлена

с 01.07.86

_____________

* Издание (июнь 2010 г.) с Изменением 1, утвержденным в декабре 1988 г. (ИУС 3-89).

1. Настоящий стандарт распространяется на праворежущие и леворежущие торцовые фрезы с регулируемыми и нерегулируемыми в осевом направлении вставками, оснащенными многогранными пластинами из минералокерамики, твердых сплавов, в том числе безвольфрамовых, а также твердосплавными пластинами с износостойким покрытием для черновой и получистовой обработки конструкционных и легированных сталей и чугуна.

Стандарт соответствует СТ СЭВ 200-75 в части присоединительных размеров.

2. Фрезы должны изготовляться типов:

А и В - закрепляемые на оправках;

С - закрепляемые на концах шпинделей.

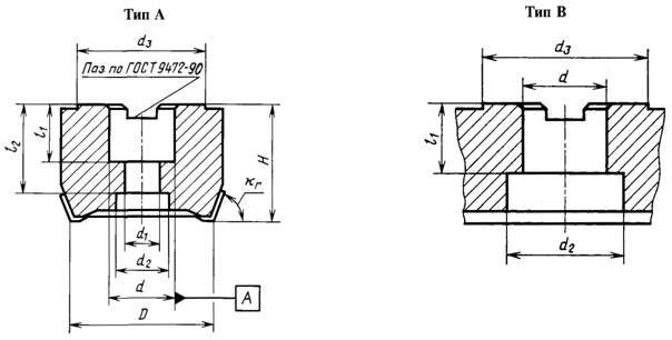
3. Основные размеры фрез типов А и В должны соответствовать указанным на черт. 1 и в табл. 1.

1

Черт. 1

4. Основные размеры фрез типа С должны соответствовать указанным на черт. 2 и в табл. 2.

1

Черт. 2


Таблица 1

Обозначение праворежущих (леворежущих) фрез с пластинами формы

Применяемость

Исполнение

D (поле допуска Js 16)

d (поле допуска Н7)

d1

d2

d3

H (пред. откл. ±0,15)

l1

l2, не более

Число зубьев

трехгранной χ 90°

четырехгранной χ 75°

пятигранной χ 67°

круглой

2214-0351

(2214-0352)

2214-0353

(2214-0354)

2214-0355

(2214-0356)

2214-0357

(2214-0358)

А

50

22

11,0

18

41

40

20

33

5

2214-0359

(2214-0361)

2214-0362

(2214-0363)

2214-0364

(2214-0365)

2214-0366

(2214-0367)

63

6

2214-0368

(2214-0369)

2214-0371

(2214-0372)

2214-0373

(2214-0374)

2214-0375

(2214-0376)

80

27

13,5

20

49

50

22

37

8

2214-0377

(2214-0378)

2214-0379

(2214-0381)

2214-0382

(2214-0383)

2214-0384

(2214-0385)

В

-

38

-

10

2214-0386

(2214-0387)

2214-0388

(2214-0389)

2214-0391

(2214-0392)

2214-0393

(2214-0394)

А

100

32

17,5

27

59

25

33

8

2214-0395

(2214-0396)

2214-0397

(2214-0398)

2214-0399

(2214-0401)

2214-0402

(2214-0403)

10

2214-0404

(2214-0405)

2214-0406

(2214-0407)

2214-0271

(2214-0272)

2214-0537

(2214-0408)

В

-

45

-

8

2214-0409

(2214-0411)

2214-0412

(2214-0413)

2214-0533

(2214-0534)

2214-0291

(2214-0414)

10

2214-0415

(2214-0416)

2214-0417

(2214-0418)

2214-0273

(2214-0274)

2214-0538

(2214-0419)

125

40

56

71

63

28

-

8

2214-0421

(2214-0422)

2214-0423

(2214-0424)

2214-0535

(2214-0536)

2214-0292

(2214-0425)

12

2214-0539

(2214-0541)

2214-0542

(2214-0543)

2214-0544

(2214-0545)

2214-0293

(2214-0546)

160

90

14

2214-0547

(2214-0548)

2214-0549

(2214-0551)

2214-0275

(2214-0276)

2214-0552

(2214-0553)

50

10

2214-0554

(2214-0555)

2214-0556

(2214-0557)

2214-0277

(2214-0278)

2214-0558

(2214-0559)

200

62

130

32

12

2214-0561

(2214-0562)

2214-0563

(2214-0564)

2214-0565

(2214-0566)

2214-0294

(2214-0567)

60

16

Таблица 2

Обозначение праворежущих (леворежущих) фрез с пластинами формы

Применяемость

D (поле допуска Js 16)

H (пред. откл. ±0,15)

d (поле допуска Н7)

d1

d2

d3

d4

d5, не менее

d6

l, не менее

l1

f

f1

t, не менее

b (поле допуска H12)

a (пред. откл. +0,5)

Число зубьев

трехгранной χ 90°

четырехгранной χ 75°

пятигранной χ 67°

круглой

2214-0426

(2214-0427)

2214-0428

(2214-0429)

2214-0431

(2214-0432)

2214-0433

(2214-0434)

160

63

40

14

20

-

-

90

56

29

28

66,7

-

105

16,4

9

10

2214-0435

(2214-0436)

2214-0437

(2214-0438)

2214-0439

(2214-0441)

2214-0442

(2214-0443)

16

2214-0444

(2214-0445)

2214-0446

(2214-0447)

2214-0448

(2214-0449)

2214-0451

(2214-0452)

200

60

18

26

130

62

32

32

101,6

155

25,7

14

12

2214-0453

(2214-0454)

2214-0455

(2214-0456)

2214-0457

(2214-0458)

2214-0459

(2214-0461)

20

2214-0462

(2214-0463)

2214-0464

(2214-0465)

2214-0466

(2214-0467)

2214-0468

(2214-0469)

250

14

2214-0471

(2214-0472)

2214-0473

(2214-0474)

2214-0475

(2214-0476)

2214-0477

(2214-0478)

24

2214-0479

(2214-0481)

2214-0482

(2214-0483)

2214-0484

(2214-0485)

2214-0486

(2214-0487)

315

80

22

34

225

177,8

245

18

2214-0488

(2214-0489)

2214-0491

(2214-0492)

2214-0493

(2214-0494)

2214-0495

(2214-0496)

30

2214-0497

(2214-0498)

2214-0499

(2214-0501)

2214-0502

(2214-0503)

2214-0504

(2214-0505)

400

20

2214-0506

(2214-0507)

2214-0508

(2214-0509)

2214-0511

(2214-0512)

2214-0513

(2214-0514)

40

2214-0515

(2214-0516)

2214-0517

(2214-0518)

2214-0519

(2214-0521)

2214-0522

(2214-0523)

500

26

2214-0524

(2214-0525)

2214-0526

(2214-0527)

2214-0528

(2214-0529)

2214-0531

(2214-0532)

50

Примечание к табл. 1 и 2. Допускается изготовление фрез с углами в плане χ 45° и 60°. В этом случае в примере условного обозначения после обозначения фрезы указывают значение угла 45° или 60°.


Пример условного обозначения торцовой фрезы диаметром D = 100 мм, право-режущей с механическим креплением трехгранных пластин из твердого сплава, типа А, с числом зубьев 8:

Фреза 2214-0386 ГОСТ 26595-85

То же, леворежущей:

Фреза 2214-0387 ГОСТ 26595-85

То же, для пластин из минералокерамики:

Фреза 2214-0386 М ГОСТ 26595-85

То же, для пластин из безвольфрамового твердого сплава:

Фреза 2214-0386 Б ГОСТ 26595-85

Фрезы должны изготовляться праворежущими, леворежущие фрезы изготовляются по заказу потребителя.

2 - 4. (Измененная редакция, Изм. № 1).

ПРИЛОЖЕНИЕ 1
Рекомендуемое

ЭЛЕМЕНТЫ КОНСТРУКЦИИ И МЕТОДЫ КРЕПЛЕНИЯ ПЛАСТИН

1. Элементы конструкций и методы крепления торцовых фрез с механическим креплением трехгранных и четырехгранных пластин типов В и С регулируемых и нерегулируемых указаны на черт. 1 и в табл. 1.

1

1 - клин (кол. z); 2 - клин (кол. z), 3 - корпус; 4 - опора (кол. z), 5 - вставка (кол. z), 6 - пластина (кол. z)

Черт. 1

Таблица 1

Диаметр фрезы D

Н для пластины

а для пластины

трехгранной

четырехгранной

трехгранной

четырехгранной

100

-

34,3

-

4,4

125

40

46,8

7,8

5,5

160

57,4

64,1

9,9

7,0

200

77,3

84,2

12,4

8,7

250

103

111

15,3

10,9

315

135,5

114

18,2

13,7

400

178

187

24,4

17,4

500

228

237

30,6

21,8

2. Геометрические параметры фрез указаны в табл. 2.

Таблица 2

Форма пластины

Угол в плане χ

γ0

γp

Трехгранная

75°

+12°

-5°

-10°

-7°

90°

+7°

Четырехгранная

75°

-7°

+7°

-5°

Элементы конструкции и методы крепления торцовых фрез нерегулируемых с механическим креплением пятигранных и круглых пластин типа А указаны на черт. 2 и в табл. 3.

1

1 - корпус; 2 - кольцо или втулка (кол. z); 3 - державка (кол. z); 4 - пластина (кол. z); 5 - пружина (кол. z); 6 - шайба (кол. z); 7 - болт (кол. z); 8 - штифт (кол. z)

Черт. 2

Таблица 3

Диаметр фрезы D

Н для пластины

а для пластины

b для пластины

пятигранной

круглой

пятигранной

круглой

пятигранной

круглой

50

15,5

15,5

12Н9

10Н9

1,6

1

63

18,0

22,0

2,7

2

80

26,0

29,5

3,8

3

ПРИЛОЖЕНИЕ 1. (Измененная редакция, Изм. № 1).

ПРИЛОЖЕНИЕ 2
Справочное

Определение размеров D, Н и χр торцовых насадных фрез

1. Диаметр режущей части фрез измеряется в точке Р, являющейся пересечением рабочей плоскости с главной режущей кромкой или ее продолжением. Положения точки Р в зависимости от формы сменных режущих пластин указаны на черт. 4.

а - пластина с радиусом на вершине; б - пластина с торцовой режущей кромкой; в - пластина с торцовой режущей кромкой и с фаской на вершине; г - круглая пластина; д - пластина с торцовой режущей кромкой и с фаской на вершине

Черт. 4

2. Высота Н фрез измеряется от рабочей плоскости до торцовой опорной поверхности.

3. Номинальное значение главного угла в плане χр измеряется между рабочей плоскостью и главной режущей кромкой.

ПРИЛОЖЕНИЕ 2. (Введено дополнительно, Изм. № 1).



© 2013 Ёшкин Кот :-)