Информационная система
«Ёшкин Кот»

XXXecatmenu

МЕЖГОСУДАРСТВЕННЫЙ СТАНДАРТ

Обеспечение износостойкости изделий

Метод оценки истирающей способности поверхностей при трении

Products wear resistance assurance.
A method of assessment of the surface wearing ability in friction

ГОСТ
23.204-78

Постановлением Государственного комитета СССР по стандартам от 11 декабря 1978 г. № 3283 дата введения установлена

01.01.80

Настоящий стандарт устанавливает метод экспериментальной оценки истирающей способности обработанных поверхностей при трении со смазочным материалом.

Стандарт не распространяется на материалы твердостью менее 30HV.

Сущность метода состоит в том, что радиальной поверхностью цилиндрического образца испытуемого материала изнашивают плоскую поверхность эталонного образца при заданных условиях, измеряют износ в процессе испытаний, а об истирающей способности поверхности судят по значениям параметров линейной функции, аппроксимирующей зависимость интенсивности изнашивания от давления.

1. АППАРАТУРА

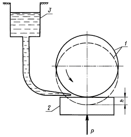
Испытательная установка (черт. 1), обеспечивающая проведение испытаний при следующих условиях:

частота вращения цилиндрического образца (ролика) - (100 ± 5) мин-1;

сила прижатия ролика к плоскому эталонному образцу - (98,1 ± 1,96) Н [(10 ± 0,2) кгс];

непараллельность оси ролика рабочей поверхности плоского образца - не более 0,1 мм;

скорость подачи смазочного масла в зону трения - (40 ± 5) капель в минуту.

В процессе испытаний следует непрерывно измерять относительное перемещение h (сближение) плоского образца и оси ролика с погрешностью не более 0,002 мм в пределах 2 мм, а также суммарное количество оборотов ролика с погрешностью не более 10 оборотов.

Форма и размеры ролика приведены на черт. 2.

Эталонный образец изготовляют (черт. 3) из прессованного фторопласта 4 по ГОСТ 10007-80. Высота h образца 7 - 10 мм.

Допускается многократно использовать эталонный образец с промежуточной механической обработкой поверхности для удаления вытертой при испытаниях канавки.

Для смазывания применяют индустриальное масло 20 по ГОСТ 20799-88.

Промывочные жидкости - бензин по НТД и ацетон по ГОСТ 2768-84.

1 - испытуемый образец (ролик); 2 - неподвижный эталонный образец; 3 - резервуар со смазочным маслом

Черт. 1

Черт. 2

Черт. 3

2. ПОДГОТОВКА К ИСПЫТАНИЯМ

2.1. Ролик последовательно промывают бензином и ацетоном, просушивают на воздухе и устанавливают на вал испытательной установки. Биение образующей ролика при вращении не более 0,01 мм.

При установке ролика учитывают направление движения обрабатывающего инструмента относительно исследуемой поверхности ролика. С этой целью выдерживают заданное соотношение между направлением вращения ролика относительно инструмента при окончательной обработке поверхности и направлением вращения ролика относительно эталонного образца.

Примечание. Допускается не учитывать указанное соотношение при неопределенном и сложном движении инструмента при обработке.

2.2. Устанавливают частоту вращения ролика и скорость подачи смазочного масла в соответствии с разд. 1, производят притирку ролика по эталонному образцу в течение 30 мин при нагрузке (98,1 ± 1,96) Н [(10 ± 0,2) кгс].

3. ПРОВЕДЕНИЕ ИСПЫТАНИЙ

3.1. Устанавливают новый эталонный образец, прижимают к нему ролик с силой, указанной в разд. 1, и выдерживают под нагрузкой в течение 3 мин. Взаимная установка ролика и эталонного образца должна проводиться таким образом, чтобы расстояние между краями канавок, вытертых в образце при испытаниях, или краями канавки и образца должно быть не менее одной длины канавки. Приводят ролик во вращение с заданной частотой (разд. 1) и регистрируют последовательно приращения h1 перемещения оси ролика относительно плоского образца за последовательные промежутки времени, соответствующие набору следующих последовательных чисел оборотов N1 ролика: N1 = N2 = 180; N3 = N4 = N5 = N6 = 360; N7 = N8 = N9 = N10 = 900.

В процессе испытаний не допускается прекращение вращения ролика.

3.2. Разобщают ролик и эталонный образец и выключают привод ролика.

3.3. Испытания проводят на пяти парах образцов.

4. ОБРАБОТКА РЕЗУЛЬТАТОВ

4.1. Средние значения () перемещений в мм при наборе определенного числа оборотов из ряда, указанного в п. 3.1, по результатам испытания пяти образцов вычисляют по формуле

4.2. Средние интенсивности изнашивания () при наборе оборотов N1 из ряда, указанного в п. 3.1, вычисляют по формуле

4.3. Среднее давление () в МПа для каждого из указанных в п. 3.1 числа оборотов вычисляют по формуле

4.4. Параметры С и qк линейной функции, аппроксимирующей зависимость интенсивности изнашивания от давления, вычисляют по формуле

 

где  

 

СОДЕРЖАНИЕ

 

 



© 2013 Ёшкин Кот :-)