
ГОСУДАРСТВЕННЫЙ СТАНДАРТ СОЮЗА
ССР
ОБРАБОТКА МЕТАЛЛОВ ДАВЛЕНИЕМ
ТЕРМИНЫ И ОПРЕДЕЛЕНИЯ
ГОСТ 15830-84
ГОСУДАРСТВЕННЫЙ КОМИТЕТ СССР
ПО СТАНДАРТАМ
Москва
ГОСУДАРСТВЕННЫЙ СТАНДАРТ СОЮЗА
ССР
|
ОБРАБОТКА МЕТАЛЛОВ
ДАВЛЕНИЕМ.
ШТАМПЫ
Термины и определения
Pressure
metal working. Die-tools.
Terms and definitions
|
ГОСТ
15830-84
Взамен
ГОСТ 15830-75
|
Постановлением Государственного
комитета СССР по стандартам от 12 апреля 1984 г. № 1270 срок введения
установлен
с 01.07.85
Настоящий стандарт
устанавливает применяемые в науке, технике и производстве термины и определения
основных видов штампов для обработки металлов давлением, их сборочных единиц и
деталей.
Термины, установленные
стандартом, обязательны для применения в документации всех видов,
научно-технической, учебной и справочной литературе.
Для каждого понятия
установлен один стандартизованный термин. Применение терминов-синонимов
стандартизованного термина запрещается. Недопустимые к применению
термины-синонимы приведены в стандарте в качестве справочных и обозначены
пометой «Ндп».
Для отдельных
стандартизованных терминов в стандарте приведены в качестве справочных краткие
формы, которые разрешается применять, когда исключена возможность их различного
толкования. Установленные определения можно, при необходимости, изменять по
форме изложения, не допуская нарушения границ понятий.
В случаях, когда необходимые
и достаточные признаки понятия содержатся в буквальном значении термина,
определение не приведено и, соответственно, в графе «Определение» поставлен
прочерк.
В стандарте приведен
алфавитный указатель содержащихся в нем терминов.
В стандарте имеется
рекомендуемое приложение 1, содержащее правила построения наименований
штампов, их узлов и деталей, справочное приложение 2, содержащее виды штампов по
универсальности применения и технологическому признаку, и рекомендуемое
приложение 3,
содержащее термины и определения понятий, связанных со штампами.
Стандартизованные
термины набраны полужирным шрифтом, их краткая форма - светлым, а недопустимые
синонимы - курсивом.
|
Термин
|
Определение
|
|
|
|
|
|
1. Штамп
|
Технологическая оснастка, посредством которой заготовка приобретает форму
и (или) размеры, соответствующие поверхности или контуру рабочих элементов
штампа
|
|
|
2. Нижняя часть штампа
|
Часть штампа, прикрепляемая к нижнему рабочему органу
кузнечно-прессовой машины (см. приложение 1, черт. 1)*
* На чертежах в основной части стандарта и в
приложении 1
номер позиции соответствует номеру термина
|
|
|
3. Верхняя часть штампа
|
Часть штампа, прикрепляемая к верхнему рабочему органу
кузнечно-прессовой машины (см. приложение 1, черт. 1)
|
|
|
4. Открытый штамп
|
Штамп, в котором предусмотрено образование штамповочного облоя
|
|
|
5. Закрытый штамп
|
Штамп, в котором не предусмотрено образования штамповочного облоя
|
|
|
|
|
|
6. Штамп простого действия
|
Штамп для выполнения одной или нескольких одноименных технологических
операций на одной позиции за один ход подвижной части штампа (см. приложение 1,
черт. 2)
|
|
|
7. Штамп совмещенного действия
|
Штамп для выполнения разноименных технологических операций или
технологических переходов на одной позиции за один ход подвижной части штампа
(см. приложение 1, черт. 4)
|
|
|
8. Штамп последовательного действия
|
Штамп для выполнения нескольких технологических операций или
технологических переходов на нескольких позициях за соответствующее число
ходов подвижной части штампа (см. приложение 1, черт. 3)
|
|
|
|
|
|
9. Специальный штамп
|
Штамп для изготовления только заданных изделий
|
|
|
Ндп. Специализированный штамп
|
|
|
10. Универсальный штамп
|
Штамп для изготовления различных изделий (см. приложение 1,
черт. 5)
|
|
|
|
|
|
11. Неразборный штамп
|
Штамп, собираемый из узлов и деталей, используемых только в данном
штампе
|
|
|
12. Штамп со сменными рабочими элементами
|
Штамп, в котором предусмотрена замена пуансона и матрицы (см.
приложение 1,
черт. 6)
|
|
|
13. Штамп со сменным пакетом
|
См. приложение 1, черт. 7
|
|
|
14. Штамп со сменным сборным пакетом
|
-
|
|
|
15. Сборный штамп
|
Штамп, собираемый из узлов и деталей, многократно используемых в
различных штампах
|
|
|
|
|
|
16. Рабочий элемент штампа
|
Основная деталь или узел штампа, выполняющая разделительные или
формоизменяющие операции
|
|
|
Рабочий элемент
|
|
|
17. Блок штампа
|
Узел штампа для крепления пакета штампа и
(или) совмещения рабочих элементов при штамповке

|
|
|
Блок
|
|
|
18. Универсальный блок штампа
|
Блок штампа, предназначенный для эксплуатации со сменными пакетами
штампа
|
|
|
Универсальный блок
|
|
|
19. Блок штампа с диагональным расположением
направляющих узлов
|
-
|
|
|

|
|
|
Ндп. Блок штампа с угловым расположением направляющих узлов
|
|
|
20. Блок штампа с осевым расположением
направляющих узлов
|
-
|
|
|

|
|
|
Ндп. Блок штампа с симметричным расположением направляющих узлов
|
|
|
21. Блок штампа с задним расположением
направляющих узлов
|
-
|
|
|

|
|
|
22. Блок штампа с четырьмя направляющими
узлами
|
-
|
|
|

|
|
|
23. Направляющий узел штампа
|
Узел штампа для совмещения частей штампа при их перемещении
относительно друг друга
|
|
|
Направляющий узел
|
|
|
24. Цилиндрический направляющий узел штампа
|
Направляющий узел штампа, имеющий цилиндрическую направляющую
поверхность
|
|
|
25. Цилиндрический направляющий узел скольжения штампа
|
-
|
|
|

|
|
|
Направляющий узел скольжения
|
|
|
26. Цилиндрический направляющий узел
качения штампа
|
-
|
|
|

|
|
|
Направляющий узел качения
|
|
|
27. Плоский направляющий узел штампа
|
Направляющий узел штампа, имеющий одну или несколько плоских
направляющих поверхностей

|
|
|
28. Клин штампа
|
Деталь штампа для изменения направления действия усилия
|
|
|
Клин
|
|
|
29. Ползушка штампа
|
Деталь штампа, воспринимающая усилие клина и передающая его другим
деталям штампа
|
|
|
Ползушка
|
|
|
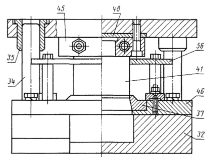
30. Пакет штампа
|
Узел для фиксации и (или) крепления рабочих
элементов штампа, закрепляемый в блоке штампа

|
|
|
Пакет
|
|
|

|
|
|
31. Пакет штампа со сменными рабочими
элементами
|
-
|
|
|
32. Нижняя плита штампа
|
См. чертеж к термину 17
|
|
|
Нижняя плита
|
|
|
33. Верхняя плита штампа
|
См. чертеж к термину 17
|
|
|
Верхняя плита
|
|
|
34. Направляющая колонка штампа
|
Деталь цилиндрического направляющего узла
штампа, имеющая наружную направляющую поверхность (см. чертеж к термину 25)
|
|
|
Направляющая колонка
|
|
|
35. Направляющая втулка штампа
|
Деталь цилиндрического направляющего узла штампа, имеющая внутреннюю
направляющую поверхность (см. чертеж к термину 25)
|
|
|
Втулка
|
|
|
36. Хвостовик штампа
|
Деталь штампа для центрирования и (или) крепления верхней части штампа
к ползуну пресса

|
|
|
Хвостовик
|
|
|
37. Матрица штампа
|
Рабочий элемент штампа, охватывающий материал и (или) являющийся
неподвижным (см. чертеж к термину 30)
|
|
|
Матрица
|
|
|
38. Секция матрицы штампа
|
Часть матрицы штампа, образующая в сочетании с другими секциями
рабочий контур матрицы (см. чертеж к термину 39)
|
|
|
Секция матрицы
|
|
|
39. Секционная матрица штампа
|
-
|
|
|
Секционная матрица
|

|
|
|
40. Вставка штампа
|
Сменная часть рабочего элемента штампа (см. чертеж к термину 39)
|
|
|
Вставка
|
|
|
41. Пуансон штампа
|
Рабочий элемент штампа, охватываемый штампуемым материалом при
штамповке и (или) являющийся подвижным (см. чертеж к термину 30)
|
|
|
Пуансон
|
|
|
Ндп. Копир
|
|
|
Шаблон
|
|
|
Противник
|
|
|
42. Секция пуансона штампа
|
Часть пуансона штампа, образующая в сочетании с другими секциями
пуансона рабочий контур пуансона (см. чертеж к термину 43)
|
|
|
Секция пуансона
|
|
|
43. Секционный пуансон штампа
|

|
|
|
Секционный пуансон
|
|
|
44. Пуансон-матрица штампа
|
Рабочий элемент штампа, имеющий признаки пуансона и матрицы штампа
(см. приложение 1 черт. 4)
|
|
|
Пуансон-матрица
|
|
|
45. Пуансонодержатель штампа
|
Деталь штампа для центрирования и крепления пуансона и (или)
пуансон-матрицы штампа (см. чертеж к термину 30)
|
|
|
Пуансонодержатель
|
|
|
46. Матрицедержатель штампа
|
Деталь штампа для центрирования и крепления матрицы штампа
|
|
|
Матрицедержатель
|

|
|
|
47. Обойма штампа
|
Деталь штампа для взаимной фиксации секций матрицы, пуансона или пуансон-матрицы
(см. чертеж к термину 43)
|
|
|
Обойма
|
|
|
48. Подкладная плитка штампа
|
Деталь штампа для предохранения верхней и нижней плит штампа от
деформации (см. чертеж к термину 30)
|
|
|
Плитка
|
|
|
49. Направляющая планка штампа
|
Деталь штампа для направления заготовки в штампе
|
|
|
Планка
|

|
|
|
50. Шаговый нож штампа
|
Пуансон штампа, обеспечивающий точность подачи заготовок в виде полосы
или ленты

|
|
|
Нож
|
|
|
51. Опорная планка штампа
|
Деталь штампа, предохраняющая полосу или ленту от изгиба при подаче ее
в рабочую зону штампа

|
|
|
Опорная планка
|
|
|
Ндп. Лоток
|
|
|
52. Трафарет штампа
|
Деталь штампа для ориентации штучных заготовок в штампе по контуру

|
|
|
Трафарет
|
|
|
53. Фиксатор штампа
|
Деталь штампа для центрирования по
отверстиям заготовки в штампе

|
|
|
Фиксатор
|
|
|
Ндп. Ловитель
|
|
|
54. Упор штампа
|
Деталь штампа для ограничения подачи заготовки в штампе (см. чертеж к
термину 53)
|
|
|
Упор
|
|
|
55. Прижим штампа
|
Деталь штампа для прижатия штампуемой заготовки к рабочим поверхностям
и (или) базам

|
|
|
Прижим
|
|
|
56. Съемник штампа
|
Деталь штампа для съема изделия или отхода с пуансона или
пуансон-матрицы штампа (см. чертеж к термину 30)
|
|
|
Съемник
|
|
|
57. Выталкиватель штампа
|
Деталь штампа для выталкивания изделия или отхода из полости матрицы
или пуансон-матрицы штампа (см. приложение 1 черт. 4)
|
|
|
Выталкиватель
|
|
|
58. Толкатель штампа
|
Деталь штампа для передачи усилия исполнительному механизму штампа
(см. приложение 1 черт. 4)
|
|
|
Толкатель
|
|
|
59. Траверса штампа
|
Деталь штампа для распределения и передачи усилия толкателям штампа

|
|
|
Траверса
|
|
|
60. Буфер штампа
|
Упругий элемент или узел штампа с упругим элементом, обеспечивающий необходимое
усилие для прижима и (или) выталкивания штампуемой детали или заготовки

|
|
|
Буфер
|
|
|
61. Противоотжим штампа
|
Деталь штампа для предохранения другой детали или части штампа от
смещения или изгиба

|
|
|
Противоотжим
|
|
|
62. Ограничитель штампа
|
Деталь штампа для ограничения хода подвижной части штампа

|
|
|
Ограничитель
|
|
|
63. Отлипатель штампа
|
Деталь или узел штампа для исключения прилипания штампованных деталей
или отхода

|
|
|
Отлипатель
|
|
|
64. Сбрасыватель штампа
|
Деталь или узел штампа для удаления штампованной детали или заготовки
и (или) отхода из зоны штамповки
|
|
|
Сбрасыватель
|
|
|
Ндп. Выбрасыватель
|
|
|
65. Перетяжное ребро
|
Деталь штампа для создания усилия торможения листовой заготовки при втягивании
ее в матрицу штампа при вытяжке

|
|
|
Ндп. Тормозное ребро
|
|
|
Тормозной порог
|
|
|
66. Перетяжной порог штампа
|
Выступающая часть или отдельный элемент матрицы штампа, расположенные на
ее вытяжной кромке и предназначенные для усиления торможения листовой
заготовки при втягивании ее в матрицу при вытяжке
|
|
|
Перетяжной порог
|
|
АЛФАВИТНЫЙ УКАЗАТЕЛЬ ТЕРМИНОВ
Блок 17
Блок универсальный 18
Блок штампа 17
Блок штампа с диагональным расположением
направляющих узлов 19
Блок штампа с задним расположением
направляющих узлов 21
Блок штампа с осевым расположением направляющих
узлов 20
Блок штампа с симметричным расположением
направляющих узлов 20
Блок штампа с угловым расположением
направляющих узлов 19
Блок штампа с четырьмя направляющими узлами 22
Блок штампа универсальный 18
Буфер 60
Буфер штампа 60
Вставка 40
Вставка штампа 40
Втулка 35
Втулка штампа направляющая 35
Выбрасыватель 64
Выталкиватель 57
Выталкиватель штампа 57
Клин 28
Клин штампа 28
Колонка направляющая 34
Колонка штампа направляющая 34
Копир 41
Ловитель 53
Лоток 51
Матрица 37
Матрица штампа 37
Матрица штампа секционная 39
Матрицедержатель 46
Матрицедержатель штампа 46
Нож 50
Нож штампа шаговый 50
Обойма 47
Обойма штампа 47
Ограничитель 62
Ограничитель штампа 62
Отлипатель 63
Отлипатель штампа 63
Пакет 30
Пакет штампа 30
Пакет штампа со сменными рабочими элементами 31
Планка 49
Планка опорная 51
Планка штампа направляющая 49
Планка штампа опорная 51
Плита верхняя 33
Плита нижняя 32
Плита штампа верхняя 33
Плита штампа нижняя 32
Плитка 48
Плитка штампа подкладная 48
Ползушка 29
Ползушка штампа 29
Порог перетяжной 66
Порог тормозной 65
Порог штампа перетяжной 66
Прижим 55
Прижим штампа 55
Противоотжим 61
Противоотжим штампа 61
Прошивник 41
Пуансон 41
Пуансон штампа 41
Пуансон штампа секционный 43
Пуансонодержатель 45
Пуансонодержатель штампа 45
Пуансон-матрица 44
Пуансон-матрица штампа 44
Пуансон секционный 43
Ребро перетяжное 65
Ребро тормозное 65
Сбрасыватель 64
Сбрасыватель штампа 64
Секция матрицы 38
Секция матрицы штампа 38
Секция пуансона 42
Секция пуансона штампа 42
Съемник 56
Съемник штампа 56
Толкатель 58
Толкатель штампа 58
Траверса 59
Траверса штампа 59
Трафарет 52
Трафарет штампа 52
Узел качения направляющий 26
Узел качения штампа направляющий
цилиндрический 26
Узел направляющий 23
Узел скольжения направляющий 23
Узел скольжения штампа направляющий
цилиндрический 25
Узел штампа направляющий 23
Узел штампа направляющий плоский 27
Узел штампа направляющий цилиндрический 24
Упор 54
Упор штампа 54
Фиксатор 53
Фиксатор штампа 53
Хвостовик 36
Хвостовик штампа 36
Часть штампа верхняя 3
Часть штампа нижняя 2
Шаблон 41
Штамп 1
Штамп закрытый 5
Штамп неразборный 11
Штамп открытый 4
Штамп последовательного действия 8
Штамп простого действия 6
Штамп сборный 15
Штамп совмещенного действия 7
Штамп со сменным пакетом 13
Штамп со сменным сборным пакетом 14
Штамп со сменными рабочими элементами 12
Штамп специальный 9
Штамп специализированный 9
Штамп универсальный 10
Элемент рабочий 16
Элемент штампа рабочий 16
1. Наименования штампов
простого действия образуются при помощи выражения: «Штамп простого действия для
...» с добавлением термина операции по ГОСТ
18970-85 в косвенном падеже.
Например: «Штамп простого действия
для вытяжки».
2. Наименования штампов
совмещенного и последовательного действия образуются при помощи выражения:
«Штамп совмещенного (последовательного) действия для ...» с добавлением
терминов операций в косвенном падеже.
Например: «Штамп последовательного
действия для вытяжки и обрезки».
3. Наименования универсальных
штампов образуются при помощи выражения «Универсальный штамп для ...» с
добавлением термина операции в косвенном падеже.
Например: «Универсальный штамп для
вырубки».
4. В нормативно-технической
документации наименование штампа допускается устанавливать следующим образом:
«Штамп для ...» с добавлением наименования операции.
Например: «Штамп для вырубки», «Штамп
для высадки и пробивки».
5. В случае, если для изготовления
детали используется только один штамп, его наименование допускается
образовывать при помощи выражения: «Штамп для изготовления ...» с добавлением
наименования или обозначения детали.
Например: «Штамп для изготовления
шайбы», «Штамп для изготовления детали 243.01».
6. Термины штампов
допускается уточнять по признакам операции, степени автоматизации,
температурной характеристики операции и по особенностям сборки.
Например: «Штамп для первой вырубки»,
«Штамп со сменными рабочими элементами», «Штамп для горючего выдавливания»,
«Штамп для осадки с кручением», «Штамп для прямого выдавливания», «Штамп -
автомат», «Штамп со сменным пакетом».
7. Если в одном штампе
выполняется большое количество разноименных операций, его допускается
именовать: «Штамп для листовой штамповки». «Штамп для объемной штамповки».
8. Наименование узла или
детали допускается уточнять по конструктивным признакам, применяемости и т.д.
Например: «Упор со скосом», «Круглый
пуансон», «Матрица для вытяжки».
Штамп для объемной штамповки

Черт. 1
Штамп простого действия для
вырубки

Черт. 2
Штамп последовательного
действия для пробивки и вырубки

Черт. 3
Штамп совмещенного действия
для изготовления шайбы

Черт. 4
Универсальный штамп

Черт. 5
Штамп со сменными рабочими
элементами

Черт. 6
Штамп со сменным пакетом

Черт. 7
|
По особенностям сборки
|
Универсальные
|
Специальные
|
|
Простого действия
|
Последовательного
действия
|
Совмещенного действия
|
|
Сборный
|
Универсальнопереналаживаемый штамп для отрезки
|
Штамп простого действия для обрезки
|
Штамп для изготовления детали 243.01
|
Штамп совмещенного действия для изготовления шайбы
|
|
Неразборный
|
Универсальнопереналаживаемый штамп для отрезки
|
Штамп для первой вырубки
|
Штамп последовательного действия для пробивки и вырубки
|
Штамп для объемной штамповки
|
|
Со сменными рабочими элементами
|
Универсальнопереналаживаемый штамп для гибки уголков
|
Штамп простого действия для пробивки отверстий
|
Штамп последовательного действия для листовой штамповки
|
Штамп совмещенного действия для изготовления прокладки
|
|
Со сменным пакетом
|
Универсальнопереналаживаемый штамп для пробивки и вырубки
|
Штамп простого действия для высадки
|
Штамп для пробивки и отрезки
|
Штамп со сменным пакетом
|
|
Со сменным сборным пакетом
|
Универсальнопереналаживаемый штамп для гибки полок
|
Штамп простого действия
|
Штамп последовательного действия
|
Штамп совмещенного действия для изготовления прокладки
|
|
Термин
|
Определение
|
|
Штамповочный ручей
|
Часть рабочего элемента штампа, непосредственно выполняющая разделение
или формоизменение заготовки
|
|
Штамповочный облой
|
Заранее предусмотренный технологический избыток металла, вытесненный
за пределы штамповочного ручья
|
|
Облойная канавка штампа
|
Часть рабочего элемента штампа для размещения облоя
|
|
Штамповочный заусенец
|
Образовавшаяся на детали в результате штамповки заранее не
предусмотренная кромка
|
СОДЕРЖАНИЕ