| ||||||||||||||||||||||||||||||||||||||||||||||||||||||||||||||||||||||||||||||||||||||||||||||||||||||||||||
|
МЕЖГОСУДАРСТВЕННЫЙ СТАНДАРТ
Издание с Изменениями № 1, 2, утвержденными в феврале
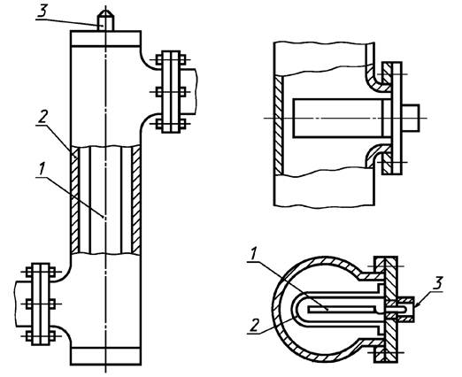
1981 г. и сентябре 1986 г. Постановлением Комитета стандартов, мер и измерительных приборов при Совете Министров СССР от 7 февраля 1969 г. № 171 дата введения установлена 01.01.1970 Ограничение срока действия снято Постановлением Госстандарта от 22.06.92 № 567 Настоящий стандарт устанавливает метод измерения влажности эмульсии нефти и нефтепродуктов, способных образовывать эмульсии типа «вода в масле», диэлькометрическими влагомерами. Метод основан на измерении зависимости диэлектрической проницаемости эмульсии от содержания воды. (Измененная редакция, Изм. № 2). 1. ОТБОР ПРОБ1.1. Отбор проб для определения влажности диэлькометрическим методом производится двумя способами: а) порционным; б) непрерывным. (Измененная редакция, Изм. № 1, 2). 1.2. Порционный отбор проб для лабораторных измерений - по ГОСТ 2517-85. Для перемешивания пробы необходимо применять механические эмульсификаторы. 1.3. Для непрерывного отбора проб из трубопровода при измерении влажности в потоке ответвляют часть потока из трубопровода через пробозаборное устройство в емкостной датчик или пропускают весь поток через емкостной датчик, установленный на вертикальном участке трубопровода (черт. 2). Пробозаборное устройство для отбора пробы из трубопровода по ГОСТ 2517-85. При наличии в потоке свободной воды необходимо ее отделить от нефтяной эмульсии для раздельного измерения. 1.2, 1.3. (Измененная редакция, Изм. № 2). 1.4. Для уменьшения погрешности, вызванной отложением на деталях емкостного датчика парафина и механических примесей, электроды должны располагаться вертикально и иметь защитное покрытие. Перед датчиками с непрерывным отбором пробы в необходимых случаях допускается устанавливать фильтры, не вызывающие отделения воды, и отстойники для отделения свободной воды. (Измененная редакция, Изм. № 1). 1.5. Способ соединения поточного датчика с нефтепроводом должен обеспечивать турбулентный поток и не создавать перепадов давления, вызывающих выделение газа (паров). (Измененная редакция, Изм. № 2). Установка емкостного датчика в потоке С цилиндрическими электродами С плоскими электродами 1 - внутренний электрод; 2 - внешний электрод; 3 - разъем для соединения с измерительным блоком * Черт. 1. (Исключен, Изм. № 2). 2. ПРИБОРЫ И МАТЕРИАЛЫ2.1. Диэлькометрический метод осуществляется с применением влагомеров, состоящих из емкостных датчиков и измерительных блоков, преобразующих изменения электрической емкости датчика, вызываемые изменением влажности эмульсии, в выходной сигнал. (Измененная редакция, Изм. № 1). 2.2. (Исключен, Изм. № 2). 2.3. Применяют влагомеры с диапазонами измерения влажности: 0 - 0,75; 0 - 1,5; 0 - 3; 0 - 15; 0 - 60 % (по объему). Если для измерения влажности в общем потоке, представленном свободной водой и эмульсией, используют влагомер с диапазоном измерений 0 - 100 % (по объему), он дополняется усредняющим устройством. (Измененная редакция, Изм. № 1, 2). 2.4. Для измерения влажности нефти и нефтепродуктов должны использоваться влагомеры: с подстройкой на нефть с определенной диэлектрической характеристикой при измерении; с автоматической коррекцией влияния изменения диэлектрической характеристики нефти. (Измененная редакция, Изм. № 2). 2.5. (Исключен, Изм. № 2). 2.6. Влагомеры, измеряющие влажность нефти в потоке, должны соответствовать ГОСТ 22782.5-78. (Измененная редакция, Изм. № 1). 2.7. Основная приведенная погрешность влагомеров в зависимости от диапазонов измерения влажности не должна превышать значений, указанных в табл. 1а. Таблица 1а
2.8. В зависимости от основной приведенной погрешности влагомеров основная приведенная погрешность измерительного блока влагомера как измерителя емкости не должна превышать значений, указанных в табл. 1. Таблица 1
2.7, 2.8. (Измененная редакция, Изм. № 2). 2.9. Измерительные блоки влагомеров при изменениях показаний под влиянием внешних факторов по ГОСТ 22261-94. 2.10. Узел регулировки влагомеров на нефть с определенной диэлектрической характеристикой должен обеспечивать возможность использования одной шкалы для измерения влажности нефти (нефтепродуктов) с диэлектрической проницаемостью от 2,00 до 2,65. Дополнительная погрешность от настройки на нефть с определенной диэлектрической характеристикой не должна превышать половины основной погрешности. 2.11. При изменении температуры нефти (нефтепродуктов) на ±10 °С от номинальной дополнительная погрешность влагомеров не должна превышать одной трети основной погрешности, указанной в табл. 1. 2.12. Для уменьшения погрешности, возникающей при изменении диэлектрической проницаемости от температуры, у влагомеров с диапазонами измерения 0 - 0,75; 0 - 1,5; 0 - 3 и 0 - 15 % (по объему) должна быть предусмотрена температурная компенсация. Способ температурной компенсации должен обеспечивать возможность подстройки влагомера при относительном температурном коэффициенте емкости датчика с эмульсией от минус 0,0005 до минус 0,0030. 2.13. Дополнительная погрешность влагомера, возникающая при изменении тангенса угла диэлектрических потерь в датчике от нуля до указанных в табл. 2 значений, не должна превышать одной трети основной погрешности. Таблица 2
2.9 - 2.13. (Измененная редакция, Изм, № 1, 2). 2.14. Для уменьшения погрешности, вызванной группированием частиц воды вдоль силовых линий электрического поля, необходимо обеспечить напряженность его в датчике не выше 2 В/мм, если не приняты специальные меры против этого явления. 2.15. Конструкция емкостных датчиков для проточных влагомеров должна исключать возможность выделения или скопления газа (паров) и свободной воды в электрическом поле датчиков. 2.16. При отсутствии устройства для регулировки и компенсации емкости датчика после его разборки и сборки контролируют относительное изменение емкости промытого и осушенного датчика в процентах, которое не должно превышать значений, указанных в табл. 3. Таблица 3
(Измененная редакция, Изм. № 1, 2). 2.17. Сопротивление изоляции сухого датчика должно быть не менее 40 МОм. Сопротивление изоляции проточного датчика после циркуляции в нем в течение суток эмульсии с влажностью, соответствующей середине шкалы прибора, и последующего удаления ее без промывки и просушки должно быть не менее 10 МОм. 3. ПОДГОТОВКА К ОПРЕДЕЛЕНИЮ3.1. Перед определением влажности нефти с определенной диэлектрической характеристикой влагомер должен быть настроен на измеряемую нефть в соответствии с инструкцией по эксплуатации прибора. Разд. 3. (Измененная редакция, Изм. № 2). 4. ПРОВЕДЕНИЕ ОПРЕДЕЛЕНИЯ4.1. Влажность лабораторными влагомерами определяют путем заполнения емкостного датчика пробой нефти, отобранной в соответствии с разд. 1, и отсчета показаний по шкале прибора в процентах (по объему). 4.2. Влажность в потоке нефти определяют путем пропускания всего потока или отделенной от него части через емкостный датчик и отсчета по шкале прибора или на диаграмме записи показаний у влагомеров с автоматической регистрацией. 4.1, 4.2. (Измененная редакция, Изм. № 1). 4.3. При применении влагомеров совместно с объемными расходомерами допускается сигнал результата определения влажности направлять в счетное устройство для автоматического раздельного учета количества чистой нефти и воды. Примечание. При наличии в нефти (нефтепродуктах) механических примесей влагомеры регистрируют их наравне с влагой. (Измененная редакция, Изм. № 1, 2). 5. ОБРАБОТКА РЕЗУЛЬТАТОВ5.1. В результате определения находят влажность в % по объему (Wоб) и затем при необходимости вычисляют массовую концентрацию в %. (Измененная редакция, Изм. № 2). 5.2. Массовую концентрацию воды (Wмас) в % вычисляют по формуле
где d - относительная плотность нефти (нефтепродукта) при 20 °С. 5.3. Среднюю влажность в потоке нефти за время измерения вычисляют как среднее арифметическое результатов показаний влагомера за этот промежуток времени. 5.4. Разность между влажностью, определенной двумя методами, - по ГОСТ 2477-65 и по стандартизуемому методу - в зависимости от основной приведенной погрешности влагомеров и диапазонов измерения влажности не должна превышать указанной в табл. 4. Таблица 4
5.3, 5.4. (Измененная редакция, Изм. № 2). ПРИЛОЖЕНИЕОПРЕДЕЛЕНИЯ НЕКОТОРЫХ ТЕРМИНОВ, ПРИНЯТЫХ В НАСТОЯЩЕМ СТАНДАРТЕ Диспергированное состояние - состояние воды в нефти, при котором вода в виде мелких капелек равномерно распределена в нефти. Емкостный датчик - устройство, представляющее собой конденсатор, в электрическом поле которого помещено исследуемое вещество. Эмульсификатор - пробоприготовительное устройство, обеспечивающее перевод всей воды в водонефтяной смеси в диспергированное состояние. Эмульсия (нефтяная) - состояние водо-нефтяной смеси, при котором вся вода находится в диспергированном состоянии. Влагомер - прибор, при помощи которого осуществляется метод диэлькометрии для измерения влажности. Проточный датчик - емкостный датчик, через который непрерывно протекает измеряемый поток нефти (нефтепродукта). Свободная вода - вода, которая, не диспергируясь, транспортируется вместе с нефтяной эмульсией и легко оседает на дно при остановке или уменьшении скорости потока. Диэлектрическая характеристика - зависимость диэлектрической проницаемости данной нефти от влажности, определенная при нормальных условиях с требуемой точностью. ПРИЛОЖЕНИЕ (Измененная редакция, Изм. № 1, 2).
| ||||||||||||||||||||||||||||||||||||||||||||||||||||||||||||||||||||||||||||||||||||||||||||||||||||||||||||
|
© 2013 Ёшкин Кот :-) | ||||||||||||||||||||||||||||||||||||||||||||||||||||||||||||||||||||||||||||||||||||||||||||||||||||||||||||