Информационная система
«Ёшкин Кот»

XXXecatmenu

МЕЖГОСУДАРСТВЕННЫЙ СТАНДАРТ

МЕХАНИЗМЫ ИСПОЛНИТЕЛЬНЫЕ
ПНЕВМАТИЧЕСКИЕ МЕМБРАННЫЕ ГСП

Основные параметры и размеры

Diaphragm pneumatic actuators, SSI.
Basic parameters and dimensions

ГОСТ
13373-67

Дата введения 01.07.68

Настоящий стандарт распространяется на пневматические мембранные пружинные исполнительные механизмы (далее - механизмы) Государственной системы промышленных приборов и средств автоматизации (ГСП), изготавливаемые по ГОСТ 9887.

(Измененная редакция, Изм. № 2).

1. ОСНОВНЫЕ ПАРАМЕТРЫ

1.1. В зависимости от перестановочного диапазона механизмы подразделяют на:

механизмы с перестановочным диапазоном от 20 до 100 кПа;

механизмы с перестановочными диапазонами других значений, устанавливаемых в технических условиях на механизмы конкретного вида.

1.2. В зависимости от направления движения выходного звена механизмы подразделяют на:

а) прямого действия (при повышении давления воздуха в рабочей полости механизма присоединительный элемент выходного звена отдаляется от плоскости заделки мембраны);

б) обратного действия (при повышении давления воздуха в рабочей полости механизма присоединительный элемент выходного звена приближается к плоскости заделки мембраны).

1.1, 1.2. (Измененная редакция, Изм. № 2).

1.3. (Исключен, Изм. № 2).

1.4. Основные параметры механизмов приведены в табл. 2.

Таблица 2*

Диаметр заделки мембраны, мм

Эффективная площадь мембраны, см2

Условный ход выходного элемента, мм

Номинальное значение

Допускаемое отклонение

160

160

-10

4; 6; 10; 16; 25

200

250

-16

6; 10; 16; 25

250

400

-25

10; 16; 25; 40

320

630

-40

16; 25; 40; 60

400

1000

-60

25; 40; 60; 100

500

1600

-100

40; 60; 100

(Измененная редакция, Изм. № 2).

1.5. Механизмы должны комплектоваться дополнительными блоками в соответствии с техническими условиями на механизмы конкретного вида. Варианты комплектования выбирают по табл. 3а.

* Табл. 1. (Исключена, Изм. № 2).

Таблица 3а*

Обозначение комплектования

Наименование дополнительных блоков

01

Без дополнительного блока

02

Дублер боковой ручной

03

Дублер верхний ручной

04

Позиционер пневматический

05

Дублер боковой ручной; позиционер пневматический

06

Дублер верхний ручной; позиционер пневматический

07

Позиционер электропневматический

08

Дублер боковой ручной; позиционер электропневматический

09

Дублер верхний ручной; позиционер электропневматический

10

Сигнализатор крайних положений пневматический

11

Дублер боковой ручной; сигнализатор крайних положений пневматический

12

Дублер верхний ручной; сигнализатор крайних положений пневматический

13

Позиционер пневматический; сигнализатор крайних положений пневматический

14

Дублер боковой ручной; позиционер электропневматический; сигнализатор крайних положений пневматический

15

Дублер верхний ручной; позиционер пневматический; сигнализатор крайних положений пневматический

16

Позиционер электропневматический; сигнализатор крайних положений пневматический

17

Дублер боковой ручной; позиционер электропневматический; сигнализатор крайних положений пневматический

18

Дублер верхний ручной; позиционер электропневматический; сигнализатор крайних положений пневматический

19

Сигнализатор крайних положений электрический

20

Дублер боковой ручной; сигнализатор крайних положений электрический

21

Дублер верхний ручной; сигнализатор крайних положений электрический

22

Позиционер пневматический; сигнализатор крайних положений электрический

23

Дублер боковой ручной; позиционер пневматический; сигнализатор крайних положений электрический

24

Дублер верхний ручной; позиционер пневматический; сигнализатор крайних положений электрический

25

Позиционер электропневматический; сигнализатор крайних положений электрический

26

Дублер боковой ручной; позиционер электропневматический; сигнализатор крайних положений электрический

27

Дублер верхний ручной; позиционер электропневматический; сигнализатор крайних положений электрический

Примечание. По согласованию с заказчиком (основным потребителем) допускается комплектовать МИМы блоками, не предусмотренными в табл. .

(Измененная редакция, Изм. № 3).

1.5.1, 1.6. (Исключены, Изм. № 2).

1.7. Масса механизмов должна быть установлена в технических условиях на механизмы конкретного вида.

(Введен дополнительно, Изм. № 2).

2. ОСНОВНЫЕ РАЗМЕРЫ

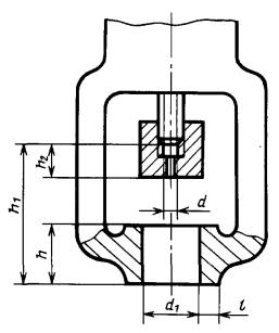
2.1. Основные присоединительные размеры механизмов должны соответствовать указанным на чертеже и в табл. 4.

* Табл. 3. (Исключена, Изм. № 3).

Таблица 4

Размеры, мм

Диаметр заделки мембраны

Вид действия

d

d1

Н12

l,

не менее

h

h14

h2

±2

160

Прямой

М8-6Н

35; 45

7,5

25

125, 140

20

Обратный

115

200

Прямой

45; 65

135, 145

Обратный

120

250

Прямой

М10-6Н

170, 185

25

Обратный

145

320

Прямой

М12-6Н

65; 85

28

205, 225

35

Обратный

165

400

Прямой

М14-6Н

250, 290

Обратный

190

500

Прямой

М16-6Н

95

10

32

310

50

Обратный

210

(Измененная редакция, Изм. № 2, 3).

2.2. (Исключен, Изм. № 2).

2.3. Механизмы для присоединения пневматических линий должны иметь резьбовые отверстия К 1/4" по ГОСТ 6111, снабженные деталями соединений по ГОСТ 25165, типоразмер соединений 00-01. Перечень и типоразмеры соединений должны устанавливаться в технических условиях на механизмы конкретного вида.

Примечание. В технически обоснованных случаях допускается применять резьбовые отверстия К 1/2" по ГОСТ 6111.

(Измененная редакция, Изм. № 2, 3).

2.4. (Исключен, Изм. № 3).

2.5. Условное обозначение (шифр) механизмов, должно состоять из букв и цифр, обозначающих его сокращенное наименование, конструктивное исполнение, основные параметры и комплектование дополнительными блоками.

Обозначение конструктивного исполнения и основных параметров указано в табл. 5, а обозначение комплектования дополнительными блоками - в табл. .

Таблица 5

Конструктивное исполнение и основные параметры

Наименование

Обозначение

1. Вид действия:

 

прямой

1

обратный

2

2. Условное давление мембранной камеры в кПа:

 

250

1

400

2

630

3

3. Конструктивное исполнение:

 

прямоходный однопружинный

1

прямоходный многопружинный

2

4. Перестановочный диапазон в кПа:

 

20 - 100

1

40 - 200

2

любой в пределах 20 - 400

3

5. Диаметр посадочного отверстия в мм:

 

35

1

45

2

65

3

85

4

95

5

6. Условный ход выходного элемента в мм:

 

4

1

6

2

10

3

16

4

25

5

40

6

60

7

100

8

7. Температура окружающего воздуха в °С:

 

от -30 до +50

1

от -50 до +50

2

от -60 до +50

3

Пример условного обозначения

Механизм исполнительный пневматический мембранный с диаметром заделки мембраны 200 мм, вид действия - прямой, условное давление мембранной камеры - 250 кПа, конструктивное исполнение - прямоходный однопружинный, перестановочный диапазон - от 20 до 100 кПа, условный ход выходного элемента - 16 мм, диаметр посадочного отверстия - 45 мм, без дополнительных блоков, температура окружающего воздуха от минус 50 °С до плюс 50 °С:

(Измененная редакция, Изм. № 2).

ПРИЛОЖЕНИЕ

Справочное

ДАННЫЕ О ПЕРЕСТАНОВОЧНЫХ УСИЛИЯХ МЕХАНИЗМОВ В Н

1. Перестановочные усилия, создаваемые давлением сжатого воздуха в мембранной полости, и перестановочные усилия пружин механизмов подсчитываются по формулам:

Q1 = 0,1Fэф (P - P1);

Q2 = 0,1Fэф (P - P2);

Q3 = 0,1Fэф × P1;

Q4 = 0,1Fэф × P2;

где Q1 - перестановочное усилие, создаваемое давлением сжатого воздуха в начале хода;

Q2 - перестановочное усилие, создаваемое давлением сжатого воздуха в конце хода;

Q3 - перестановочное усилие пружины в начале хода;

Q4 - перестановочное усилие пружины в конце хода;

Fэф - эффективная площадь мембраны, см2;

Р - давление сжатого воздуха в мембранной полости, кПа (кгс/см2);

Р1 - начало перестановочного диапазона, кПа (кгс/см2);

P2 - конец перестановочного диапазона, кПа (кгс/см2).

2. Перестановочные усилия механизмов в перестановочном диапазоне от 20 до 100 кПа приведены в таблице.

Усилия подсчитаны при давлении сжатого воздуха в мембранной полости P = 250 кПа (2,5 кгс/см2) и округлены до ближайших значений ряда Ra40 ГОСТ 8032.

Перестановочные усилия механизмов

Перестановочные усилия, Н

Диаметр заделки мембраны, мм

160

200

250

320

400

500

Мембраны в начале хода Q1

3600

5600

9000

14000

22400

35500

Мембраны в конце хода Q2

2400

3800

6000

9500

15000

23600

Пружины в начале хода Q3

320

500

800

1250

2000

3200

Пружины в конце хода Q4

1600

2500

4000

6300

10000

16000

ПРИЛОЖЕНИЕ. (Измененная редакция, Изм. № 2).

 

ИНФОРМАЦИОННЫЕ ДАННЫЕ

1. РАЗРАБОТАН И ВНЕСЕН Министерством нефтеперерабатывающей и нефтехимической промышленности СССР

2. УТВЕРЖДЕН И ВВЕДЕН В ДЕЙСТВИЕ Постановлением Государственного комитета СССР по стандартам от 07.12.67

3. ССЫЛОЧНЫЕ НОРМАТИВНО-ТЕХНИЧЕСКИЕ ДОКУМЕНТЫ

Обозначение НТД, на который дана ссылка

Номер пункта, приложения

ГОСТ 6111-52

2.3

ГОСТ 8032-84

Приложение

ГОСТ 9887-70

Вводная часть

ГОСТ 25165-82

2.3

4. Ограничение срока действия снято по протоколу № 3-93 Межгосударственного совета по стандартизации, метрологии и сертификации (ИУС 5-6-93)

5. ИЗДАНИЕ с Изменениями № 1, 2, 3, утвержденными в июле 1971 г., марте 1985 г., январе 1989 г. (ИУС 8-71, 6-85, 9-88)

 

СОДЕРЖАНИЕ

 

 



© 2013 Ёшкин Кот :-)