Информационная система
«Ёшкин Кот»

XXXecatmenu

ГОСУДАРСТВЕННЫЙ СТАНДАРТ СОЮЗА ССР

 

РАЗВЕРТКИ КОНИЧЕСКИЕ
С ЦИЛИНДРИЧЕСКИМ ХВОСТОВИКОМ
ПОД МЕТРИЧЕСКИЕ КОНУСЫ
КОНУСНОСТЬ 1:20

КОНСТРУКЦИЯ И РАЗМЕРЫ

 

ГОСТ 11183-71

 

 

ИПК ИЗДАТЕЛЬСТВО СТАНДАРТОВ

МОСКВА

 

ГОСУДАРСТВЕННЫЙ СТАНДАРТ СОЮЗА ССР

РАЗВЕРТКИ КОНИЧЕСКИЕ С ЦИЛИНДРИЧЕСКИМ
ХВОСТОВИКОМ ПОД МЕТРИЧЕСКИЕ КОНУСЫ.
КОНУСНОСТЬ 1 : 20

Конструкция и размеры

Tapered reamers with cylindrical shank for metric tapers, taper 1 : 20.
Design and dimensions

ГОСТ
11183-71*

Взамен
ГОСТ 11183-65
и МН 56-58
в части разверток
для метрических конусов

Постановлением Государственного комитета стандартов Совета Министров СССР от 17.03.71 № 477 дата введения установлена

01.07.72

Ограничение срока действия снято Постановлением Госстандарта от 28.04.81 № 2139

* Переиздание (ноябрь 1997 г.) с Изменениями № 1, 2, утвержденными в апреле 1981 г., январе 1995 г. (ИУС 7-81, 4-95)

1а. (Исключен, Изм. № 2).

1. Настоящий стандарт распространяется на чистовые и предварительные конические развертки, предназначенные для обработки отверстий с метрическими конусами по ГОСТ 25557-82.

В части основных размеров чистовых разверток стандарт соответствует стандарту ИСО 2250-72.

Требования стандарта являются обязательными, кроме п. 6 и приложения 2.

2. Конструкция и основные размеры разверток должны соответствовать указанным на чертеже и в таблице.

1, 2. (Измененная редакция, Изм. № 1, 2).

3. Размеры квадратов - по ГОСТ 9523-84.

4. Центровые отверстия - форма В и форма R - по ГОСТ 14034-74.

(Измененная редакция, Изм. № 1).

5. Технические требования - по ГОСТ 10083-81.

(Измененная редакция, Изм. № 2).

6. Элементы конструкции и геометрические параметры разверток указаны в приложении 1.

* Размеры для справок

Размеры, мм

Обозначение развертки

Применяемость

Для метрического конуса

D

D1

d1

d

L

l

l1

Число зубьев z

предварительных

чистовых

2372-0141

 

4

4

4,4

2,9

4

48

30

22

5

6

2372-0131

 

6

6

6,5

4,5

5

63

40

30

2372-0139

 

80

80

82,0

70,9

56

340

222

182

13

14

2372-0140

 

100

100

102,3

89,3

71

385

260

214

16

Примечание. Размеры чистовых разверток для метрических конусов 4 и 6 соответствуют ИСО 2250-72, кроме размеров D1, d1 и числа зубьев.

Пример условного обозначения чистовой конической развертки под метрический конус 80:

Развертка 2372-0139 ГОСТ 11183-71

То же, предварительной конической развертки:

Развертка 2372-0139-1 ГОСТ 11183-71

(Измененная редакция, Изм. № 1, 2).

ПРИЛОЖЕНИЕ 1

Рекомендуемое

ЭЛЕМЕНТЫ КОНСТРУКЦИИ И ГЕОМЕТРИЧЕСКИЕ ПАРАМЕТРЫ РАЗВЕРТОК

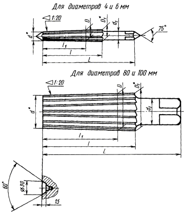
1. Элементы конструкции и геометрические параметры предварительных разверток указаны на черт. 1 и в табл. 1.

Для диаметров 4 и 6 мм

Для диаметров 80 и 100 мм

* Размеры для справок.

Черт. 1

Таблица 1

Размеры, мм

Для метрического конуса

D

D1

d1

L1

l1

r

r1

b

На меньшем диаметре d1

На большем диаметре D1

S

b

t

Номин.

Пред. откл.

f

f1

f

f1

4

3,8

+0,04

4,3

2,7

54,3

22

0,3

0,05

90°

0,15

0,6

0,2

0,8

1,5

0,5

0,3

6

5,8

-0,02

6,4

4,3

71,0

30

85°

0,2

0,8

0,3

1,2

2

0,8

0,4

80

79,6

+0,10

81,6

70,5

-

182

2,0

0,50

70°

1,5

3,8

2,0

4,5

8

3,2

2,0

100

99,6

-0,05

101,9

88,9

-

214

4,2

5,0

10

4,0

2,5

2. Геометрические параметры чистовых разверток указаны на черт. 2 и в табл. 2.

Черт. 2

Таблица 2

Размеры, мм

Для метрического конуса

r

b

a (пред. откл. ±2°)

f

На меньшем диаметре d1

На большем диаметре D1

4

0,3

80°

12°

0,3

0,4

6

85°

0,4

0,6

80

2,0

75°

1,8

2,1

100

2,2

2,5

3. Размеры радиусов скруглений и фасок, не указанные в настоящем стандарте, принимаются по технологическим соображениям.

4. (Исключен, Изм. № 1).

ПРИЛОЖЕНИЕ 2

Справочное

Соответствие стандарта международному стандарту ИСО 2250-72

Размеры чистовых разверток, установленные в настоящем стандарте, полностью охватывают номенклатуру размеров и соответствуют размерам разверток с цилиндрическим хвостовиком подметрические конусы по международному стандарту ИСО 2250-72 и приведены в таблице.

Дополнительно в стандарт включены требования к исполнительным размерам (D1, d1) и числу зубьев чистовых разверток под метрические конусы 4 и 6, размерам и числу зубьев чистовых разверток под метрические конусы 80 и 100, размерам и числу зубьев предварительных разверток, элементам конструкции и геометрическим параметрам чистовых и предварительных разверток.

ПРИЛОЖЕНИЕ 2. (Введено дополнительно, Изм. № 2).

 

 



© 2013 Ёшкин Кот :-)