Информационная система
«Ёшкин Кот»

XXXecatmenu

ГОСТ 31166-2003

МЕЖГОСУДАРСТВЕННЫЙ СТАНДАРТ

КОНСТРУКЦИИ ОГРАЖДАЮЩИЕ
ЗДАНИЙ И СООРУЖЕНИЙ

Метод калориметрического определения
коэффициента теплопередачи

МЕЖГОСУДАРСТВЕННАЯ НАУЧНО-ТЕХНИЧЕСКАЯ КОМИССИЯ
ПО СТАНДАРТИЗАЦИИ, ТЕХНИЧЕСКОМУ НОРМИРОВАНИЮ
И СЕРТИФИКАЦИИ В СТРОИТЕЛЬСТВЕ (МНТКС)

Москва

Предисловие

1 РАЗРАБОТАН Научно-исследовательским институтом строительной физики Российской академии архитектуры и строительных наук (НИИСФ РААСН), Федеральным государственным унитарным предприятием - Центром методологии нормирования и стандартизации в строительстве (ФГУП ЦНС), Федеральным научно-техническим центром сертификации в строительстве (ФЦС)

ВНЕСЕН Управлением технического нормирования, стандартизации и сертификации в строительстве и ЖКХ Госстроя России

2 ПРИНЯТ Межгосударственной научно-технической комиссией по стандартизации, техническому нормированию и сертификации в строительстве (МНТКС) 14 мая 2003 г.

За принятие проголосовали

Наименование государства

Наименование органа государственного управления строительством

Азербайджанская Республика

Госстрой Азербайджанской Республики

Республика Армения

Министерство градостроительства Республики Армения

Республика Казахстан

Казстройкомитет Республики Казахстан

Республика Молдова

Министерство экологии, строительства и развития территорий Республики Молдова

Российская Федерация

Госстрой России

Республика Таджикистан

Комархстрой Республики Таджикистан

3 ВВЕДЕН ВПЕРВЫЕ

4 ВВЕДЕН В ДЕЙСТВИЕ с 01 июля 2003 г. в качестве государственного стандарта Российской Федерации постановлением Госстроя России от 02.06.2003 г. № 48

СОДЕРЖАНИЕ

Введение. 2

1 Область применения. 2

2 Нормативные ссылки. 3

3 Термины и определения. 3

4 Общие положения. 3

5 Метод отбора образцов. 4

6 Аппаратура и оборудование. 5

7 Подготовка к испытаниям.. 5

8 Проведение испытаний. 6

9 Обработка результатов. 6

10 Оценка погрешности измерений. 7

11 Требования безопасности. 7

Приложение А Конструкция прибора. 7

Приложение Б Перечень приборов и оборудования для определения коэффициента теплопередачи (или сопротивления) неоднородных ограждающих конструкций. 12

Приложение В Журнал записи измеряемых параметров при определении приведенного коэффициента теплопередачи (или сопротивления) ограждающей конструкции. 12

Приложение Г Вычисление доверительных границ погрешности измерений. 12

Введение

Настоящий стандарт разработан с целью подтверждения соответствия в лабораторных и натурных условиях приведенного коэффициента теплопередачи (или сопротивления) ограждающей конструкции нормируемым значениям и требованиям контроля показателей СНиП 23-02-2003 «Тепловая защита зданий» с учетом требований ГОСТ Р 51380 и ГОСТ Р 51387.

Метод измерений в настоящем стандарте в отличие от ГОСТ 26254 позволяет определить осредненный тепловой поток, проходящий через участок поверхности ограждающей конструкции, внутри которой могут быть различные теплотехнические неоднородные теплопроводные включения, нарушающие термическую однородность ограждения. Метод измерений предполагает, что ограждающая конструкция находится в условиях стационарной теплопередачи. Такое условие может соблюдаться только в лабораторных условиях. В натурных условиях для проведения измерений необходимо выбирать такой период, когда достигаются условия квазистационарной теплопередачи. В этом случае при большом количестве измерений в относительно длительный период, зависящий от тепловой инерции ограждающих конструкций, получают близкие к условиям стационарной теплопередачи результаты.

Стандарт является одним из базовых стандартов, обеспечивающих параметрами энергетический паспорт и энергоаудит эксплуатируемых зданий.

В стандарте учтены положения международного стандарта ИСО 8990 «Теплоизоляция. Определение свойств теплопередачи в стационарном режиме. Метод калиброванной и защищаемой горячей камеры». Стандарт соответствует зарубежным стандартам в части методов испытаний.

В разработке настоящего стандарта принимали участие: канд. техн. наук Ю. А. Матросов, канд. техн. наук И. Н. Бутовский, П. Ю. Матросов (НИИСФ РААСН), В.А. Глухарев (Госстрой России), Т.И. Мамедов (ФЦС), Л.С. Васильева (ФГУП ЦНС).

ГОСТ 31166-2003

МЕЖГОСУДАРСТВЕННЫЙ СТАНДАРТ

КОНСТРУКЦИИ ОГРАЖДАЮЩИЕ ЗДАНИЙ И СООРУЖЕНИЙ

Метод калориметрического определения коэффициента теплопередачи

BUILDING AND STRUCTURE ENVELOPES

Method for calorimetric determination of the heat transfer coefficient

Дата введения 2003-07-01

1 Область применения

Настоящий стандарт распространяется на ограждающие конструкции жилых, общественных, производственных и сельскохозяйственных зданий и сооружений: наружные стены, покрытия, чердачные перекрытия, перекрытия над проездами, холодными подпольями и подвалами - и устанавливает метод определения их коэффициента теплопередачи в лабораторных и натурных условиях. Ограждающие конструкции в зоне измерения могут содержать различные включения, нарушающие термическую однородность по полю ограждения.

Стандарт не распространяется на светопрозрачные ограждающие конструкции.

2 Нормативные ссылки

В настоящем стандарте использованы ссылки на следующие нормативные документы.

СНиП 23-02-2003 Тепловая защита зданий

ГОСТ 8.207-76 ГСИ. Прямые измерения с многократными наблюдениями. Методы обработки результатов наблюдений. Основные положения

ГОСТ 112-78 Термометры метеорологические стеклянные. Технические условия

ГОСТ 1790-77 Проволока из сплавов хромель Т, алюмель, копель и константан для термоэлектродов термоэлектрических преобразователей. Технические условия

ГОСТ 6416-75 Термографы метеорологические с биметаллическим чувствительным элементом. Технические условия

ГОСТ 8711-93 Приборы аналоговые показывающие электроизмерительные прямого действия и вспомогательные части к ним. Часть 2. Особые требования к амперметрам и вольтметрам.

ГОСТ 9245-79 Потенциометры постоянного тока измерительные. Общие технические условия

ГОСТ 9736-91 Приборы электрические прямого преобразования для измерения неэлектрических величин. Общие технические требования и методы испытаний

ГОСТ 16617-87 Электроприборы отопительные бытовые. Общие технические условия

ГОСТ 17083-87 Электротепловентиляторы бытовые. Общие технические условия

ГОСТ 26254-84 Здания и сооружения. Метод определения сопротивления теплопередаче ограждающих конструкций

ГОСТ 26629-85 Здания и сооружения. Метод тепловизионного контроля качества теплоизоляции ограждающих конструкций

ГОСТ 27570.0-87 Безопасность бытовых и аналогичных электрических приборов. Общие требования и методы испытаний

ГОСТ Р 51380-99 Энергосбережение. Методы подтверждения соответствия показателей энергетической эффективности энергопотребляющей продукции их нормативным значениям

ГОСТ Р 51387-99 Энергосбережение. Нормативно-методическое обеспечение. Основные положения

3 Термины и определения

В настоящем стандарте применяют следующие термины и определения.

Средняя плотность теплового потока q, Вт/м2, - осредненная по площади величина неравномерной плотности теплового потока, проходящего через поверхность ограждающей конструкции.

Приведенный коэффициент теплопередачи ограждающей конструкции Kr, Вт/(м2×°С), - величина, численно равная средней плотности теплового потока, проходящего через ограждающую конструкцию при разности наружной и внутренней температур воздуха в один градус Цельсия.

Приведенное сопротивление теплопередаче ограждающей конструкции Ror, 2×°С)/Вт, - величина, обратная приведенному коэффициенту теплопередачи ограждающей конструкции.

4 Общие положения

4.1 Метод определения приведенного коэффициента теплопередачи (или сопротивления) ограждающей конструкции заключается в измерении по площади испытываемого участка температур, °С, внутреннего (tint) и наружного (text) воздуха (не менее чем в 100 мм от поверхности конструкции), средней по участку плотности теплового потока q, Вт/м2, измеренной по расходу тепловой энергии, выделенной электронагревателем, который размещен в специальном теплоизолированном ящике (далее по тексту - приборе), прижатом к поверхности испытываемого в условиях стационарной (квазистационарной) теплопередачи ограждения, с последующим расчетом термических характеристик по нижеприведенным формулам:

приведенного коэффициента теплопередачи ограждающей конструкции Kr

Kr = q/(tint - text);                                                        (1)

приведенного сопротивления теплопередаче ограждающей конструкции Ror

Ror = (tint - text)/q.                                                          (2)

4.2 Средняя плотность теплового потока q определяется при достижении стационарного (квазистационарного) температурного режима в системе ограждение - прибор по электрическим характеристикам постоянного тока, проходящего через электронагреватель, при условии равенства (отсутствия перепада) температур на поверхностях стенки прибора.

4.3 Прибор, с помощью которого измеряется средняя плотность теплового потока через испытываемую ограждающую конструкцию, представляет собой открытый с одной стороны теплоизолированный ящик, в полости которого равномерно размещен электронагреватель с регулируемым выделением теплоты. Открытая часть ящика по периметру снабжена уплотнительной прокладкой, через которую ящик прижимается к ограждению. Теплоизолированная стенка ящика на поверхностях снабжена группами дифференциальных термопар, по которым устанавливается усредненный температурный перепад на стенках ящика.

5 Метод отбора образцов

5.1 Приведенный коэффициент теплопередачи (или сопротивления) в лабораторных условиях (в климатических камерах) определяют на образцах, которыми являются целые элементы наружных ограждений или фрагменты. При этом имеющиеся стыки и другие виды соединения ограждающих конструкций должны быть выполнены в соответствии с проектным решением.

5.2 Длина и ширина испытываемого образца должны обеспечивать при установке прибора по его периметру свободное поле от края прибора до края фрагмента шириной не менее тройной толщины образца.

5.3 Порядок отбора образцов для испытаний и их число устанавливают в стандартах или технических условиях на конкретные ограждающие конструкции. При отсутствии в этих документах указаний о числе испытываемых образцов отбирают для испытаний не менее двух однотипных образцов.

5.4 Коэффициент теплопередачи (или сопротивления) в натурных условиях определяют на наружных ограждающих конструкциях эксплуатируемых или полностью подготовленных к сдаче в эксплуатацию зданий и сооружений. При этом выбирают участки ограждений согласно 5.5, размеры которых обеспечивают требование 5.2.

5.5 При натурных испытаниях наружных ограждающих конструкций выбирают угловые помещения, стены которых ориентированы на север, северо-восток, северо-запад. Выявление теплотехнически неоднородных участков, предназначенных для проведения измерений, рекомендуется проводить методом термографии согласно ГОСТ 26629.

6 Аппаратура и оборудование

6.1 Для измерения осредненной по площади участка неравномерной плотности теплового потока, проходящего через ограждающую конструкцию, используют прибор, конструкция которого приведена в приложении А.

6.2 Для обеспечения нагрева спирали прибора применяют широкодиапазонный источник постоянного тока. Для измерения силы тока и напряжения в цепи нагрева используют амперметры и вольтметры по ГОСТ 8711.

6.3 Для измерения температур воздуха и поверхностей ограждения и прибора применяют термоэлектрические преобразователи с проводами из сплавов константан, хромель, копель и алюмель по ГОСТ 1790.

6.4 В качестве вторичных измерительных приборов, работающих с термоэлектрическими преобразователями, применяют потенциометры постоянного тока по ГОСТ 9245, милливольтметры по ГОСТ 8711 или ГОСТ 9736.

6.5 Температуру воздуха контролируют с помощью стеклянных термометров расширения по ГОСТ 112. Для непрерывной регистрации температуры воздуха внутри помещения используют термографы по ГОСТ 6416.

6.6 Перечень приборов и оборудования для определения коэффициента теплопередачи неоднородных ограждающих конструкций в лабораторных и натурных условиях приведен в приложении Б.

7 Подготовка к испытаниям

7.1 Для определения приведенного коэффициента теплопередачи (или сопротивления) ограждающих конструкций в лабораторных условиях образец устанавливают в климатическую камеру по ГОСТ 26254, в которой создают для испытываемого ограждения требуемый стационарный температурный режим.

7.2 Измерения в натурных условиях выполняют в период работы системы отопления и при разности температур воздуха снаружи и внутри не менее 12 °С. Для определения приведенного коэффициента теплопередачи (или сопротивления) в натурных условиях используют тот температурный перепад, который установился на ограждающей конструкции вследствие разности температур наружного и внутреннего воздуха. Для поддержания постоянной температуры воздуха внутри помещения используют оборудование по ГОСТ 16617, ГОСТ 17083.

7.3 На выбранном участке ограждающей конструкции располагают первичные преобразователи температур и прибор, прижимаемый открытой стороной к внутренней поверхности этого участка с помощью крепежных устройств.

7.4 Чувствительные элементы термопар для измерения температур воздуха вблизи ограждающей конструкции устанавливают на расстоянии не менее 100 мм от поверхности ограждения. Термопару внутри прибора устанавливают в центре воздушной полости с экранированием от лучистого воздействия нагревателя.

7.5 Свободные концы термопар помещают в термостат с температурой 0 °С. Допускается в качестве термостата использовать сосуд Дьюара. При этом в нем должны быть одновременно пар, вода и лед дистиллированной воды.

7.6 Подключение термопар к переключателю и милливольтметру осуществляется в соответствии со схемой, представленной в ГОСТ 26254. Выводы дифференциальных термопар прибора также подключают к милливольтметру.

7.7 Выводы электронагревателя прибора подключают к источнику постоянного тока. Вольтметр и амперметр подключают в соответствии со схемой на рисунке А.3 приложения А.

7.8 Стеклянные термометры, термографы, датчики регуляторов температуры устанавливают в центре помещения или отсека климатической камеры на высоте 1500 мм от пола.

7.9 При испытаниях в климатической камере после проверки готовности оборудования и измерительных средств теплый и холодный отсеки с помощью герметичных дверей изолируют от наружного воздуха. На регулирующей аппаратуре устанавливают заданную температуру в каждом отсеке, включают холодильное и нагревательное оборудование камеры.

8 Проведение испытаний

8.1 Перед включением прибора, установленного на внутренней поверхности испытываемой ограждающей конструкции, убеждаются в наличии стационарного (квазистационарного) температурного режима системы ограждение - прибор. В климатической камере стационарный температурный режим достигается в соответствии с ГОСТ 26254.

8.2 В натурных условиях температуру внутреннего воздуха поддерживают постоянной с помощью регулятора температуры, подключенного к системе отопления. Для проведения измерений, связанных с определением коэффициента теплопередачи, выбирают время суток со стабильным уровнем температуры наружного воздуха в ночное время не менее чем через 1 ч после захода солнца.

8.3 По предварительно установленному расчетному значению термического сопротивления испытываемого ограждения и известным размерам прибора подбирают с помощью источника постоянного тока те значения напряжения и силы тока, подаваемого на нагреватель прибора, которые обеспечивают примерно тот же осредненный тепловой поток, который проходит через ограждающие конструкции на участках, не закрытых прибором.

8.4 После включения нагревателя прибора регулируют напряжение на нагревателе таким образом, чтобы были обеспечены равенства температур на внутренних и наружных поверхностях стенок прибора и температур внутри прибора и снаружи в помещении (с допустимым отклонением ±0,5 °С). Не ранее чем через 1 ч после достижения равенства указанных температур производят измерения температур воздуха снаружи text и внутри помещения tint, температуры воздуха в полости прибора tс, поверхностной температуры стенок прибора с внутренней tсi и наружной tсе сторон. Измерения повторяют с интервалом 30 мин для конструкций с тепловой инерцией меньше или равной 4 и с интервалом 1 ч 30 мин - для остальных конструкций и не менее пяти раз. Результаты измерений заносят в журнал, форма которого приведена в приложении В.

8.5 Если в ходе измерений температурный режим системы ограждение - прибор не изменился, испытание считается законченным. В противном случае регулированием напряжения на нагревателе следует обеспечить равенство температур согласно 8.4 и провести повторные измерения.

9 Обработка результатов

9.1 Вычисляют среднее арифметическое значение следующих величин: напряжения  и силы тока  нагревателя, температуры воздуха снаружи  и внутри , поверхностей ограждающих конструкций снаружи  и внутри прибора , а также температур поверхностей стенок прибора с внутренней и наружной сторон.

9.2 Рассчитывают среднюю плотность теплового потока q через ограждающую конструкцию при разности температур ее поверхностей,  за вычетом теплового потока, проходящего через стенки прибора, по формуле

q = (×)/Ac - ( - )/Rc,                                                        (3)

где  - напряжение постоянного тока на спирали нагревателя, В;

 - сила постоянного тока по спирали нагревателя, А;

Ас - площадь открытой части прибора, ограниченной уплотнительной прокладкой, м2 (определяется размерами применяемого прибора);

 - средняя температура на наружной поверхности прибора, °С;

 - средняя температура на внутренней поверхности прибора, °С;

Rc - термическое сопротивление стенки прибора, м2×°С/Вт, вычисляемое согласно 9.3.

9.3 Термическое сопротивление стенки прибора включается в его паспорт. Это сопротивление определяется по формуле

Rc = dinc/linc + dc/lc,                                                          (4)

где dinc и dc - соответственно толщина утеплителя и наружного облицовочного слоя стенки прибора, м;

linc и lc - коэффициент теплопроводности соответственно утеплителя и наружного облицовочного слоя стенки прибора, Вт/м×°С.

9.4 Рассчитывают теплотехнические характеристики ограждающих конструкций: приведенного коэффициента теплопередачи Kr по формуле (1) и приведенного сопротивления теплопередаче  по формуле (2), подставляя величины, полученные в 9.1 и 9.2.

9.5 Применение метода дает возможность определить среднюю плотность теплового потока при разности средних температур  и  на ограждающей конструкции при испытаниях:

в климатической камере ± 5 %,

в натурных условиях ± 15 %.

10 Оценка погрешности измерений

Точность определения среднего теплового потока q через ограждающую конструкцию зависит от точности измерений напряжения V и силы тока I нагревателя и разности температур поверхности стенок прибора Dtс = tci - tce. Оценку погрешностей измерений выполняют согласно ГОСТ 8.207 для каждого из замеров вышеуказанных величин по приложению Г. Доверительные границы eq случайной погрешности среднего теплового потока q для каждого из замеров определяют по формуле

eq =± [(eVeI)/Aс + eDtc/Rc],                                                    (5)

где eV, eI и eDtc - соответственно доверительные границы случайной погрешности измерений напряжения V, тока I нагревателя и разности температур Dtс поверхностей стенок нагревателя, определяемые по приложению Г.

11 Требования безопасности

11.1 При работе с оборудованием климатических камер и при проведении натурных испытаний должны соблюдаться требования безопасности в соответствии с ГОСТ 27570.0.

11.2 Монтаж датчиков на наружной поверхности ограждающей конструкции на этажах выше первого должен проводиться с лоджий, балконов или монтажных средств при соблюдении требований безопасности при работе на высоте.

ПРИЛОЖЕНИЕ А

(справочное)

Конструкция прибора

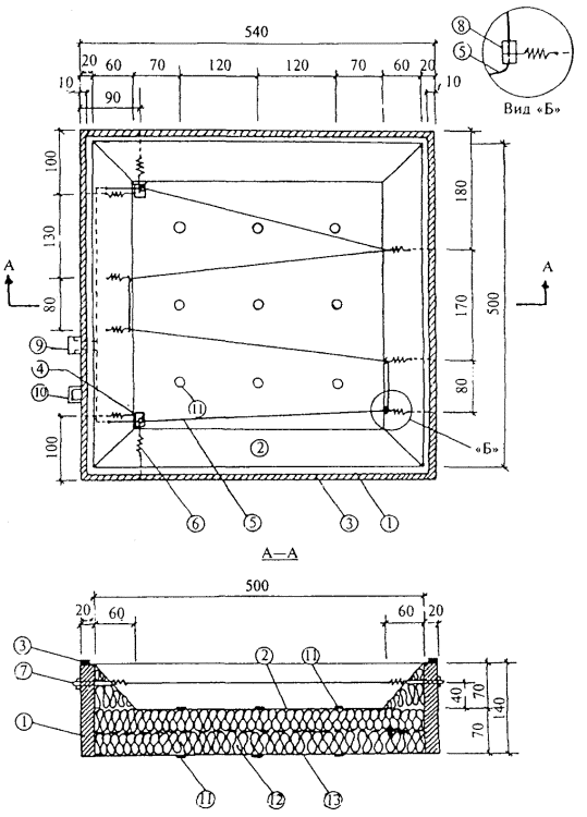
Прибор представляет собой ящик с одной открытой поверхностью, стенки которого утеплены эффективным теплоизоляционным материалом, облицованным внутри отражающим излучение материалом. В зависимости от испытываемой конструкции выбирают размер ящика прибора. Конструкции прибора размером 1,0 ´ 1,0 м и 0,5 ´ 0,5 м приведены на рисунках А.1 и А.2.

Ящик изготовляют из листового материала. Изнутри стенки утепляют минеральной ватой 12, которую закрывают снаружи листовым отражающим материалом 2: толстой алюминиевой фольгой или жестью с зеркальным покрытием. По периметру ящика на торце боковых стенок 1 крепят резиновый уплотнитель 3. На поверхностях отражателя и задней стенки ящика 13 крепят спаи 11 батарей дифференциальных термопар, схема соединения которых приведена на рисунке А.3. Для подключения к измерительному прибору батарея термопар снабжена клеммами 10.

В полости прибора, образованной отражателем 2, крепят спираль нагрева 5 из нихромовой проволоки через трубчатые керамические изоляторы 8 к пружинам 6, фиксируемым на боковых стенках ящика с помощью крепежных элементов 7. На концах спирали закреплены изоляторы 4, через которые подключают провода ввода электропитания нагревателя, клеммы 9 которого располагают на боковой стенке ящика.

Выбор проволоки и ее длины для нагревателя прибора, подключенного к источнику постоянного тока, осуществляют в следующем порядке.

Диапазон сопротивления теплопередаче Rо наиболее распространенных ограждений - 0,5-4,5 м2×°С/Вт.

Исходя из габаритов прибора устанавливают диапазон необходимой мощности нагрева Р, Вт, по формуле

P = [(tint - text)/Ro)]Aс,                                                     (А.1)

где tint - температура воздуха с теплой стороны испытываемой конструкции (внутреннего воздуха), °С, ожидаемая в период испытаний;

text - температура воздуха с холодной стороны испытываемой конструкции (наружного воздуха), °С, ожидаемая в период испытаний;

Ас - площадь прибора, ограниченная уплотнительной прокладкой, прижимаемой к испытываемой конструкции, м2.

По паспортным данным источника постоянного тока выявляют диапазоны создаваемого напряжения V, В, и силы тока I, А. Например, для широкодиапазонного источника постоянного тока V = 0 - 30 В; I = 0 - 1 А.

По установленному диапазону мощности нагрева Р подбирают сочетания V и I, используя формулу

Р = V × I,                                                              (A.2)

таким образом, чтобы они обеспечивались возможностями выбранного источника постоянного тока.

По справочным данным устанавливают следующие характеристики принятой проволоки: диаметр сечения d, мм; удельное электрическое сопротивление r, Ом×мм2/м.

Длину принятой проволоки l, м, определяют по формуле

l = (p×d2×W)/4r,                                                             (А.3)

где W - необходимое электрическое сопротивление проволоки, Ом, определяемое по формуле

W = V/I,                                                                     (A.4)

где V и I - соответственно напряжение, В, и сила тока, А, создаваемые на нагревателе с помощью источника постоянного тока.

Рисунок A.1 - Конструкция прибора площадью 1 м2

Рисунок А.2 - Конструкция прибора площадью 0,25 м2

Батарея дифференциальных термопар

Условные обозначения:

о - термопара на лицевой заштрихованной стороне

х - термопара на обратной заштрихованной стороне

__К__ - константановый провод

__М__ - медный провод

V - вольтметр

А - амперметр

ИПТ - источник постоянного тока

Примечание - После сварки термопары батареи разводятся по лицевой и обратной стороне и закрепляются на поверхностях в соответствии с их нумерацией.

Рисунок А.3 - Схема подключения нагревателя прибора к источнику тока и размещение батареи дифференциальных термопар

ПРИЛОЖЕНИЕ Б

(рекомендуемое)

Перечень приборов и оборудования для определения коэффициента теплопередачи (или сопротивления) неоднородных ограждающих конструкций

Прибор, изготовленный по указаниям приложения А.

Термопары медь - константан, хромель - алюмель или хромель - копель из провода диаметром 0,3 мм по ГОСТ 1790 с изоляцией из ПВХ длиной до 25 мм.

Метеорологический недельный термограф М-16 И по ГОСТ 6416.

Метеорологический низкоградусный термометр ТМ-9 по ГОСТ 112.

Метеорологический термометр ТМ-8 по ГОСТ 112.

Сосуд Дьюара.

Амперметр по ГОСТ 8711.

Вольтметр по ГОСТ 8711.

Милливольтметр по ГОСТ 8711 или ГОСТ 9736.

Широкодиапазонный источник постоянного тока.

Электронный потенциометр ЭПП-09М3 на 24 точки или КСП-4 на 12 точек, градуировка на термопары ХК или МК в мВ.

Электронный потенциометр на 12 точек, градуированный в мВ, пределы измерения от 0 до плюс 10 мВ.

Переносной потенциометр ПП-63, КП-59, Р-306, Р-305, цифровой микровольтметр В-7-21, вольтметр универсальный Щ68003.

Допускается использовать другие приборы, оборудование и измерительные средства, отвечающие требованиям настоящего стандарта и поверенные в установленном порядке. Число их определяют в соответствии с программой и схемой испытаний.

ПРИЛОЖЕНИЕ В

(рекомендуемое)

Журнал записи измеряемых параметров при определении приведенного коэффициента теплопередачи (или сопротивления) ограждающей конструкции

Время измерений

Характеристики электрического тока, подаваемого на нагреватель

Текущие значения температур, °С

 

внутреннего воздуха

наружного воздуха

воздуха в полости прибора

разность температур воздуха

внутренней поверхности прибора

наружной поверхности прибора

разность температур поверхностей прибора

напряжение, В

силы тока, А

 

V

I

tint

text

tс

tint - tc

tci

tce

tci - tce

 

1

2

3

4

5

6

7

8

9

10

 

 

 

 

 

 

 

 

 

 

 

 

 

 

 

 

 

 

 

 

 

 

 

 

 

 

 

 

 

 

 

 

 

 

 

 

 

 

 

 

 

 

 

 

 

 

 

 

 

 

 

 

 

 

 

 

 

 

 

 

 

 

 

 

 

 

 

Средние значения

 -

 -

 

 

 

 

 

 

 

 

 

 

 

ПРИЛОЖЕНИЕ Г

(справочное)

Вычисление доверительных границ погрешности измерений

Г.1 Вычисляют среднее арифметическое значение при N измерениях следующих величин: ,  и .

Г.2 Вычисляют средние квадратические отклонения следующих величин по формулам для:

напряжения постоянного тока на нагревателе

S(V) = ;                                   (Г.1)

силы постоянного тока через нагреватель

S(I) = ;                                     (Г.2)

разностей температур поверхностей стенок прибора

S(Dtс) = ;                          (Г.3)

Г.3 Находят доверительные границы e (без учета знака) случайной погрешности измерений следующих величин по формулам:

напряжений постоянного тока на нагревателе

eV = tS(V);                                                          (Г.4)

силы постоянного тока через нагреватель

eI = tS(I);                                                           (Г.5)

разностей температур поверхностей стенок прибора

eDtc = tS(Dtc);                                                       (Г.6)

где t - коэффициент Стьюдента при доверительной вероятности 0,95 и числа замеров N, определяют по ГОСТ 8.207; для 5 измерений t = 2,571.

Ключевые слова: метод определения приведенного коэффициента (сопротивления) теплопередачи, здания жилые, помещения, сооружения, конструкции ограждающие, конструкции термически неоднородные



© 2013 Ёшкин Кот :-)