Информационная система
«Ёшкин Кот»

XXXecatmenu

ГОСТ 29309-92

МЕЖГОСУДАРСТВЕННЫЙ СТАНДАРТ

 

ПОКРЫТИЯ ЛАКОКРАСОЧНЫЕ

ОПРЕДЕЛЕНИЕ ПРОЧНОСТИ ПРИ РАСТЯЖЕНИИ

 

 

ИПК ИЗДАТЕЛЬСТВО СТАНДАРТОВ
Москва

 

 

МЕЖГОСУДАРСТВЕННЫЙ СТАНДАРТ

ПОКРЫТИЯ ЛАКОКРАСОЧНЫЕ

Определение прочности при растяжении

Paint coatings.
Determination of tensile strength

ГОСТ
29309-92

Дата введения 01.01.93

Настоящий стандарт распространяется на покрытия лакокрасочные и устанавливает метод определения прочности при растяжении. Метод основан на измерении глубины выдавливания металлической пластинки с покрытием в момент его разрушения при вдавливании сферического пуансона.

1. ОБРАЗЦЫ И ИХ ИЗГОТОВЛЕНИЕ

1.1. Образцами для испытаний являются окрашенные пластины размером 70150 мм из листовой стали марки 08КП и других черных и цветных металлов по ГОСТ 8832.

1.2. Количество образцов на каждый испытываемый материал - не менее трех.

1.3. Метод подготовки поверхности, метод нанесения, способ сушки, время сушки, количество слоев, толщина покрытия, срок и условия выдержки перед испытанием должны соответствовать требованиям стандартов и технических условий на изделия или лакокрасочные материалы. Перед испытанием зона выдавливания на образцах не должна подвергаться обработке, в результате которой могут появляться различные повреждения, искажения и деформации.

2. АППАРАТУРА

Для испытаний на растяжение используются прибор типа 2068-МТВ-10 или прибор-пресс Эриксена (черт. 1) и лупа ЛИ-4-10X по ГОСТ 25706.

Основные размеры и их предельные отклонения, шероховатость поверхности матрицы, прижимного кольца и пуансона прибора должны соответствовать указанным на черт. 1. При этом должны быть выполнены следующие требования:

а) прибор должен обеспечивать измерение глубины выдавливания пуансона с погрешностью не более 0,1 мм;

б) соприкасание пуансона с испытываемым образцом должно происходить без удара;

в) пуансон во время испытания не должен вращаться;

г) прибор должен обеспечивать плавное выдавливание лунки.

1 - матрица; 2 - пуансон; 3 - прижимное кольцо

Черт. 1

3. ПРОВЕДЕНИЕ ИСПЫТАНИЯ

3.1. Образец устанавливают в пресс окрашенной стороной к матрице и плотно зажимают его между матрицей и прижимным кольцом. Головка пуансона должна находиться в нулевом положении, т.е. соприкасаться с испытываемым образцом, и быть удалена не менее чем па 35 мм от поперечных кромок пластины относительно оси пуансона.

3.2. Скорость выдавливания лунки должна быть не более 0,25 мм/с.

3.3. Контроль за разрушением покрытия проводят визуально. Допускается применять лупы четырех- и десятикратного увеличения по ГОСТ 25706, если это указано в нормативно-технической документации на лакокрасочные материалы. При появлении первой трещины на покрытии испытание прекращают и фиксируют глубину вдавливания.

При определении прочности покрытия рекомендуется автоматическая фиксация момента разрушения покрытия, осуществляемая приставкой. Электрическая схема приставки и методика проведения испытания приведены в приложении.

3.4. Прочность покрытия при растяжении определяется глубиной вдавливания пуансона в пластинку, выраженной в миллиметрах.

3.5. Испытание проводят при температуре (20 ± 2) °С и относительной влажности (65 ± 5) %, если нет других указаний в стандартах и технических условиях на лакокрасочные материалы.

4. ОБРАБОТКА РЕЗУЛЬТАТОВ

4.1. Проводят не менее трех измерений. За результат испытания принимают среднее арифметическое.

4.2. Расхождение результатов при определении глубины выдавливания не должно превышать 10 %.

ПРИЛОЖЕНИЕ

Рекомендуемое

АВТОМАТИЧЕСКАЯ ФИКСАЦИЯ МОМЕНТА РАЗРУШЕНИЯ ПОКРЫТИЯ
ПРИ ОПРЕДЕЛЕНИИ ПРОЧНОСТИ ПРИ РАСТЯЖЕНИИ

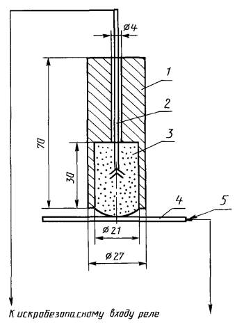
Для автоматического определения глубины вдавливания собирается схема в соответствии с черт. 2, которая содержит в себе реле с искробезопасным входом, отключающее двигатель насоса в момент разрушения лакокрасочного покрытия при определении прочности при растяжении. В качестве датчика, подключаемого к контактному зажиму реле, используют специальное приспособление, изготовленное из твердого электроизоляционного материала (например, капролона) в виде трубки, которая заполнена пропитанным 3 %-ным раствором NaCl поролоном с введенным в него проводом с расщепленным концом.

1 - реле с искробезопасным входом

Черт. 2

Конструкция датчика приведена на черт. 3.

1 - трубка из электроизоляционного материала; 2 - электрический провод с расщепленным концом; 3 - поролон, пропитанный 3 %-ным раствором NaCl;
 4 - образец с лакокрасочным покрытием; 5 - контактный зажим

Черт. 3

Проведение испытания

На одной из кромок образца удаляют покрытие, металл зачищают шкуркой.

Устанавливают образец между матрицей и прижимным кольцом.

Устанавливают ручку фиксирующего ключа в положение «Прижим».

Включают насос в работу кнопкой «Пуск» и зажимают образец между матрицей и прижимным кольцом.

Один контактный зажим соединяют с зачищенным краем образца.

Сверху в матрицу на покрытие помещают датчик.

Ручку фиксирующего ключа переводят в положение «Работа». При этом пуансон начинает вдавливание. При разрушении покрытия электрическая цепь замкнется, сработает реле и выключит двигатель насоса. Показания прочности покрытия при растяжении (глубина выдавливания) снимают с индикатора.

ИНФОРМАЦИОННЫЕ ДАННЫЕ

1. РАЗРАБОТАН И ВНЕСЕН Техническим комитетом ТК 290 «Покрытия лакокрасочные»

2. УТВЕРЖДЕН И ВВЕДЕН В ДЕЙСТВИЕ Постановлением Комитета стандартизации и метрологии СССР от 26.02.92 № 177

3. Стандарт соответствует международному стандарту ИСО 1520-73 в части разд. 2 и п. 3.2

4. Взамен ОСТ 6-10-411-77

5. ССЫЛОЧНЫЕ НОРМАТИВНО-ТЕХНИЧЕСКИЕ ДОКУМЕНТЫ

Обозначение НТД, на который дана ссылка

Номер раздела, пункта

ГОСТ 8832-76

1.1

ГОСТ 25706-83

2; 3.3

6. ПЕРЕИЗДАНИЕ. Май 2004 г.

СОДЕРЖАНИЕ

 



© 2013 Ёшкин Кот :-)