Информационная система
«Ёшкин Кот»

XXXecatmenu

ГОСУДАРСТВЕННЫЙ СТАНДАРТ СОЮЗА ССР

ВОЗДУХОНАГРЕВАТЕЛИ

МЕТОДЫ ИСПЫТАНИЙ

ГОСТ 26548-85

(СТ СЭВ 4484-84)

ГОСУДАРСТВЕННЫЙ КОМИТЕТ СССР ПО СТАНДАРТАМ

Москва

РАЗРАБОТАН Министерством строительного, дорожного и коммунального машиностроения

ИСПОЛНИТЕЛИ

Г. С. Куликов, В. А. Динцин, В. Н. Бондаренко, Ю. В. Селиванов

ВНЕСЕН Министерством строительного, дорожного и коммунального машиностроения

Член Коллегии С А. Громов

УТВЕРЖДЕН И ВВЕДЕН В ДЕЙСТВИЕ Постановлением Государственного комитета СССР по стандартам от 20 мая 1985 г. № 1408

ГОСУДАРСТВЕННЫЙ СТАНДАРТ СОЮЗА ССР

ВОЗДУХОНАГРЕВАТЕЛИ

Методы испытаний

Air heaters. Methods of tests

ГОСТ
26548-85

(СТ СЭВ 4484-84)

Постановлением Государственного комитета СССР по стандартам от 20 мая 1985 г. № 1408 срок действия установлен

с 01.01.86

до 01.01.91

Несоблюдение стандарта преследуется по закону

Настоящий стандарт распространяется на воздухонагреватели, обогреваемые водой и паром, предназначенные для нагревания воздуха в системах кондиционирования воздуха, вентиляции, воздушного отопления, в сушильных установках и воздушно-тепловых завесах, и устанавливает методы стендовых теплотехнических, аэродинамических и гидравлических испытаний воздухонагревателей.

Стандарт не распространяется на воздухонагреватели специального назначения и исполнения (воздухонагреватели кондиционеров, транспортных средств, отопительно-вентиляционных и других агрегатов).

Стандарт полностью соответствует СТ СЭВ 4484-84.

1. АППАРАТУРА

1.1. Испытательный стенд

1.1.1. Испытательный стенд должен состоять из аэродинамической установки, водяного или парового контура, примерные схемы которых приведены на черт. 1 - 3.

1.1.2. Конструкция испытательного стенда должна обеспечивать перемещение рабочих сред (воздуха, воды, пара), возможность измерения начальных и конечных параметров (температуры, давления и расхода) рабочих сред и стабилизацию данных параметров при испытаниях в следующих пределах:

температура воздуха на входе аэродинамической установки от 10 до 30 °С (точность поддержания принятого параметра ± 0,5 °С);

температура воды перед воздухонагревателем от 80 до 92 °С (точность поддержания принятого параметра ± 0,3 °С);

перегрев насыщенного пара перед воздухонагревателем от 3 до 8 °С;

расход воздуха и воды, давление пара - в соответствии с требованиями разд. 4 настоящего стандарта.

(Измененная редакция, Изм. № 1).

1.1.3. Конструкция испытательного стенда должна обеспечивать возможность определения производительности то теплу испытуемого воздухонагревателя по каждой из теплообменивающихся сред.

1.1.4. Для уменьшения степени неравномерности поля температур воздуха в испытательном стенде необходимо предусмотреть завихряющие и выравнивающие устройства.

1.1.5. Тепловые потери, приходящиеся на 1 м2 наружных поверхностей испытательного стенда, в процессе испытаний воздухонагревателей при режимах работы стенда согласно п. 1.1.2 не должны быть более 0,1 кВт.

1.1.6. При местном способе получения пара парогенератор и сосуды парового контура стенда, работающие под давлением должны соответствовать «Правилам устройства и безопасной эксплуатации сосудов, работающих под давлением», утвержденным Госгортехнадзором СССР.

1.2. Измерительные приборы

1.2.1. Расход воздуха, воды и пара или конденсата измеряют с помощью расходомеров, состоящих из стандартных сужающих устройств (диафрагм, сопел или сопел Вентури), дифференциального манометра-расходомера в соответствии с ГОСТ 18140-84 или микроманометра по ГОСТ 11161-84 класса точности не ниже 1,0 приемников статического давления и соединительных линий, или с помощью тепловых калориметрических расходомеров, объемным или весовым способом.

(Измененная редакция, Изм. № 1).

1.2.2. Температуру воздуха, воды, пара и конденсата измеряют термометрами расширения по ГОСТ 28498-90, термоэлектрическими термометрами (термопар) или электрическими термометрами сопротивления или полупроводниковыми стандартными термометрами сопротивления (термометрами, терморезисторами) и электроизмерительными показывающими приборами, обеспечивающими измерение температуры с погрешностью ± 0,2 °С.

(Измененная редакция, Изм. № 1).

1.2.3. Атмосферное давление воздуха измеряют ртутным барометром или барометром анероида.

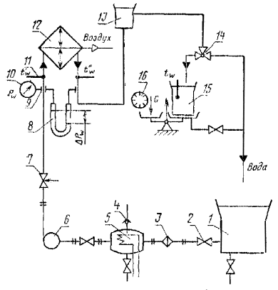
Схема аэродинамической установки

1 - расходомер (сопло); 2 – термометр; 3 - переходник; 4 - воздуховод; 5 - воздухонагреватель; 6 - воздуховод; 7 - регулирующее устройство (клапан воздушный); 8 - вентилятор; 9 - приемники давления; 10 - теплоизоляция; 11 - микроманометр; 12 - барометр

Черт. 1

Схема водяного контура

1 - бак для сбора воды; 2 - вентиль запорный; 3 - фильтр; 4 - клапан обратный; 5 - бойлер с электрическим или паровым нагревом; 6 - насос; 7 - вентиль регулирующий; 8 - дифференциальный манометр; 9 - приемники давления; 10 - манометр; 11 - термометр; 12 - воздухонагреватель; 13 - бак расширительный; 14 - вентиль трехходовой; 15 - устройство для измерения расхода воды; 16 - секундомер

Черт. 2

Схема парового контура

Уровень a > b > c > d > e > f

1 - бак конденсатный; 2 - насос; 3 - местный или централизованный парогенератор; 4 - клапан редукционный гидравлический (поддерживающий постоянное давление Р2s); 5 - сепаратор (водоотделитель); 6 - манометр; 7 - приемники давления; 8 - термометр; 9 - воздухонагреватель; 10 - клапан обратный; 11 - делитель парового и конденсатного потоков; 12 - гидрозатвор (по конденсату); 13 - конденсатоотводчик; 14 - охладитель конденсата; 15 - вентиль трехходовой; 16 - устройство для измерения расхода конденсата; 17 - вентиль запорный; 18 - секундомер

Черт. 3

1.2.4. Давление воды в водяном контуре и давление пара в паровом контуре испытательного стенда измеряют манометром то ГОСТ 2405-88.

(Измененная редакция, Изм. № 1).

1.2.5. Аэродинамическое и гидравлическое сопротивления измеряют микроманометром или дифференциальным манометром по ГОСТ 18140-84, приемником статического давления и соединительных линий.

1.2.6. Приемники статического давления (отверстия) располагают в стенках воздуховодов аэродинамической установки и трубопроводов гидравлического контура равномерно по периметру и выполняют диаметром от 0,8 до 1,5 мм. В каждом сечении воздуховода (трубопровода) должно быть не менее четырех отверстий. Кромки отверстий со стороны теплообменивающихся сред не должны иметь заусенцев. Все отверстия объединяют коллектором, снабженным отводом для подключения соединительных линий. Внутренний диаметр коллектора и соединительных линий не должен быть менее 8 мм.

1.2.7. Нестандартизованные средства измерений (мерные баки и др.) должны быть индивидуально проградуированы и пройти метрологическую аттестацию в соответствии с требованиями ГОСТ 8.326-78.

1.2.8. Все средства измерений должны иметь действующие свидетельства (клеймо) государственной или ведомственной поверки.

1.2.9. Испытательный стенд перед вводом в эксплуатацию должен пройти метрологическую аттестацию в соответствии с ГОСТ 24555-81.

2. ПОДГОТОВКА К ИСПЫТАНИЯМ

2.1. Монтаж и эксплуатацию испытательного стенда проводят в соответствии с «Правилами технической эксплуатации электроустановок потребителей» и «Правилами технической эксплуатации теплоиспользующих установок и тепловых сетей», утвержденными Госэнергонадзором СССР.

2.2. В состав испытательного стенда следует включать:

при теплотехнических испытаниях - аэродинамическую установку и водяной или шаровой контур;

при аэродинамических испытаниях - аэродинамическую установку;

при гидравлических испытаниях - водяной контур.

2.3. При теплотехнических и аэродинамических испытаниях испытуемый воздухонагреватель во избежание подсосов и перетоков воздуха должен быть установлен в воздуховод аэродинамической установки без зазоров. К патрубкам воздухонагревателя в зависимости от применяемого теплоносителя должен быть присоединен водяной или паровой контур.

2.4. Перед началом испытаний следует проверить герметичность аэродинамической установки и водяного или парового контура, а также удалить воздух из соответствующего контура.

2.5. Герметичность аэродинамической установки проверяют при включенном вентиляторе, полностью открытом выходе и плотно закрытом входе установки. При этом падение давления по длине аэродинамической установки между сечениями АА и ДД (черт. 1) не допускается.

2.6. Герметичность водяного и шарового контуров проверяют воздействием давления воды или пара при пробном пуске соответствующего контура. При этом в местах соединений трубопроводов и арматуры не должно быть утечек воды или пара.

2.7. Воздух из объема водяного или парового контура удаляют продувкой системы водой или паром.

2.8. Перед определением гидравлического сопротивления воздухонагревателя следует проградуировать сопротивление участков трубопроводов между входом (выходом) воздухонагревателя и приемниками статического давления.

3. ТРЕБОВАНИЯ БЕЗОПАСНОСТИ

3.1. Испытательный стенд должен соответствовать требованиям ГОСТ 12.2.003-74, ГОСТ 12.3.002-75 (разд. 1, 2), ГОСТ 5976-90, а также «Правил устройства и безопасной эксплуатации сосудов, работающих под давлением».

(Измененная редакция, Изм. № 1).

«Правил техники безопасности при эксплуатации теплоиспользующих установок и тепловых сетей» и «Правил техники безопасности при эксплуатации электроустановок потребителей», утвержденных Госэнергонадзором СССР.

3.2. Конструкция, устройство и установка составных частей испытательного стенда в части электротехнических изделий должны соответствовать требованиям ГОСТ 12.2.007.0-75.

4. ПРОВЕДЕНИЕ ИСПЫТАНИЙ

4.1. Условия проведения испытаний при установлении паспортных (типовых) теплотехнических, аэродинамических и гидравлических характеристик и при проверке качества воздухонагревателей при периодических испытаниях должны соответствовать указанным в табл. 1.

Таблица 1

Параметр

Значение параметра или воздухонагревателя

водяного

парового

при постоянной скорости воды

при постоянной скорости воздуха

Пред. откл. ± 5 %

Массовая скорость набегающего потока воздуха, кг/(м2×с)

1,8; 2,5; 3,6*; 5,0; 7,0

3,6

1,8; 2,5; 3,6; 5,0; 7,0

Скорость воды в теплопередающих трубках, м/с

0,70*

0,32; 1,50

-

Абсолютное давление пара, МПа

-

-

0,2

___________

* Применяют при периодических испытаниях воздухонагревателей.

4.2. Аэродинамическое и гидравлическое сопротивления воздухонагревателя определяют при квазиизотермических условиях работы по воздуху или воды соответственно (без нагревания воздуха или охлаждения воды).

Таблица 2

Параметр

Объем выполняемых измерений для определения

Коэффициента теплопередачи

аэродинамического сопротивления

гидравлического сопротивления

при обогреве водой

при обогреве паром

Атмосферное давление воздуха, Pв, кПа

+

+

+

-

Температура воды на входе воздухонагревателя tw′, ºС

+

-

-

+

Температура воды на выходе воздухонагревателя tw′′, °C

+

-

-

-

Температура воздуха на входе воздухонагревателя ta′, °С

+

+

+

-

Температура воздуха на выходе воздухонагревателя ta", °C

+

+

-

-

Абсолютное давление пара Рs, МПа

-

+

-

-

Температура пара ts, °C

-

+

-

-

Время заполнения мерного бака водой τw, с

+

-

-

+

Температура воды в мерном баке tw, °C

+

-

-

+

Время заполнения мерного бака конденсатом τк, с

-

+

-

-

Температура конденсата в мерном баке tк, °C

-

+

-

-

Разность давлений воздуха в расходомере ΔР, Па

+

+

+

-

Разность давлений воздуха на входе и выходе воздухонагревателя ΔРa, Па

-

-

+

-

Разность давлений воды на входе и выходе воздухонагревателя ΔРw, Па

-

-

-

+

4.3. Объем измерений для теплообменивающихся сред должен соответствовать указанному в табл. 2.

44. Перед началом и после окончания измерений разностей давлений проверяют нулевые показания измерительных приборов.

4.5. Отсчеты по приборам при теплотехнических, аэродинамических и гидравлических испытаниях проводят при установившемся тепловом, аэродинамическом и гидродинамическом режимах работы испытуемого воздухонагревателя и испытательного стенда.

Примечания:

1. При теплотехнических испытаниях установившемся считают режим, при котором параметры воздуха и теплоносителя на входе и выходе воздухонагревателя во время проведения испытаний отличаются на величину, не превышающую погрешности измерительных приборов.

2. При аэродинамических и гидравлических испытаниях установившимся считают режимы, при которых производительность вентилятора и насоса во время испытаний изменяется на величину, не превышающую 2 %.

4.6. Испытания паровых воздухонагревателей допускается проводить на теплоносителе - воде (используя водяной контур) по условиям, изложенным в п. 4.1, с последующим пересчетом полученных результатов испытаний на пар.

5. ОБРАБОТКА РЕЗУЛЬТАТОВ ИСПЫТАНИЙ

5.1. Обработка результатов теплотехнических испытаний водяных воздухонагревателей

5.1.1. Плотность воздуха ρa, кг/м3, (в сечении А - А, черт. 1) определяют по формуле

ρа = ,                                                       (1)

где РВ - атмосферное давление воздуха, кПа;

ta - температура воздуха на входе воздухонагревателя, °С.

5.1.2. Расход воздуха Gа, кг/с, измеренный расходомером, определяют по формуле

Gа = α×ε×Fp ,                                                         (2)

где α - коэффициент расходомера (принимают по паспорту или результатам индивидуальной градуировки расходомера);

ε - коэффициент расширения объема;

Fp - площадь сечения цилиндрической части сопла расходомера, м2;

ρa - плотность воздуха (при температуре ta′), кг/м3;

ΔР - аэродинамическое сопротивление расходомера (разность давлений воздуха в расходомере), Па.

5.1.3. Расход воды Gw, кг/с, определяют по формуле

Gw = ,                                                               (3)

где ρw - плотность воды (три температуре tw по таблицам теплофизических свойств воды), кг/м3;

 -   плотность воды в мерном баке при его градуировке (по таблицам теплофизических свойств воды), кг/м3);

 - масса воды при взвешивании или в мерном баке при его градуировке, кг;

τw - время заполнения мерного бака водой, с.

5.1.4. Производительность по теплу со стороны воздуха Qa, КВт, определяют по формуле

Qa = cp×Ga (ta′′ - ta),                                                    (4)

где cp - удельная изобарная теплоемкость воздуха (три температуре ta по таблицам теплофизических свойств воздуха), кДж/кг×°С;

Ga - расход воздуха, кг/с;

ta -     температура воздуха на выходе воздухонагревателя, °С;

ta′′ - температура воздуха на входе воздухонагревателя, °С.

5.1.5. Производительность по теплу со стороны воды Qw, кВт, определяют по формуле

Qw = cw×Gw (tw′ - tw′′),                                                    (5)

где cw - удельная теплоемкость воды (при температуре tw′ по таблицам теплофизических свойств воды), кДж/кг;

Gw - расход воды, кг/с;

tw- температура воды на входе воздухонагревателя, °С;

tw′′ - температура воды на выходе воздухонагревателя, °С.

5.1.6. Величина дисбаланса между производительностями по теплу воды и воздуха δQ, %, определяют по формуле

δQ = 100×,                                                      (6)

где Qw - производительность по теплу со стороны воды, кВт;

Qa - производительность по теплу со стороны воздуха, кВт.

Величина дисбаланса не должна превышать 5 %.

5.1.7. Массовую скорость набегающего потока воздуха vρ, кг/с×м2, определяют по формуле

vρ = ,                                                                 (7)

где Ga - расход воздуха, кг/с;

ƒ - площадь полного фронтального сечения воздухонагревателя (определяют по паспорту или с помощью соответствующих измерений и расчетов), м2.

5.1.8. Скорость воды в теплопередающих трубках W, м/с, определяют по формуле

W = ,                                                               (8)

где Gw - расход воды, кг/с;

ρw - плотность воды (при температуре tw по таблицам теплофизических свойств воды), кг/м3;

ƒmp - площадь полного фронтального сечения воздухонагревателя (определяют по паспорту или с помощью соответствующих измерений и расчетов), м2.

5.1.9. Коэффициент теплопередачи от воды к воздуху Kw, Вт/м2×°С, определяют по формуле

Kw = ,                                                      (9)

где Qw - производительность по теплу со стороны воды, кВт;

tw - температура воды на входе воздухонагревателя, °С;

tw′′ - температура воды на выходе воздухонагревателя, °С;

ta - температура воздуха на входе воздухонагревателя, °С;

ta" - температура воздуха на выходе воздухонагревателя, °С;

F - площадь поверхности теплообмена на воздушной стороне (определяют по паспорту или с помощью соответствующих измерений и расчетов), м2.

5.2. Обработка результатов теплотехнических испытаний паровых воздухонагревателей

5.2.1. Плотность воздуха, расход воздуха, производительность по теплу со стороны воздуха и массовую скорость набегающего потока воздуха определяют соответственно по формулам (1), (2), (4) и (7).

5.2.2. Расход конденсата GK, кг/с, определяют по формуле

GK = ,                                                          (10)

где ρk - плотность конденсата (при температуре tk по таблицам теплофизических свойств воды и водяного пара), кг/м3;

 -   плотность воды в мерном баке при его градуировке (по таблицам теплофизических свойств воды), кг/м3;

 - масса воды при взвешивании или в мерном баке при его градуировке, кг;

τk - время заполнения мерного бака конденсатом, с.

5.2.3. Производительность по теплу со стороны пара Qs, кВт, определяют по формуле

Qs = r×Gk,                                                                (11)

где r - удельная теплота конденсации пара (по таблицам теплофизических свойств воды и водяного пара), кДж/кг;

Gk - расход конденсата, кг/с.

5.2.4. Величина дисбаланса между производительностями по теплу пара и воздуха δQ, %, определяют по формуле

δQ = 100×,                                                          (12)

где Qs - производительность по теплу со стороны пара, кВт;

Qa - производительность по теплу со стороны воздуха, кВт.

Величина дисбаланса не должна превышать 5 %.

5.2.5. Коэффициент теплопередачи от пара к воздуху Кs, Вт/м2×°С, определяют по формуле

Ks = ,                                                      (13)

где Qs - производительность по теплу со стороны пара, кВт;

ts - температура пара, °С;

ta- температура воздуха на входе воздухонагревателя, °С;

ta′′ - температура воздуха на выходе воздухонагревателя, °С;

F -    площадь поверхности теплообмена на воздушной стороне (определяют по паспорту или с помощью соответствующих измерений и расчетов), м2.

5.3. Обработка результатов теплотехнических испытаний паровых воздухонагревателей при обогреве водой и определение значения коэффициента теплопередачи от пара к воздуху

Обработку результатов теплотехнических испытаний паровых воздухонагревателей при обогреве водой проводят в соответствии с п. 4.1.

Определение коэффициента теплопередачи от пара к воздуху Ks, Вт/м2×°С, проводят на основании экспериментальных данных, полученных при испытании воздухонагревателей при обогреве водой, по формуле

Ks = ,                         (14)

где     Kw -     экспериментальное значение коэффициента теплопередачи от воды к воздуху при обогреве водой, Вт/(м2×°С);

 - коэффициент оребрения (отношение площадей поверхностей теплообмена со стороны воздуха F и воды Fвн);

d - внутренний диаметр теплопередающих трубок, м;

λw - коэффициент теплопроводности воды, Вт/(м2×°С);

Re =  - число Рейнольдса для воды;

W - скорость воды при эксперименте, м/с;

vw - коэффициент кинематической вязкости воды, м2/с;

Prw - число Прандтля для воды;

vk - коэффициент кинематической вязкости конденсата, м2/с;

l - длина теплопередающей трубки, м;

Q - экспериментальное значение производительности по теплу воздухонагревателя при испытании на воде, Вт;

r - удельная теплота конденсации пара, Дж/кг;

g - ускорение свободного падения, м/с2;

λк - коэффициент теплопроводности конденсата, Вт/(м2×°С);

ρk, ρs - плотность конденсата и пара соответственно, кг/м3;

Fw - площадь поверхности теплообмена по водяной стороне, м2;

ρk, ρs, λw, vw, Prw, vk, r, λк - принимают по таблицам теплофизических свойств воды и водяного пара.

При определении физических констант воды, пара и конденсата за определяющую температуру принимают среднюю температуру воды при эксперименте.

Результаты расчетов сопоставляют с установленной паспортной (типовой) характеристикой, (коэффициент теплопередачи при обогреве паром).

5.4. Обработка результатов аэродинамических испытаний водяных и паровых воздухонагревателей

Плотность воздуха, расход воздуха и массовую скорость набегающего потока воздуха определяют по формулам 1, 2 и 7.

Аэродинамическое сопротивление определяют как разность статических давлений потока воздуха на входе воздухонагревателя и на выходе из него.

5.5. Обработка результатов гидравлических испытаний водяных воздухонагревателей

Расход и скорость воды определяют по формулам 3, 8.

Гидравлическое сопротивление определяют как разность статических давлений потока воды перед воздухонагревателем и после него.

5.6. Форма представления паспортных (типовых) характеристик водяных и паровых воздухонагревателей

Результаты расчетов коэффициента теплопередачи, аэродинамического и гидравлического сопротивлений, выполненных по пп. 5.1 - 5.5, следует аппроксимировать методом наименьших среднеквадратичных отклонений в соответствии с формулами:

Kw = A×(v ρ)n×Wr,                                                            (15)

Ks = B×(v ρ)p,                                                              (16)

ΔPa = C×(v ρ)m,                                                             (17)

ΔPw = D,                                                          (18)

где                       vρ - массовая скорость набегающего потока воздуха (удельный расход воздуха), кг/c×м2;

ρw - плотность воды (при температуре tw′), кг/м3 (по таблицам теплофизических свойств воды);

W - скорость воды в теплопередающих трубках, м/с;

А, В, С, D, т, п, r, Р - коэффициенты аппроксимации.

5.7. По результатам проведенных испытаний составляется технический отчет (протокол испытаний), который должен содержать:

конструктивные характеристики воздухонагревателя;

значения всех измеренных и расчетных величин;

паспортные (типовые) характеристики воздухонагревателя.

СОДЕРЖАНИЕ

 



© 2013 Ёшкин Кот :-)