
ГОСУДАРСТВЕННЫЙ СТАНДАРТ СОЮЗА ССР
ДЕТАЛИ КРЕПЛЕНИЯ ТРУБОПРОВОДОВ
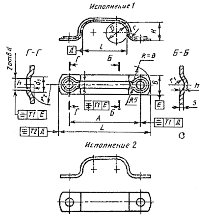
СКОБЫ ДВУХМЕСТНЫЕ
Конструкция
и размеры
ГОСТ 24134-80
ИЗДАТЕЛЬСТВО СТАНДАРТОВ
Москва
ГОСУДАРСТВЕННЫЙ СТАНДАРТ
СОЮЗА ССР
|
Детали крепления
трубопроводов
СКОБЫ ДВУХМЕСТНЫЕ
Конструкция и размеры
Pipe-line fastening parts.
Double-seat cramps.
Design and
|
ГОСТ
24134-80
Взамен
ГОСТ 16688-71
|
Постановлением
Государственного комитета СССР по стандартам от 25 апреля 1980 г. № 1891 срок
введения установлен
с 01.01.81
Ограничение
срока действия отменено, ИУС II-12-94
1. Настоящий стандарт
распространяется на двухместные скобы диаметром D от 4 до 110 мм.
2. Конструкция и размеры
двухместных скоб должны соответствовать указанным на чертеже и в таблице.

Примечания:
1. Все размеры, кроме размеров В и s, обеспечиваются инструментом.
2. Отклонение от центра радиуса R относительно оси поверхности Е не
должно быть более 1 мм.
Размеры, мм
|
D
|
A
± 0,5
|
b ´
s для исполнений
|
Н
|
L
|
d
H14
|
d1
|
h
|
l
|
r
|
r1
|
r2
|
Масса 1000 шт., кг, для
исполнения
|
Применяемость для
исполнений
|
|
1
|
2
|
Номин.
|
Пред. откл.
|
1
|
2
|
1
|
2
|
|
4
|
26
|
16 ´ 1,0
|
16 ´ 1,6
|
3
|
42
|
5,8
|
9
|
1,0
|
8
|
±0,6
|
3
|
2
|
10
|
5,2
|
8,3
|
|
|
|
5
|
27
|
4
|
43
|
10
|
5,5
|
8,8
|
|
6
|
32
|
16 ´ 2,0
|
5
|
48
|
12
|
6,2
|
12,4
|
|
8
|
34
|
6
|
50
|
16
|
6,7
|
13,4
|
|
10
|
38
|
8
|
54
|
20
|
7,6
|
15,2
|
|
12
|
42
|
10
|
58
|
24
|
8,5
|
17,0
|
|
14
|
52
|
18 ´ 1,6
|
18 ´ 3
|
12
|
70
|
7,0
|
10
|
1,4
|
28
|
5
|
3
|
18,6
|
34,8
|
|
16
|
56
|
14
|
74
|
32
|
20,0
|
37,4
|
|
18
|
60
|
16
|
78
|
36
|
21,8
|
40,8
|
|
20
|
65
|
18
|
83
|
41
|
23,6
|
44,1
|
|
22
|
75
|
22 ´ 1,6
|
22 ´ 3
|
20
|
97
|
9,0
|
14
|
45
|
32,9
|
61,5
|
|
|
|
25
|
85
|
22
|
104
|
55
|
36,6
|
68,4
|
|
28
|
90
|
24
|
112
|
60
|
38,7
|
72,4
|
|
32
|
100
|
28
|
122
|
70
|
43,2
|
80,8
|
|
36
|
105
|
32
|
127
|
75
|
46,3
|
86,6
|
|
40
|
120
|
30 ´ 2,0
|
30 ´ 3
|
35
|
150
|
2,0
|
85
|
6
|
4
|
16
|
92,2
|
138,3
|
|
45
|
130
|
40
|
160
|
95
|
100,7
|
151,0
|
|
50
|
140
|
45
|
170
|
105
|
109,0
|
163,5
|
|
55
|
150
|
50
|
180
|
11,0
|
16
|
115
|
±1,0
|
116,5
|
174,8
|
|
60
|
160
|
55
|
190
|
125
|
124,8
|
187,2
|
|
65
|
170
|
60
|
200
|
135
|
133,2
|
199,8
|
|
70
|
185
|
-
|
60
|
215
|
|
145
|
-
|
-
|
-
|
209,8
|
|
75
|
195
|
65
|
225
|
155
|
221,9
|
|
80
|
215
|
30 ´ 4
|
70
|
245
|
13,0
|
-
|
165
|
319,3
|
|
85
|
230
|
75
|
260
|
175
|
340,7
|
|
90
|
240
|
80
|
270
|
185
|
357,6
|
|
95
|
250
|
85
|
280
|
195
|
374,3
|
|
100
|
200
|
90
|
290
|
205
|
391,2
|
|
105
|
270
|
95
|
300
|
215
|
408,0
|
|
110
|
280
|
100
|
310
|
225
|
424,8
|
Пример условного
обозначения
двухместной скобы исполнения 1 D = 20 мм из стали марки 20 с
покрытием Кд15.хр:
Скоба 1-20-20-Кд15.хр ГОСТ 24134-80
То же, исполнения 2 из стали марки 12Х18Н10Т с покрытием Хим.
Пас.:
Скоба
2-20-12Х18Н10Т-Хим.Пас. ГОСТ 24134-80
3.
Технические требования - по ГОСТ
24140-80.
|