Информационная система
«Ёшкин Кот»

XXXecatmenu

ПРАВИТЕЛЬСТВО МОСКВЫ

МОСКОМАРХИТЕКТУРА

НОРМАЛИ
НА ПРОЕКТИРОВАНИЕ И СТРОИТЕЛЬСТВО
ТЕПЛОЭФФЕКТИВНЫХ НАРУЖНЫХ СТЕН
ЖИЛЫХ И ОБЩЕСТВЕННЫХ ЗДАНИЙ
ИЗ ОБЛЕГЧЕННЫХ КЕРАМЗИТОБЕТОННЫХ БЛОКОВ

2000

1. РАЗРАБОТАНЫ: Центральным научно-исследовательским и проектным институтом жилых и общественных зданий (ЦНИИЭП жилища).

Исполнители: д.т.н. Николаев С.В., к.т.н. Беляев B.C., к.т.н Граник Ю.Г., д.т.н. Зырянов В.С., к.т.н. Шалыгина Е.Ю., инж. Штейман Б.И.

2. ПОДГОТОВЛЕНЫ к утверждению и изданию Управлением перспективного проектирования и нормативов Москомархитектуры (архитектор Ревкевич Л.П., инженер Шевяков И.Ю.).

3. СОГЛАСОВАНЫ: УГПС ГУВД г. Москвы, Центром Госсанэпиднадзора в г. Москве.

4. Утверждены указанием Москомархитектуры от 29.11.2000 г. № 52.

СОДЕРЖАНИЕ

Введение. 2

Нормативные и регламентирующие документы.. 2

Пояснительная записка. 3

Номенклатура облегченных керамзитобетонных блоков. 6

Характеристики теплоизоляционных материалов. 7

Рекомендуемые размеры и параметры зданий. 7

Нормаль 1н-1. 7

Нормаль 1н-1. Разрезы 1-1, 2-2. 8

Пояснения к 1н-1. 8

Нормаль 1н-2. 9

Нормаль 1н-2. Разрезы 3-3, 4-4. 9

Пояснения к 1н-2. 10

Нормаль 1н-3. 10

Нормаль 1н-3. Разрезы 5-5, 6-6. 11

Нормаль 1н-4. 11

Нормаль 1н-4. Разрезы 7-7, 8-8. 12

Пояснения к 1н-3, 1н-4. 12

Нормаль 1н-5. 12

Нормаль 1н-6. 13

Пояснения к 1н-5, 1н-6. 13

Нормаль 1н-7. 13

Нормаль 1н-8. 14

Пояснения к 1н-7, 1н-8. 14

Нормаль 1н-9. 15

Нормаль 1н-10. 15

Пояснения к 1н-9, 1н-10. 16

Нормаль 1н-11. 16

Нормаль 1н-12. 16

Пояснения к 1н-11, 1н-12. 17

Нормаль 1н-13. 17

Нормаль 1н-14. 17

Пояснения к 1н-13, 1н-14. 18

Узел 1. Установка оконного короба. 18

Узел 2. Соединение плиты с балкой. 19

Узлы 3,4. Крепление гнутых швеллеров. 19

Узел 5. Крепление наружной штукатурки и утеплителя. 20

Узел 6. Крепление экрана. 20

Узел 7. Установка и крепление столярных изделий. 21

Узел 8. Установка и крепление столярных изделий. 21

Узлы 7, 8. Разрезы 1-1, 2-2. 22

Фрагмент фасадной стены. Пример раскладки скц.. 22

Условные обозначения. 23

Приложение 1 Теплотехнический расчет наружной стены из облегченных керамзитобетонных блоков. 23

ВВЕДЕНИЕ

Настоящие нормали, предназначенные для проектных и строительных организаций, содержат принципиальные решения ненесущих (навесных) наружных стен из облегченных керамзитобетонных блоков для жилых и общественных зданий.

При привязке технические решения могут изменяться в зависимости от особенностей проектируемого объекта.

В нормалях не приводятся порядовки кладки, являющиеся обязательными в конкретном проектировании.

Нормали не устанавливают также принципов назначения осей здания, которые являются общими, а для наружных стен назначаются, исходя из особенностей проекта.

Нормали предполагают разработку несущих конструкций зданий только после принятия решений о форме и конструкции наружных стен.

Технические решения, представленные в нормалях, наиболее эффективны для стен, возводимых изнутри здания или при использовании наружных лесов.

Нормали в общих чертах охватывают всю номенклатуру жилых и общественных зданий, строящихся в г.Москве. Конкретные же решения даются: для крупнопанельных зданий - на примере 17-этажного жилого дома серии 111М, для зданий из монолитного железобетона - на примере 14-этажного жилого дома, построенного на ул. Академическая, 26.

Нормали разработаны в соответствии с требованиями СНиП 2.08.01-89* "Жилые здания" [1], МГСН 3.01-96 "Жилые здания" [18], МГСН 2.01-99 "Энергосбережение в зданиях" [19], СНиП 21.01-97 "Пожарная безопасность зданий и сооружений" [7]. Кроме того, на принятые в нормалях конструктивные решения и материалы имеются соответствующие технические свидетельства Госстроя РФ, пожарные, гигиенические и радиационные сертификаты, на что в перечне нормативных и регламентирующих документов приведены необходимые ссылки.

НОРМАТИВНЫЕ И РЕГЛАМЕНТИРУЮЩИЕ ДОКУМЕНТЫ

1. СНиП 2.08.01-89*. Жилые здания.

2. СНиП 3.03.01-87. Несущие и ограждающие конструкции.

3. СНиП II-22-81. Каменные и армокаменные конструкции.

4. СНиП II-3-79* (изд. 1998). Строительная теплотехника.

5. СНиП 23-01-99. Строительная климатология.

6. СНиП 2.03.11-85. Защита строительных конструкций от коррозии.

7. СНиП 2.01.02-97*. Пожарная безопасность зданий и сооружений.

8. СНиП 3.01.01-85. Организация строительного производства.

9. СНиП III-4-80*. Техника безопасности в строительстве.

10. ГОСТ 6133-84. Камни бетонные стеновые. Технические условия.

11. ГОСТ 30108-94. Материалы и изделия строительные. Определение удельной эффективной активности естественных радионуклидов.

12. ГОСТ 17.2.3.02-78. Охрана природы. Атмосфера. Правила установления допустимых выбросов вредных веществ промышленными предприятиями.

13. ГОСТ 12.1.005-88. Общие санитарно-гигиенические требования к воздуху рабочей зоны.

14. ГОСТ 12.4.011-89 ССБТ. Средства защиты работающих. Общие требования и классификация.

15. ГОСТ 12.4.103-83. Одежда специальная защитная, средства индивидуальной защиты ног и рук. Классификация.

16. ГОСТ 12.4.028-76* ССБТ. Респираторы ШБ-1 "Лепесток". Технические условия.

17. ГН 2.2.5.686-98. Предельно допустимые концентрации (ПДК) вредных веществ в воздухе рабочей зоны.

18. МГСН 3.01-96. Жилые здания.

19. МГСН 2.01-99. Энергосбережение в зданиях. Нормы по теплозащите и тепловодоэлектроснабжению.

20. Технические условия на камни стеновые керамзитобетонные облегченные (ТУ 5741-015-48802654-99 ОАО "Домстройпром").

21. Техническое свидетельство Госстроя РФ на многослойную теплоизоляционную систему "Синтеко" (№ ТС-07-0165-99 от 23.06.99 г.)

22. Гигиенический сертификат № 77 ФЦ 13.574.П.00191.098 от 7.07.98 «Стеновой камень СКЦ-1».

23. Гигиенический сертификат 19 МЦ.03570 п.07995.17 от 03.03.97 на плиты пенополистирольные. Центр Госсанэпидемнадзора в г. Москве.

24. Сертификат пожарной безопасности № ССПБ RU УП001.В00239 от 26.12.97 на плиты пенополистирольные ПСБ марки 15, 25, 35. Государственная противопожарная служба России.

25. Пособие по проектированию каменных и армокаменных конструкций. - М., ЦНИИСК им. Кучеренко, 1988.

26. Альбом технических решений по утеплению жилых домов первых массовых серий. - М., ЦНИИЭП жилища, 1998.

27. Расчет и проектирование ограждающих конструкций зданий. (Справочное пособие к СНиП II-3-79). - М., Стройиздат, 1998.

28. Беляев B.C. Повышение теплозащиты наружных ограждающих конструкций // Жилищное строительство. - 1998. - № 3.

ПОЯСНИТЕЛЬНАЯ ЗАПИСКА

ОБЩАЯ ЧАСТЬ

Теплоэффективные наружные стены из облегченных керамзитобетонных блоков могут применяться для жилых и общественных зданий любой этажности, несущие конструкции которых выполняются как в крупнопанельном исполнении, так и из монолитного железобетона. Наружные ненесущие стены опираются, как правило, на края несущих железобетонных плит перекрытий или специальных опорных балок. Наружные стены из облегченных керамзитобетонных блоков облицовываются кирпичом снаружи и оштукатуриваются изнутри или оштукатуриваются с двух сторон; возможно также устройство на фасаде вентилируемого экрана.

При выполнении облицовки фасадной стены другими (кроме кирпича) материалами необходимо учитывать возможную разницу в усадках материала стены и облицовки.

АРХИТЕКТУРНО-ПЛАНИРОВОЧНЫЕ РЕШЕНИЯ

Шаги вертикальных несущих конструкций ограничиваются лишь общими требованиями прочности и устойчивости всего здания от действия вертикальных и ветровых нагрузок. Наиболее распространены в крупнопанельных жилых и общественных зданиях шаги от 3 до 7,2 м, а в зданиях из монолитного железобетона от 3,6 до 7,5 м.

Высота этажа в жилых зданиях от 2,8 до 3,3 м; в общественных зданиях от 3,3 до 4,2 м.

В условиях конкретной градостроительной ситуации предусматривается выполнение акустического расчета по конкретным шумовым характеристикам и определяется вариант заполнения оконных (дверных) проемов в наружных стенах, рекомендованного территориальным Каталогом для строительства в г.Москве.

В части энергосберегающих мероприятий могут быть предусмотрены такие, как установка терморегуляторов на приборах отопления, выполнение оконных и дверных проемов с приведенным сопротивлением теплопередаче R0 = 0,55 м2°С/Вт.

Противопожарные мероприятия разрабатываются в соответствии с требованиями к проектированию системы противопожарной защиты согласно СНиП 21-01-97* "Пожарная безопасность зданий и сооружений" [7].

НЕСУЩИЕ КОНСТРУКЦИИ

Несущие железобетонные конструкции, в первую очередь, перекрытия, должны иметь решения, позволяющие непосредственно производить на них кладку наружных стен из облегченных керамзитобетонных блоков и надежно крепить ее к плитам перекрытий и несущим стенам. При больших пролетах перекрытий (более 3,6 м) при необходимости следует предусматривать контурные балки или ребра, обеспечивающие дополнительную опору или жесткость краевых участков плит перекрытий под наружными стенами. При соответствующем обосновании плиты перекрытий больших пролетов могут изготавливаться с преднапряженной арматурой, в частности, в виде струнобетонных брусков.

В случае опирания наружных стен непосредственно на край плиты перекрытия в последней предусматриваются "окна", заполняемые вкладышами из минеральной ваты. Край перекрытия не доходит до наружной поверхности стены на 30 мм; этот зазор заполняется при облицовке кирпичом декоративными плитками или пластинами, вырезанными из кирпича, а при оштукатуривании фасада - штукатуркой.

В случае усиления края плиты дополнительными опорными балками таврового сечения "окна" устраивают в полках балок. При балках прямоугольного сечения, а также при наличии у плит ребер теплоизоляция устраивается с наружной стороны балок или ребер.

Сборные опорные балки могут опираться на выступы поперечных несущих стен, а при недостаточной длине поперечных стен - на сборные или сборно-монолитные колонны-пилястры, пристыкованные к наружным стенам.

Толщина плит перекрытий в крупнопанельных жилых и общественных зданиях 140, 160 мм; в зданиях из монолитного железобетона - от 160 до 250 мм (в зависимости от шага несущих стен).

Конструкции внутренних несущих стен принимаются при конкретном проектировании.

НАРУЖНЫЕ ОГРАЖДАЮЩИЕ КОНСТРУКЦИИ

Ненесущие наружные стены поэтажно опираются на перекрытия. Наружные стены предусматриваются слоистой конструкции с внутренним слоем из облегченных керамзитобетонных блоков СКЦ, средним слоем из эффективного утеплителя и наружным отделочным слоем.

Внутренний слой из блоков СКЦ предусматривается толщиной 190 мм (один ложковый ряд). Внутренняя поверхность кладки штукатурится.

Стены из блоков СКЦ позволяют размещать скрытую электропроводку в штрабах, устраиваемых на постройке до выполнения внутреннего отделочного слоя.

Наружный слой может выполняться в трех вариантах: из облицовочного кирпича, штукатурки, с вентилируемым экраном.

Кирпичная облицовка выполняется из облицовочного кирпича толщиной слоя 120 мм с плотностью кладки 1600 кг/м3. Облицовку крепят к кладке из блоков коррозиестойкими гибкими металлическими связями Ø 4 мм, устанавливаемыми через 600 мм по высоте (3 ряда блоков) с шагом 800 - 1000 мм, замоноличиваемыми в горизонтальные швы облицовки и кладки. Связи анкеруют сетками из коррозиестойкой проволоки Ø 4 мм.

В случае оштукатуривания фасада основным решением является штукатурка толщиной 10 - 12 мм по сетке из стеклопластика цементно-песчаным или смешанным раствором с последующей окраской атмосферостойкими составами. Возможно применение накладных декоративных элементов из гипса, композиционных материалов и др.

При облицовке фасада кирпичом в качестве утеплителя применяется пенополистирол  = 40 кг/м3 толщиной 190 мм с рассечками из минераловатных плит  = 80 кг/м3 в уровне перекрытий, под оконным проемом и над ним.

В случае оштукатуривания фасада в зданиях высотой до 12 этажей в качестве утеплителя применяется пенополистирол  = 40 кг/м3 толщиной 150 мм с рассечками из минераловатных плит  = 80 кг/м3 в уровне перекрытий, под оконным проемом и над ним. В более высоких зданиях в качестве утеплителя применяются только минераловатные плиты  = 175 кг/м3 толщиной 150 мм.

В случае устройства на фасаде вентилируемого экрана в качестве утеплителя для зданий любой этажности применяются минераловатные плиты  = 110 кг/м3 толщиной 150 мм.

В общем случае при других конструкциях и материалах наружных стен толщина теплоизоляционного слоя определяется теплотехническим расчетом по методике, приведенной в Приложении 2, с учетом особенностей объемно-планировочного и конструктивного решения здания.

Над проемами в случае отсутствия в плитах перекрытий дополнительных опорных балок или выступающих ребер укладывают железобетонные перемычки, а при наличии балок или ребер они выполняют одновременно и функции перемычек. Высота сечения перемычек 140 мм стандартная, ширина же в связи со спецификой слоистых стен принята 60 и 90 мм.

АНТИКОРРОЗИОННАЯ ЗАЩИТА

Антикоррозионная защита закладных деталей и связей в узлах сопряжения наружных стен с внутренними конструкциями и между слоями наружных стен осуществляется в соответствии со СНиП 2.03.11-85 "Защита строительных конструкций от коррозии" [6]. Во всех случаях закладные детали, кроме того, должны быть защищены слоем цементно-песчаного раствора (на портландцементе) марки не ниже 150 толщиной не менее 20 мм.

ПРОИЗВОДСТВО РАБОТ

Работы по возведению стен из облегченных керамзитобетонных блоков СКЦ выполняются по утвержденному проекту производства работ (ППР), разрабатываемому с учетом требований СНиП 3.01.01-85* "Организация строительного производства" [8] и СНиП 3.03.01-87 "Несущие и ограждающие конструкции" [21].

Доставку блоков, облицовочного кирпича и утеплителя на кладочные горизонты выполняют в контейнерах башенным краном, подъемниками или лебедками, устанавливаемыми на наружных лесах.

В варианте стен с кирпичной облицовкой фасада кладку начинают с наружного слоя. Вначале устанавливают в проектное положение маячные кирпичи, располагаемые в углах и через 10 - 15 м один от другого по длине стены. По ним натягивают причалку и осуществляют кирпичную кладку наружной версты ложками по однорядной (цепной) системе с полным заполнением швов. Толщина вертикальных и горизонтальных швов составляет 10 мм.

Металлические связи устанавливают в горизонтальные швы кладки.

Утеплитель-пенополистирол и минераловатные плиты располагают ярусами, соответствующими расстоянию между металлическими связями. Утеплитель укладывают с обеспечением плотного прилегания к кирпичной кладке и исключения зазоров более 1 мм между отдельными плитами.

После этого выполняют кладку внутреннего слоя из блоков. Блоки укладывают пустотами вниз с перевязкой швов также по однорядной системе. Их устанавливают ложковыми рядами, а для перевязки швов вблизи поперечных стен и оконных проемов используют укороченные блоки.

При кладке из блоков толщина горизонтальных швов составляет 10 - 12 мм, вертикальных - 10 мм.

Высота первого яруса кладки соответствует высоте подоконной части стены. Кладку первого яруса из кирпичей и блоков ведут непосредственно с перекрытий, последующие ярусы возводят с подмостей.

В вариантах с наружной штукатуркой и с вентилируемым экраном вначале выполняют кладку внутреннего слоя из блоков. После установки в швы кладки металлических связей производят укладку плитного утеплителя с плотным прилеганием к поверхности кладки.

Устройство наружной штукатурки и вентилируемого экрана выполняют снаружи.

Для соблюдения горизонтальности рядов кладки применяют порядовки - деревянные или металлические рейки, на которых нанесены деления с расстоянием, равным высоте одного ряда блоков, что соответствует трем рядам кирпича.

Для проверки горизонтальности рядов используют рейку-уровень, для проверки вертикальности стены - отвес, для проверки правильности сопряжении - угольник. Измерения геометрических размеров стен производят с помощью рулетки и складного метра.

Внутреннюю штукатурку по блокам выполняют в процессе производства отделочных работ в здании.

Кладку стен из блоков и кирпича в зимних условиях можно выполнять:

- на обыкновенных без противоморозных добавок растворах с последующим своевременным прогревом кладки;

- способом замораживания на обыкновенных (без противоморозных добавок) растворах при условии обеспечения достаточной несущей способности конструкций в период оттаивания;

- с противоморозными добавками на растворах марки не ниже 50.

При применении, способа замораживания кладку выполняют на подогретых растворах, после чего она замерзает. Дальнейшее нарастание прочности раствора происходит только после оттаивания кладки с одновременным уплотнением швов.

За ведением зимней кладки должен быть установлен систематический контроль. При приемке кладки должен быть предъявлен журнал зимних работ и акт на скрытые работы.

Противоморозные химические добавки рекомендуется применять по СНиП 3.03.01-87 [6]. Количество добавок должно составлять 5 - 7 % по отношению к объему воды затворения. Кладку на растворах с химическими добавками ведут аналогично кладке, возводимой способом замораживания.

ТРЕБОВАНИЯ БЕЗОПАСНОСТИ И ОХРАНЫ ОКРУЖАЮЩЕЙ СРЕДЫ

Работы по возведению слоистых наружных стен должны выполняться с учетом требований СНиП III-4-80* [9].

При этом должны соблюдаться "Санитарные правила организации технологических процессов и гигиенические требования к производственному оборудованию", утвержденные Минздравом № 1042-73 от 04.04.73 г., а также ГОСТ 12.1.005-88 [13].

Материалы, используемые для устройства наружных стен, должны быть безопасными в радиационном отношении. Аэфф материалов, определяемое по ГОСТ 30108-94 [11], не должно превышать 370 - 740 Бк/кг.

При возведении наружных стен в воздух рабочей зоны могут выделяться:

 

Величина ПДК,

мг/м3

Класс опасности

Пылевидные частицы минерального волокна

4,0

4,0

Пыль силикатосодержащая

6,0

4,0

Стирол, винил, бензол

30/10

4,0

Контроль за содержанием вредных веществ в воздухе рабочей зоны должен осуществляться в соответствии с ГОСТ 12.1.005-88 [13] и проводиться по ГН 2.2.5.686-98 [7] в порядке и сроки, согласованные с территориальными органами госсаннадзора.

Лица, связанные с вредными условиями труда, должны при приеме на работу и периодически в процессе работы проходить медицинский осмотр в соответствии с приказом Минздрава № 90-96 от 14.03.96 от 14.03.96 г.; отдельной инструкции по технике безопасности; обеспечиваться специальной одеждой и специальной обувью, а также средствами индивидуальной защиты согласно ГОСТ 12.4.011-89 [4] и ГОСТ 12.4.1203-83 [15].

Органы дыхания должны быть защищены марлевыми повязками, респираторами типа "Лепесток" по ГОСТ 12.4.028-76* [15] или другими противопылевыми респираторами.

В качестве профилактической защиты кожного покрова рекомендуется применять дерматологические защитные средства.

Охрана окружающей среды должна осуществляться в соответствии с требованиями ГОСТ 17.2.3.02-78 [12].

НОМЕНКЛАТУРА ОБЛЕГЧЕННЫХ КЕРАМЗИТОБЕТОННЫХ БЛОКОВ

Производитель

Марка

Размеры, мм

Класс по прочности на сжатие

Марка по средней плотности

Масса, кг

L

В

Н

ОАО

"Домстройпром" г.Домодедово

СКЦ-1

390

190

188

В 2,5

Д 900

12

СКЦ-2

390

90

188

В 2,5

Д 900

6

Примечания:

1. L - длина; В - ширина; Н - высота;

2. СКЦ - стеновой камень (блок) на цементном вяжущем

ХАРАКТЕРИСТИКИ ТЕПЛОИЗОЛЯЦИОННЫХ МАТЕРИАЛОВ

Наименование

Марка

Размеры, мм

Плотность,

кг/м3

Коэффициент теплопроводности, Вт/(м°С)

L

В

Н

Плиты из минеральной ваты

(ТУ 5762-00945757203-00)

ЗАО "Минеральная вата", г. Железнодорожный

Кавити-Баттс

1000; 1200

500; 600

50 - 200

80

0,045

Плиты из минеральной ваты

(ТУ 5762-002-45757203-99)

ЗАО "Минеральная вата", г. Железнодорожный

Фасад-Баттс

1000; 1200

500; 600

50 - 200

175

0,046

Плиты из минеральной ваты

(ТУ 5762-003-45757203-99)

ЗАО "Минеральная вата", г. Железнодорожный

Венти-Баттс

1000; 1200

500; 600

50 - 200

110

0,045

Плиты пенополистирольные ГОСТ 15588-86

ПСБ-С

900 - 5000

500 - 1300

20 - 500

40

0,05

Пенополиуретан

ТУ 6-55-281-955-88, ТУ 6-55-281-956-88

ВИЛАН-405

 

 

 

40

0,04

Примечания:

1. L - длина; В - ширина; Н - высота.

2. Коэффициент теплопроводности - для условий эксплуатации Б.

РЕКОМЕНДУЕМЫЕ РАЗМЕРЫ И ПАРАМЕТРЫ ЗДАНИЙ

№№ пп

Размеры, параметры

Обозначения

Ед. изм.

Значение размеров, параметров

1.

Шаги несущих стен

L

мм

3000; 3600; 4200; 4500; б000; 7200; 7500

2.

Высота этажа:

жилых зданий

общественных зданий

Н

мм

2800; 3000; 3300

3300; 3600; 4200

3.

Толщина несущих стен

мм

140; 160; 180

4.

Толщина плит перекрытий

h

мм

140; 160; 180; 200; 220; 250

5.

Число этажей

n

шт

Не ограничивается

Примечание:

Толщины несущих стен и плит перекрытий определяются прочностными расчетами.

НОРМАЛЬ 1Н-1

НОРМАЛЬ 1Н-1. РАЗРЕЗЫ 1-1, 2-2

ПОЯСНЕНИЯ К 1Н-1

Нормаль 1Н-1 представляет собой принципиальное решение наружной стены (вертикальный разрез по оконному проему) из облегченных керамзитобетонных блоков, утеплителя-пенополистирола с рассечками из минераловатных плит в уровне перекрытий, низа и верха оконного проема и облицовкой с фасадной стороны кирпичом с расшивкой швов (без штукатурки фасадной поверхности) и штукатуркой с внутренней стороны.

Наружная стена опирается на сборную плоскую плиту междуэтажного перекрытия, имеющую "окна", заполняемые утеплителем.

Подоконная часть стены высотой 900 мм выполняется из трех рядов целых блоков СКЦ-1 и одного ряда доборных элементов СКЦ-2. При этом наружная облицовка включает 12 рядов кладки. В надоконной части стены с внутренней стороны устанавливаются три железобетонные перемычки шириной 60 мм каждая. С наружной стороны укладывается перемычка шириной 90 мм, образующая четверть для оконного блока. Все перемычки имеют высоту 140 мм.

Утеплитель по контуру оконного проема защищается слоем армированной штукатурки толщиной 30 мм.

На разрезе 1-1 показано сечение наружной стены в уровне плиты перекрытия.

На разрезе 2-2 дано сечение наружной стены по подоконной части и показано соединение кирпичной облицовки из блоков с помощью металлических связей, защищаемых от коррозии.

Внутренняя поверхность блоков штукатурится цементно-песчаным раствором.

НОРМАЛЬ 1Н-2

НОРМАЛЬ 1Н-2. РАЗРЕЗЫ 3-3, 4-4

ПОЯСНЕНИЯ К 1Н-2

Нормаль 1Н-2 отличается от нормали 1Н-1 тем, что из-за недостаточного выноса плиты перекрытия опирание наружной стены осуществляется на часть плиты и на балку таврового сечения, устанавливаемую на выступы поперечных несущих стен или на колонны-пилястры, пристыкованные к наружным стенам. "Окна" устраивают в полках балки.

Соединение балки с плитой перекрытия осуществляется с помощью закладных деталей-пластин, замоноличиваемых при изготовлении плит и опорных балок, соединяемых между собой с помощью приварки арматурных стержней.

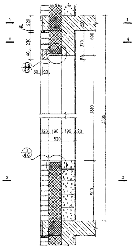
НОРМАЛЬ 1Н-3

НОРМАЛЬ 1Н-3. РАЗРЕЗЫ 5-5, 6-6

НОРМАЛЬ 1Н-4

НОРМАЛЬ 1Н-4. РАЗРЕЗЫ 7-7, 8-8

ПОЯСНЕНИЯ К 1Н-3, 1Н-4

Нормаль 1Н-3 представляет собой решение наружной стены (вертикальный разрез по оконному проему) из облегченных керамзитобетонных блоков, слоя утеплителя - минераловатных плит, наружной и внутренней штукатурки. Наружная паропроницаемая штукатурка выполняется по сетке из стеклопластика и состоит из двух слоев - нижнего толщиной от 5 до 8 мм и верхнего (отделочного) толщиной 2-3 мм.

Нагрузка от утепляющего и отделочного слоев воспринимается гнутым профилем, пристреливаемым в подоконной части к кладке из блоков, а в надоконной части к перемычке.

Нормаль 1Н-4 отличается от нормали 1Н-3 тем, что из-за недостаточной длины плиты перекрытия опирание наружной стены осуществляется на край плиты и на опорную балку, устанавливаемую на поперечные несущие стены или на колонны-пилястры аналогично 1Н-2. Гнутый профиль в надоконной части пристреливается к балке.

Внутреннюю поверхность блоков в 1Н-3 и 1Н-4 штукатурят цементно-песчаным раствором.

НОРМАЛЬ 1Н-5

НОРМАЛЬ 1Н-6

ПОЯСНЕНИЯ К 1Н-5, 1Н-6

Нормаль 1Н-5 представляет собой принципиальное решение наружной стены (вертикальный разрез по оконному проему) из облегченных керамзитобетонных блоков, слоя утеплителя - минераловатных плит, вентилируемого экрана с наружной стороны и оштукатуренной изнутри. Облицовочные плиты экрана устанавливают с помощью специальных крепежных элементов.

Нормаль 1Н-6 отличается от нормали 1Н-5 тем, что передача нагрузки от наружной стены осуществляется на край плиты и на опорную балку, аналогично 1Н-2.

Нагрузка от утеплителя и облицовочных плит экрана воспринимается гнутым профилем, пристреливаемым к перемычке или опорной балке.

Внутреннюю поверхность блоков штукатурят цементно-песчаным раствором.

НОРМАЛЬ 1Н-7

НОРМАЛЬ 1Н-8

ПОЯСНЕНИЯ К 1Н-7, 1Н-8

Нормаль 1Н-7 представляет собой принципиальное решение наружной стены (вертикальный разрез по оконному проему) из облегченных керамзитобетонных блоков, утеплителя - пенополистирола с рассечками из минераловатных плит, кирпичной облицовки снаружи и оштукатуренной изнутри.

Наружная стена опирается на плоскую плиту перекрытия толщиной 220 мм из монолитного железобетона, имеющую "окна", заполняемые утеплителем.

Подоконную и надоконную части стены и установку чернового оконного короба выполняют по аналогии с 1Н-1.

Нормаль 1Н-8 отличается от нормали 1Н-7 тем, что плита перекрытия имеет усиливающее ребро на всю длину пролета между несущими поперечными стенами, которое одновременно выполняет и функцию надоконных перемычек.

НОРМАЛЬ 1Н-9

НОРМАЛЬ 1Н-10

ПОЯСНЕНИЯ К 1Н-9, 1Н-10

Нормаль 1Н-9 представляет собой принципиальное решение наружной стены (вертикальный разрез по оконному проему) из облегченных керамзитобетонных блоков, слоя утеплителя - минераловатных плит, наружной и внутренней штукатурки.

Наружная стена опирается на плоскую плиту перекрытия толщиной 220 мм из монолитного железобетона, имеющую "окна", заполняемые утеплителем.

Наружную штукатурку, крепление гнутых профилей выполняют по аналогии с 1Н-3.

Нормаль 1Н-10 отличается от нормали 1Н-9 тем, что плита перекрытия имеет усиливающее ребро на всю длину пролета между несущими поперечными стенами, которое одновременно выполняет и функцию надоконных перемычек.

НОРМАЛЬ 1Н-11

НОРМАЛЬ 1Н-12

ПОЯСНЕНИЯ К 1Н-11, 1Н-12

Нормаль 1Н-11 представляет собой принципиальное решение наружной стены (вертикальный разрез по оконному проему) из облегченных керамзитобетонных блоков, утеплителя - пенополистирола с рассечками из минераловатных плит в уровне перекрытий, низа и верха оконного проема, кирпичной облицовки снаружи и оштукатуренной изнутри.

Наружная стена опирается на сборную плоскую плиту перекрытия, имеющую "окна", заполняемые утеплителем.

Подоконную и надоконную части стены и установку чернового оконного короба выполняют по аналогии с 1Н-1.

Нормаль 1Н-12 отличается от нормали 1Н-11 тем, что край плиты усиливается сборной железобетонной балкой, одновременно выполняющей функцию перемычек.

НОРМАЛЬ 1Н-13

НОРМАЛЬ 1Н-14

ПОЯСНЕНИЯ К 1Н-13, 1Н-14

Нормаль 1Н-13 представляет собой принципиальное решение наружной стены (вертикальный разрез по балконной двери) из облегченных керамзитобетонных блоков, утеплителя - пенополистирола с рассечками из минераловатных плит в уровне перекрытий, низа и верха балконной двери, облицовки с фасадной стороны кирпичом и штукатурки с внутренней стороны.

Наружная стена опирается на сборную плоскую плиту междуэтажного перекрытия, имеющую "окна", заполняемые утеплителем.

Соединение балконной плиты с плитой перекрытия осуществляется с помощью закладных деталей - пластин, замоноличиваемых при изготовлении плит и соединяемых между собой с помощью приварки арматурных стержней.

Нормаль 1Н-14 представляет собой принципиальное решение угла наружной стены. Продольная наружная стена выполняется из облегченных керамзитобетонных блоков с утеплителем и кирпичной облицовкой по аналогии с 1Н-1.

Торцевая наружная стена включает внутреннюю несущую панельную стену, слой утеплителя и кирпичную облицовку снаружи.

Соединение кирпичной облицовки с торцевой стеной выполняется с помощью анкеров и металлических связей, а с продольной - с помощью металлических связей, располагаемых в кладке из блоков и кирпичной облицовке.

УЗЛЫ 1; 1a

УЗЕЛ 2. СОЕДИНЕНИЕ ПЛИТЫ С БАЛКОЙ

ПРИМЕЧАНИЯ:

1. Все металлические детали и их крепления должны назначаться на основе расчетов

УЗЛЫ 3,4. КРЕПЛЕНИЕ ГНУТЫХ ШВЕЛЛЕРОВ

УЗЕЛ 5. КРЕПЛЕНИЕ НАРУЖНОЙ ШТУКАТУРКИ И УТЕПЛИТЕЛЯ

УЗЕЛ 6. КРЕПЛЕНИЕ ЭКРАНА

УЗЕЛ 7. УСТАНОВКА И КРЕПЛЕНИЕ СТОЛЯРНЫХ ИЗДЕЛИЙ

УЗЕЛ 8. УСТАНОВКА И КРЕПЛЕНИЕ СТОЛЯРНЫХ ИЗДЕЛИЙ

УЗЛЫ 7, 8. РАЗРЕЗЫ 1-1, 2-2

ФРАГМЕНТ ФАСАДНОЙ СТЕНЫ. ПРИМЕР РАСКЛАДКИ СКЦ

Примечания:

1. а) вариант с перемычками; б) с опорной балкой.

2. Растворные швы условно не показаны

УСЛОВНЫЕ ОБОЗНАЧЕНИЯ

Железобетон

Керамзитобетон

Кирпич

Минеральная вата

Пенополистирол

Пенополиуретан

Древесина

Штукатурка

Штукатурка по сетке

Мастика, Герметик

Шов кладки

№ узла

№ листа

ПРИЛОЖЕНИЕ 1

ТЕПЛОТЕХНИЧЕСКИЙ РАСЧЕТ НАРУЖНОЙ СТЕНЫ ИЗ ОБЛЕГЧЕННЫХ КЕРАМЗИТОБЕТОННЫХ БЛОКОВ

В соответствии со СНиП II-3-79* "Строительная теплотехника" (изд. 1998) [4] теплозащита наружных ограждающих конструкций характеризуется приведенным сопротивлением теплопередаче R0пр наружных стен (за исключением окон), которое должно быть не ниже требуемого приведенного сопротивления теплопередаче R0тр.пр, м2°С/Вт.

Для жилых зданий, строящихся в Москве, по СНиП II-3-79*, МГСН 2.01-99 [18] и СНиП 23.01-99 [5] R0тр равно 3,15 м2°С/Вт (II этап).

В нормалях рассматривается ряд решений слоистых наружных стен толщиной 370 - 520 мм с применением облегченных керамзитобетонных блоков. При этом толщина теплоизоляционного материала в варианте с кирпичной облицовкой составляет 190 мм, а в варианте с наружной штукатуркой 150 мм.

Условные сопротивления теплопередаче стен по глади R0усл, м2°С/Вт (без учета теплопроводных включений, откосов оконных проемов и т.п.) рассматриваемых в нормалях решений приведены в табл. 1.

Таблица 1

Вариант (тип)

Конструкция стены, толщина ее слоев, мм

Толщина стены, мм

Сопротивление теплопередаче по глади, R0усл, м2°С/Вт

1

Штукатурка - 20

Керамзитобетонный блок - 190

Пенополистирол - 190

Кирпич -120

520

4,8

2

Штукатурка - 20

Керамзитобетонный блок - 190

Минвата - 150

Штукатурка - 10

370

4,175

Коэффициент теплопроводности облегченных керамзитобетонных блоков средней плотностью  = 900 кг/м3,  = 0,3 Вт/м°С (по данным завода), штукатурки плотностью  = 1800 кг/м3,  = 0,93 Вт/м°С, пенополистирола  = 40 кг/м3,  = 0,05 Вт/м°С, лицевого кирпича  = 1600 кг/м3,  = 0,64 Вт/м°С, утеплителя из минваты типа Роквул, Парок, Партек  = 0,045 Вт/м°С, тяжелого бетона плотностью  = 2500 кг/м3,  = 2,04 Вт/м°С.

Характеристики рассчитанных стен приведены в табл. 2.

Таблица 2

Тип наружных стен

Наименование слоев

Материал слоя

Толщина слоя,

мм

Коэффициент теплопроводности , Вт/м°С

С облицовкой кирпичом (тип 1)

Внутренний

Кладка из облегченных керамзитобетонных блоков  = 900 кг/м3

190

0,3

Средний утепляющий

Плиты из пенополистирола  = 40 кг/м3

190

0,05

Наружный

Кладка из кирпича  = 1600 кг/м3

120

0,64

С наружной штукатуркой (тип 2)

Внутренний

Кладка из облегченных керамзитобетонных блоков  = 900 кг/м3

190

0,3

Средний утепляющий

Плиты минераловатные  = 175 кг/м3

150

0,046

Наружный

Штукатурка

10

0,3

Для расчета принят типовой этаж секции дома серии 111М. В основу конструктивных решений слоистых наружных стен при определении приведенных сопротивлений теплопередаче главных фрагментов стен приняты толщины утеплителя, рассчитанные предварительно по формуле:

 ,                                       (1)

где: R0тр.пр - требуемое приведенное сопротивление теплопередаче стен, м2°С/Вт;

 - термические сопротивления конструктивных слоев, м2°С/Вт;

 - коэффициенты теплоотдачи внутренней и наружной поверхности.

В формуле (1) величину коэффициента теплотехнической однородности r при предварительных расчетах толщины утеплителя рекомендуется в соответствии с [17] принимать:

- для стен типа 1 - r = 0,65;

- для стен типа 2 - r = 0,8.

Для проверки правильности предварительно принятых толщин утепляющих слоев определяются приведенные сопротивления теплопередаче наружных стен основных фрагментов. Каждый рассчитываемый фрагмент делится на отдельные участки, характеризуемые одним или несколькими видами теплопроводных включений.

Методика теплотехнического расчета разработана в соответствии с рядом документов, подготовленных ЦНИИЭП жилища и НИИСФ [4, 26, 27, 28] и полностью удовлетворяет нормативным требованиям [4, 18].

Для указанных выше вариантов (типов) конструкций слоистых стен проведены теплотехнические расчеты фрагментов стен с большим оконным проемом (Iпр = 1,8 м).

Для расчета фрагмент разбивался на 13 расчетных участков (смотри рис. а, б). Принятая предварительно для стены I типа толщина утеплителя 0,19 м уточнялась расчетом по вышеуказанной методике.

Значения подсчитанных приведенных сопротивлений теплопередаче фрагмента стены I типа, законструированного в соответствии с предварительно принятой толщиной утеплителя, даны в табл. 3.

Приведенные в табл. 3 значения R0iпр учитывают, кроме теплопроводных включений перекрытий и внутренних стен (r = 0,97), понижающее теплозащиту влияние выступающего левого внешнего угла (r = 0,76), a R0пр фрагмента учитывают влияние металлических связей (r = 0,946).

КОНСТРУКЦИИ СТЕН

ТИП 1 - c облицовкой кирпичом

ТИП 2 - c наружной штукатуркой

Таблица 3

Приведенное сопротивление теплопередаче стен с облицовкой кирпичом (тип I)

№№

участков

Площади участков

м2

Сопротивление теплопередаче приведенное R0iпр, м2°С/Вт

Коэффициент теплотехнической однородности.

участка

фрагмента

без учета связей

с учетом связей

1

2

3

4

5

6

1

0,405

2,6890,970,76 = 1,98

 

 

 

2

1,35

4,80,76 = 3,648

 

 

 

3

0,99

4,80,76 = 3,648

 

 

 

4, 9

0,092

2,260,97 = 2,19

 

 

 

5, 10

0,92

2,6

3,37

3,19

0,665

6

0,288

1,720,97 = 1,668

 

 

 

6

0,52

1,85

 

 

 

7

0,36

2,6

 

 

 

8

1,26

4,8

 

 

 

11

0,63

2,б890,97 = 2,608

 

 

 

12

2,1

4,80,97 = 4,656

 

 

 

13

1,44

4,80,97 = 4,656

 

 

 

Рассчитан также вариант стены (тип 2), утепленной снаружи минватой на основе базальтового волокна (по типу "Роквул", "Парок" и "Партек") и защищенной штукатуркой типа "Алсеко". Рассчитывался фрагмент стены с большим оконным проемом, таким же, как в варианте I. Для расчета фрагмент стены разбивался также на 13 расчетных участков (см. рис. б).

Принятая предварительно толщина утеплителя 0,15 м уточнялась расчетом по вышеуказанной методике. Значения приведенных сопротивлений теплопередаче фрагмента стены 2 типа, законструированного в соответствии с предварительно принятой толщиной утеплителя, подсчитанные по приведенной методике, даны в табл. 4.

Таблица 4

Приведенные сопротивления теплопередаче стен с наружной штукатуркой (тип 2)

№№ участков

Площадь участков,

м2

Сопротивление теплопередаче приведенное R0iпр, м2°С/Вт

Коэффициент теплотехнической однородности, r

участка

фрагмента

для графы 5

для графы 6

без учета связей

с учетом связей

с учетом глухих торцевых стен

1

2

3

4

5

6

7

8

1

0,405

3,630,97 = 3,52

 

 

 

 

 

2

1,35

4,1750,970,8 = 3,24

 

 

 

 

 

3

0,99

4,1750,970,8 = 3,24

 

 

 

 

 

4, 9

0,18

3,010,97 = 2,92

 

 

 

 

 

5, 10

0,6

1,87

3,16

3,1

3,25

0,743

0,78

6

0,808

2,4

 

 

 

 

 

7

0,36

1,87

 

 

 

 

 

8

1,16

4,175

 

 

 

 

 

11

0,63

4,1750,97 = 4,05

 

 

 

 

 

12

2,1

4,1750,97 = 4,05

 

 

 

 

 

13

1,44

4,1750,97 = 4,05

 

 

 

 

 

Приведенные сопротивления теплопередаче рассчитанных фрагментов стен составляют: по типу I (слоистая кладка с облицовкой кирпичом) R0 = 3,19 м2°С/Вт; по типу 2 (с наружной штукатуркой) R0пр = 3,1 - 3,25 м2°С/Вт.

Коэффициенты теплотехнической однородности равны: в первом случае r = 0,665; во втором r = 0,74 - 0,78.

Заключение

Теплозащитные качества рассмотренной конструкции удовлетворяют требованиям СНиП II-3-79* (изд. 1998) при следующих условиях:

- толщина теплоизоляции из пенополистирола (с  = 0,05 Вт/м2°С) по варианту кладки с облицовкой кирпичом должна составлять 190 мм;

- толщина теплоизоляции из минваты на основе базальтового волокна (с  = 0,045 Вт/м2°С) по варианту кладки с наружной штукатуркой типа "Алсеко" должна составлять 150 мм. При этом варианте целесообразно устройство пароизоляции с внутренней стороны утеплителя или керамзитобетонного блока.

При варианте облицовки утеплителя экраном с устройством воздушной прослойки между утеплителем и экраном теплозащитные качества стен и их фрагментов могут быть приняты аналогичными стене типа 2.



© 2013 Ёшкин Кот :-)