Информационная система
«Ёшкин Кот»

XXXecatmenu

ГОСТ Р 12.4.220-2001

ГОСУДАРСТВЕННЫЙ СТАНДАРТ РОССИЙСКОЙ ФЕДЕРАЦИИ

Система стандартов безопасности труда

СРЕДСТВА ИНДИВИДУАЛЬНОЙ ЗАЩИТЫ
ОРГАНОВ ДЫХАНИЯ.
АППАРАТЫ ИЗОЛИРУЮЩИЕ АВТОНОМНЫЕ
С ХИМИЧЕСКИ СВЯЗАННЫМ КИСЛОРОДОМ
(САМОСПАСАТЕЛИ)

Общие технические требования. Методы испытаний

ГОССТАНДАРТ РОССИИ

Москва

Предисловие

1 РАЗРАБОТАН Федеральным государственным унитарным предприятием «Тамбовский научно-исследовательский химический институт»

ВНЕСЕН Техническим комитетом по стандартизации средств индивидуальной защиты ТК 320 «СИЗ»

2 ПРИНЯТ И ВВЕДЕН В ДЕЙСТВИЕ Постановлением Госстандарта России от 21 августа 2001 г. № 338-ст

3 ВВЕДЕН ВПЕРВЫЕ

СОДЕРЖАНИЕ

1 Область применения. 2

2 Нормативные ссылки. 2

3 Определения и сокращения. 2

4 Общие положения. 3

5 Общие технические требования. 4

5.1 Требования назначения. 4

5.2 Требования стойкости к внешним воздействиям.. 5

5.3 Конструктивные требования. 5

6 Требования безопасности. 5

7 Методы испытаний. 6

7.1 Определение времени защитного действия при испытаниях на установке «Искусственные легкие». 6

7.2 Определение объемной доли диоксида углерода, средней объемной доли диоксида углерода и объемной доли кислорода при испытаниях на установке «Искусственные легкие». 8

7.3 Определение температуры газовой дыхательной смеси на вдохе при испытании на установке «Искусственные легкие». 8

7.4 Определение сопротивления дыханию на вдохе и выдохе при испытаниях на установке «Искусственные легкие». 9

7.5 Определение времени защитного действия самоспасателей на испытателях при выполнении дозированной физической нагрузки при температурах плюс 20 и минус 20 °С и в состоянии покоя. 9

7.6 Определение объемной доли диоксида углерода и кислорода при выполнении испытателем дозированной физической нагрузки и в состоянии покоя. 11

7.7 Определение температуры газовой испытательной смеси на вдохе и сопротивления дыханию при выполнении испытателем дозированной физической нагрузки и в состоянии покоя. 11

7.8 Определение продолжительности включения в самоспасатель, удобства вскрытия футляра и включения в самоспасатель, переносимости температуры поверхности самоспасателя. 11

7.9 Проверка герметичности самоспасателей. 11

7.10 Испытания на воспламеняемость. 12

7.11 Испытания на стойкость к климатическим воздействиям.. 13

7.12 Испытания на стойкость к механическим воздействиям.. 13

7.13 Испытания на соответствие конструктивным требованиям.. 14

Приложение А. Описание динамической установки «Искусственные легкие». 17

Приложение Б. Описание психрометра. 19

ГОСУДАРСТВЕННЫЙ СТАНДАРТ РОССИЙСКОЙ ФЕДЕРАЦИИ

Система стандартов безопасности труда

СРЕДСТВА ИНДИВИДУАЛЬНОЙ ЗАЩИТЫ ОРГАНОВ ДЫХАНИЯ. АППАРАТЫ ИЗОЛИРУЮЩИЕ АВТОНОМНЫЕ С ХИМИЧЕСКИ СВЯЗАННЫМ КИСЛОРОДОМ (САМОСПАСАТЕЛИ)

Общие технические требования. Методы испытаний

Occupational safety standards system. Respiratory protective devices. Self contained escape apparatus with chemical oxygen. General technical requirements. Test methods

Дата введения 2002-07-01

1 Область применения

Настоящий стандарт распространяется на изолирующие автономные аппараты с замкнутым контуром с химически связанным кислородом (далее - самоспасатели), предназначенные для экстренной защиты органов дыхания при эвакуации или в ожидании помощи в непригодной для дыхания атмосфере при температуре от минус 20 до плюс 40 °С.

Настоящий стандарт не распространяется на следующие специальные виды самоспасателей:

- медицинские;

- для подводных работ;

- для авиации и космоса;

- для военных целей;

- для спасения во время пожара.

2 Нормативные ссылки

В настоящем стандарте использованы ссылки на следующие стандарты:

ГОСТ 112-78 Термометры метеорологические стеклянные. Технические условия

ГОСТ 5556-81 Вата медицинская гигроскопическая. Технические условия

ГОСТ 7995-80 Краны соединительные стеклянные. Технические условия

ГОСТ 15150-69 Машины, приборы и другие технические изделия. Исполнения для различных климатических районов. Категории, условия эксплуатации, хранения и транспортирования в части воздействия климатических факторов внешней среды

ГОСТ 25794.1-83 Реактивы. Методы приготовления титрованных растворов для кислотно-основного титрования

ГОСТ Р 12.4.189-99 Система стандартов безопасности труда. Средства индивидуальной защиты органов дыхания. Маски. Общие технические условия

3 Определения и сокращения

В настоящем стандарте применяют следующие термины с соответствующими определениями и сокращениями:

3.1 средство индивидуальной защиты органов дыхания, СИЗОД: Устройство, предназначенное для защиты органов дыхания от опасных и вредных факторов, воздействующих ингаляционно.

3.2 изолирующее средство индивидуальной защиты органов дыхания: Средство индивидуальной защиты органов дыхания, обеспечивающее человека газовой дыхательной смесью, пригодной для дыхания, и изолирующее органы дыхания от внешней среды.

3.3 изолирующий самоспасатель с химически связанным кислородом: Изолирующее средство индивидуальной защиты органов дыхания разового использования, действие которого основано на регенерации газовой дыхательной смеси в контуре самоспасателя за счет поглощения химическим веществом выдыхаемого диоксида углерода и влаги и добавления в газовую дыхательную смесь выделяющегося при этом кислорода. Излишек газовой дыхательной смеси выводится наружу через клапан избыточного давления.

3.4 газовая дыхательная смесь, ГДС: Смесь газов и паров воды, заполняющая внутренний объем самоспасателя и используемая для дыхания.

3.5 дыхательный мешок, ДМ: Составная часть самоспасателя, представляющая собой емкость для газовой дыхательной смеси.

3.6 клапан избыточного давления, КИД: Составная часть самоспасателя, предназначенная для сброса газовой дыхательной смеси из внутреннего объема самоспасателя.

3.7 регенеративный патрон, РП: Составная часть самоспасателя с химически связанным кислородом, в которой осуществляется регенерация газовой дыхательной смеси.

3.8 маятниковая схема дыхания: Схема движения газовой дыхательной смеси во внутреннем объеме самоспасателя, при которой поток газовой дыхательной смеси в регенеративном патроне на фазах вдоха и выдоха имеет противоположное направление.

3.9 круговая схема дыхания: Схема движения газовой дыхательной смеси во внутреннем объеме самоспасателя, при которой газовая дыхательная смесь проходит регенеративный патрон в одном направлении, независимо от фазы дыхания.

3.10 воздуховодная система: Система самоспасателя, в которой циркулирует выдыхаемая и вдыхаемая газовая дыхательная смесь; включает лицевую часть, дыхательный мешок, регенеративный патрон и соединительные шланги.

3.11 регенерация газовой дыхательной смеси: Поглощение диоксида углерода и паров воды из газовой дыхательной смеси и обогащение ее кислородом.

3.12 время защитного действия, ВЗД: Время действия самоспасателя до достижения предельных параметров дыхания и параметров газовой дыхательной смеси на вдохе, заданных настоящим стандартом, при испытаниях на установке «Искусственные легкие» и на людях.

3.13 номинальный режим: Режим испытаний на установке «Искусственные легкие» при легочной вентиляции 35 дм3/мин и температуре окружающей среды (20 ± 5) °С.

3.14 номинальное время защитного действия: Время защитного действия самоспасателя, установленное для конкретного самоспасателя при испытании его на номинальном режиме.

3.15 сопротивление дыханию: Показатель, выражаемый разностью давлений на вдохе или выдохе в подмасочном пространстве самоспасателя и атмосферным давлением при дыхании.

3.16 сопротивление клапана избыточного давления: Показатель, выражаемый разностью давлений на входе и выходе проходящего через клапан избыточного давления постоянного потока воздуха при заданном его расходе.

3.17 рабочий объем дыхательного мешка: Объем воздуха, подаваемого в дыхательный мешок при изменении давления в нем от установленного нижнего значения до установленного верхнего значения.

3.18 установка «Искусственные легкие», ИЛ.

4 Общие положения

4.1 Самоспасатели подразделяются по времени защитного действия. Номинальное время защитного действия устанавливают с интервалом 5 мин для самоспасателей с ВЗД до 30 мин и с интервалом в 10 мин для самоспасателей с ВЗД до 90 мин.

4.2 Лицевой частью самоспасателя может быть загубник, полная маска или шлем с внутренней маской или без нее. Часть аппарата, защищающая лицо, должна быть надежно присоединена к аппарату.

4.3 Если используется загубник, то он должен обеспечивать надежную герметичность и не должен перекрывать дыхательный контур при работе самоспасателя. Носовой зажим должен герметично закрыть нос от доступа воздуха. Носовой зажим должен быть гибко связан с загубником таким образом, чтобы во время присоединения ко рту загубника внимание пользователя автоматически было привлечено и к носовому зажиму.

4.4 Если в качестве лицевой части применяют полную маску, то она должна соответствовать ГОСТ Р 12.4.189.

4.5 Если в самоспасателе предусмотрено наличие защитных очков, то стекла очков должны быть защищены от запотевания. Защитные очки должны соответствовать требованиям нормативного документа на очки конкретного вида. Защитные очки должны быть таким образом прикреплены к аппарату, чтобы их нельзя было потерять при открытии самоспасателя.

4.6 В случае использования самоспасателей во взрывоопасной среде составные части самоспасателей, которые могут быть подвержены ударам при эксплуатации, должны быть изготовлены из материалов, обеспечивающих фрикционную искробезопасность.

4.7 В случае использования во взрывоопасной среде самоспасатели должны быть антистатичными. При этом сопротивление изоляции неметаллических частей самоспасателей должно быть не более 109 Ом.

4.8 Загубник должен иметь зубные захваты и использоваться с носовым зажимом и защитными очками.

4.9 Самоспасатели должны обеспечивать видимость в диапазоне температур от минус 20 до плюс 40 °С в течение номинального ВЗД.

4.10 Самоспасатели после отработки и с истекшим гарантийным сроком хранения подлежат утилизации в соответствии с руководством по их эксплуатации.

5 Общие технические требования

5.1 Требования назначения

5.1.1 ВЗД самоспасателей при температурах окружающей среды минус 20 и плюс 40 °С и легочной вентиляции 35 дм3/мин должно быть не менее номинального. ВЗД самоспасателей при температуре окружающей среды (20 ± 5) °С при легочной вентиляции 70 дм3/мин должно составлять не менее 30 % номинального.

5.1.2 Для самоспасателей с номинальным ВЗД до 15 мин включительно объемная доля диоксида углерода во вдыхаемой ГДС не должна превышать 3 %. Для самоспасателей с номинальным ВЗД более 15 мин объемная доля диоксида углерода во вдыхаемой ГДС не должна превышать среднего значения 1,5 % при допустимом максимальном значении 3 %. Среднее значение объемной доли диоксида углерода определяется только при испытаниях на номинальном режиме. При проведении испытаний на испытателях допускается измерять объемную долю диоксида углерода в ДМ. При этом объемная доля в ДМ не должна превышать 3 %.

В условиях отрицательных температур в первые 6 мин работы допускается кратковременное (не более 3 мин) повышение объемной доли диоксида углерода во вдыхаемой из самоспасателя ГДС до 5 %.

5.1.3 Объемная доля кислорода во вдыхаемой из самоспасателя ГДС или в ДМ должна быть не менее 21 %. В начальный период испытаний допускается кратковременное понижение объемной доли кислорода до 19 % на время не более чем 3 мин.

5.1.4 Температура вдыхаемой из самоспасателя ГДС не должна превышать 60 °С для самоспасателей с номинальным ВЗД до 15 мин включительно и 55 °С - для самоспасателей с номинальным ВЗД более 15 мин при испытании при легочной вентиляции 35 дм3/мин.

5.1.5 При испытании самоспасателей при температуре от минус 20 до плюс 40 °С и легочной вентиляции 35 дм3/мин максимальное сопротивление дыханию на вдохе или выдохе не должно превышать 980 Па (100 мм вод. ст.).

5.1.6 Сопротивление дыханию на вдохе и выдохе при легочной вентиляции 70 дм3/мин не должно превышать 1960 Па (200 мм вод. ст) при любом ВЗД.

5.1.7 ВЗД самоспасателя при выполнении испытателем дозированной физической нагрузки при температурах окружающей среды минус 20 и плюс 20 °С должно быть не менее номинального, ВЗД в состоянии покоя при температуре плюс 20 °С должно составлять не менее 300 % номинального.

5.1.8 Продолжительность включения в самоспасатель должна быть не более 15 с.

5.1.9 Самоспасатели должны быть герметичны при внешнем избыточном давлении 4900 Па (500 мм вод. ст.).

5.1.10 Самоспасатели должны быть стойкими к кратковременному воздействию пламени. Части самоспасателя, которые при эксплуатации находятся под влиянием внешней среды, должны прекращать гореть в течение 5 с после удаления из пламени горелки. Самоспасатели должны сохранять герметичность после испытания.

5.1.11 Применяемые для изготовления самоспасателя материалы, непосредственно соприкасающиеся с кожей пользователя, и ГДС не должны оказывать раздражающего или иного вредного воздействия на человека. Эти материалы и компоненты ГДС должны иметь разрешение к применению органов Госсанэпиднадзора Минздрава России.

Таблица 1 - Масса самоспасателей

Номинальное ВЗД, мин

Масса, кг, не более

До 30 включ.

2,2

От 30 » 60 »

3,3

» 60 » 90 »

4,5

5.2 Требования стойкости к внешним воздействиям

5.2.1 Стойкость к воздействию климатических факторов Самоспасатели должны быть устойчивы к воздействию климатических факторов при хранении и транспортировании, соответствующих условиям хранения 2 (С) по ГОСТ 15150.

5.2.2 Стойкость к механическим воздействиям

5.2.2.1 Самоспасатели должны выдерживать испытания на транспортирование, соответствующие средним условиям транспортирования: перевозки автомобильным транспортом по дорогам с асфальтобетонным и цементобетонным покрытием на расстояние до 1000 км.

5.2.2.2 Самоспасатели, предназначенные для подземных работ, должны быть стойкими к нагрузкам, возникающим при падении их с высоты 1,5 м на бетонный пол.

5.2.2.3 Дополнительные виды механических воздействий следует указывать в нормативных документах на самоспасатель конкретного вида.

5.3 Конструктивные требования

5.3.1 Масса носимых самоспасателей должна соответствовать значениям, приведенным в таблице 1.

5.3.2 Конструкция замка самоспасателей должна обеспечивать удобство и быстроту вскрывания и исключать возможность случайного вскрытия при ношении.

5.3.3 Усилие вскрытия футляра не должно превышать 196 Н (20 кг).

5.3.4 Самоспасатели не должны иметь выступающих деталей; поверхность любой части самоспасателей, контактирующая с пользователем, не должна иметь острых краев или заусенцев.

5.3.5 Конструкция самоспасателей должна обеспечивать возможность очистки наружной поверхности.

5.3.6 Пыль регенеративного продукта самоспасателей не должна попадать в дыхательные пути пользователя, слюна или конденсат не должны препятствовать работе самоспасателей и оказывать негативного воздействия на пользователя.

5.3.7 Температура поверхности самоспасателя, обращенной к телу пользователя, должна быть переносимой для пользователя, одетого в хлопчатобумажную рабочую одежду.

5.3.8 Воздуховодная система самоспасателей должна быть герметична при внутреннем избыточном давлении и разрежении 980 Па (100 мм вод. ст.). Допускается падение давления не более чем на 156 Па (16 мм вод. ст.) в течение 1 мин.

5.3.9 Соединения элементов воздуховодной системы должны выдерживать усилие разрыва не менее 98 Н (10 кг).

5.3.10 Самоспасатели следует изготавливать из химически стойких к щелочи материалов. Эластичные части самоспасателей не должны слипаться при длительном хранении в свернутом состоянии.

5.3.11 Сопротивление КИД должно быть не менее 98 Па (10 мм вод. ст.) и не более 441 Па (45 мм вод. ст.) при постоянном потоке воздуха с объемным расходом 1,5 дм3/мин и не должно превышать 784 Па (80 мм вод. ст.) при постоянном потоке воздуха с объемным расходом 60 дм3/мин.

5.3.12 Рабочий объем ДМ должен быть не менее 5 дм3.

6 Требования безопасности

6.1 Самоспасатель является аппаратом разового действия.

6.2 Не допускается включаться в ранее использовавшийся самоспасатель.

6.3 После включения в самоспасатель запрещается делать перерывы в работе с выниманием загубника изо рта и снятием носового зажима или маски.

6.4 Конструкция самоспасателя должна предусматривать защиту человека от ожогов в процессе его использования.

6.5 Материалы, применяемые при изготовлении самоспасателей, не должны при хранении выделять в атмосферу не допустимых по санитарным нормам вредных веществ.

6.6. При эксплуатации самоспасателя не допускается попадание в него воды, горючих, легковоспламеняющихся и агрессивных веществ.

6.7 Самоспасатели, предназначенные для подземных работ, должны быть стойкими к раздавливанию усилием 98 кН (10т) в вертикальном и наклонном положениях и усилием 392 кН (40 т) - в горизонтальном положении.

7 Методы испытаний

7.1 Определение времени защитного действия при испытаниях на установке «Искусственные легкие»

Пример схемы динамической установки ИЛ приведен на рисунке А.1. Пример схемы психрометра приведен на рисунке Б.1.

7.1.1 Средства испытаний и вспомогательные устройства:

- установка ИЛ (рисунок А.1), обеспечивающая объемный расход ГДС до (70 ± 1) дм3/мин, температуру ГДС в линии выдоха (37 ± 0,5) °С, относительную влажность от 92 до 100 %, частоту пульсаций до (30 ± 1) мин-1 и состоящая из:

газового счетчика с относительной погрешностью не более ± 1,5 %,

расходомера с верхним пределом измерения 0,63 м3/ч и относительной погрешностью не более 2,5 %,

клапанной коробки,

газоанализатора диоксида углерода с пределами измерения от 0 до 5 % и погрешностью ± 2,5 %,

побудителя расхода, обеспечивающего расход ГДС до 3 дм3/мин;

терморегулирующего устройства, позволяющего поддерживать температуру (37 ± 0,5) °С,

электронагревателя,

термостата-увлажнителя (рисунок А.2),

холодильника (рисунок А.3), позволяющего охлаждать ГДС до комнатной температуры,

тройника (рисунок А.4),

психрометра (рисунок Б.1),

переходника для присоединения самоспасателей к установке ИЛ вместимостью не более 20 см3, изготовленного из материала с низкой теплопроводностью и имеющего штуцер для установки малоинерционного термоэлектрического преобразователя и штуцер для подключения тягонапоромера,

преобразователя термоэлектрического малоинерционного, например хромель-копелевого с диаметром электродов 0,2 мм и диаметром кожуха не более 1,6 мм,

вторичного прибора для измерения температуры с верхним пределом измерения до 100 °С и классом точности 0,25,

вторичного прибора для измерения температуры с верхним пределом измерения до 400 °С и классом точности 0,25,

дифманометра-тягонапоромера с верхним пределом измерения 3 кПа и классом точности не ниже 2,5,

сборника конденсата,

вспомогательного насоса, обеспечивающего объемный расход ГДС до (3 ± 0,06) дм3/мин и частоту пульсаций до (30 ± 1) мин-1,

газоанализатора кислорода с пределами измерения от 0 до 100 % и погрешностью ± 2 %,

основного насоса, обеспечивающего объемный расход ГДС до (70 ±1) дм3/мин и частоту пульсаций до (30 ± 1) мин-1,

антивозвратного клапана;

- термокамера, обеспечивающая создание и поддержание температуры воздуха от минус (20 ± 2) до плюс (40 ± 2) °С;

- секундомер с ценой деления 0,2 с.

7.1.2 Порядок подготовки к проведению испытания ГДС в линии выдоха установки ИЛ доводят до температуры (37 ± 0,5) °С и относительной влажности от 92 до 100 %.

На установке ИЛ создают режимы испытаний соответственно:

- для определения номинального ВЗД и ВЗД при температурах окружающей среды минус 20 и плюс 40 °С: объемный расход ГДС Q37ГДС - 35 дм3/мин, объемный расход диоксида углерода  - 1,4 дм3/мин, частота пульсаций n - 20 мин-1;

- для определения ВЗД при легочной вентиляции 70 дм3/мин - объемный расход ГДС  - 70 дм3/мин, объемный расход диоксида углерода - 2,8 дм3/мин, частота пульсаций п - 30 мин-1.

Примечание - Объемные расходы даны для температуры 37 °С, относительной влажности 100 % и реального атмосферного давления.

Для настройки установки ИЛ на заданный режим испытаний объемный расход ГДС (объем легочной вентиляции), , дм3/мин, и объемный расход диоксида углерода, , дм3/мин, приводят к температуре и влажности воздуха в помещении по формулам:

,                                              (1)

,                                                        (2)

где -      объемный расход ГДС на выходе из установки ИЛ при температуре 37 °С и влажности 100 %, дм3/мин;

 -  объемный расход диоксида углерода на выходе из установки ИЛ при температуре 37 °С 2 и влажности 100 %, дм3/мин;

Р -    давление атмосферы, мм. рт. ст.;

Рs -   давление насыщенных паров воды при t, мм рт. ст.;

tk -    температура в производственном помещении, где находится установка ИЛ, °С;

47 мм рт. ст. - давление насыщенных паров воды при 37 °С;

37 °С -  температура ГДС на выдохе установки ИЛ.

Значение при настройке на режим испытаний создают установкой соответствующих значений единичного дыхательного объема и частоты дыхания.

Единичный дыхательный объем qk, дм3, на который настраивают установку ИЛ, рассчитывают по формуле

,                                                                  (3)

где п - частота пульсаций, мин-1.

При правильной установке значений легочной вентиляции и объемного расхода диоксида углерода измеренное начальное значение объемной доли диоксида углерода на выдохе должно составлять (4 ± 0,2) %.

Самоспасатели присоединяют к выходному патрубку тройника установки ИЛ с помощью переходника.

Присоединение самоспасателей к установке ИЛ может осуществляться другим способом, указанным в нормативном документе на конкретный самоспасатель.

При испытаниях при температурах минус 20 и плюс 40 °С самоспасатели выдерживают в термокамере при этих температурах не менее 4 ч.

7.1.3 Порядок проведения испытания

7.1.3.1 В процессе испытаний контролируют следующие параметры установки ИЛ:

- температуру и влажность выдыхаемой ГДС;

- объемную долю диоксида углерода на выдохе;

- объем поданного диоксида углерода;

- объем отсасываемой ГДС.

7.1.3.2 При проведении испытания самоспасатель включают в систему работающей установки ИЛ, одновременно приводят в действие пусковое устройство самоспасателя и включают секундомер, фиксирующий начало испытаний. При определении номинального ВЗД контролируют следующие параметры самоспасателя:

- сопротивление дыханию на вдохе и выдохе;

- объемную долю диоксида углерода на вдохе;

- объемную долю кислорода на вдохе;

- температуру ГДС на вдохе;

- температуру поверхности самоспасателя, контактирующей с пользователем.

7.1.3.3 При определении ВЗД при легочной вентиляции 70 дм3/мин контролируют следующие параметры самоспасателя:

- сопротивление дыханию на вдохе и выдохе;

- объемную долю диоксида углерода на вдохе;

- объемную долю кислорода на вдохе;

- максимальную температуру поверхности самоспасателя.

7.1.3.4 При определении ВЗД при температурах минус 20 и плюс 40 °С контролируют следующие параметры самоспасателя:

- сопротивление дыханию на вдохе и выдохе;

- объемную долю диоксида углерода на вдохе;

- объемную долю кислорода на вдохе.

Самоспасатели в процессе испытаний должны находиться в термокамере при температурах минус (20 ± 2) и плюс (40 ± 2) °С, а установка ИЛ - вне камеры при комнатной температуре.

7.1.3.5 Запись контролируемых параметров осуществляют ежеминутно в первые 5 мин, а при температуре минус 20 °С - в первые 10 мин работы самоспасателя, затем через каждые 2-5 мин.

7.1.3.6 Испытания прекращают при достижении заданного ВЗД или если значения контролируемых параметров превысят установленные требования.

7.1.4 Правила обработки результатов испытаний

Испытания по определению ВЗД проводят на трех самоспасателях. За результат принимают наименьшее полученное значение ВЗД. При обработке результатов испытания определяют фактическое время защитного действия в минутах.

7.2 Определение объемной доли диоксида углерода, средней объемной доли диоксида углерода и объемной доли кислорода при испытаниях на установке «Искусственные легкие»

7.2.1 Средства испытаний и вспомогательные устройства по 7.1.1.

7.2.2 Объемную долю диоксида углерода и объемную долю кислорода определяют при проведении испытаний самоспасателей на номинальное ВЗД, ВЗД при легочной вентиляции 70 дм3/мин, ВЗД при температурах минус 20 и плюс 40 °С.

7.2.3 Объемные доли диоксида углерода и кислорода на вдохе определяют прямым анализом по газоанализаторам диоксида углерода и кислорода отобранной вспомогательным насосом пробы.

7.2.4 Среднее значение объемной доли диоксида углерода Сср, %, рассчитывают по формуле

,                                                   (4)

где Сi, Сi + 1 - начальное и конечное значения объемных долей диоксида углерода на вдохе в рассчитываемом временном интервале, %;

т - число испытаний;

tm - продолжительность i-го временного интервала, мин.

Количество интервалов и их продолжительность определяют в соответствии с 7.1.3.5.

7.2.5 За результат принимают максимальное значение объемной доли диоксида углерода и минимальное значение объемной доли кислорода, полученные за заданное ВЗД.

7.3 Определение температуры газовой дыхательной смеси на вдохе при испытании на установке «Искусственные легкие»

7.3.1 Средства испытаний и вспомогательные устройства по 7.1.1.

7.3.2 Температуру ГДС на вдохе определяют при проведении испытаний самоспасателя на номинальное ВЗД.

7.3.3 При определении температуры ГДС на вдохе термоэлектрический преобразователь устанавливают в штуцере тройника (рисунок А.4) таким образом, чтобы его конец находился приблизительно в середине потока ГДС.

За результат принимают максимальные значения температуры, полученные за заданное ВЗД.

7.4 Определение сопротивления дыханию на вдохе и выдохе при испытаниях на установке «Искусственные легкие»

7.4.1 Средства испытаний и вспомогательные устройства по 7.1.1.

7.4.2 Сопротивление дыханию на вдохе и выдохе определяют при проведении испытаний самоспасателей на номинальное ВЗД, ВЗД при легочной вентиляции 70 дм3/мин, ВЗД при температурах минус 20 и плюс 40 °С.

7.4.3 Дифманометр-тягонапоромер подключают к штуцеру тройника (рисунок А.4). За результат принимают максимальное значение сопротивления, полученное за заданное ВЗД.

7.5 Определение времени защитного действия самоспасателей на испытателях при выполнении дозированной физической нагрузки при температурах плюс 20 и минус 20 °С и в состоянии покоя

7.5.1 Средства испытаний и вспомогательные устройства

- движущаяся дорожка с меняющимися скоростями движения ленты до 8 км/ч и углом подъема до 20°;

- термокамера вместимостью не менее 4 м3, обеспечивающая создание и поддержание температуры воздуха от минус (20 ± 2) до плюс (20 ± 5) °С и визуальное наблюдение за испытателями, снабженная переговорным устройством;

- преобразователь термоэлектрический малоинерционный, например хромель-копелевый с диаметром электродов 0,2 мм;

- вторичный прибор для измерения температуры с верхним пределом измерения 100 °С и классом точности 0,25;

- дифманометр-тягонапоромер с верхним пределом измерения 300 мм вод. ст. (2,9 кПа) и классом точности не ниже 2,5;

- секундомер с ценой деления 0,2 с;

- газоанализатор диоксида углерода с пределами измерения от 0 до 5 % и погрешностью ± 2,5 %;

- газоанализатор кислорода с пределами измерения от 0 до 100 % и погрешностью ± 2 %;

- устройство любой конструкции для пропорционального отбора пробы ГДС, обеспечивающее погрешность определения объемных долей диоксида углерода и кислорода ± 5 % относительных;

- побудитель расхода, обеспечивающий расход ГДС до 3 дм3/мин;

- переходник вместимостью не более 20 см3, изготовленный из материала с низкой теплопроводностью;

- ступени высотой 0,2 м;

- метроном или любое устройство, обеспечивающее подачу до 140 звуковых сигналов в минуту через равные промежутки времени.

7.5.2 Порядок подготовки к проведению испытаний

К испытаниям допускают испытателей-добровольцев, имеющих регулярный практический опыт в использовании изолирующих дыхательных аппаратов, медицинское свидетельство о состоянии здоровья и допущенных к испытаниям врачом, а также изучивших руководство по применению самоспасателя.

Перед испытаниями испытателей подвергают медицинскому осмотру, измеряют температуру тела, частоту пульса, частоту дыхания, артериальное давление, массу.

При испытаниях при положительных температурах испытатель должен быть одет в хлопчатобумажную рабочую одежду.

Самоспасатель готовят к проведению испытаний (устанавливают штуцеры в лицевую часть или ДМ и, при необходимости, переходник для подключения приборов).

Испытатели должны включиться в самоспасатель в соответствии с руководством по эксплуатации, после чего им создают физическую нагрузку путем выполнения дозированной физической работы на эргометрических приборах, или они находятся в состоянии покоя.

Перед испытаниями при температуре минус 20 °С самоспасатели выдерживают при этой температуре не менее 4 ч.

7.5.3 Порядок проведения испытаний

7.5.3.1 Испытания по определению ВЗД при температуре (20 ± 5) °С для самоспасателей с номинальным ВЗД до 30 мин включительно проводят в соответствии с таблицей 2, свыше 30 мин - в соответствии с таблицей 3, при температуре минус (20 +2) °С - в соответствии с таблицей 4.

Испытания проводят под контролем врача.

Таблица 2 - Нагрузка для самоспасателей с ВЗД не выше 30 мин включительно

Наименование упражнения

Продолжительность упражнения

1 Равномерная ходьба по горизонтальной движущейся дорожке со скоростью 8 км/ч

1 мин

2 Равномерная ходьба по движущейся дорожке с наклоном 20° со скоростью 2,4 км/ч

30 % номинального ВЗД

3 Равномерная ходьба по горизонтальной движущейся дорожке со скоростью 5,6 км/ч

До конца испытаний

Примечание - Допускается в течение всего испытания использовать равномерную ходьбу по горизонтальной движущейся дорожке со скоростью 5,6 км/ч.

Таблица 3 - Нагрузка для самоспасателей с ВЗД более 30 мин

Наименование упражнения

Продолжительность упражнения

1 Равномерная ходьба по горизонтальной движущейся дорожке со скоростью 8 км/ч

1 мин

2 Равномерная ходьба по горизонтальной движущейся дорожке со скоростью 3,3 км/ч

4 мин

3 Равномерная ходьба по движущейся дорожке с наклоном 20° со скоростью 2,4 км/ч

10 мин

4 Равномерная ходьба по движущейся дорожке с наклоном 10° со скоростью 3,6 км/ч

10 мин

5 Подъем и спуск на ступени высотой 0,2 м в ритме 30 циклов/мин

5 мин

6 Равномерная ходьба по горизонтальной движущейся дорожке со скоростью 5,6 км/ч

До конца испытаний

Примечание - Допускается в течение всего испытания использовать равномерную ходьбу по горизонтальной движущейся дорожке со скоростью 5,6 км/ч.

Таблица 4 - Нагрузка при испытаниях при температуре минус (20 ± 2) °С

Наименование упражнения

Продолжительность упражнения

1 Нахождение в состоянии покоя во включенном самоспасателе

1 мин

2 Равномерная ходьба по горизонтальной движущейся дорожке со скоростью 5,6 км/ч или ходьба на месте со скоростью 140 шагов/мин

До конца испытаний

7.5.3.2 Испытания в состоянии покоя проводят при температуре (20 ± 5) °С. В течение всего времени испытания испытатель должен удобно сидеть. Самоспасатель должен быть расположен так, чтобы испытатель не ощущал его массы.

7.5.3.3 Заданную физическую нагрузку испытатели выполняют в термокамере при температуре минус (20 ± 2) °С. В термокамере с испытателем должен находиться сопровождающий, к которому предъявляют те же требования, что и к испытателю.

7.5.3.4 В процессе определения ВЗД контролируют следующие параметры:

- объемные доли диоксида углерода и кислорода - каждую минуту с момента включения самоспасателя до 5 мин, при испытаниях на отрицательной температуре - до 10 мин, затем каждые 2-5 мин до конца испытаний, при испытаниях в покое - каждые 10 мин;

- температуру ГДС и сопротивление дыханию - каждые 5 мин.

7.5.3.5 Испытания прекращают при достижении заданного ВЗД или если значения контролируемых параметров превысят установленные требования, или если испытатель по какой-либо причине не может продолжить испытание.

7.5.4 Обработка результатов испытаний

7.5.4.1 Испытания по определению ВЗД проводят на двух самоспасателях. За результат принимают наименьшее полученное значение ВЗД.

7.5.4.2 По окончании испытаний проводят медицинское обследование испытателей: измеряют частоту пульса и дыхания, температуру тела, артериальное давление. Затем проводят опрос испытателя по показателям: самочувствие, степень усталости, условия дыхания в самоспасателе (наличие неприятного запаха или вкуса, ощущение сопротивления дыханию, сухость и температура вдыхаемого воздуха, удобство пользования аппаратом, общая оценка самоспасателя).

7.6 Определение объемной доли диоксида углерода и кислорода при выполнении испытателем дозированной физической нагрузки и в состоянии покоя

7.6.1 Средства испытаний и вспомогательные устройства по 7.5.1.

7.6.2 Определение объемной доли диоксида углерода и кислорода проводят в процессе испытаний самоспасателя на ВЗД при температурах плюс 20 и минус 20 °С и при испытаниях в состоянии покоя.

7.6.3 Определение объемной доли диоксида углерода и кислорода на вдохе проводят по ГОСТ Р 12.4.189.

7.6.4 При определении объемных долей диоксида углерода и кислорода в ДМ самоспасателя перед испытаниями в него устанавливают штуцеры для отсоса и возврата ГДС.

При испытаниях самоспасателей при отрицательной температуре объемные доли кислорода и диоксида углерода определяют только в ДМ.

7.6.5 За результат принимают максимальное значение объемной доли углерода и минимальное значение объемной доли кислорода, полученные за заданное ВЗД.

7.7 Определение температуры газовой испытательной смеси на вдохе и сопротивления дыханию при выполнении испытателем дозированной физической нагрузки и в состоянии покоя

7.7.1 Средства испытаний и вспомогательные устройства по 7.5.1.

7.7.2 Температуру ГДС на входе определяют в процессе проведения испытаний самоспасателя на ВЗД при выполнении испытателем дозированной физической нагрузки при температуре 20 °С, сопротивление дыханию - при выполнении испытателем дозированной физической нагрузки при температурах плюс 20 и минус 20 °С и в состоянии покоя.

7.7.3 Для измерения температуры ГДС и сопротивления дыханию в самоспасателе с загубником непосредственно перед лицевой частью в месте смешения потоков вдоха и выдоха устанавливают штуцеры для термоэлектрического преобразователя и соединения с тягонапорометром.

В самоспасателях с другими лицевыми частями, кроме загубников, штуцеры для контроля сопротивления дыханию и температуры ГДС устанавливают непосредственно в лицевой части. Конец термоэлектрического преобразователя, установленного в штуцере, должен находиться в месте смешения потоков вдоха и выдоха.

7.7.4 За результат принимают наибольшее значение по каждому показателю, полученное за заданное ВЗД.

7.8 Определение продолжительности включения в самоспасатель, удобства вскрытия футляра и включения в самоспасатель, переносимости температуры поверхности самоспасателя

7.8.1 Продолжительность включения в самоспасатель определяют с помощью секундомера с ценой деления 0,2 с. Перед испытаниями испытателя знакомят с правилами вскрытия и включения в самоспасатель. При испытаниях самоспасатель находится на испытателе в походном положении, а испытатель - в положении стоя. Испытатели должны включиться в самоспасатель (надеть лицевую часть и запустить самоспасатель) без посторонней помощи. Испытывают не менее трех образцов.

7.8.2 По окончании испытания испытатель должен оценить удобство вскрытия и включения в самоспасатель как «удовлетворительное» или «неудовлетворительное», переносимость им температуры поверхности самоспасателя, обращенной к телу, а также надежность крепления очков и возможность случайного вскрывания в процессе ношения.

7.9 Проверка герметичности самоспасателей

7.9.1 Средства испытаний и вспомогательные устройства

- герметично закрывающаяся камера, снабженная манометром;

- манометр с пределом измерения 5880 Па (600 мм вод. ст.) и абсолютной погрешностью не более 19,6 Па (2 мм вод. ст.);

- набор вкладышей.

7.9.2 Порядок подготовки к проведению испытаний

Подбирают и устанавливают в камеру вкладыши таким образом, чтобы после помещения в нее самоспасателя свободный объем камеры не превышал объем самоспасателя более чем на 35 %.

7.9.3 Порядок проведения испытания

Испытания проводят при температуре окружающего воздуха от 15 до 35 °С.

Самоспасатель помещают в камеру и создают в ней давление (4900 ± 196) Па [(500 ± 20) мм вод. ст.].

Количество проверяемых на герметичность самоспасателей - в соответствии с нормативным документом на самоспасатель конкретного вида.

Результат считают положительным, если скорость падения давления соответствует нормативам, установленным в нормативном документе на самоспасатель конкретного вида.

1 - баллон с пропаном; 2, 6 - клапаны; 3 - регулятор давления; 4 - манометр; 5 - пламегаситель; 7 - пламя; 8 - штатив; 9 - экран; 10 - горелка; 11 - привод с регулятором скорости вращения

Рисунок 1 - Схема установки для испытаний на воспламеняемость

7.10 Испытания на воспламеняемость

7.10.1 Средства испытаний и вспомогательные устройства:

- установка (рисунок 1), состоящая из:

штатива с приводом, позволяющим регулировать скорость вращения до 100 мм/с,

пропанового баллона с регулятором давления и манометром,

пропановой горелки с регулятором высоты пламени,

термоэлектрического преобразователя любой конструкции,

вторичного прибора для измерения температуры с верхним пределом измерения до 900 °С и классом точности 0,5,

экрана для равномерного горения пламени;

- секундомер с ценой деления 0,2 с.

7.10.2 Порядок подготовки и проведения испытания

7.10.2.1 Самоспасатель осторожно вскрывают, чтобы не сработало пусковое устройство, и устанавливают в рамке на штативе таким образом, чтобы испытуемая часть самоспасателя находилась на расстоянии 20 мм от верхнего края горелки. Температура пламени на высоте 20 мм от верхнего края горелки в зоне испытания - 750-850 °С, общая высота пламени - 40 мм. Скорость вращения самоспасателя должна быть отрегулирована и составлять 55-65 мм/с. Каждую часть самоспасателя пропускают через пламя горелки только один раз.

7.10.2.2. Испытывают не менее двух самоспасателей.

Части самоспасателя считаются стойкими к воздействию пламени, если при прохождении через пламя они не оплавляются, не горят или горение прекращается не более чем через 5 с после удаления из пламени. Самоспасатели после испытания должны сохранять герметичность.

7.11 Испытания на стойкость к климатическим воздействиям

7.11.1 Самоспасатели в упаковке помещают в климатическую камеру, позволяющую создавать и поддерживать температуру от минус 45 до плюс 55 °С. В камере устанавливают режимы температуры и влажности в следующей последовательности:

- понижают температуру в камере до минус (40 ± 2) °С и выдерживают самоспасатели при этой температуре в течение 20 ч. Относительная влажность не нормируется;

- повышают температуру в камере до (50 ± 2) °С и выдерживают самоспасатели при этой температуре в течение 36 ч, после чего понижают температуру до (20 ± 2) °С и выдерживают самоспасатели 4 ч. Относительная влажность не нормируется;

- понижают температуру в камере до минус (15 ± 2) °С и выдерживают самоспасатели при этой температуре не менее 2 ч, затем повышают температуру до (15 ± 2) °С и одновременно доводят относительную влажность воздуха до (95 ± 3) %. Выдерживают самоспасатели еще 2 ч. Цикл повторяют пять раз;

- повышают температуру в камере до (40 ± 2) °С и выдерживают самоспасатели 4 ч при ненормируемой влажности, после чего повышают относительную влажность воздуха до (95 ± 3) % и выдерживают самоспасатели при заданных значениях температуры и влажности еще 120 ч.

По истечении указанного времени отключают обогрев и выдерживают самоспасатели в камере еще 10 ч.

Скорость изменения температуры и влажности не нормируется.

7.11.2 Испытывают не менее трех самоспасателей.

7.11.3 Самоспасатели считают выдержавшими климатические испытания, если при визуальном осмотре защитные покрытия, резиновые детали и ремни находятся в удовлетворительном состоянии, не обнаружено коррозии металлических поверхностей, самоспасатели герметичны и выдержали испытания по номинальному ВЗД.

7.12 Испытания на стойкость к механическим воздействиям

7.12.1 Испытания на стойкость к транспортным нагрузкам

Испытания проводят на ударном стенде, позволяющем воспроизводить серию ударов с пиковым ударным ускорением 98-147 м/с2, длительностью действия ударного ускорения 2-20 мс и частотой ударов 40-120 мин-1.

Самоспасатели в упаковке жестко крепят на платформе ударного стенда в положении, соответствующем их установке на транспортном средстве, после чего подвергают нагрузке, соответствующей средним условиям транспортирования с креплением упаковки с самоспасателями к кузову транспортного средства, в соответствии с таблицей 5.

Таблица 5 - Режимы испытаний на стойкость к транспортным нагрузкам

Масса упаковки с самоспасателями, кг

Пиковое ударное ускорение, м/с2

Длительность действия ударного ускорения, мс

Количество ударов

До 200

147

5-20

2000

98

5-20

8800

Примечания:

1 Количество ударов в минуту - от 40 до 120.

2 Допускаются перерывы в испытаниях при условии сохранения общего количества ударов.

7.12.2 Испытания на удар при падении

Самоспасатель подвергают троекратному падению с высоты 1,5 м на бетонный пол в различных положениях:

- горизонтально на боковую поверхность - один раз;

- вертикально на дно - один раз;

- вертикально на крышку - один раз.

7.12.3 Испытаниям по 7.12.1, 7.12.2 подвергают не менее трех самоспасателей. После испытаний самоспасатели должны соответствовать 5.1.9, 5.3.6 и 5.3.8.

7.12.4 Испытания самоспасателей на раздавливание

7.12.4.1 Испытания проводят медленным раздавливанием самоспасателей на гидравлическом прессе в трех положениях:

- в вертикальном и наклонном (по диагонали самоспасателя) - с усилием 98 кН (10 т);

- в горизонтальном - с усилием 392 кН (40 т).

Для испытаний отбирают три самоспасателя, каждый из которых подвергают раздавливанию в одном из указанных положений.

7.12.4.2 После испытаний не должно наблюдаться высыпание регенеративного продукта из самоспасателей.

7.13 Испытания на соответствие конструктивным требованиям

7.13.1 Соответствие самоспасателей требованиям 5.3.2, 5.3.4, 5.3.5 проверяют визуально.

7.13.2 Массу самоспасателей определяют взвешиванием на весах с погрешностью ± 5 г.

7.13.3 Определение усилия вскрытия самоспасателей и прочности соединения элементов воздуховодной системы

7.13.3.1 Усилие вскрытия самоспасателя определяют воздействием груза массой 20 кг.

Груз, лежащий на какой-либо площадке, прикрепляют шнуром к устройству для вскрытия самоспасателя.

Самоспасатель держат за корпус и медленно, без рывков поднимают вверх до отрыва груза от площадки. Проводят не менее двух испытаний. Результат считают положительным, если под действием груза произошло вскрытие самоспасателя.

7.13.3.2 Прочность соединения элементов воздуховодной системы самоспасателя проверяют воздействием груза массой 10 кг. После вскрытия самоспасателя элементы воздуховодной системы, подлежащие проверке, прикрепляют шнуром к грузу массой 10 кг, лежащему на площадке, и медленно, без рывков поднимают вверх до отрыва груза от пола.

Проводят не менее двух испытаний.

После испытаний самоспасатели должны соответствовать 5.3.8.

7.13.4 Определение наличия пыли регенеративного продукта в воздуховодной системе самоспасателя

7.13.4.1 Средства испытаний и вспомогательные устройства:

- установка (рисунок 2), состоящая из:

расходомера с верхним пределом измерения объемного расхода воздуха 4,0 м3/ч и погрешностью не более 2,5 %,

1 - регулирующий вентиль; 2 - расходомер; 3 - присоединительное устройство; 4 - регенеративный патрон РП; 5 - ватный тампон

Рисунок 2 - Схема установки для определения наличия пыли регенеративного продукта

регулирующего вентиля, соединительных трубок с внутренним диаметром от 6,3 до 16 мм;

- гигроскопическая медицинская вата по ГОСТ 5556;

- 1 %-ный спиртовой раствор фенолфталеина по ГОСТ 25794.1;

- присоединительное устройство.

7.13.4.2 Порядок подготовки к проведению испытания

Демонтируют РП из самоспасателя.

Ватный тампон диаметром не менее диаметра патрубка РП смачивают в растворе фенолфталеина.

7.13.4.3 Порядок проведения испытания

Испытания проводят при температуре окружающего воздуха от 15 до 35 °С. Создают постоянный поток сухого воздуха с объемным расходом (60,0 ± 1,8) дм3/мин через РП в направлении вдоха в течение 5-7 с. Одновременно с началом продува РП располагают ватный тампон на расстоянии (2,5 ± 0,5) см от края патрубка патрона, через который ГДС при установке РП в самоспасатель направляется на вдох.

Положительным результатом испытания является отсутствие окраски на тампоне.

7.13.5 Определение герметичности воздуховодной системы

7.13.5.1 Средства испытаний и вспомогательные устройства:

- установка (рисунок 3), состоящая из:

регулирующего вентиля,

трехходового крана по ГОСТ 7995,

мановакуумметра с пределом измерения до 2450 Па (250 мм вод. ст.) и абсолютной погрешностью не более ± 19,6 Па (± 2 мм вод. ст.),

источника разрежения любого типа, позволяющего создать разрежение (980 ± 98) Па [(100 ± 10) мм вод. ст.],

соединительных трубок с внутренним диаметром от 6,3 до 16 мм;

- присоединительное устройство;

- приспособление для ограничения натяжения нити КИД.

7.13.5.2 Порядок подготовки и проведения испытания

С помощью присоединительного устройства присоединяют лицевую часть самоспасателя к установке, помещают ДМ в приспособление для ограничения натяжения нити КИД.

Создают в воздуховодной системе самоспасателя последовательно избыточное давление и разрежение (980 ± 98) Па [(100 ± 10) мм вод. ст.] и определяют значение падения давления.

Результат считают положительным, если в течение 60 с с момента установления требуемого давления или разрежения падение давления составляет не более 156 Па (16 мм вод. ст.), в противном случае воздуховодную систему считают негерметичной.

7.13.6 Определение сопротивления КИД

7.13.6.1 Средства испытаний и вспомогательные устройства:

- установка (рисунок 4), состоящая из:

регулирующего вентиля,

расходомера с верхним пределом измерения 0,1 м3/ч и относительной погрешностью не более ± 2,5 %,

1 - регулирующий вентиль; 2 - трехходовой кран; 3 - источник разрежения; 4 - присоединительное устройство; 5 - самоспасатель; 6 - ДМ; 7 - приспособление для ограничения натяжения нити КИД; 8 - КИД; 9 - мановакуумметр

Рисунок 3 - Схема установки для определения герметичности воздуховодной системы

1 - регулирующий вентиль; 2 - расходомер с верхним пределом измерения 0,1 дм3/мин; 3 - трехходовой кран; 4 - расходомер с верхним пределом измерения 4 дм3/мин; 5 - присоединительное устройство; 6 - ДМ; 7 - мановакуумметр

Рисунок 4 - Схема установки для определения сопротивления КИД

расходомера с верхним пределом измерения 4,0 м3/ч и относительной погрешностью не более ±2,5 %,

трехходового крана по ГОСТ 7995,

мановакуумметра с пределом измерения до 2450 Па (250 мм вод. ст.) и абсолютной погрешностью не более ± 19,6 Па (± 2 мм вод. ст.),

соединительных трубок с внутренним диаметром от 6,3 до 16 мм;

- присоединительное устройство.

7.13.6.2 Порядок подготовки и проведения испытания

Присоединяют самоспасатель к установке с помощью присоединительного устройства.

В воздуховодной системе самоспасателя со стороны лицевой части создают постоянный поток сухого воздуха с объемным расходом (60 ± 1,8) дм3/мин и измеряют разность давления на входе и выходе из системы. Затем создают поток сухого воздуха с объемным расходом (1,5 ± 0,12) дм3/мин и также измеряют разность давления.

Результат считают положительным, если при объемном расходе воздуха 60 дм3/мин сопротивление КИД не превышает 784 Па (80 мм вод. ст.), а при объемном расходе воздуха 1,5 дм3/мин сопротивление КИД находится в пределах от 98 до 441 Па (от 10 до 45 мм вод. ст.).

Допускается определять сопротивление КИД по методам, изложенным в нормативном документе на самоспасатель конкретного вида.

7.13.7 Определение рабочего объема ДМ

1 - регулирующий вентиль; 2 - газовый счетчик; 3 - расходомер; 4 - трехходовой кран; 5 - источник разрежения; 6 - присоединительное устройство; 7 - ДМ; 8 - мановакуумметр

Рисунок 5 - Схема установки для определения рабочего объема ДМ

7.13.7.1 Средства испытаний и вспомогательные устройства:

- установка (рисунок 5), состоящая из:

регулирующего вентиля, расходомера с верхним пределом измерения 0,1 м3/ч и относительной погрешностью не более ±2,5 %,

газового счетчика любой конструкции с относительной погрешностью не более 1 %,

трехходового крана по ГОСТ 7995, мановакуумметра с пределом измерения до 2450 Па (250 мм вод. ст.) и погрешностью не более ± 19,6 Па (± 2 мм вод. ст.),

источника разрежения любого типа, позволяющего создать разрежение (490 ± 19,6) Па [(50 ± 2) мм вод. ст.],

соединительных трубок с внутренним диаметром от 6,3 до 16 мм;

- присоединительное устройство;

- секундомер.

7.13.7.2 Порядок подготовки и проведения испытания

Демонтируют ДМ из самоспасателя и присоединяют его к установке с помощью присоединительного устройства.

Создают в ДМ разрежение 490 Па (50 мм вод. ст.), после чего в ДМ подают воздух с постоянным объемным расходом (1,5 ± 0,12) дм3/мин до момента открытия КИД, который определяют как момент стабилизации показаний мановакуумметра.

Рабочий объем ДМ Vраб, дм3, рассчитывают по формуле

Vраб = V1 - V2,                                                            (5)

где V1 - показания газосчетчика в момент открытия КИД, дм3;

V2 - показания газосчетчика в момент достижения разрежения 490 Па (50 мм вод. ст.), дм3.

Допускается определять рабочий объем ДМ Vраб, дм3, по формуле

Vраб = 1,5 t,                                                               (6)

где 1,5 - объемный расход воздуха, дм3/мин;

t - время от момента подачи воздуха в ДМ до момента стабилизации показаний мановакуумметра, мин.

За результат принимают среднее из трех параллельных определений.

ПРИЛОЖЕНИЕ А
(рекомендуемое)

Описание динамической установки «Искусственные легкие»

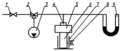
Схема динамической установки ИЛ показана на рисунке А.1.

Заданный режим дыхания в процессе испытания самоспасателей обеспечивается основным насосом сильфонного, мембранного или поршневого типа, создающим пульсирующий поток ГДС с изменением объемного расхода, близким к синусоидальному. С основным насосом соединены линии вдоха и выдоха и система подачи диоксида углерода. Линия выдоха включает в себя термостат-увлажнитель (рисунок А.2) и психрометр. Уровень воды в термостате-увлажнителе должен быть постоянным. Вода в термостате-увлажнителе нагревается электронагревателем, температура воды поддерживается постоянной с помощью терморегулирующего устройства. Регулированием температуры в термостате-увлажнителе создаются требуемые значения температуры и влажности ГДС. При этом разница показаний сухого и смоченного термометров психрометра должна находиться от 0,1 до 1 °С. На линии вдоха расположен водяной холодильник (рисунок А.3), регулировка которого осуществляется путем подачи воды таким образом, чтобы температура ГДС за холодильником отличалась от комнатной не более чем на 2 °С. Отвод конденсата из холодильника осуществляют в герметично присоединенный сборник конденсата. Линии вдоха и выдоха присоединяют к основному насосу через клапанную коробку. Система подачи диоксида углерода содержит баллон с редуктором, расходомер, счетчик газа и антивозвратный клапан.

Самоспасатели присоединяют к выходному патрубку тройника (рисунок А.4) установки ИЛ. Два других патрубка тройника соединяют с линиями вдоха и выдоха установки ИЛ.

Для контроля объемной доли диоксида углерода в ГДС на линии выдоха непосредственно на выходе из термостата-увлажнителя отбирают пробу, которая затем через газоанализатор диоксида углерода возвращается в линию выдоха перед входом в увлажнитель.

Установка ИЛ должна быть снабжена системой пропорционального отбора ГДС из линии вдоха (вспомогательным насосом), позволяющей анализировать объемную долю диоксида углерода и кислорода на вдохе. При этом ГДС, отсасываемую вспомогательным насосом, прокачивают через газоанализаторы диоксида углерода и кислорода, после чего пропускают через газосчетчик и сбрасывают в атмосферу. Сброс соответствует значению объема потребляемого кислорода, равного объему подаваемого в установку диоксида углерода. Отсос ГДС осуществляется из линии вдоха после холодильника.

1 - газовый счетчик диоксида углерода; 2 - расходомер диоксида углерода; 3 - клапанная коробка; 4 - газоанализатор диоксида углерода; 5 - побудитель расхода; 6 - терморегулирующее устройство; 7 - электронагреватель; 8 - психрометр; 9 - термостат-увлажнитель; 10 - тройник; 11 - переходник; 12 - термоэлектрический преобразователь; 13 - самоспасатель; 14 - вторичный прибор измерения температуры на вдохе; 15 - тягонапоромер; 16 - сборник конденсата; 17 - охлаждающие ребра; 18 - холодильник; 19 - вспомогательный насос; 20 - газоанализатор диоксида углерода; 21 - газоанализатор кислорода; 22 - газовый счетчик отсасываемой ГДС; 23 - основной насос; 24 - антивозвратный клапан

Рисунок А.1 - Схема динамической установки ИЛ

1 - штуцер, направленный к ИЛ; 2 - пополняющий резервуар; 3 - терморегулирующее устройство; 4 - штуцер, направленный к тройнику; 5 - электронагреватель

Рисунок А.2 - Схема термостата-увлажнителя

1 - штуцер, направленный к ИЛ; 2 - входное отверстие для охлаждающей воды; 3 - выходное отверстие для охлаждающей воды; 4 - штуцер, направленный к тройнику

Рисунок А.3 - Схема холодильника

1 - выходной патрубок тройника; 2 - патрубок, направленный к линии выдоха установки ИЛ; 3 - штуцер для установки термоэлектрического преобразователя; 4 - патрубок, направленный к линии вдоха установки ИЛ

Рисунок А.4 - Схема тройника

ПРИЛОЖЕНИЕ Б
(рекомендуемое)

Описание психрометра

Психрометр состоит из корпуса и двух термометров по ГОСТ 112. Допускается использование других термометров с ценой деления 0,1-0,2 °С и пределами измерения до 50 °С. Резервуар психрометра должен быть изготовлен из стекла или пластмассы в соответствии с рисунком Б.1.

При подготовке психрометра к работе в его резервуар заливают дистиллированную воду. Оборачивают полоской батиста ртутный резервуар второго по ходу потока ГДС термометра («смоченного»). Полоска батиста должна быть такой ширины, чтобы ртутный резервуар термометра был обернут примерно на полтора оборота. Предварительно батист необходимо прокипятить в дистиллированной воде в течение не менее 1 ч. Батист стягивают на резервуаре термометра так, чтобы он плотно прилегал к стеклу. При этом не следует слишком сильно перетягивать батист, чтобы не затруднить подачу влаги.

Смену батиста на «смоченном» термометре осуществляют не реже одного раза в месяц.

Батист, применяемый для обмотки ртутного резервуара «смоченного» термометра, должен обладать такой капиллярностью, при которой подача воды за (15 ± 1) мин достигает 70-80 мм.

Проверку капиллярности проводят следующим образом: берут кусочек батиста длиной 100-150 мм, помещают один конец в воду и через 15 мин определяют высоту подъема влаги.

Расстояние от нижнего конца «смоченного» термометра до поверхности воды в резервуаре психрометра не должно превышать 30-40 мм.

Рисунок Б.1 - Схема резервуара психрометра

Ключевые слова: средства индивидуальной защиты органов дыхания изолирующие, аппараты автономные с замкнутым контуром, аппараты с химически связанным кислородом, общие технические требования, методы испытаний



© 2013 Ёшкин Кот :-)