Информационная система
«Ёшкин Кот»

XXXecatmenu

ПРАВИТЕЛЬСТВО МОСКВЫ
МОСКОМАРХИТЕКТУРА
УПРАВЛЕНИЕ ЭКОНОМИЧЕСКОЙ, НАУЧНО-ТЕХНИЧЕСКОЙ
И ПРОМЫШЛЕННОЙ ПОЛИТИКИ В СТРОИТЕЛЬНОЙ ОТРАСЛИ

РЕКОМЕНДАЦИИ
по проектированию и монтажу
многослойных систем
наружного утепления
фасадов зданий

2001

Предисловие

1. Разработаны:

ГУ Городской координационный экспертно-научный центр "Энлаком"

инж. Усатова Т.А.,

инж. Калинин А.Ю.

ГУП НИИМосстрой д.т.н.

Белоусов Е.Д.,

инж. Магницкая Л.Н.

Консультанты:

инж. Лаковский Д.М.                        - ФЦС Госстроя России,

инж. Годунов С.А.                              - ЗАО "Инфокосмос,

инж. Олещенков В.Н.                         - Московское представительство Lacufa AG,

инж. Александров А.В.                      - Tex-Color RS,

д.т.н. Николаев С.В.,                          - ЦНИИЭП жилища (раздел "Альбом инж.

Ставровский Г.А.                                  типовых архитектурных деталей систем наружного утепления зданий").

2. Согласованы и утверждены Управлением экономической, научно-технической и промышленной политики в строительной отрасли (инж. Воронин А.И., д.т.н. Никонов Н.Н., д.т.н. Дмитриев А.Н.).

3. Подготовлены к утверждению и изданию Управлением перспективного проектирования и нормативов Москомархитектуры (архитектор Зобнин А.П., архитектор Ревкевич Л.П., инж. Шевяков И.Ю.).

4. Утверждены и введены в действие указанием Москомархитектуры от 12.04.2001 г. №21.

СОДЕРЖАНИЕ

1. Введение. 2

2. Общие требования. 2

3. Классификация многослойных систем наружного утепления зданий. 3

4. Тонкостенные системы наружной теплоизоляции зданий с жестким креплением к основанию (минеральные, силикатные, акриловые и силиконовые системы). 4

4.1. Технические требования, предъявляемые к основным материалам, входящим в теплоизоляционную систему. 4

4.2 Типовые узлы и детали. 8

4.3 Инструкция по применению.. 37

4.4 Типовой расчет количества дюбелей. 38

4.5 Технологическая карта производства работ. 40

4.6 Типовой теплотехнический расчет. 48

5. Толстостенные системы наружного утепления фасадов зданий с подвижным креплением к основанию «хантер стар» и «серпорок». 51

5.1. Типовые узлы и детали. 55

6. Альбом типовых архитектурных деталей систем наружного утепления зданий. 61

7. Типовые дефекты и способы их устранения. 70

7.1 Способы устранения дефектов, наиболее часто возникающих в процессе эксплуатации зданий с наружной теплоизоляцией стен. 71

7.2 Классификация дефектов. 72

8. Техника безопасности. 76

9. Литература. 77

1. ВВЕДЕНИЕ

Рекомендации по проектированию и монтажу многослойных систем наружного утепления зданий (типовые узлы и материалы) разработаны на основе Технических свидетельств ФЦС Госстроя РФ и согласованы с органами УГПС (органами противопожарной безопасности). Данные рекомендации разработаны в соответствии с распоряжением Правительства Москвы от 14 сентября 2000 г. № 38 и планом мероприятий, а так же от 1 марта 1999 г. № 151-РЗП утвержденным первым заместителем Премьера Правительства Москвы, Руководителем комплекса архитектуры, строительства, развития и реконструкции города В.И. Ресиным в целях повышения качества утепления и отделки фасадов зданий при осуществлении нового строительства и ремонте зданий в городе Москве.

Рекомендации направлены на реализацию Государственной целевой программы в области энергосбережения жилищного и коммунального строительства с целью снижения энергозатрат. Постановлением Минстроя РФ были ужесточены требования к термическому сопротивлению ограждающих конструкций зданий. Утвержденное этим Постановлением изменение № 4 к СНиП 11-3-79* изд. 1998г. "Строительная теплотехника" предусматривало поэтапное (по годам) увеличение вводимых в расчете показателей термического сопротивления сначала в 1,5 - 1,7 раза к 2000 г., затем в 3,0 - 3,5 раза с 2000 г.

Рекомендации позволяют решать следующие задачи:

Проектирование зданий и сооружений с применением многослойных систем наружного утепления зданий рекомендованных для применения в Москве, в том числе:

- классификация систем;

- требования, предъявляемые к материалам;

- теплотехнический расчет;

- расчет на ветровую нагрузку;

- привязку системы к зданию (типовые узлы);

- типовые архитектурные детали.

Монтажные работы в том числе;

- технологическую карту выполнения производства работ;

- инструкцию по применению.

Осуществлять входной и пооперационный контроль;

Эксплуатацию зданий, в том числе типовые причины возникновения дефектов и способы их устранения.

Рекомендации включают в себя два типа многослойных систем наружного утепления фасадов зданий:

- с подвижным креплением и толстостенным защитно-декоративным штукатурным слоем с толщиной базового защитного слоя от 20 мм. и выше («Термопальто» -Хантерстар (Россия), «Серпорок» (Финляндия)),

- с жестким креплением и тонкостенным защитно-декоративным штукатурным слоем с толщиной базового защитного декоративного слоя от 4,5 до 8 мм типа («Синтеко» (Россия), «Драйвит» (США), «ХЕКК-ТИСС» (Германия), «Текс-Колор» (Германия), «Капатект» Германия), «Альзекко» (Германия), «Испо» (Германия), «Сенерджи» (Россия), «Теплый дом» (Россия)), причем тонкостенные системы наружного утепления зданий подразделяются на следующие типы: минеральные и силикатные на основе минеральных связующих с акриловыми добавками до 4% по массе, а так же акриловые и силиконовые с акриловыми добавками свыше 5% по массе.

Данная разработка нормативно-технической базы документов позволит эффективно решать вопросы повышения качества производства работ за счет правильного проектирования, организации производства работ, осуществления пооперационного контроля за технологией монтажа систем, а также способствует повышению качественного уровня обучения рабочего персонала.

2. ОБЩИЕ ТРЕБОВАНИЯ

Выбор утеплителя и толщины его слоя определяется на основании теплотехнических расчетов, исходя из требований, предъявляемых к сопротивлению теплопередаче ограждающих конструкций здания с учетом климатических условий района строительства и требований противопожарных норм.

Выбор дюбелей и крепление плит утеплителя должно обеспечить восприятие системами вертикальных нагрузок от их собственного веса и горизонтальной нагрузки от отсоса, возникающего под воздействием ветрового давления на стену. Количество дюбелей на 1 м2 поверхности определяют расчетом, исходя из конкретных условий строительства, высоты здания, конструктивных решений, материала основания и других факторов.

Расчет дюбелей выполняется для двух зон: рядовой и крайней, прилегающей к углу, для которой значение ветрового давления принимают с учетом повышающего динамического коэффициента.

Системы могут применяться при плотности материала основания - не менее 600 кг/м3.

Выполнение любой системы теплоизоляции осуществляется по технологии и рекомендациям, разработанным изготовителем и предусматривает комплексную поставку всех ее элементов, в соответствии с нормативно-технической документацией, Техническим свидетельствам Госстроя РФ.

Рекомендуемая область применения теплоизоляционных систем на зданиях и сооружениях определяется Техническим свидетельством и в соответствии с разрешением органов УГПС РФ.

3. КЛАССИФИКАЦИЯ МНОГОСЛОЙНЫХ СИСТЕМ НАРУЖНОГО УТЕПЛЕНИЯ ЗДАНИЙ

Все рекомендованные и широко применяемые системы наружного утепления зданий классической компоновки подразделяются на два вида:

- с жестким креплением и тонкостенным защитно-декоративным штукатурным слоем толщиной базового защитного декоративного слоя от 4,5 до 8 мм;

- с подвижным креплением и толстостенным защитно-декоративным штукатурным слоем толщиной базового защитного декоративного слоя более 20 мм

(Хантер Стар, Серпорок).

МТИС с жестким креплением и тонкостенным защитно-декоративным штукатурным слоем подразделяются на следующие типы по применяемым в системах клеевым составам:

- минеральные и силикатные на основе минеральных связующих с акриловым добавками до 4% по массе.

Декоративные и клеевые составы минеральных систем характеризуются повышенной паропроницаемостью и могут применяться с использованием утеплителей и минераловатных плит и ПСБ-С-25Ф, имеют пониженную ударостойкость (воздействие механическим нагрузкам) по сравнению с акриловыми системами.

Составы поступают на стройплощадку в мешках и приготавливаются непосредственно перед применением путем смешивания сухих компонентов и воды.

Область применения минеральных систем:

с минераловатными плитами до 25 этажей (75 метров) вне зависимости от типа зданий (общественное, жилое и др.),

с ПСБ-С-25Ф до 12 этажей при толщине утеплителя 120 мм для жилых зданий, при применении в зданиях повышенной этажности или других типах необходимо дополнительное согласование с органами УГПС (противопожарной безопасности).

Все минеральные и силикатные системы материалов подлежат обязательной окраске после устройства декоративного слоя силикатными или другими высокопаропроницаемыми окрасочными составами;

- акриловые - со связующим на основе акриловых сополимеров с содержанием акрилов в готовом клеевом составе от 5 до 7% по массе. Клеевые составы на органическом связующем характеризуются повышенной ударостойкостью и эластичностью.

Эти составы поступают на строительную площадку в ведрах, где непосредственно перед применением готовится клей, путем смешивания клеевой массы и цемента в соотношении 1:1 с добавлением небольшого количества воды для получения рабочей консистенции раствора.

Область применения акриловых систем материалов:

- с минераловатными плитами до 25 этажей (75 метров) и типа зданий (общественное, жилое и др.);

- с ПСБ-С-25Ф до 9 этажей при толщине утеплителя 120 мм для жилых зданий, при применении в зданиях повышенной этажности или других типах необходимо дополнительное согласование с органами УГПС (противопожарной безопасности).

Могут применяться без дополнительной финишной окраски.

Силиконовые и силоксановые системы материалов на основе акриловых сополимеров модифицированных до 50% силиконом или силоксаном, с содержанием акрила в готовом к употреблению клее от 5 до 7 % по массе.

Силиконовые и силоксановые материалы характеризуются высокими физико-механическими и эксплуатационными показателями, так как обладают всеми положительными характеристиками минеральных и акриловых материалов, могут применяться без дополнительной финишной окраски.

Из-за высокой стоимости данные системы материалов не имеют широкого применения в Москве.

Особое внимание при выборе систем МТИС следует уделить на область их применения, указанную в Техническом свидетельстве.

При необходимости применения системы материалов наружного утепления с повышенными требованиями по пожаробезопасности наиболее предпочтительными являются минеральные и силикатные системы материалов с использованием утеплителя из минераловатных плит.

4. ТОНКОСТЕННЫЕ СИСТЕМЫ НАРУЖНОЙ ТЕПЛОИЗОЛЯЦИИ ЗДАНИЙ С ЖЕСТКИМ КРЕПЛЕНИЕМ К ОСНОВАНИЮ (МИНЕРАЛЬНЫЕ, СИЛИКАТНЫЕ, АКРИЛОВЫЕ И СИЛИКОНОВЫЕ СИСТЕМЫ).

К тонкостенным системам наружного утепления зданий имеющим Технические свидетельства ФЦС Госстроя РФ и прошедшие экспертизу в ГУ Центр «ЭНЛАКОМ» и ГУП «НИИМосстрой», рекомендованные для применения в Москве относятся следующие системы;

× система «Синтеко» (Россия);

× система «Текс-Колор» (Германия);

× система «Капатект» Германия);

× система «Альзекко» (Германия);

× система «Испо» (Германия);

× система «Сенерджи» (Россия);

× система «Теплый дом» (Россия)

и другие.

4.1. Технические требования, предъявляемые к основным материалам, входящим в теплоизоляционную систему

Настоящие требования распространяются на следующие материалы:

- плиты минераловатные;

- дюбели;

- сетки армирующие;

- клеевые составы и клеевые составы для базового армирующего слоя;

- грунтовочно-армирующий состав "Интеко-И";

- окрасочные составы "Интеко-И" и "Интеко-З";

- декоративные наполненные составы (штукатурки);

Основные нормативные документы на методы испытаний

Таблица 4.1

Наименование материала и изделия

Нормативные документы на методы испытаний

Грунтовка (пропитывающий состав)

ГОСТ 9980.2-86, ГОСТ 683, ГОСТ 19007-73*, ГОСТ 9.403-80*, ГОСТ 17537-72*, ГОСТ 8420-74

Клеевой состав (базовый слой) выравнивающий слой

ГОСТ 8735-88, ГОСТ 22688-84, ГОСТ 5802-86, ГОСТ 24064-80, DIN 52б15

Армирующие сетки базовые, запаковочные, панцирные

ГОСТ 6943.17-94, ГОСТ 6943.16-94, ГОСТ 6943.15-94, ГОСТ 6943.8-79, ГОСТ 6943.18-94, ГОСТ 6943.10-79

Фактурный декоративный окрасочный состав "Интеко-У" и декоративные штукатурки

ГОСТ 9980.1-86*, ГОСТ 9980.2-86*, ГОСТ 683, ГОСТ 15240-78, ГОСТ 16523-70, ГОСТ 597, ГОСТ 5802-86*, ГОСТ 19007-73*, ГОСТ 21903-75*, ГОСТ 9.403-80*, ГОСТ 17537-72*, ГОСТ 84-74, ГОСТ 28196-89, ГОСТ 8784-75

Технические требования к пенополистирольным плитам марки ПСБ-С 25Ф

Таблица 4.2

Наименование показателя

Требуемое значение

Плотность готового раствора, кг/см3

15,1-17,2

Прочность на сжатие при 10% линейной деформации, МПа, не менее

0,10

Предел прочности при изгибе, МПа, не менее

0,16

Теплопроводность в сухом состоянии при 25±5°С, Вт (мК), не более

0,038

Время самостоятельного горения плит типа ПСБ-С 25Ф, с, не более

1

Влажность плит, отгружаемых потребителю, %, не более

12

Водопоглощение за 24 ч. % по объему, не более

2,0

Выдержка до раскроя, сут, не менее

14

Выдержка до монтажа системы, сут., не менее

30

Технические требования к минераловатным плитам типа "ФАСАД БАТТС"

Таблица 4.3

Наименование показателя

Требуемое значение

Плотность, к г/см3

145-180

Прочность на сжатие при 10% линейной деформации, МПа, не менее

0,045

Прочность на сжатие при 10% деформации после сорбционного увлажнения, МПа, не менее

0,035

Прочность на отрыв слоев, МПа, не менее

0,012

Теплопроводность, Вт (мК), не более

0,037

Влажность, % по массе, не более

1,0

Водопоглощение, % по объему за 2 ч. (по Британскому стандарту BS 2972, 1989г.), не более

1,0

Технические требования к дюбелю и его элементам

Таблица 4.4

Наименование показателя

Требуемое значение

Предел прочности полиэтилена втулки на растяжение, МПа, не менее

12,5

Предел прочности стального гвоздя на растяжение, МПа, не менее

540

Морозостойкость, циклы

не менее 75

Климатические испытания, циклы

не менее 100

Химическая стойкость:

втулки

внешний вид без изменений

гвозди

следы коррозии отсутствуют

Технические требования к составу для приклеивания утеплителя

Таблица 4.5

Наименование показателя

Требуемое значение

Плотность готового раствора, г/см3

1,40-1,90

Влажность сухого клея, %, не более

0,1

Прочность сцепления (адгезионная прочность), МПа, через 72 ч, не менее чем

0,6

Прочность сцепления (адгезионная прочность), МПа, через 28 сут. не менее чем

0,75

Прочность на сжатие, МПа, не менее

7,5

Морозостойкость, число циклов, не менее

50

Зерновой состав, мм

до 0,63

Паропроницаемость, мг/м ч Па,. не менее

0,1

Линейная усадка, %

0,5

Технические требования к армирующей сетке

Таблица 4.6

Наименование показателя

Требуемое значение

5´5

5´5

усиленная

панцирная

Угловая

Количество нитей на длине 100 мм;

 

 

 

 

- основа

21

21

31

58

- уток

22

22

1

14

Содержание пропиточного состава. %

18

20

18

19

Масса на единицу площади г/м

160

180

340

330

Разрывная нагрузка, Н/5 см, не менее:

 

 

 

 

- основа

1372

2009

3136

-

- уток

1568

2009

1862

-

Разрывная нагрузка после 28 дней хранения в 5%-ом растворе КаОН при температуре 18-30 С, Н/5 см, не менее:

 

 

 

 

- основа

588

1004,5

1568

-

- уток

686

1004,5

931

-

Разрывная нагрузка после 28 дней хранения в водных составляющих цемента при температуре 18-30°С, Н/5 см, не менее:

 

 

 

 

- основа

588

882

1470

-

- уток

686

882

833

-

Разрывная нагрузка после 28 дней обработки дистиллированной водой, Н/5 см, не менее:

 

 

 

 

- основа

1176

1666

2842

-

- уток

1372

1666

1568

-

Технические требования к составу для базового армирующего слоя

Таблица 4.7

Наименование показателя

Требуемое значение

Плотность готового раствора, г/см3

1,30-1,95

Влажность смеси, %, не более

0,1

Прочность сцепления (адгезионная прочность), МПа, через 72 ч, не менее чем

0,6

Прочность сцепления (адгезионная прочность), МПа, через 28 сут. не менее чем

0,75

Прочность на сжатие, МПа, не менее

7,5

Морозостойкость, число циклов, не менее

75

Зерновой состав, мм

до 0,63

Паропроницаемость, мг/м ч Па, не менее

0,1

Линейная усадка, %

0,45

Технические требования к пропитке «ИНТЕКО-И"

Таблица 4.8

Наименование показателя

Требуемое значение

Внешний вид

После высыхания пропитка должна образовывать ровную пленку без оспин и посторонних включений

Цвет пленки

Согласно эталону

Доля нелетучих веществ, % по массе не менее

11,6

Условная вязкость при t(20±2)°С по ВЗ-246 с диаметром сопла 4 мм, (с), не менее

12

Время высыхания до степени 3 при t(20±2)°С, ч не более

0,5

Стойкость пленки к статическому воздействию при t(20±2)°С, не менее

24

Адгезия комплексного покрытия из пропитки "ИНТЕКО-И" и состава "ИНТЕКО-У", баллы, не более

2

Технические требования к составу для финишной окраски «Интеко-У»

Таблица 4.9

Наименование показателя

Требуемое значение

Цвет пленки

Согласно эталону

Внешний вид пленки

Матовая, однородная, шероховатая поверхность

Массовая доля нелетучих веществ, %, не более

75

Условная вязкость по ВЗ-246, не менее

60

Степень перетира, мкм, не более

80

Прочность сцепления с бетонной поверхностью, МПа, не менее

0,3

Адгезия покрытия, баллы, не более

2

Время высыхания при t(20±2)°C, ч, не более

 

- до степени 1

1

- полное

24

Укрывистость высушенной пленки, г/м2, не более

150

Смываемость пленки, г/м2, не более

3

Условная светостойкость, ч, не менее

24

Стойкость покрытия к статическому воздействию воды при температуре 20±2°С, ч, не менее

24

Стойкость покрытия к статическому воздействию 2,5% раствора щелочи при температуре 20±2°С, ч, не менее

24

Долговечность покрытия, циклы, не менее

100

Технические требования к уретановой мастике «ЭЛУР» (ЛТ-2)

Таблица 4.10

Наименование показателя

Требуемое значение

Цвет

Согласно эталону

Жизнеспособность при температуре 23±2°С, ч не менее

2

Условная прочность в момент разрыва, МПа (кгс/см2), не менее

0,170(1,7)

Относительное удлинение в момент разрыва на образцах, %, не менее

170

Характер разрушений

Когезионный

Сопротивление текучести, мм, не более

2

Максимально допустимая деформация в стыке, %, не более

25

Температурный интервал эксплуатации, °С

от -50 до +70

Срок эксплуатации, не менее, лет

10

Технические требования к прочности системы

Таблица 4.11

Наименование показателя

Требуемое значение

1 Прочность на сжатие, МПа, не менее

(клеящий состав № 51 или «Инфотерм-К», минераловатная плита «ФАСАД БАТТС», армирующая сетка ССК 5х5 и базовый армирующий состав «Инфотерм-Ш», окрасочный состав «Интеко-У» - 2 слоя, толщина защитного слоя - 8-10 мм.)

8,0

2. Прочность на сжатие, МПа, не менее

(клеящий состав № 51 или «Инфотерм-К», ПСБ-С 25Ф, армирующая сетка ССК 5х5 и базовый армирующий состав «Инфотерм-Ш», окрасочный состав «Интеко-У» - 2 слоя, толщина защитного слоя - 8-10 мм.)

8,3

3. Прочность на отрыв защитного слоя от ПСБ-С 25Ф, МПа, не менее

0,015

4. Прочность на отрыв защитного слоя от минераловатной плиты «ФАСАД БАТТС», МПа, не менее

0,012

Технические требования к паропроницаемости системы

Таблица 4.12

№№ пп

Наименование материала

Сопротивление паропроницанию, Кц, м Па/мг

Толщина материала, мм

Коэффициент паропроницаемости, мг/мчПа

по ГОСТ

требуемое значение

1

Клеящий состав

0,39

8-10

-

0,036

2

Выравнивающий состав

0,38

8-10

-

0,034

3

Базовый слой с водно-акриловым составом «Интеко-У»

0,41

8-10

-

0,032

4

Минераловатная плита типа «ФАСАД БАТТС»

0,13

63

0,49

0,50

5

ПСБ-С 25Ф

0,2

10

0,05

0,05

Технические данные по экструдированному полистиролу «Styrodur» для оснований

Таблица 4.13

Показатель

Ед. изм.

Стандарт

2500 С

2800 С

3035 С

4000 С

5000С

Плотность (не менее)

кг/м3

кг/м3

ГОСТ 17177-94

DIN EN 1602

25

25

30

30

33

33

35

35

45

45

Коэффициент теплопроводности в сухом состоянии

Вт/м К

ГОСТ 30290-94

0,029

0,029

0,029

0,030

0,030

Расчетные коэффициенты теплопроводности при

Вт/м К

ГОСТ 30290-94

 

 

 

 

 

А

 

 

0,031

0,031

0,031

0,031

0,031

Б

 

 

0,031

0,031

0,031

0,031

0,031

Линейный коэффициент теплового расширения

К-1

 

 

 

 

 

 

длина

 

 

8×10-6

8×10-6

8×10-6

8×10-6

8×10-6

ширина

 

 

6×10-6

6×10-6

6×10-6

6×10-6

6×10-6

Паропроницаемость

кг/м с Па

ГОСТ 25898-83

3,76×10-12

3,76×10-12

3,76×10-12

1,4×10-12

1,4×10-12

Водопоглощение через 24 часа

% по объему

ГОСТ 17177-94

0,13

0,13

0,13

0,07

0,07

Адгезия к бетону

N/mm2

DIN EN 1607

0,25-0,3

0,25-0,3

0,25-0,3

0,25-0,3

0,25-0,3

Прочность на сдвиг

N/mm2

DIN EN 12090

0,3

0,3

0,3

0,3

0,3

Прочность на сжатие при 10% линейной деформации (не менее)

МПа

ГОСТ 17177-94

0,20

0,25

0,25

0,5

0,7

N/mm2

DIN EN 826

0,20

0,25

0,25

0,5

0,7

Предел прочности при изгибе

МПа

ГОСТ 17177-94

0,54

0,53

0,51

0,55

0,59

Прочность на сжатие при длительных нагрузках (при 2% деформации через 50 лет)

N/mm2

DIN EN 1606

0,06

0,01

0,13

0,18

0,25

Допустимые напряжения сжатия при нагрузках от транспорта

N/mm2

 

-

0,13

0,13

0,23

0,3

Диапазон рабочих температур

°С

 

-180…+75

-180…+75

-180…+75

-180…+75

-180…+75

Горючесть

 

ГОСТ 30244.94

Группа горючести Г2 (умеренно горючий материал)

Расчетный срок службы

лет

 

120

120

120

120

120

Морозостойкость

 

 

Более 300 циклов замораживания/оттаивания

4.2 Типовые узлы и детали

Любая теплоизоляционная система на мокрых процессах выполняется посредством нанесения элементных слоев на основу фасада (стены, простенки, цоколь и т.д.) и последовательного крепления их между собой к поверхности основы с помощью высокоадгезионных полимерминеральных клеев и механических приспособлений.

Поэлементные слои приведены ниже:

× Клеевой состав (для приклеивания утеплителя к основе и армирующей стеклосетки к утеплителю);

× Плитный утеплитель, дюбель;

× Армирующий слой с стеклосеткой;

× Декоративно-штукатурный слой;

× Окрасочный состав.

В качестве крепежных элементов используют высокопрочные дюбели, изготовленные из металла (или пластмассы), не подверженного воздействию коррозионных процессов.

Обязательно в системе должны использоваться профили для устройства температурных швов, угловой и цокольный профиль. Специальные уплотняющие ленты, предназначенные для уплотнения соединительных швов и мест примыканий, а так же герметик.

Устройство типовых узлов тонкостенных систем наружной теплоизоляции зданий, а именно:

1. Основание;

2. Цоколь;

3. Балконный пол;

4. Оконный откос;

5. Слив;

6. Противопожарные рассечки;

7. Кровля;

8. Парапет;

9. Деформационные швы;

10. Вывод инженерных коммуникаций;

11. Принципиальная схема установки и крепления дюбелями плит утеплителя - приведены далее.

УСЛОВНЫЕ ОБОЗНАЧЕНИЯ

         - КИРПИЧНАЯ (КАМЕННАЯ СТЕНА)

         - БЕТОН

         - МИНЕРАЛОВАТНЫЙ УТЕПЛИТЕЛЬ

         - УТЕПЛИТЕЛЬ ПОЛИСТИРОЛЬНЫЙ

         - РАСТВОР

         - АРМИРУЮЩИЙ СЛОЙ

         - ШТУКАТУРКА

         - КЛЕЯЩАЯ МАССА

         - ГИДРОИЗОЛЯЦИЯ

         - ЭКСТРУДИРОВАННЫЙ ПОЛИСТИРОЛ

         - ПРОФИЛЬ

         - УПЛОТНИТЕЛЬНАЯ ЛЕНТА

         - УПЛОТНИТЕЛЬНАЯ МАССА

         - ОСНОВАНИЕ

         - ДРЕНАЖНАЯ ПЛИТА

         - ПЕСОК

         - ГОТОВЫЕ БЕТОННЫЕ КОНСТРУКЦИИ

         - ДЕРЕВЯННЫЙ БРУС, ДОСКА АНТИПИРИРОВАННАЯ И АНТИСЕПТИРОВАННАЯ

         - КЕРАМИЧЕСКАЯ ПЛИТКА

         - ПЕНОПОЛИУРЕТАН

1. Основание

Рис. 1.1 Общий вид.

При утеплении основания особое внимание следует обратить на выбор утеплителя (экструдированный полистирол «Styrodur»), выполнение гидроизоляции и устройство дренажа, с целью предотвращения подсоса влаги по утеплителю и стенам (основанию).

2. Цоколь.

Рис. 2.1 При проектировании и монтаже цокольной части здания особое внимание требуется уделить на устройство противопожарных рассечек, устройство деформационных швов, утепление цоколя и применение противовандальной системы. Толщина противовандального слоя составляет h´2, где h составляет толщину базового армирующего слоя, с обязательным применением панцирной сетки.

Рис. 2.2.1 Бесшовное утепление основания и цоколя.

Рис. 2.2.2 Бесшовное утепление основания и цокольной части стены.

Рис. 2.3 Утепление с применением цокольной рейки с капельником без утепления цоколя.

Рис. 2.4 Утепление водоотталкивающего зуба наружностеновой панели в цокольной зоне здания (увеличение ширины цокольной рейки (стартового профиля) на ширину уступа).

Рис. 2.5.1 Утепление с применением цокольной рейки (стартового профиля) при выступающей цокольной части от основания утеплителя. Если уступ цокольной части составляет более 1/2 толщины утеплителя, возможно применение ПСБ-С без противопожарных рассечек.

Рис. 2.5.2

Рис. 2.6 Устройство утепления цокольной части здания с использованием минераловатной плиты.

3. Примыкания к балконной плите.

Рис. 3.1 Узел примыкания к балконной плите.

При проектировании и монтаже особое внимание надо уделить устройству термических вкладышей в балконной плите, устройству деформационных и технологических швов герметизации.

Рис. 3.2

Рис. 3.3 Примыкание к балконной плите с устройством противопожарных рассечек.

Рис. 3.4 При использовании термического вкладыша из ПСБ-С или экструдированного пенополистирола наличие противопожарных рассечек обязательно.

Рис. 3.5 Отсутствие герметизации шва в месте примыкания системы к балконной плите.

Рис. 3.7 Нет герметизации примыкания системы к полу балконной плиты.

4. Оконный откос.

Рис. 4.1 Устройство оконного откоса с применением комбинированной утеплительной рейки. При проектировании и производстве работ узла оконного откоса особое внимание необходимо уделить устройству противопожарных рассечек, устройству технологического разрыва между системой и оконной рамой и его герметизацией.

Рис. 4.2 Устройство оконного откоса при устройстве оконных рам в единой плоскости с системой утепления

Рис. 4.3 Устройство утепленного оконного откоса (широко применяется при реконструкции зданий).

Рис. 4.4 Узел примыкания системы к оконным рамам без утепления откосов (при производстве теплотехнического расчета необходимо учитывать образование мостиков холода).

Рис. 4.5 Устройство верхнего оконного откоса с применением карнизного профиля.

Рис. 4.6.1 Устройство верхнего оконного утепленного откоса.

Рис. 4.6.2 Устройство верхнего оконного откоса при монтаже оконных рам в единой плоскости с системой.

Рис. 4.7 Устройство верхнего оконного откоса с применением карнизного профиля без герметизации швов.

Рис. 4.8 Нет отрыва и герметизации шва примыкания системы утепленного оконного откоса к оконной раме.

5. Оконный слив.

Рис. 5.1 Устройство оконного слива.

При проектировании и монтаже особое внимание необходимо уделить устройству примыкания слива к оконной раме, системе утепления, устройству технологических швов и их герметизации для предотвращения попадания влаги в систему. Ширина оконного слива зависит от места установки оконных рам и толщины утеплителя. Выступ оконного слива должен составлять не менее 30-40 мм от финишного покрытия системы.

Рис. 5.2

Рис. 5.3 Устройство оконного слива из натурального камня.

Рис. 5.4 Устройство оконного слива при реконструкции зданий.

Рис. 5.5 Устройство оконного слива с заглушкой.

Рис. 5.6 Отсутствие герметизации примыкания оконного слива (заглушки) с системой утепления.

6. Устройство противопожарных рассечек.

Рис. 6.1 Техническое решение системы теплоизоляции устройства противопожарных рассечек.

Рис. 6.5 Типовой вид противопожарных рассечек.

Регламентируется минимальная ширина 200 мм.

7. Кровля.

Рис. 7.1 Скатная кровля. Общий вид.

При проектировании и монтаже системы наружного утепления особое внимание надо уделить устройству противопожарных рассечек, примыканий системы и ее герметизации, наличие воздушных продухов и пароизоляции для предотвращения попадания конденсата и воды внутрь системы.

Рис. 7.2

Рис. 7.3 Переход с односкатной крыши на систему утепления.

Рис. 7.4 Узел сопряжения плоской утеплительной кровли с системой утепления

Рис. 7.5 Боковое сопряжение системы с кровлей и со стеной.

Рис. 7.6.1 Отсутствует воздушный зазор между системой утепления и кровле (накопление конденсата в системе утеплителя).

Рис. 7.6.2 Отсутствует воздушный зазор между системой утепления и кровлей (накопление конденсата в системе утеплителя).

8. Парапет.

Рис. 8.1 Устройство парапета. Общий вид.

Регламентируется минимальный вертикальный нахлест в зависимости от высоты зданий:

- h до 8 м не менее 5 см;

- h от 8 до 20 м. не менее 8 см;

- h более 20 м не менее 70 см.

Минимальный отступ от стены наружного утеплителя огранки парапета не менее 30 мм, угол наклона параллельного огранке должен отходить в сторону плоской крыши.

Рис. 8.2 Устройство парапетной части с алюминиевым покрытием.

Рис. 8.3 Устройство парапетной части с алюминиевым и волокнисто-цементным козырьком.

Рис. 8.4 Устройство парапетной части.

9. Типовые узлы деформационных швов.

Рис. 9.1 Устройство поверхностного не утепленного деформационного шва.

Утепление произведено внутри наружных стен. При устройстве деформационных швов особое внимание требуется уделять устройству противопожарных рассечек при сопряжении двух открытых систем, на их утепление и герметизацию.

Рис. 9.2 Поверхностный утепляемый деформационный шов с применением цокольной рейки.

Рис. 9.3 Устройство деформационного шва с внутренним углом.

Если при монтаже производится полное закрытие уплотнителя ПСБ-С 25Ф базовым армирующим слоем, возможно применение только одной противопожарной рейки

Рис. 9.4 Горизонтальный скользящий деформационный шов.

Рис. 9.5.1 Отсутствие герметика или уплотняющей ленты в деформационном шве

Рис. 9.5.2 Устройство деформационного шва без дополнительного утепления (уплотняющей ленты велотерм).

Рис. 9.5.3 Отсутствие технологического деформационного шва.

10. Выводы инженерных коммуникаций.

Рис. 10.1

Рис. 10.2 Выводы инженерных коммуникаций.

Рис. 10.3 Отсутствие герметизации инженерных выходов может привести к замоканию системы.

11. Принципиальная схема установки и крепления дюбелями плит утеплителя.

Рис. 11.1 Установка и крепление дюбелями плит утеплителя вокруг проемов.

Рис. 11.2 Усиление базового слоя на углах проемов с помощью дополнительных сеток.

Рис. 11.3 Принципиальная схема установки дюбелей для крепления минераловатных плит в зданиях высотой свыше 10 этажей.

Рис. 11.4 Принципиальная схема установки дюбелей для крепления плит ПСБ-С.

4.3 Инструкция по применению

Каждая фирма-изготовитель теплоизоляционной системы на мокрых процессах имеет свои инструкции по производству работ. Все они имеют одинаковый набор материалов одинаковые технологические приемы достижения конечного результата. Поэтому в данных технологических рекомендациях используется инструкция по применению системы "Синтеко", изготавливаемой в Российской Федерации.

4.3. Технология производства работ по устройству системы наружного утепления зданий.

4.3.1 В системе наружного утепления зданий типа «Синтеко» предусмотрено применение двух видов утеплителей: плиты пенополистирольные типа ПСБ-С 25Ф и плиты минераловатные "ФАСАД БАТТС".

4.3.2 Система разработана для двух вариантов: использования обоих видов утеплителя:

Вариант 1 - основной утеплитель - ПСБ-С применяется совместно с минераловатными плитами, используемыми для противопожарных рассечек;

Вариант 2 - в качестве утеплителя используются только минераловатные плиты.

4.3.3 Система с плитами ПСБ-С 25Ф может применяться для утепления наружных стен жилых зданий высотой до 12 этажей включительно и до 9 этажей включительно на остальной территории России с учетом требований п.4.4. СНиП 21-01-97, а система с плитами "ФАСАД БАТТС" - без ограничения этажности. При этом должны соблюдаться следующие условия:

- система с плитами ПСБ-С 25Ф может применяться для теплоизоляции многоквартирных жилых зданий (класс функциональной пожарной опасности Ф1.3) при полном соблюдении требований СНиП 21-01-97

- применение системы с плитами ПСБ-С 25Ф для зданий других классов функциональной пожарной опасности возможно только после экспертизы проектов привязки этой системы в ЦНИИСК им. Кучеренко или органов УГПС.

В случае если здания (типы зданий) не соответствуют требованиям СНиП 21-01-97 в части объемно-планировочных решений, обеспечивающих безопасную эвакуацию людей из здания в случае пожара, проекты привязки системы этих зданий (типов зданий) независимо от вида применяемого утеплителя должны быть согласованы в установленном порядке.

При реконструкции зданий, выполненных из стеновых панелей на гибких связях, в которых в качестве теплоизоляции применяется плитный пенополистирол, проекты привязки системы также должны быть согласованы в установленном порядке.

4.3.4 Система должна наноситься на стены с соблюдением следующих требований:

- в полном соответствии с техническими решениями ТС 07-0251-2000 (типовые узлы и детали);

- минимальная толщина декоративно-защитного слоя должна быть не менее 6 мм, а на откосах и дверных и оконных проемов 12 мм.

- система при ее применении на первых этажах зданий должна выполняться в антивандальном исполнении, при этом толщина защитно-декоративного слоя штукатурки должна быть не менее 12 мм;

- плитный пенополистирол марки ПСБ-С 25Ф плотностью не более 16,8 кг/м3, должен производиться из сырья фирмы «БАСФ» (Германия);

- площадь пенополистирола, незащищенного штукатурным слоем в процессе производства работ не должна превышать 250 м2 в пределах не более 4-х этажей (12 м по высоте.

Допускается выполнять утепление на нескольких участках фасада зданий одновременно при выполнении указанных выше ограничений, но при обязательном устройстве разрывов между этими участками по высоте и ширине здания не менее 2,6 м;

4.3.5 При устройстве наружных теплоизоляционных систем типа «Синтеко» имеют место процессы, связанные с физико-механическими изменениями, происходящими в материалах.

Для получения теплоизоляционного покрытия высокого качества должны быть строго соблюдены следующие интервалы времени:

- в случае отштукатуривания фасада до начала выполнения работ по наружному утеплению перерыв должен составлять не менее 7 суток;

- после грунтовки поверхности до начала приклеивания плит утеплителя перерыв должен составлять не менее 0,5 часа;

- после наклейки плит утеплителя до выполнения работ по механическому креплению перерыв должен составлять не менее 48 часов;

- после устройства армирующего слоя до нанесения выравнивающего слоя перерыв должен составлять не менее 24 часов;

- после устройства выравнивающего слоя до нанесения грунтовочного и окрасочного покрытия перерыв должен составлять не менее 48 часов.

Устройство наружной теплоизоляции стен строящихся панельных зданий, зданий из монолитного бетона, кирпича, мелких стеновых блоков и аналогичных материалов выполняются не ранее 6 месяцев после окончания бетонирования или возведения стен.

4.3.6 Технологическая последовательность операций, материалы, технология выполнения работ, методы контроля и контролируемые параметры приведены в таблице 11 (п. 4.5 Технологическая карта производства работ).

4.4 Типовой расчет количества дюбелей

Минимально допускаемое количество дюбелей на 1 м2 стены принимают по таблице 4.14.

Таблица 4.14.

Наименование утеплителя

Этажность

Расчетная зона

средняя

крайняя

ПСБ-С 25Ф

включительно до 12 этажей

2

4

«ФАСАД БАТТС»

до 10 этажей включительно

7

10

свыше 10 этажей

8

11

Схему расстановки дюбелей в конкретных объектах устанавливают на основе расчета с учетом всех влияющих факторов, в том числе:

- геометрических характеристик объекта в плане и по высоте;

- расчетного значения ветрового давления (отсоса) в районе строительства;

- прочностных характеристик основания;

- предельных отклонений поверхности стены от вертикали.

Система должна наносится на стены с соблюдением следующих требований:

- в полном соответствии с альбомом «Технические решения типовых узлов конструктивной наружной системы теплоизоляции стен»;

- минимальная толщина защитно-декоративного слоя должна быть не менее 4,5 мм, а на откосах оконных и дверных проемов не менее 12 мм.

Количество дюбелей на 1 м2 стены определяют расчетом исходя из конкретных условий строительства, прочности основания, высоты зданий, конструктивных решений и других факторов.

Расчет дюбелей производится для двух зон объекта: рядовой и крайней, прилегающей к углу, для которой значение ветрового напора принимают с учетом повышающего динамического коэффициента.

Ширину крайней зоны принимают равной 0,125 длины здания, но не менее 1,0 м и более 2,0 м. При этом прочностные характеристики клеевого соединения утеплителя к основанию при определении количества дюбелей не учитывается.

Количество дюбелей (Nд) определяют исходя из трех возможных вариантов работы дюбеля: Вариант 1 - по допускаемому значению выдергивающего усилия дюбеля из основания (Nд):

nд = nв/Nд;

Вариант 2 - по допускаемому напряжению в стальном гвозде (Rд):

nд=([Nв/Fд]+[Р1l12l2]/Wд)/Rд;

Вариант 3 - по допускаемой прочности стального гвоздя при изгибе (Мд):

nд= [Р1l12l2]/Мд;

где: Rд - допускаемое напряжение в одном стальном гвозде, Па (кгс/см);

Nв - расчетное растягивающее усилие в дюбеле от отсоса (ветрового отрицательного давления Н (кгс);

Fд - площадь, см2;

Р1 - расчетный собственный вес утеплителя, Н (кгс);

Р2 - расчетный собственный вес защитного штукатурного слоя, Н (кгс);

l1 - расстояние от поверхности основания до центра тяжести утеплителя, см;

l2 - расстояние от поверхности основания до центра тяжести защитного штукатурного слоя, см;

Wд - момент сопротивления одного дюбеля, см3;

Мд - допускаемый изгибающий момент, воспринимаемый одним стальным гвоздем, Н см(кгс см).

Значения Nв, P1, Р2 принимают на 1 кв.м. стены. Расчетное количество дюбелей определяют по наихудшему варианту. Значения выдергивающего усилия дюбеля из основания даны в табл. 4.15.

Технические требования к строительным материалам (основаниям).

Таблица 4.15

Наименование основания

Характеристика прочности основания

Значение выдергивающего усилия

Бетон плотный

³B15

50

Кирпич глиняный полнотелый

³М50

50

Кирпич глиняный пустотелый

³М50

25

Кирпич силикатный

³М75

50

Керамзитобетон

³В12,5

30


4.5 Технологическая карта производства работ

Таблица 11.

№ п/п

Наименование операции

Описание операции

Используемые материалы

Расход материалов

Инструменты, приспособления, средства механизации

Методы контроля

Контролируемые параметры

1

Подготовка поверхности стен.

1. Механическая очистка поверхности стен металлическими щетками от пыли и грязи. В случае с бетонными стенами удаление подтеков бетона и цементного молочка. Выравнивание неровностей поверхности, заделка трещин, раковин, впадин, выемок полимерцементным раствором М-100,150. В случае ремонтно-восстановительных работ старая (бучащая) штукатурка, плитка удаляются, фасады оштукатуриваются цементно-песчаным раствором М-100.

Полимерцементные и цементно-песчаные растворы марок 100-150.

0,1-0,15 кг/м2

Скребки, щетки металлические, Пылесосы, агрегат высокого давления с подогревом воды «Керхер», кельмы, терки, полутерки, гладилки, валики, краскораспылители, рейки правила, отвесы

Визуальный измерительный (рейкой, отвесом, уровнем)

Ровность поверхности, отсутствие трещин, раковин.

 

 

2. Грунтовка поверхности грунтовочным составом.

Грунтовка «Интеко-И»

 

 

 

 

2

Приготовление клеевой масс.

1. Вскрыть стандартный 25 кг мешок сухой смеси.

2. В чистую емкость, объемом не менее 10 литров, налить 3-4 литра воды и добавляя в воду сухую смесь небольшими порциями, перемешивать ее низкооборотной дрелью со специальной насадкой до получения однородной сметанообразной массы.

3. После 5-ти минутного перерыва еще раз перемешать готовую клеевую массу.

4. Приготовление клеевой массы производится на воздухе при температуре +5 градусов и выше.

Сухая смесь (рецепт №51) или «Инфотерм-К»

 

Емкость объемом не менее 10 литров. Миксер (дрель и специальные насадки), ведра.

Визуальный, лабораторный.

Дозировка компонентов, Соответствие клеевых масс, (однородность, подвижность, адгезионная прочность и т.д.) требованиям ТУ.

3.1

Монтаж первого ряда утеплителя с применением цокольных планок.

1. Установить горизонталь цокольных планок на нулевой отметке.

2. Крепление планок производить анкерами или дюбелями согласно Техническому свидетельству.

3. Выравнивание стены производить специальными пластмассовыми прокладками.

4. Соединение планок производить с помощью специальных прокладок, входящих в состав системы.

5. На углах здания использовать угловые цокольные планки.

Цокольные планки, дюбели, анкера,

3 шт/ п м

Электрогайковерты, молотки, рулетки, отвесы, теодолит-нивелир, ножи, линейки металлические, зубчатые и гладкие шпатели, прибор для резки плит, электрогайковерты, молотки, рулетки, отвесы, теодолит-нивелир.

Визуальный, измерительный оптический (нивелиром).

Проектное положение, горизонтальное крепление, толщина слоя в соответствии с Техническим свидетельством.

6. Нарезать минераловатные плиты (утеплитель) полосами по 300 мм для установки первого ряда утеплителя.

утеплитель минераловатная плита,

Коэффициент расхода 1,15

7. Нанести клеевую массу зубчатым шпателем сплошным слоем на полосу минераловатной плиты.

клеевая масса,

2,5 кг/м2

8. Приклеить утеплитель к стене.

9. Просверлить отверстие в стене через полосу утеплителя под дюбель и установить его (количество дюбелей 3 шт. на одну полосу, расстояние от края полосы до дюбеля 100 мм и между дюбелями не более 400 мм).

10. Через сутки добить металлические гвозди в дюбели.

11. Зачеканить швы между полосами минераловатными плитами обрезками утеплителя.

металлические гвозди, болты, дюбели

3 шт/п м

3.2

Монтаж первого ряда утеплителя без применения цокольных планок (на брусках).

1. Установить направляющий профиль (брусок) по нижней границе утепления.

 

 

 

 

 

2. Навести клеевую массу на стену вдоль направляющего профиля (бруска) на высоту 150 мм сплошной полосой.

Клеевая масса,

2,5 кг/м2

Ножи, линейки металлические, зубчатые и гладкие шпатели, прибор для резки плит, электрогайковерты, молотки, рулетки, отвесы, теодолит-нивелир.

Визуальный, измерительный оптический (нивелиром).

Проектное положение, горизонтальное крепление, толщина базового армирующего слоя в соответствии с Техническим свидетельством.

3. Вдавить в клеевую массу полосы армирующей угловой сетки с нахлестом их друг на друга 100 мм, оставляя свободную часть сетки (шириной 300-500 мм) свисающей под бруском. Ширина полос 500 мм.

армирующая угловая сетка

сек,

коэффициент расхода 1,15

4. Нарезать минераловатные плиты полосами по 300 мм для установки первого ряда утеплителя.

5. Нанести клеевую массу зубчатым шпателем сплошным слоем на полосу минераловатной плиты.

6. Приклеить утеплитель к стене.

7. Нанести на нижнюю часть лицевой поверхности утеплителя клеящую массу, завернуть свободный конец сетки на утеплитель и приклеить к нему.

утеплитель минераловатная плита,

коэффициент расхода 1,1

8. Просверлить отверстие в стене через полосу утеплителя под дюбель и установить его (количество дюбелей 3 шт на одну полосу, расстояние от края полосы до дюбеля 100 мм и между дюбелями не более 400 мм).

9. Через сутки добить металлические гвозди в дюбели.

10. Зачеканить швы между полосами минераловатной плиты обрезками утеплителя.

металлические гвозди, болты, дюбели

3 шт/п м

4.1

Установка типового ряда утеплителя.

1. Нанести клеевую массу, на плиту ПСБ-С-25Ф одним из трех способов, указанных в инструкции по применению в зависимости от кривизны стен.

Клеевая масса,

7,5 кг/м2

См. выше

Визуальный, измерительный путем пробного отрыва.

Наличие грунтовки, наличие зазора между плитами, перевязка, ровность, расположение дюбелей согласно проекту, прочность фиксации, толщина слоя в соответствии с Техническим свидетельством.

2. Приклеить плиту ПСБ-С-25Ф к стене (с перевязкой на 1/2 плиты относительно нижнего ряда утеплителя).

утеплитель ПСБ-С-25Ф,

коэффициент расхода 1,1

бруски шлифовальные, с нажимным приспособлением

3. Просверлить отверстие в стене через плиту ПСБ-С-25Ф под дюбель и установить его (количество дюбелей 4 шт/м2 или в соответствии с проектом) в зависимости от этажности здания и вида основания.

4. Через сутки добить в дюбели металлические гвозди или болты.

5. Зачеканить швы между плитами утеплителя обрезками утеплителя.

6. Произвести зашкуривание установленных плит ПСБ-С-25Ф.

дюбель, металлические гвозди, болты

4 шт/м2

4.1.1

Установка рассечек из минваты между этажами.

1. Нарезать минераловатную плиту, полосами по 200 мм.

2. Нанести клеевую массу на всю плоскость полосы из утеплителя зубчатым шпателем.

Утеплитель минераловатная плита,

коэффициент расхода 1,1

См. выше.

Визуальный, измерительный

См. выше.

3. Приклеить утеплитель к стене на уровне верхнего откоса окна каждого этажа сплошной полосой.

клеевая масса, дюбель

7,5 кг/м2

4. Просверлить отверстие в стене через полосу утеплителя под дюбель и установить его (количество дюбелей 3 шт. на одну полосу, расстояние от края полосы до дюбеля 100 мм и между дюбелями не более 400 мм).

5. Через сутки добить металлические гвозди в дюбели.

6. Зачеканить швы между минераловатными плитами ПСБ-С-25Ф обрезками утеплителя.

 

3 шт/п м

4.2

Установка типового ряда утеплителя из минераловатной плиты.

1. Нанести клеевую массу на минераловатную плиту одним из трех способов, указанных в инструкции, в зависимости от кривизны стены.

2. Приклеить минераловатную плиту к стене (с перевязкой плит относительно нижнего ряда утеплителя).

Утеплитель минераловатная плита,

коэффициент расхода 1,1

См. выше.

Визуальный, измерительный

См. выше.

3. Просверлить отверстие в стене через плиту утеплителя под дюбель и установить его (количество дюбелей 4 шт/м2 или в соответствии с проектом) в зависимости от этажности здания и вида основания.

4. Через сутки добить в дюбели металлические гвозди или болты.

клеевая масса,

дюбель, металлические гвозди, болты

7,5 кг/м2

3 шт/ п м

5.

Установка утеплителя в местах завершения системы утепления.

1. Нанести клеевую массу вдоль верхней границы стены полосой на высоту 150 мм.

Клеевая масса,

2,5 кг/м2

См. выше.

Визуальный, измерительный

См. выше.

2. Вдавить в клеевую массу полосы армирующей угловой сетки с нахлестом полос 100 мм. Ширина полос 500 мм.

3. Нарезать утеплитель полосами шириной 300 мм

армирующая угловая сетка, клеевая масса,

коэффициент расхода 1,15

4. Нанести клеевую массу (рецепт №51) на полосу утеплителя сплошным слоем при помощи зубчатого шпателя.

утеплитель минераловатная плита

7,5 кг/м2

5. Приклеить полосу утеплителя к стене. (Верхняя кромка утеплителя должна совпадать с верхней кромкой стены).

дюбель

коэффициент расхода 1,1

6. Просверлить отверстие в стене через утеплитель под дюбель и установить его (количество дюбелей 3 шт на одну полосу, расстояние от края полосы до дюбеля 100 мм и между дюбелями не более 400 мм).

7. Через сутки добить металлические гвозди в дюбели.

8. Зачеканить швы между плитами утеплителя обрезками утеплителя.

 

3 шт/ п м

6

Установка утеплителя вокруг оконных и дверных поемов.

1. Нарезать угловую армирующую сетку полосами шириной 500 мм.

2. Нанести клеевую массу на стену по периметру проема сплошной полосой шириной 150 мм.

Угловая армирующая сетка ССК,

Коэффициент расхода 1,15

См. выше.

Визуальный.

Наличие пустот, качество приклеивания накладок.

3. Вдавить в клеевую массу армирующую угловую сетку с нахлестом полос 100 мм.

4. Нарезать утеплитель полосами шириной 200 мм

клеевая масса,

2,5 кг/м2

5. Нанести клеевую массу сплошным слоем на полосу минваты зубчатым шпателем.

6. Установить полосы из минераловатной плиты по периметру окна согласно типовому узлу системы.

утеплитель минераловатная плита,

коэффициент расхода 1,15

7. Просверлить отверстие в стене через полосы из минераловатной плиты под дюбель и установить его (количество дюбелей 3 шт на одну полосу, расстояние от края полосы до дюбеля 100 мм и между дюбелями не более 400 мм).

клеевая масса, дюбель.

7,5 кг/м2

8. Через сутки добить металлические гвозди в дюбели.

9. Зачеканить швы между плитами утеплителя обрезками утеплителя.

 

3 шт/ п м

7

Устройства температурных и деформационных швов.

1. В местах примыкания системы утепления к бетонным, кирпичным и прочим конструкциям здания необходимо выполнять температурно-деформационный шов между ними и торцом утеплителя.

Клеевая масса,

2,5 кг/м2

См. выше.

Визуальный, измерительный

Внешний вид, прямолинейность поверхности.

2. Нанести клеевую массу на стену сплошной полосой шириной 150 мм вдоль границы примыкания, отступив на 20 мм от конструкции здания.

угловая армирующая сетка ССК,

коэффициент расхода 1,15

 

 

 

3. Вдавить в клеевую массу армирующую угловую сетку с нахлестом полос 100 мм. Ширина полос 500 мм.

4. Установка утеплителя согласно раздела 4 настоящей Технологической карты.

согласно п. 4

 

 

 

 

8

Армирование углов здания, оконных дверных проемов.

1. Установить алюминиевый уголок на утеплитель по углам здания, оконным и дверным проемам, деформационным швам на клеевую массу с временным креплением его саморезами.

Уголок алюминиевый,

коэффициент расхода 1,05,

См. выше.

Визуальный, измерительный

Внешний вид, прямолинейность поверхности.

2. После высыхания клеевой массы саморезы удаляются.

клеевая масса.

0,3 кг/п м

9

Нанесение армирующего слоя на оконных и дверных откосах.

1. Нанести клеевую массу на торец и наружную плоскость минваты.

Клеевая масса,

11,5 кг/м2

См. выше.

Визуальный.

Внешний вид, Наличие дополнительных слоев сетки.

2. Вдавить ранее приклеенную угловую армирующую сетку (см. пункт 6.3) в свеженанесенную клеевую массу.

Снять излишки клеевой массы.

4. После высыхания первого слоя, приклеить дополнительные полосы диагональной армирующей сетки (косынки) на углах оконных, дверных и прочих проемах.

угловая армирующая сетка ССК,

10.1

Устройство противовандального базового слоя для первых этажей зданий.

1. Нанести клеевую массу на плоскость плит утеплителя.

2. Вдавить в свежеуложенную клеевую массу панцирную сетку без пропусков, с нахлестом полотен 100 мм на вертикальных и горизонтальных стыках.

3. Излишки клеевой массы снять.

Клеевая масса, панцирная сетка.

11,5 кг/м2

коэффициент расхода 1,15

См. выше.

Визуальный, циркулем, рулеткой.

Толщина клеющей массы, общая толщина армирующего слоя в соответствии с Техническим свидетельством, ширина нахлеста, наличие дополнительных диагональных прокладок у проемов

10.2

Нанесение армирующего слоя на плоскость утеплителя.

1. Нанести клеевую массу на плоскость плит утеплителя.

2. Вдавить в свежеуложенную клеевую массу рядовую армирующую сетку без пропусков, с нахлестом полотен 100 мм на вертикальных и горизонтальных стыках.

3. Излишки клеевой массы снять.

Клеевая масса, рядовая армирующая сетка ССКО.

11,5 кг/м2 коэффициент расхода 1,15

См. выше.

Визуальный, циркулем, рулеткой.

Толщина клеющей массы, общая толщина армирующего слоя в соответствии с ТС ширина нахлеста, дополнительные диагональные сетки

11

Нанесение базового армирующего слоя.

1. Приготовить клеевую массу для базового армирующего слоя (см.п.2).

2. Нанести клеевую массу для выравнивания на высохшую поверхность армирующего слоя, полностью укрывая армирующую сетку и создавая гладкую поверхность.

3. После высыхания выравнивающего слоя зачистить неровности наждачной бумагой.

Сухая смесь «Инфотерм-Ш» Клеевая масса для выравнивания.

4,5 кг/м2

Шпатели, щетки, полутерки, гладилки, брусок шлифовальный с нажимным приспособлением, рейки правила.

Визуальный, измерительный

Толщина клеющей массы для выравнивания в соответствии с ТС, ровность поверхности.

12

Нанесение грунтовочного состава.

1. Приготовить грунтовочный состав к работе.

2. Обеспылить оштукатуренную поверхность.

3. Нанести грунтовочный состав вручную валиком или механическим способом на всю поверхность тез пропусков в один слой.

Грунтовка «Интеко-И»

0,1-0,15

кг/м2

Валики, краскопульты, компрессор, пистолет окрасочный.

Визуальный.

Равномерность огрунтовки, соответствие грунтовки.

13

Нанесение покрытия.

1. Приготовить окрасочный состав к работе.

2. Нанести окрасочный состав вручную валиком или механическим способом за два раза с укрытием всей загрунтованной поверхности.

Краска «Интеко-И» (летняя).

0,7 кг/м2

Валики, структурные валики, малярные установки.

Визуальный.

Равномерность окраски, однородность, отсутствие потеков, морщин, стыковка участков

14

Герметизация швов между системой утепления и конструкциями здания

1. Зазоры между системой утепления и конструкциями здания заполняются уплотнительным шнуром "Вилатерм" по всей длине шва и заделываются герметиком.

Уплотнительный шнур герметик.

 

Шпатели, пистолет для нанесения герметика.

Визуальный.

Отсутствие трещин, толщина покрытия.


4.6 Типовой теплотехнический расчет

4.6.1 Определение требуемого значения сопротивления теплопередаче Rтр

Требуемое сопротивление теплопередаче наружных стен для г.Москва, рассчитанное из условия энергосбережения (второй этап),определяют в зависимости от градусо-суток отопительного периода:

ГСОП = (tв-toт.пep.)zoт.пep.=(20-(-3,73))´212=5030,8 градусо-суток,

Где tв=20°C - расчетная температура внутреннего воздуха,

toт.nep.=(-10,2 - 9,6 - 4,7 + 4 + 4,2 - 2,2 - 7,6)\7= -3,73°С - средняя температура от.пер.

                I       II      III   IV     Х     XI    XII

zот.пер.=31+28+31+30+31+30+31=212 суток.

По таблице 1б* определяем с помощью интерполяции значение сопротивления теплопередаче Rтp

1) для жилых, лечебно-профилактических и детских учреждений, школ, интернатов:

Rтp=2,8+(3,5-2,8)´(5030,8-4000)\(6000-4000)=3,16 м2 °С/Вт

2) для общественных, административных и бытовых помещений, за исключением помещений с влажным и мокрым режимом:

Rтp=2,4+(3,0-2,4)´(5030,8-4000)\(6000-4000)=2,71 м2 °С /Вт

4.6.2 Теплотехнический расчет для административных зданий,
Rтр=2,71 м2 °С /Вт

1. Утеплитель - минераловатная плита «Роквулл»

Принимаем конструкцию стены:

1) внутренний слой штукатурки d1=0,02м

коэффициент теплопроводности l1=0,87 Вт/м2 °С (прил.3 СНиП II-3-79*)

2) железобетонная стена

d2=0,2 м

l2= 2,04 Вт/ м2 °С (прил.3 СНиП II-3-79*)

3) замкнутая воздушная прослойка

d3=0,01м

Rв.п.=0,13 м2 С/Вт (по прил. 4 СНиП II-3-79*)

4) утеплитель - минплита «ROCKWOOL»

d3=?

l3= 0,046 Вт/ м2 °С (заключение НИИСФ и отчет НИИМОССТРОЙ)

5) наружная штукатурка

d4=0,006 м

l3= 0,64 Вт/ м2 °С

Для этой стены сопротивление теплопередаче равно:

R= 1/aв + d1/l1 + d2/l2 + d3/l3 + d4/l4 + Rв.п +1/aн,

где

aв = 8,7 Вт/ м2 °С - коэффициент теплоотдачи внутренней поверхности стен

aн = 23 Вт/ м2 °С - коэффициент теплоотдачи наружной поверхности стены.

Требуемая толщина утеплителя:

=(Rтр - (1/aв + d1/l1 + d2/l2 + d4/l4 + Rв.п +l/aн) ´ l3 = (2,71-(1/8,7+0,02/0,87+0,2/2,04+0,006/0,64+0,13+1/23))´0,046 = 0,105

Принимаем толщину минплиты 10 см, тогда расчетное сопротивление теплопередаче:

R= 1/aв + d1/l1 + d2/l2 + d3/l3 + d4/l4 + Rв.п +l/aн = 1/8,7+0,02/0,87+0,2/2,04+0,1/0,046+0,006/0,64+0,13+1/23=2,59 м2 °С /Вт

2. Утеплитель пенополистирольные плиты ПСБ-С

Принимаем конструкцию стены:

1) внутренний слой штукатурки d1=0,02м

коэффициент теплопроводности l1=0,87 Вт/м2 °С (прил.3 СНиП II-3-79*)

2) железобетонная стена

d2=0,20 м

l2= 2,04 Вт/ м2 °С (прил.3 СНиП II-3-79*)

3) замкнутая воздушная прослойка

d3=0,01м

Rв.п.=0,13 м2 С/Вт (по прил. 4 СНиП II-3-79*)

4) утеплитель - пенополистирол ПСБС-25

d3=?

l3= 0,042 Вт/ м2 °С (заключение НИИСФ и отчет НИИМОССТРОЙ)

5) наружная штукатурка

d4=0,006 м

l3= 0,64 Вт/ м2 °С

Тогда требуемая толщина утеплителя равна

=(Rтр - (1/aв + d1/l1 + d2/l2 + d4/l4 + Rв.п +l/aн) ´ l3 = (2,71-(1/8,7+0,02/0,87+0,2/2,04+0,006/0,64+0,13+1/23)) ´ 0,042=0,096м

Принимаем толщину пенополистирола 10 см, тогда расчетное сопротивление теплопередаче:

R= 1/aв + d1/l1 + d2/l2 + d3/l3 + d4/l4 + l/aн = 1/8,7+0,02/0,87+0,2/2,04+0,1/0,042+0,006/0,64+0,13+1/23=2,79 м2 °С/Вт

Так как при утеплении используется комбинированная система из минплиты и пенополистирола в соотношении 1:4, то приведенное термическое сопротивление системы утепления равно:

Rа =(F1+F2)/(F1/R1+F2/R2)=(1+4)/(1/2,59+4/2,79)=2,75 м2 °С/Bт>Rтр=2,71 м2 С/Вт,

где F1 - относительная площадь минераловатной плиты;

F2 - относительная площадь пенополистирола;

R1 - расчетное сопротивление теплопередаче системы с утеплителем из минплиты,

R2 - расчетное сопротивление теплопередаче системы с утеплителем из пенополистирола.

Так как расчетное сопротивление теплопередаче Rа больше требуемого Rтр, то окончательно принимаем толщину утеплителя 10 см.

4.6.3 Теплотехнический расчет для жилых и т. п. зданий,
Rтр=3,16 м2 °С/Вт

1. Утеплитель - минераловатная плита «Роквулл»

Принимаем конструкцию стены:

1) внутренний слой штукатурки d1=0,02м

коэффициент теплопроводности l1=0,87 Вт/м2 °С (прил.3 СНиП II-3-79*)

2) железобетонная стена

d2=0,20 м

l2=2,04 Вт/ м2 °С (прил.3 СНиП II-3-79*)

3) замкнутая воздушная прослойка

d3=0,01м

Rв.п.=0,13 м2 С/Вт (по прил. 4 СНиП II-3-79*)

4) утеплитель - минплита «ROCKWOOL»

d3=?

l3= 0,046 Вт/ м2 °С

5) наружная штукатурка

d4=0,006 м

l3= 0,64 Вт/ м2 °С

Для этой стены сопротивление теплопередаче равно:

R= 1/aв + d1/l1 + d2/l2 + d3/l3 + d4/l4 + l/aн,

где

aв = 8,7 Вт/ м2 °С - коэффициент теплоотдачи внутренней поверхности стен

aн = 23 Вт/ м2 °С - коэффициент теплоотдачи наружной поверхности стен

Тогда требуемая толщина утеплителя равна:

=(Rтр - (1/aв + d1/l1 + d2/l2 + d4/l4 + Rв.п +l/aн) ´ l3=(3,16-(1/8,7+0,02/0,87+0,2/2,04+0,006/0,64+0,13+1/23))´0,046 = 0, 126 м

Принимаем толщину минплиты 12 см, тогда расчетное сопротивление теплопередаче:

R=1/aв + d1/l1 + d2/l2 + d3/l3 + d4/l4 + Rв.п +l/aн =1/8,7+0,02/0,87+0,2/2,04+0,12/0,046+0,006/0,64+0,13+1/23=2,89 м2 °С /Вт

2. Утеплитель пенополистирольные плиты ПСБ-С

Принимаем конструкцию стены:

1) внутренний слой штукатурки d1=0,02м

коэффициент теплопроводности l1=0,87 Вт/м2 °С (прил.3 СНиП II-3-79*)

2) железобетонная стена

d2=0,20 м

l2=2,04 Вт/ м2 °С (прил.3 СНиП II-3-79*)

3) замкнутая воздушная прослойка

d3=0,01м

Rв.п.=0,13 м2 С/Вт (по прил. 4 СНиП II-3-79*)

4) утеплитель - пенополистирол ПСБС-25

d3=?

l3= 0,042 Вт/ м2 °С

5) наружная штукатурка

d4=0,006 м

l3= 0,64 Вт/ м2 °С

Тогда требуемая толщина утеплителя равна

=(Rтр - (1/aв + d1/l1 + d2/l2 + d4/l4 + Rв.п +l/aн) ´ l3=(3,16-(1/8,7+0,02/0,87+0,2/2,04+0,006/0,64+0,13+1/23))´0,042 =0,115м

Принимаем толщину пенополистирола 12 см, тогда расчетное сопротивление теплопередаче:

R=1/aв + d1/l1 + d2/l2 + d3/l3 + d4/l4 +l/aн =l/8,7+0,02/0,87+0,2/2,04+0,12/0,042+0,006/0,64+0,13+l/23=3,27 м2 °С/Вт

6. Так как при утеплении используется комбинированная система из минплиты и пенополистирола в отношении 1:4, то приведенное термическое сопротивление системы утепления равно:

Rа =(F1+F2)/(F1/R1+F2/R2)=(1+4)/(1/2,89+4/3,27)=3,19 м2 °С/Bт>Rтр=3,16 м2 С/Вт,

где F1 - относительная площадь минераловатной плиты;

F2 - относительная площадь пенополистирола;

R1 - расчетное сопротивление теплопередаче системы с утеплителем из минплиты,

R2 - расчетное сопротивление теплопередаче системы с утеплителем из пенополистирола.

Так как расчетное сопротивление теплопередаче Ra больше требуемого Rтр, то окончательно принимаем толщину утеплителя 12 см.

5. ТОЛСТОСТЕННЫЕ СИСТЕМЫ НАРУЖНОГО УТЕПЛЕНИЯ ФАСАДОВ ЗДАНИЙ С ПОДВИЖНЫМ КРЕПЛЕНИЕМ К ОСНОВАНИЮ «ХАНТЕР СТАР» И «СЕРПОРОК».

1. Принципиальное описание системы.

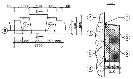
1.1 Техническое решение системы, общая характеристика слоев и варианты используемых компонентов даны на рис. 5.1 и в табл. 5.1 и 5.2.

Таблица 5.1

Характеристика слоев и основных компонентов системы.

№№ слоя

Наименование и назначение слоя

Варианты компонента

Толщина слоя, мм

Наименование компонента

Область применения компонента

1

2

3

4

5

1.

Теплоизоляционный слой

Минераловатные плиты RAL-1, RAL-2 фирмы "PARTEK PAROC OYAB" (Финляндия)

Жесткий негорючий материал из минерального волокна.

Размеры плит - 0,6´1,2 м, толщина - до 160 мм.

Коэффициент линейного удлинения и усадка равны нулю.

Расчетные значения коэффициентов теплопроводности lд и lв принимают по СНиП II-3-79* (изд. 1995 г) или по результатам испытаний, проведенных НИИСФ Российской академии архитектуры и строительных наук (РААСН).

от 30 до 180 включительно

2.

Стальные кронштейны и шпильки

Характеристика дана в табл. 5.2.

-

3.

Универсальные распорные дюбели с центральным стержнем из нержавеющей стали или антикоррозионным покрытием

Характеристика дана в табл. 5.2.

-

4.

Армирующая сетка

Стальная гладкая оцинкованная сеть производства фирмы "TUOTANTO OY" (Финляндия)

Для армирования основного слоя

-

5.

Штукатурный слой "обрызг"

Сухая штукатурная смесь SCANPRIME В KS 35/65 фирмы "OY SCANMIX АВ" (Финляндия)

Для выравнивания поверхностей основания, сцепления основания с минераловатной плитой, защиты армирующей сетки и защиты шпилек подвижных кронштейнов. Рецептура по массе (%): цемент -22; известь -19; песок - 69,5; добавка - 0,5

7-10

6.

Штукатурный грунтовочный (основной) слой

Сухая штукатурная смесь SCANFILL 50/50 фирмы "OY SCANMIX АВ" (Финляндия)

Для защиты минераловатных плит от атмосферных воздействий и коррозии металлических деталей. Рецептура по массе (%): цемент -15; известь -15; песок - 69,5; добавка -0,5

10

7.

Отделочный (накрывочный) слой

Сухая штукатурная смесь SCANRAND KS 70/30 фирмы "OY SCANMIX АВ" (Финляндия)

Для нанесения финишного слоя, Рецептура по массе (%): цемент -21, известь - 9, песок - 69, добавки -1

2-5

Таблица 5.2

Общая характеристика крепежных деталей.

Изготовитель

Наименование элемента

Диаметр, мм

Длина, мм

Фирма "VIPTEK OY" (Финляндия)

Подвижный кронштейн из нержавеющей стали.

Шпилька.

3-4

4

По проекту

Универсальный распорный дюбель со стальным стержнем из нержавеющей стали или с антикоррозионным покрытием

5

По проекту

1.2. Компоненты системы наносят на стену объекта послойно в соответствии с отологической картой производства работ.

1.3. Особенностью системы является раздельная работа стены и теплоизоляционного слоя, уменьшающая негативное влияние температурно-влажностных деформаций, возникающих в защитном штукатурном слое.

Такая работа обеспечивается за счет применения подвижных кронштейнов, крепящихся к стене с помощью дюбелей.

1-4. Утеплитель накалывают на подвижную часть кронштейнов снизу-вверх с соблюдением правил перевязки швов: смещение швов по горизонтали, зубчатая перевязка на углах здания, обрамление оконных проемов плитами с подоконными вырезами "по мecту" и т.п. Фиксацию положения утеплителя обеспечивают стальными шпильками, устанавливаемыми после укладки на него стальной сетки.

После полного затвердения штукатурку в соответствии с проектом прорезают на всю толщину горизонтальными и вертикальными деформационными швами шириной 6 мм с шагом не более 15м.

Крайний вертикальный шов должен располагаться не ближе 150 мм от угла фасада здания. Затем горизонтальные швы заделывают отверждающейся мастикой (силиконовой или тиоколовой).

Отделку цоколя выполняют из материалов повышенной прочности и декоративности, допускающих их очистку и мойку (например, из лицевого кирпича, плит из натурального или искусственного камня, керамической и стеклянной плитки и т.п.).

Нанесение растворов, армирующей сетки, красок и других компонентов системы осуществляется в соответствии с технологией их применения, разработанной фирмой "ХАНТЕР-СТАР".

1.5. Основные конструктивные решения системы приведены на рис. 1-3.

1.6. Особенности конструктивных решений системы для участков стены с проемами показаны на рис. 4-6.

1.7. На рис. 7 показаны способы утепления участков стен в местах расположения температурных швов, на рис. 8 - решение цокольного узла системы, на рис. 9 -решение стены с пилястрой, на рис. 10 - устройство горизонтального пояса, на рис. 11 - конструкция подвижного кронштейна с распорным дюбелем.

2. Назначение и допускаемая область применения системы.

Назначение системы.

2.1. Новое строительство и реконструкция жилых, общественных и промышленных зданий нормального и пониженного уровня ответственности.

Допускаемая область применения

2.2. По геологическим и геофизическим условиям - обычные условия строительства.

2.3. По природно-климатическим условиям:

- допускаемое нормативное значение ветрового давления (отсоса), кПа (кгс/кв. м), устанавливается на основе прочностного расчета механического крепления теплоизоляционного слоя к основанию (см. п. 4.3.6);

- допускаемая расчетная зимняя температура наружного воздуха, °С - не ниже минус 30;

- допускаемая зона влажности (по СНиП 11-3-79*) - сухая, нормальная;

- допускаемая степень агрессивности наружной среды - в соответствии с принятыми в проекте конкретными техническими решениями.

2.4. По условиям прочности утепляемой стены - не менее 3,5 МПа (35 кгс/кв.см).

2.5. По условиям эксплуатации объектов:

- степень огнестойкости объектов, в которых применяют систему, определяется принятыми в проекте объемно-планировочными и конструктивными решениями;

- класс пожарной опасности системы - КО, предел распространения огня - равен нулю;

- допускаемая относительная влажность воздуха в помещениях 75% - для объектов нормального уровня ответственности и 85% - для объектов пониженного уровня ответственности.

2.6. Гарантируемый фирмой «ХАНТЕР-СТАР» срок эксплуатации системы - 10 лет.

3. Обоснование принятых показателей назначения, безопасности и надежности системы.

Соответствие указанных в разделе 3 настоящего приложения допускаемых показателей и параметров применения системы обязательным требованиям российских нормативных документов установлено на основе:

анализа и оценки требований к системе и ее компонентам, а также их реализации в проектной документации [7.1-7.2];

результатов рассмотрения и экспертизы технических решений системы и проектной документации на объекты [7.3-7.5];

результатов сертификации проектной документации и компонентов системы в Системе сертификации ГОСТ Р [7.6-7.7];

- результатов физико-технических испытаний [7.8];

- результатов санитарно-технических испытаний компонентов системы [7.9-7.11];

-результатов пожарных испытаний компонентов системы [7.12-7.14];

- гарантийных обязательств фирмы «ХАНТЕР-СТАР» [7.15].

4. ТЕХНИЧЕСКИЕ ТРЕБОВАНИЯ К СИСТЕМЕ.

4.1. Материалы и изделия, используемые при возведении объектов с применением системы, должны полностью отвечать требованиям следующих нормативных документов, указанных в табл. 5.3.

Таблица 5.3

Наименование компонента

Шифр нормативных документов

Минераловатная жесткая плита из базальтового волокна на синтетическом связующем.

Типовой допуск Министерства окружающей среды Финляндии № 32/612/121/95.

Кронштейны подвижные из нержавеющей стали.

Технические условия № TECH-G320-148/1, внутренний документ производителя.

Сетка арматурная.

Карта продукции № JSA, внутренний документ производителя.

Штукатурные растворы.

Разрешение Государственного технического исследовательского Центра (VTT) № 2057/390/87, Разрешение Центра технического контроля (ТТК) Финляндии № 177/52/ВЕТ

4.2. Технические решения, применяемые в системе должны полностью отвечать обязательным требованиям российских нормативных документов, указанных в таблице 5.4.

Таблица 5.4.

Наименование конструкции

Шифр нормативного документа

на продукцию

на метод контроля

Система ТЕРМОФАСАД

Технические условия на систему

СНиП II-23-81 * (изд. 1990г)

СНиП II-3-79* (изд. 1995г.)

СНиП 2.01.01.96                      СНиП 2.01.07.85

СНиП 21-01-97                        СНиП 2.03.11-85

ГОСТ 21779-82                        ГОСТ 23616-79

ГОСТ 26433.1-89                     ГОСТ 26433.2-94

ГОСТ 12.3.035-84

ГОСТ 30247.0.-94

ГОСТ 28574-90

ГОСТ 28575-90

4.3. Кроме обязательных требований, содержащихся в нормативных документах п. 4.2, система должна удовлетворять следующим требованиям:

4.3.1. На этапе проектных работ необходимо выполнение расчетов, устанавливающих соблюдение прочностных и теплотехнических требований к системе. При этом методы расчета и расчетные характеристики применяемых материалов должны соответствовать требованиям российских нормативных документов или результатам испытаний, проведенных по стандартным или специальным российским методикам.

4.3.2. Приемка строительной организацией компонентов системы, хранение компонентов системы на строительной площадке, оценка состояния поверхности стены, нанесение компонентов системы на стену, крепление плит утеплителя к основанию с помощью дюбелей также проведение ремонта повреждений системы должны выполняться в соответствии с требованиями фирмы «ХАНТЕР-СТАР».

4.3.3. Крепление плит утеплителя дюбелями должно обеспечить восприятие системой вертикальной нагрузки от ее собственного веса и горизонтальной нагрузки от отсоса возникающего при действии ветрового давления на стену.

4.3.4. Допускаемое расчетное выдерживающее усилие на подвижный кронштейн при несущей части стены из кирпича, тяжелого бетона и подобных материалов 0,3 кН. Тип дюбеля выбирается по каталогам в соответствии с рекомендациями предприятий-изготовителей дюбелей.

4.3.4. Количество дюбелей на 1 кв.м стены определяют расчетом, исходя из конкретных условий строительства, высоты объекта, конструктивного решения системы, расчетной прочности дюбеля, работающего одновременно на растяжение от отсоса (отрицательного ветрового давления) и поперечную силу от утеплителя и штукатурного слоев, и других факторов.

4.3.5. Расчет дюбелей производят для двух зон объекта рядовой и крайней, прилегающей углу, для которой значение ветрового напора принимают с учетом повышающего динамического коэффициента, равного 2.

Ширину крайней зоны принимают равной 0,125 протяженности объекта, но не менее 1м и более 2 м.

Количество дюбелей определяется: исходя из расчетного напряжения в дюбеле (формула 1)

nд=Nв(P1l12l2)/RдFдWд                                                      (1)

или исходя из расчетной прочности дюбеля на изгиб (формула 2):

nд=(P1l12l2)/Мд                                                    (2)

где: Nв - расчетное растягивающее усилие в дюбеле от отсоса (ветрового отрицательного давления), Н (кгс);

P1 - расчетный собственный вес утеплителя, Н (кгс);

l1 - расстояние от основания до центра тяжести утеплителя, см;

Р2 - расчетный собственный вес защитного штукатурного слоя, Н (кгс);

l2 - расстояние от основания до центра тяжести защитного штукатурного слоя, см;

FдWд - площадь, см2; момент сопротивления, см3 одного дюбеля;

Rд - расчетное напряжение в одном дюбеле. Па (кгс/см2);

Мд - расчетная изгибающий момент, воспринимаемый дюбелем. Па (кгс»см);

n - количество дюбелей. Значения Nв, P1, Р2 принимают на 1 кв.м. стены.

В качестве расчетного количества дюбелей принимают наихудший результат.

Марка кронштейна

Материал основания

Глубина анкеровки, мм.

Диаметр дюбеля, мм.

Тип анкера

А1.50

Бетон

Не менее 40

По расчету, не менее 5

Распорный дюбель фирмы «FISCHER» (Германия) или фирмы «SORMAT OY» (Финляндия)

А1.60

А1.70

Кирпич и камни керамические полнотелые

А1.80

А1.100

А1.120

Кирпич и камни силикатные полнотелые

Блоки бетонные полнотелые

А1.140

А1.160

Шпилька 140

Трехслойные стеновые панели при толщине наружного бетонного слоя ³40 мм

Тоже

Кирпич и камни керамические пустотелые

Кирпич и камни силикатные пустотелые

Блоки керамические пустотелые

Блоки бетонные пустотелые

На толщину стены

По проекту

4.3.7. Схему расстановки дюбелей в конкретных объектах устанавливают на основе расчета с учетом всех влияющих факторов, в том числе:

- геометрических характеристик объекта в плане и по высоте;

- расчетного значения ветрового давления (отсоса) в районе строительства;

- прочностных характеристик основания стены;

- предельных отклонений поверхности стены до ее выравнивания от ее поверхности после выравнивания.

4.3.8. Область применения подвижных кронштейнов приведена в таблице 5.5.

5.1. Типовые узлы и детали

1 - Кронштейн А 1

2 - Дюбель распорный

3 - Шпилька

4 - Сетка стальная оцинкованная

5 - Штукатурка

Рис. 1. Крепление утеплителя с помощью подвижного кронштейна

1 - Оконный проем

2 - Дверной проем

3 - Вертикальный температурный шов

4 - Горизонтальный температурный шов

5 - Элемент крепления - кронштейн

6 - Дополнительная сетка сеч. 250´400 на шпильках - гвоздях с шайбой ШI

Рис. 2. Схема расположения элементов крепления - кронштейнов в стене у проемов, в углу здания, у температурных швов штукатурного слоя.

1 - Шпилька

2 - Кронштейн А1

Рис. 3. Рекомендуемая расстановка подвижных кронштейнов.

1,2 - Штукатурка по стальной сетке - см. пояснительную записку

3 - Слив С2

4 - Костыль К1 с шагом 600

5 - Окно деревянное

6 - Подоконник железобетонный или деревянный

7 - Деревянная антисептированная прокладка с шагом 600

8 - Минеральная плита

9 - Минеральная плита

10 - Подвижный кронштейн

12 - Минеральная плита

13 - Минеральная плита

14 - Гвоздь с шагом 600

Рис. 4 Узел сопряжения оконного слива и Системы утепления.

1, 2 - Штукатурка по стальной сетке

3 - Элемент крепления

4.- Минеральная плита = 100 кг/м3

5 - Минеральная плита у=30 кг/м3

6 - Нащельник С5

7 - Отверждающаяся мастика

9 - Минеральная плита

13 - Внутренняя штукатурка

14,15 - Деревянная раскладка по ГОСТ 8242-75, крепить шурупом 1-4´20 с шагом 600

16 - Окно деревянное

Рис. 5. Узел сопряжения оконной перемычки и Системы утепления.

1 - Штукатурка по стальной сетке

2 - Штукатурка по стальной сетке

3 - Минеральная плита у= 100 кг/м3

4 - Шпилька

5 - Отверждающаяся мастика

6 - Нащельник

7 - Минеральная плита

10 - Минеральная плита у=30 Кг/м3

11 - Деревянная раскладка тип 2. ГОСТ 8242-75

12 - Гвоздь К6´150 с шагом 600 - ГОСТ 4028-63*

13 - Деревянная антисептированная пробка Æ 30 L=100 с шагом 600

14 - Деревянная антисептированная прокладка с шагом 600

15 - Окно деревянное

Рис. 6. Узел сопряжения вертикального оконного откоса и Системы утепления.

1 - Штукатурка по стальной сетке

2 - Отверждающаяся мастика

3 - Плитка облицовочная

4 - Элемент крепления

5 - Слив

6 - Минеральная плита

7 - Шуруп

8 - Анкер

9 - Деревянная рейка

10 - Деревянная пробка с шагом 500

* - Открытый шов 6 мм

Рис. 7. Варианты устройства температурных швов,

* Отметка верха цоколя

Рис. 8. Примыкание Системы утепления к облицованному кирпичом цоколю.

1,2 - Штукатурка по стальной сетке - см. пояснительную записку

3 - Элемент крепления - см. узел "Б" док-2

4 - Минеральная плита g=100 кг/м3

5 - Шпилька-гвоздь по проекту

Рис. 9. Решение стены с пилястрой

1,2 - Штукатурка по стальной сетке - см. пояснительную записку

3 - Слив С4

4 - Костыль К1 с шагом 500

5 - Элемент крепления - см. узел "Б" док-2

6 - Шпилька-гвоздь - по проекту с шайбой Ш1, шаг 400

7 - Минеральная плита

8 - Винт самонарезающий В5´25 с шагом 500

Рис. 10. Горизонтальный пояс.

1-Кронштейн А1

2 - Шпилька

3 - Дюбель распорный

Марка изделия

А1.50

А1.60

А1.70

А1.80

А1.100

А1.120

А1.140

А1.160

Шпилька

Дюбель

Длина*, мм (1)

50

60

70

80

100

120

140

160

140

40

Масса** изд., г

17,12

17,62

18,12

18,89

19,66

22,54

24,43

26,32

14,18

6,14

* длина кронштейна соответствует толщине плит теплоизоляции

** нержавеющая сталь

Рис. 11. Подвижный кронштейн с распорным дюбелем

6. АЛЬБОМ ТИПОВЫХ АРХИТЕКТУРНЫХ ДЕТАЛЕЙ СИСТЕМ НАРУЖНОГО УТЕПЛЕНИЯ ЗДАНИЙ

6.1. Для разработки накладных элементов фасадов жилых зданий за основу были взяты образцы классического наследия, широко применявшиеся в строительной практике в послевоенный период в г. Москве при возведении как жилых, так и общественных зданий.

Одновременно с классическими, сегодня нашли широкое применение более простые и стилизованные архитектурные элементы и детали, которые соответствуют современным индустриальным и технологическим методам строительства.

Для решения технических задач по конструкции и технологии изготовления легких накладных архитектурных элементов и деталей они были систематизированы на две основные группы: накладные элементы и объемные элементы. Накладные элементы, в свою очередь подразделены на различные геометрические типы: линейные, дугообразные, круглые и прямоугольные (медальоны, порталы, замковые камни); комбинированные (пилястры с различными декоративными элементами) и др.

6.1.1. К накладным архитектурным элементам фасада относятся:

порталы входных дверей и их обрамление, фронтоны (сандрики) для окон и подоконные карнизы, карнизы жилых домов, венчающие здание, а также профилированные карнизы и пояски, располагающиеся на различных отметках наружных стен здания, дающие возможность расчленить здание по высоте на различные объемы в зависимости от общего композиционного решения фасада (образцы типовых архитектурных деталей даны в приложении рис. 6.1-6-9).

Фронтоны (сандрики) для окон и дверей могут являться и самостоятельными композиционными элементами (без обрамления), либо объединяться с подоконными карнизами и филенками, обрамляющими окна или двери. Фронтоны окон и порталы дверей могут выполняться как треугольной формы, так и в виде полукружева, раковины или отдельных накладных элементов.

Обрамляющие филенки окон и дверей, а также фронтоны (сандрики) окон и дверей могут быть выполнены из гладкого профиля либо из филенок различной толщины и профиля. Подоконные филенки могут быть также различного профиля и сечения, а в некоторых случаях с целью усиления архитектурного акцента, могут быть дополнены поддерживающим лопатками.

6.2. Накладные архитектурные детали из пенополистирола.

6.2.1. Легкие накладные архитектурные детали,. вместе с основанием, которым является внешняя сторона наружных стен зданий, должны представлять единую оригинальную архитектурную композицию для конкретного здания, способную сохраняться без видимых изменений в течение десятков лет, подвергаясь атмосферные, а в некоторых случаях (например на цокольной части стены) и механическим воздействиям. Этому требованию должна отвечать архитектурная деталь жестко и надежно закрепленная на основании и защищенная специальной оболочкой (например, армированной штукатуркой) от атмосферных, и, в случае необходимости, от механических воздействий. Таким образом, в общем случае мы должны рассматривать четыре группы материалов:

- материалы для изготовления заданной архитектурной формы;

- материалы для создания защитной оболочки архитектурной формы;

- материалы и изделия для крепления архитектурной формы на основании;

-материалы для отделки архитектурной формы (придания нужного цвета и фактуры поверхности архитектурной формы).

Основанием, на котором крепится архитектурная деталь, является наружный слой 3-х слойных панелей наружных стен. В зданиях, строящихся в г. Москве, этот слой выполняется из тяжелого бетона марки В 15 или из конструктивного керамзитобетона марки В 12,5, его толщина изменяется от 70 до 90 мм. Таким образом, наружный слой панели является достаточно надежным основанием для крепления на нем архитектурных деталей.

6.2.2. Материал для изготовления архитектурной формы должен отвечать следующим требованиям:

- быть достаточно легким, чтобы его монтаж на основании мог выполняться вручную двумя рабочими;

- должен вырабатываться достаточно простыми и доступными технологическими приемами для придания ему заданной формы;

- сохранять заданную форму, как минимум, до затвердения защитной оболочки;

- обладать достаточной адгезией к клеящей массе, посредством которой он закрепляется на основании или, с этой целью, должен быть снабжен системой закладных деталей и анкеров.

Расчетным усилием, на которое должна быть рассчитана связь архитектурной детали с основанием, является ее собственный вес с возможной снеговой нагрузкой и усилие ветрового напора или отсоса.

В этом разделе для изготовления заданной архитектурной формы будет рассмотрен только пенополистирол, как материал, наиболее широко применяемый в г. Москве для рельефной отделки фасадов зданий и полностью отвечающий изложенным выше требованиям.

Для создания рельефных архитектурных форм преимущественно применяется пенополистирол двух марок: ПСБ-СМ-25 предприятия "ТИГИ-КНАУФ" (г. Красногорск Московской области) и ЦСБС-25-Ф предприятия ОАО "Мосстройпластмасс" (г. Мытищи Московской области).

Технические характеристики этих изделий примерно одинаковые:

- плотность кг/м3                                                                                      - 15 - 16,8;

- прочность на сжатие при 10% линейной деформации, МПа           - 0,094-0,1;

- предел прочности при изгибе, МПа                                                     - 0,16-0,175.

Предприятие "ТИГИ-КНАУФ" выпускает только плиты прямоугольной формы разной толщины, из которых потребитель должен сам нарезать или вырезать элементы нужной ему формы.

Предприятие ОАО "Мосстройпластмасс" выпускает линейные и дугообразные элементы, поперечное сечение которых (профиль элемента) определяет заказчик. Длина линейных элементов - 1200 мм (определяется шириной блока, из которого вырезается изделие) Предельные габариты дугообразных элементов определяются размерами плиты, из которой они вырезаются. Длина и ширина плиты составляют соответственно 5600 мм´1270 мм. Толщина плиты выбирается, исходя из размеров поперечного сечения дугообразного изделия.

Изделия, выпускаемые предприятием ОАО "Мосстройпластмасс" могут быть использованы для устройства карнизов, поясков, пилястр, сандриков, наличников, обрамлений входов и других архитектурных элементов зданий.

Поскольку размеры выпускаемых деталей не совпадает с размерами архитектурных фасада зданий (например, поясок на фасаде может быть длиной десятки метров), архитектурный элемент может монтироваться из нескольких или многих деталей, соединенных на фасаде в единое целое. При этом могут сочетаться детали различной формы, как, например, оконные наличники, в которых сверху врезан замковый камень или пилястра в виде плоской колонны с канелюрами, у которой сверху и снизу плоские стилизованные основание и капитель.

Часто возникает необходимость на месте (на стройплощадке) доработать форму детали из пенополистирола. Например, короткий поясок определенного профиля в поперечном сечении должен повторять этот профиль в продольном сечении на торцах детали. Эта операция может выполняться ручным резаком, либо нагретым до температуры не менее 200°С, либо холодным, но с последующей обработкой вырезанной поверхности наждачной шкуркой. Таким способом можно вырезать небольшие детали сравнительно простой формы, например, замковые камни, круглые или прямоугольные розетки и др.

6.2.3. Для выполнения операций по устройству защитной оболочки на детали из пенополистирола, приклеивания архитектурной детали к основанию, грунтовки поверхностей, подлежащих обработке, окончательной отделке поверхности и т.п. необходимо применять составы и материалы, принятых в системах многослойной наружной теплоизоляции зданий, на которые имеются технические свидетельства Госстроя РФ. В том числе, это могут быть следующие системы: "Синтеко", "Драйвит", "Текс-Колор", "Капатект" и др. То есть, если для подготовки поверхности основания (грунтовки) используется материал из системы "Синтеко", то для приклеивания защиты и отделки фасада следует применять материалы и составы из этой же системы. В противном случае следует провести испытания на совместимость всех, применяемых материалов. Технические свидетельства Госстроя РФ каждой системы содержат данные о том, какие материалы и составы следует применять для обеспечения высокого качества и долговечности отделки, в том числе, при их совместной работе в конструкции.

6.2.4. Материалы для создания защитной оболочки архитектурной формы должны отвечать следующим требованиям:

- быть достаточно пластичными для точного воспроизведения заданной архитектурной форма при этом толщина защитной оболочки не должна превышать 4-6 мм;

- надежно защищать рельефную отделку фасада от атмосферных воздействий и выдерживать перепады температур согласно ГОСТ 11024-84 при Мрз50;

- в местах, где стена подвергается механическим воздействиям, защитная оболочка должна быть повышенной прочности, если требуется, она может быть армирована "панцирной" стеклополимерной сеткой, ее толщина может быть увеличена до 8 мм.

Защитная оболочка наносится на деталь из пенополистирола до ее установки на основание, отдельно на каждый монтажный элемент. В качестве защитной оболочки обычно используется тонкая штукатурка, армированная стеклополимерной сеткой.

Для этого, например, в системе "Синтеко" используется; клей сухой специализированный для систем теплоизоляции (рецепт № 51), выпускаемый ОАО "Опытный завод сухих смесей" (г. Москва) и армирующие сетки ССКО 5´5 и ССК 5´5 ОАО "Тверьстеклопластик" (г. Тверь) В системе "Драйвит" применяется клеевой состав "Драйфлекс", а в системе "Текс-Колор" - состав ОК 1000 и т.п. Клеевой состав наносится в два приема: до и после установки сети Защитной оболочкой покрывается вся деталь из пенополистирола за исключением ее тыльной стороны, которая будет в контакте с основанием. На тыльную сторону защитная оболочка заводится только полосой шириной, примерно, - 50 мм по всему периметру тыльной стороны. Монтаж детали на основание можно производить через 24 часа после твердения защитной оболочки.

6.2.5. Фасадная поверхность панелей наружных стен (основание), на которой будут укреплены архитектурные детали, должна быть подготовлена для выполнения этой работы. Она должна быть очищена от строительного раствора, высолов, плесени и других загрязнений. Желательно эту работу выполнять механическим способом, и если есть необходимость, с применением специальных средств. Строительное основание должно быть сухим защищенным от увлажнения. Если на основании имеются отклонения от плоскости более чем ±1 см на 1 м2 поверхности, их следует устранить соответствующим строительным раствором.

Перед наклейкой архитектурных деталей на основание место наклейки должно быть огрунтовано специальным составом. В системе «Синтеко» грунтовку основания следует выполнять составом "Интеко-И" предприятия ЗАО "Интекострой"

6.2.6. Материалы и изделия для крепления деталей архитектурной формы на основании должны отвечать следующему требованию:

- обеспечить жесткую, плотную и надежную связь без зазоров архитектурной детали с основанием минимум на 10 лет.

Средствами крепления архитектурных деталей на основании могут быть клей, анкерные устройства (дюбели) и различные закладные детали.

Клей почти во всех случаях является обязательным компонентом крепления, поскольку, благодаря этому обеспечивается плотное, без зазоров примыкание детали к основанию,

Остальные средства применяются по мере необходимости, которая определяется, в том числе, расчетом, учитывающим усилия, приведенные в п. 6.2.2.

Перед установкой детали на основание на ее тыльную поверхность шпателем наносится клеевой состав в виде сплошной полосы шириной 50 мм по всему периметру задней грани детали и внутри периметра несколько лепешек диаметром 60-80 мм.

Архитектурная деталь со свежеуложенной клеевой массой вручную прижимается к основанию строго в проектном наложении. Прижим продолжается до тех пор, пока вся клеевая масса не будет иметь надежный контакт с основанием.

В случаях, когда необходимо применить дополнительное крепление дюбелями, сверление отверстий проводят только после высыхания клеевого состава, чтобы избежать смещения деталей во время сверления. Практика показала, что крепление дюбелями применяется в случаях, когда толщина архитектурной детали более 100 мм.

В отличии от клеевых, штукатурных, грунтовочных и отделочных составов, которые должны относиться к одной какой-либо системе многослойной теплоизоляции, дюбели могут быть любые, они только должны соответствовать расчетным данным по несущей способности и иметь шляпку такой формы и размера, которая не исказит форму архитектурной детали. Могут применяться дюбели ЗАО "Инфокосмос", "EJOT", "Capatect", "Hilti" и др.

В монтажных элементах заранее следует сделать углубление для шляпок дюбелей.

6.2.7. После выполнения работ по креплению всех монтажных элементов архитектурной детали на основание дополнительно устраивается защитная оболочка на стыках монтажных элементов между собой, на шляпках дюбелей и на стыке монтажных элементов с основанием. Последняя выполняется сплошной полосой шириной 100 мм, при этом из них 50 мм остаются на монтажных элементах, а 50 мм заводится на основание (рис. 6.1). Для устройства дополнительной защитной оболочки используются те же материалы и приемы, о которых говорилось в п. 3.4. Для твердения дополнительной защитной оболочки отводится 24 часа.

6.2.8. После твердения дополнительной защитной оболочки выполняется тонкая выравнивающая штукатурка всей архитектурной детали и основания в местах их соединения. В системе "Синтеко" для этой работы применяют клей сухой специализированный для систем теплоизоляции по рецепту № 52, которой выпускается ОАО "Опытный завод сухих смесей". Толщина слоя выравнивающей штукатурки 2-3 мм. Выравнивающая штукатурка наносится вручную шпателями и разравнивается правилами и терками, а в случаях сложного профиля следует использовать шаблоны, соответствующие обрабатываемому профилю. Для твердения выравнивающей шпатлевки тоже требуется 24 часа.

6.2.9. После выравнивающей штукатурки и соответствующей грунтовки поверхности выполняется декоративная отделка фасада. Применяемые при этом материалы и технология выполнения работ зависят от принятого решения по отделке фасада. Это может быть окраска разных цветов и фактуры, декоративная штукатурка, различные декоративные покрытия и т. п. Для примера - в системе "Синтеко" для финишной отделки применяют декоративно-окрасочный состав на акриловом связующем "Интеко-У", выпускаемый ЗАО "Интекострой" (г. Москва).

6.2.10. Следует иметь в виду, что долговечность рельефной отделки в большой степени зависит от технического решения влагоудаления с ее выступающих элементов. Прежде всего, верхние плоскости архитектурных деталей должны иметь уклон, обеспечивающий гарантированное удаление воды. То же относится и к другим поверхностям архитектурных деталей. Их форма не должна содержать элементов, где может задерживаться вода. В случае отсутствия надежного уклона на архитектурной детали сверху устраивается слив из оцинкованного стального листа. Стык слива с основанием желательно заделать герметиком (рис. 6.2).

Архитектурные детали по величине наиболее выступающей относительно основания части можно разделить на 3 группы: малые, средние и крупные. К малым относятся такие, у которых величина выступающей части не более 100 мм, к средним - от 100 до 350 мм, к крупным - свыше 350 мм.

Малые архитектурные детали можно крепить к основанию с помощью только клеевого состава, средние - крепятся клеевым составом и дюбелями. Кроме того, над средними деталями, если они выступают относительно основания более 150 мм, должен устраиваться слив из оцинкованной листовой стали или другого металла. Крупные архитектурные дета должны крепиться на основании как средние - клеевым составом, дюбелями и укрываться сливами, но, в отличие от средних, сливы не должны опираться на архитектурную деталь, а иметь собственную несущую конструкцию.

Верхнюю плоскость архитектурных деталей, над которыми отсутствует слив, желательно дополнительно покрывать гидрофобным составом.

6.2.11. Выше изложен общий случай выполнения технологических операций по рельефной отделке фасадов зданий, когда фасад целиком или те его участки, где имеются накладные архитектурные детали, окрашиваются или отделываются другим способом целиком, т.е. архитектурные детали вместе с основанием. Однако, часто могут встретиться случаи, когда фасадная поверхность панелей наружных стен окончательно отделана на заводе и после монтажа не требуется ни каких дополнительных средств для отделки фасада, кроме установки архитектурных деталей. В этом случае устроить дополнительную защитную оболочку на стыке детали с основанием с заведением ее на основание, как изложено в п. 6.2.7., сделать нельзя. Вместо этого стык между архитектурной деталью и основанием дополнительно защищается герметиком (рис. 6.3). При этом все технологические операции по установке и креплению на основании архитектурных деталей должны выполняться очень аккуратно, чтобы избежать порчи и загрязнения готовой поверхности фасада в зоне производства работ.

6.2.12. Могут допускаться и другие отклонения от последовательности выполнения технологических операций, изложенных п.п. 6.2.4 - 6.2.10. Например, в случае применения деталей небольших размеров простой геометрической формы может оказаться технологически более удобным сначала укрепить их на стеке и после высыхания клеевой массы, посредством которой детали крепили на основании, выполнить работы по устройству защитной оболочки. Это позволит за один прием покрыть всю архитектурную деталь, включая стыки между отдельными монтажными элементами, и завести защитную оболочку на основание по всему периметру архитектурной детали (рис. 6.4). На рис. 6.5 и 6.6 изображается устройство сандриков из линейных и дугообразных элементов и обрамление оконных проемов.

6.2.13. Объемные архитектурные детали в зависимости от их геометрической формы могут быть изготовлены одним из приемов, изложенных в предыдущих разделах и целиком или по отдельным частям, которые затем склеиваются соответствующими клеевым составами.

Например, фирма "Инфокосмос" балясины и полубалясины вырезает из пенополистирола с последующим покрытием защитной оболочкой. Такие материалы как фенолъные или карбамидные пенопласты позволяют отлизать половинки деталей круглого сечения в соответствующих формах. Объемные архитектурные детали могут быть вырезаны из дерева, пропитанного антисептическими составами покрытого защитной, декоративной оболочками и т.п. Таким образом, в каждом отдельном случае следует выбрать наиболее эффективные материалы и способы изготовления объемных архитектурных деталей.

Таблица 6.1

Основные параметры, рассматриваемых архитектурных элементов

На пог. м изделия

 

изд.

Промежуточный карниз

Обрамление окна

Объем изделия

м3

0,088

0,0046

Отходы материалов при производстве работ

 

 

 

- из пенополистирола

м3

0,047

0,0021

- из фенольного и карбомидного пенопласта

м3

0,004

0,0002

Площадь устройства защитной оболочки

м2

1,08

0,295

Площадь отделки

м2

0,98

0,195

Площадь приклеивания

м2

0,45

0,15

Таблица 6.2

Расход материалов на отделку и монтаж архитектурных элементов в системе "Синтеко"

На пог. м изделия

Материалы

Норма

Промежуточный карниз

Обрамление окна

Армирующая стеклосетка

1,1 м2

1,188

0,324

Состав №5 для штукатурки армированного слоя

11 кг/м2

11,88

3,245

Выравнивающий состав

3 кг/м2

3,24

0,885

Декоративный состав №50

4,2 кг/м2

4,116

0,819

Клеевой состав №51

10 кг/м2

4

1,5

Грунт по поверхности стены и детали

3 л/м2

4,5

1,035

Дюбели 5ДМ-Т8/600-200

1 шт/п.м

1

-

1. Архитектурная деталь из пенополистирола.

2. Полоса клеевого состава по всему периметру задней поверхности детали.

3. Лепешка клеевого состава.

4. Дюбель.

5. Тонкая штукатурка, армированная стеклосеткой, по всей открытой поверхности с заведением на заднюю поверхность на 50 мм, наносится до установки детали на основание (защитная оболочка).

6. Полоса тонкой армированной штукатурки по всему периметру стыка архитектурной детали и основания.

Рис. 6.1 Карниз промежуточный.

1. Архитектурная деталь из пенополистирола.

2. Полоса клеевого состава по всему периметру задней поверхности детали.

3. Лепешка клеевого состава.

4. Дюбель.

5. Тонкая штукатурка, армированная стеклосеткой по всей открытой поверхности с заведением на заднюю поверхность на 50 мм, наносится до установки детали на основание (защитная оболочка).

6. Герметик по всему периметру стыка детали и основания.

7. Слив из оцинкованной листовой стали.

8. Дюбель с шурупом.

Рис. 6.2 Карниз промежуточный со сливом.

1. Архитектурная деталь из пенополистирола.

2. Полоса клеевого состава по всему периметру задней поверхности детали.

3. Лепешка клеевого состава.

4. Дюбель.

5. Тонкая штукатурка, армированная стеклосеткой, по всей открытой поверхности с заведением на заднюю поверхность на 50 мм, наносится до установки детали на основание (защитная оболочка).

6. Герметик по всему периметру стыка детали и основания.

Рис. 6.3 Карниз промежуточный с герметиком.

1. Архитектурная деталь из пенополистирола.

2. Полоса клеевого состава по всему периметру задней поверхности детали.

3. Лепешка клеевого состава.

4. Дюбель.

5. Тонкая штукатурка, армированная стеклосеткой, покрывает всю поверхность архитектурной детали и по всему периметру заводится на основание (защитная оболочка).

Рис. 6.4 Карниз промежуточный с защитной оболочкой, выполненной после монтажа деталей на основание.

1. Архитектурная деталь из пенополистирола.

2. Тонкая штукатурка армированная стеклополимерной сеткой (защитная оболочка).

3. Сплошная полоса клеевого состава.

4. Дюбель.

5. Герметик.

6. Полоса армированной штукатурки заходит на откос.

Рис. 6.5 Сандрик с оконным обрамлением.

1. Архитектурная деталь из пенополистирола.

2. Тонкая штукатурка армированная стеклополимерной сеткой (защитная оболочка).

3. Сплошная полоса клеевого состава.

4. Полоса армированной штукатурки заходит на откос.

5. Дюбель.

6. Герметик.

Рис. 6.6 Сандрик из дугообразных элементов с оконным обрамлением.

МЭ - монтажный элемент.

1. Основание.

2. Деталь из пенополистирола.

3. Защитная оболочка.

4. Полоса клеевого состава.

5. Дюбель.

6. Полоса тонкой штукатурки, армированная стеклополимерной сеткой.

7. Герметик.

Рис. 6.7 Пилястра.

Для монтажа архитектурная деталь готовится в приобъектной мастерской. Форма детали вырезается целиком из плиты пенополистирола толщиной 200 мм или склеивается из отдельных кусков. Здесь же деталь покрывается защитной оболочкой, которая должна затвердеть до монтажа детали на основание.

1. Основание

2. Деталь из пенополистирола

3. Защитная оболочка (тонкая штукатурка, армированная стеклополимерной сеткой.

4. Полоса клеевого состава по периметру задней стенки архитектурной детали

5. Лепешка клеевого состава

6. Дюбель

7. Герметик по всему периметру стыка архитектурной детали и основания

Рис. 6.8 Сандрик.

1. Архитектурная деталь из пенополистирола

2. Защитная оболочка (тонкая штукатурка, армированная стеклополимерной сеткой)

3. Полоса клеевого состава по всему периметру

4. Лепешка клеевого состава

5. Дюбель

6. Полоса тонкой армированной штукатурки заходит на основание

7. Основание

8. Слив из оцинкованного стального листа

9. Уголок 50 мм для крепления слива

10. Дюбель для крепления уголка

11. Болт с гайкой

12. Герметик

Рис. 6.9. Венчающий карниз.

7. ТИПОВЫЕ ДЕФЕКТЫ И СПОСОБЫ ИХ УСТРАНЕНИЯ

Работы по наружной теплоизоляции зданий часто осуществляются без проведения работ по обследованию и сбору сведений о здании, испытанию поверхности стены на адгезию клеящего состава, разработки проектно-сметной документации, с нарушениями технологии производства работ.

В ходе изучения зарубежного опыта и обследований фасадов зданий с наружной теплоизоляцией, ГУ Центр «ЭНЛАКОМ» были выявлены типовые причины появления дефектов и способы их устранения при устройстве наружной теплоизоляции стен а, именно:

1. Наружная теплоизоляция выполняется из материалов не имеющих Сертификатов соответствия и с целью удешевления производятся самостоятельная комплектация систем.

2. Работы по устройству наружной теплоизоляции стен производятся без инженерно-технологического контроля со стороны фирм-производителей, поставщиков или; специально назначенных работников.

3. Перед устройством наружной теплоизоляции зданий не всегда полностью закончены работы по устройству кровли, гидроизоляции и отмосток вокруг здания.

4. Применяются материалы, не предусмотренные нормативной документацией:

- плотность, жесткость, водопоглощение и толщина минераловатных или других теплоизоляционных материалов отличается от требуемых;

- применяемые дюбели и их количество, профили для устройства температурных швов, специальные уплотняющие материалы не соответствуют проектным.

5. Нарушается монтаж основных узлов и технология производства работ по устройству наружной теплоизоляции зданий:

- поверхности стен не очищаются от грязи, наплывов бетона или раствора, не исследуются на совместимость с клеящим составом, старая штукатурка не проверяется простукиванием поверхности;

- не производится грунтовка основания;

- неправильно производится наклейка и механическое крепление утеплителя на стены, крепление теплоизоляционных плит к стенам производится не «в разбежку», а таким образом, что четыре угла утеплителя стыкуются в одном месте, что приводит к образованию трещин, последующим протечкам через швы, способствует проникновению влаги и ее распределению по всей площади утеплителя;

- теплоизоляционные плиты армируются стеклосеткой без нахлеста или с недостаточным нахлестом (не менее 10 см.) друг на друга;

- в цокольной части здания не наклеивается панцирная сетка или другой материал, предохраняющий стены от механических воздействий (противовандальная система);

- по углам оконных и дверных блоков не наклеиваются дополнительные куски сетки (косынки) под углом 45, что приводит к образованию деформационных трещин;

- применяется утеплитель ПСБ-С без предварительной выдержки (1 месяц после изготовления);

- кромки углов не защищаются путем установки уголкового профиля или угловой сетки;

- не производится герметизация мест крепления водосливов, примыканий и отверстий;

- оштукатуренные поверхности не огрунтовываются перед окраской;

- применяются лакокрасочные материалы не входящие в состав теплоизоляционной системы и, как правило, имеющие низкую паропроницаемость;

- нарушается температурно-влажностный режим и не соблюдается пооперационный технологический перерыв по отделке фасада системой наружной теплоизоляции.

Неудовлетворительному качеству в большей степени способствует отсутствие проектной документации, нет привязки к конкретному объекту, проработки крепления, защиты узлов и т.д. При этом нередко применяются несертифицированные материалы системы наружного утепления и производится самовольная замена ее компонентов.

Появлению дефектов способствует низкое качество монтажных работ, не обеспечивающих ровность стен, привлечение к работам организаций, не имеющих специальной подготовки и лицензии на производство работ по устройству наружной теплоизоляции, отсутствие технического надзора со стороны соответствующих служб.

На фасадах зданий имеют место протечки и замокания теплоизоляционной системы разрушение штукатурного слоя на ограждающих конструкциях, связанных с дефектами устройства кровли и системы водоотвода в целом (см. рис. 7.7), отсутствие герметизации оконных отливов, плохая герметизация деформационных и температурных швов, отслоение «финишного» покрытия от базового армирующего слоя (рис. 7.2), применение минераловатных плит и клеевых составов по своим свойствам не отвечающих требуемым (рис. 7.1), неправильная наклейка и механическое крепление утеплителя (рис. 7.5) приводит к криволинейности отделочных покрытий. Армирование теплоизоляционных плит (рис. 7.3) без достаточного нахлеста полотнищ стеклосетки друг на друга приводит к появлению трещин на отделочном покрытии. Появлению трещин на отделочном покрытии (рис. 7.6) и его последующему разрушению также способствует выполнение утолщенного штукатурного слоя для исправления неровных, криволинейных поверхностей.

Технология устройства наружной теплоизоляции зданий для отечественной практики относительно нова, поэтому неизбежно появление ряда нарушений производственного характера, которые снижают качество работы всей теплоизоляции.

7.1 Способы устранения дефектов, наиболее часто возникающих в процессе эксплуатации зданий с наружной теплоизоляцией стен

1. Появление выпуклостей, пузырей вызвано отслаиванием теплоизоляционной плиты от основания. На месте указанного брака необходимо снять слой штукатурки до армирующей сетки, дюбелями с широкой шляпкой механически укрепить отошедший от стены утеплитель (на 1 м2 ремонтируемой поверхности - 10 дюбелей). Ремонтируемые поверхности отштукатурить специальным составом, затем после технологического перерыва (10-24 часа) заштукатурить таким образом, чтобы шляпки дюбелей были скрыты, всю стену или до технологических рассечек, а не только ремонтируемую часть, огрунтовать и окрасить.

Не допускается проведения данного вида ремонта при общей площади отслоения системы более 1% и в местах примыканий, устройства деформационных и технологических швов, противопожарных рассечек.

2. Волосяные трещины на отделочном и штукатурном покрытии заполняют высокоэластичным составом, затем затирают при помощи шпателя и валика до толщины имеющейся пленки и окрашивают краской или составом, входящим в теплоизоляционную систему.

3. Широкие трещины расшивают и расчищают до сетки на ширину не менее 10 см., заполняют клеевым составом, предварительно проармировав стеклосеткой, затем после технологического перерыва, всю поверхность стен от угла до угла покрывают специальным декоративным составом, огрунтовывают и окрашивают материалами входящими в систему.

4. Отслоившиеся слои отделочной штукатурки удаляют вместе с армирующей сеткой. Места с обнажившимся утеплителем огрунтовывают, а затем по технологии производства работ вся поверхность оштукатуривается и окрашивается (см. выше).

5. Появление трещин на углах оконных и дверных проемов вызвано тем, что не было произведено дополнительное армирование сеткой, устанавливаемой под углом 45° (косынки). Штукатурку необходимо удалить, произвести дополнительное армирование сеткой, «косынками» и произвести ремонт по технологии указанной выше.

6. Ремонт штукатурки и отделочного покрытия, вызванный механическими повреждениями, производится так же, как описано выше. Толщина штукатурных слоев зависит от глубины повреждений, перехлест сеток ремонтируемых мест должен составлять не менее 10 см.

7.2 Классификация дефектов

Распределение дефектов и нарушений теплоизоляционного покрытия фасадов зданий по видам нарушений, приведены в таблице 7.1.

Таблица 7.1

Виды нарушений

Основные причины выявленных нарушений

1. Полное отслаивание и обрушение системы

1.1 Плиты утеплителя были наклеены без предварительной очистки основания.

1.2 Некачественный клеящий состав.

1.3 Механическое крепление не применялось.

2. Частичное отслаивание системы

2.1 Проникновение воды на уровень плоскости склеивания утеплителя с основанием из-за не выполненных работ по устройству кровли, водостоков, оконных окрытий, невыполненной герметизации водосливов и примыканий.

2.2 Не производится прошкуривание плит ПСБ-С перед нанесением базового армирующего слоя.

2.3 Клей наносится на плиты утеплителя без дополнительных усилий (не втирается).

2.4 Отсутствуют температурные и деформационные швы.

2.5 Плиты не устанавливаются «вразбежку».

2.6 Базовая армирующая сетка находится вне рабочей зоны.

3. Дефекты отделочного покрытия (трещины, отслаивание, вспучивание)

3.1 Большие перепады по высоте на стыкуемых плитах утеплителя.

3.2 Щели между плитами утеплителя заполняются штукатурным раствором.

3.3 Армирование плит стеклосеткой производится без нахлеста полотнищ или с недостаточным нахлестом,

не наклеиваются дополнительные куски сетки «косынки» в углах оконных и дверных блоков.

3.4 Нарушение температурно-влажностного и технологического режимов при производстве работ.

Способы устранения выявленных дефектов и повреждений теплоизоляционного слоя: и полное или частичное отслаивание теплоизоляционного слоя должно быть отремонтировано путем вырезания поврежденных участков, полной очистки основания и восстановления в этом месте всей системы из новых элементов по обычной технологии. Восстановленные участки покрытия должны соответствовать требованиям, предъявляемым к теплоизоляционному слою согласно нормативной документации и требованиям СНиП 3.04.01-87, предъявляемым к отделочным и штукатурным покрытиям.

Рис. 7.1 Применение в качестве утеплителя минераловатных плит не предусмотренных для данного вида работ.

Рис. 7.2 Отсутствие герметизационных отливов, плохая герметизация деформационных и температурных швов приводит к отслоению «финишного» покрытия от «базового» армирующего слоя.

Рис. 7.3 Армирование теплоизоляционных плит без достаточного нахлеста стеклосетки (не менее 10 см) приводит к образованию трещин на отделочном покрытии.

Рис. 7.4 Применение паронепроницаемых лакокрасочных материалов приводит к разрушению отделочного покрытия и базового армирующего слоя.

Рис. 7.5 Нарушения, допускаемые при производстве работ по наклейке и механическому креплению утеплителя (уступ между плитами) приводят к неровности, криволинейности отделочного покрытия.

Рис. 7.6. Исправление неровных поверхностей за счет нанесения дополнительных штукатурных слоев (утолщение отделочного покрытия) приводит к его преждевременному разрушению.

Рис. 7.7 Дефекты устройства кровли и систем водоотвода без применения герметизации приводит к намоканию теплоизоляционной системы и ее преждевременному разрушению.

Рис. 7.8 Механическое воздействие (установка решеток) приводит к разрушению отделочного покрытия.

8. ТЕХНИКА БЕЗОПАСНОСТИ

8.1 При производстве работ по монтажу наружных систем утепления зданий необходимо соблюдать правила техники безопасности, предусмотренных СНиП III-4-80* "Техника безопасности в строительстве", правила пожарной безопасности, предусмотренных "Указаниями по пожарной безопасности для рабочих и инженерно-технических работников строек и предприятий Главмосстроя" и ГОСТ 12.1.004-91 "Пожарная безопасность" и требования ГОСТ 12.3.035-84 "Работы окрасочные".

Рабочие, занятые работами по утеплению фасадов, должны быть обучены приемам работ и безопасным методам труда.

8.2 Работы по утеплению зданий следует выполнять с лесов.

8.3 К работе с пневматическими и механическими инструментами допускаются лица не моложе 18 лет, прошедшие специальное обучение и получившие удостоверение на право работы с этими инструментами, а также аттестованные по первой группе техники безопасности и не имеющие медицинских противопоказаний по данному виду работ.

8.4 Каждый рабочий, пользующийся пневматическим и механическим инструментом, должен знать инструкцию и правила технической эксплуатации инструмента, безопасные способы подключения и отключения инструмента; основные причины неисправности инструментов и безопасные способы их устранения.

8.5 При возникновении неполадок в работе механизмов необходимый ремонт допускается производить только после их остановки и обесточивания.

8.6 Корпуса всех электрических механизмов должны быть надежно заземлены.

8.7 Работники, занятые производством работ по утеплению фасадов, должны быть обеспечены следующими индивидуальными и коллективными средствами зашиты в соответствии с ГОСТ 12.4.011-89, которыми необходимо пользоваться в зависимости от характера выполняемых работ:

спецобувь и спецодежда (ГОСТ 12.4.103-83);

резиновые перчатки (ГОСТ 20010-93);

хлопчатобумажные перчатки (ТУ 17 РСФСР 06-7745-84);

для защиты глаз - очки открытого или закрытого типа; для защиты органов дыхания - противопылевые респираторы РУ-60МА, РПГ-67А, ШБ-1. "Лепесток" (ГОСТ 12.4.028-76*, ГОСТ 17269-71*, РУ-6 ОНУ (ГОСТ 17269-71*).

В комплекс санитарно-технических мероприятий входит обеспечение работающих бытовыми помещениями, санитарно-гигиеническими устройствами (СНиП 2.09.04-87*).

Рабочие, занятые на окрасочных работах, должны проходить приемочную медкомиссию при поступлении на работу и периодические медкомиссии по приказу МЗ №90 от 14.03.96 г.

8.8 При применении состава возможно образование незначительного количества твердых и жидких отходов, они должны быть собраны в специальные емкости и направлены на уничтожение в соответствии с СН 3184-84 "Порядок накопления, транспортирования и захоронения токсичных промышленных отходов". Необходимо строго соблюдать весь комплекс мероприятий по охране окружающей среды. Таким же образом утилизируется продукт по истечении гарантийного срока хранения

8.9 При попадании раствора или полимерной краски на кожу необходимо удалить ее очистителем для рук и промыть водой.

9. ЛИТЕРАТУРА

1. СНиП 2.08.01-89* "Жилые здания".

2. СНиП II-3-79* "Строительная теплотехника" - М.: Стройиздат, 2000г.

3. МГСН 2.01-99 "Энергосбережение в зданиях".

4 СНиП 2.03.01-84* "Бетонные и железобетонные конструкции".

5. СНиП 21-01-97 "Пожарная безопасность зданий и сооружений"

6. СНиП 2.03.11-85 "Защита строительных конструкций от коррозии".

7. СНиП 3.04 01-87 "Изоляционные и отделочные покрытия".

8. ГОСТ 26254-84 "Методы определения сопротивления теплопередаче ограждающие конструкций". М., 1984.

9. ГОСТ 30247.0-94 "Конструкции строительные. Методы испытаний на огнестойкость. Общие требования".

10. ГОСТ 30247.1-94 "Конструкции строительные. Методы испытаний на огнестойкость. Несущие и ограждающие конструкции",

11. ГОСТ 30403-96 "Конструкции строительные. Методы определения пожарной опасности".

12. ГОСТ 9573-96 "Плиты из минеральной ваты на синтетическом связующем теплоизоляционные. Технические условия".

13. ГОСТ 15588-86 "Плиты пенополистирольные. Технические условия".

14. ГОСТ 16289-86 "Окна и балконные двери с тройным остеклением для жилых и общественных зданий". - М.: Госстандарт, 1980.

15. ТУ 1122-080-024946-80-97 "Профили стальные гнутые повышенной жесткости для ограждающих и несущих конструкций".

16. ТУ 5742-004-03515377-97 "Листы гипсоволокнистые", "Авангард КпаиГ".

17. ТУ 5762-010-04001485-96 "Плиты минераловатные на синтетическом связующем".

18. ТР 79-98 "Технические рекомендации по подготовке поверхностей наружных ограждающих конструкций жилых и общественных зданий под отделку при их реконструкции и ремонте".

19. ТР 85-98 "Технические рекомендации по контролю качества материалов, применяемых при отделке фасадов".

20. ТР 117-01 " Технические рекомендации по устройству систем наружного утепления зданий (типа «Синтеко»)".

21. ТС 07-0253-2000/2 " Многослойная теплоизоляционная система «Синтеко»".

22. ТС 07-0253-2000 " Многослойная теплоизоляционная система «Dryvit» с применением оштукатуренного негорючего утеплителя".

23. ТС 07-0261-2000/3 " Многослойные теплоизоляционные системы «Альзекко», «Бейзик» и «Экономик»".

24. ТС 07-0322-2001/4 " Теплоизоляционная система «Хекк-Тисс»".

25. ТС 07-0256-2000/2 " Многослойная теплоизоляционная система «Capatect»".

26. ТС 07-0284-2000/2 " Многослойная теплоизоляционная система «Термофасад»".

27. ТС 07-0288-2000/2 " Многослойная теплоизоляционная система «SERPOROC»".

28. ТС 07-0315-2001/2 " Многослойная теплоизоляционная система «ТЕКС-КОЛОР»".

29. ТС 07-0290-2000 "Сетки стеклянные конструкционные с полимерной пропиткой, (сетки стеклянные «Строби»)".

30. ТС 07-0313-2001/2 " Многослойная теплоизоляционная система «Теплый Дом»".



© 2013 Ёшкин Кот :-)