Информационная система
«Ёшкин Кот»

XXXecatmenu

Система нормативных документов в строительстве

СВОД ПРАВИЛ ПО ПРОЕКТИРОВАНИЮ И СТРОИТЕЛЬСТВУ

ОБЩЕСТВЕННЫЕ ЗДАНИЯ И СООРУЖЕНИЯ,
ДОСТУПНЫЕ МАЛОМОБИЛЬНЫМ ПОСЕТИТЕЛЯМ

СП 35-103-2001

ГОСУДАРСТВЕННЫЙ КОМИТЕТ РОССИЙСКОЙ ФЕДЕРАЦИИ
ПО СТРОИТЕЛЬСТВУ И ЖИЛИЩНО-КОММУНАЛЬНОМУ КОМПЛЕКСУ
(ГОССТРОЙ РОССИИ)

Москва

2001

ПРЕДИСЛОВИЕ

1. РАЗРАБОТАН ГУП «Научно-проектный институт учебно-воспитательных, торгово-бытовых и досуговых зданий» (Институт общественных зданий) Госстроя России - ведущая организация, ЗАО «Архитектурное проектно-исследовательское объединение - Центр» (АПИО-Центр).

2. ВНЕСЕН Министерством труда и социального развития Российской Федерации.

3. ПРЕДСТАВЛЕН Управлением архитектуры и проектных работ, Управлением стандартизации, технического нормирования и сертификации Госстроя России.

4. УТВЕРЖДЕН приказом директора ГУП «Научно-проектный институт учебно-воспитательных, торгово-бытовых и досуговых зданий» (Институт общественных зданий) от 20 июня 2001 г. № 5в.

5. ОДОБРЕН И РЕКОМЕНДОВАН к применению в качестве нормативного документа Системы нормативных документов в строительстве постановлением Госстроя России от 16 июля 2001 г. № 72.

6. ВВЕДЕН впервые.

СОДЕРЖАНИЕ

Введение. 2

1. Общие положения. 3

Нормативные ссылки. 4

2. Здания учреждений образования. 5

Учебные помещения. 5

Прочие помещения. 10

3. Здания учреждений управления. 11

Здания и помещения органов социальной защиты населения. 12

Здания и помещения судебно-правовых учреждений. 12

Здания и помещения коммунальных служб. 12

4. Здания лечебно-профилактических учреждений. 13

Учреждения. 13

5. Здания и сооружения физкультурно-оздоровительные и спортивные. 15

Участок и функциональное зонирование. 16

Учебно-тренировочные физкультурно-спортивные сооружения. 16

Открытые плоскостные сооружения. 16

Демонстрационные спортивные сооружения. 22

6. Здания культурно-просветительных и зрелищных учреждений. 22

Библиотеки. 22

Музеи и выставки. 24

Клубы.. 25

Театры, театры-студии, цирки. 30

Кинотеатры и киноконцертные залы.. 33

7. Предприятия торговли, общественного питания и бытового обслуживания. 33

Предприятия розничной торговли. 34

Предприятия питания. 35

Предприятия бытового обслуживания. 36

8. Здания и сооружения вокзалов пассажирского транспорта. 36

9. Здания, сооружения и комплексы культового, мемориального и обрядового назначения. 39

Общие положения. 39

Участки. 39

Культовые здания и сооружения. 39

Мемориальные здания и сооружения. 40

10. Здания кредитно-финансовых учреждений и предприятий связи. 40

Банковские учреждения. 43

Предприятия почтовой связи. 43

ВВЕДЕНИЕ

Свод правил СП 35-103-2001 «Общественные здания и сооружения, доступные маломобильным посетителям» разработан по заказу Минтруда России в рамках федеральной целевой программы «Социальная поддержка инвалидов на 2000 - 2005 годы». Он подготовлен в соответствии с положениями статьи 15 Федерального закона «О социальной защите инвалидов в Российской Федерации» от 24 ноября 1995 г. № 181-ФЗ (Собрание законодательства Российской Федерации, 1995, № 48, ст. 4563) в рамках федеральной целевой программы «Формирование доступной для инвалидов среды жизнедеятельности». Настоящий Свод правил разработан в соответствии с государственным контрактом № 5.1.1/227 юр-98 от 25 июня 1999 г. по теме: «Создание единой системы отраслевых требований по проектированию доступной для инвалидов среды жизнедеятельности».

Проектно-организационные мероприятия должны быть направлены не на доступность здания инвалидам как самоцель, а на беспрепятственное получение ими требуемой услуги. Если формальная доступность здания достигается планировочными и инженерными средствами, то доступность получения услуги зависит и от организационных мероприятий. Таким образом, выполнение статьи 15 Федерального закона «О социальной защите инвалидов в Российской Федерации» может осуществляться как путем проектирования, приспособления зданий для доступа инвалида к услуге, так и путем «доставки» услуги к инвалиду (на дом, в места отдыха и другие доступные для него зоны). Выбор варианта определяется местными органами власти, исходя из социальных задач и финансовых возможностей региона, а также в соответствии с указаниями РДС 35-201-99 «Порядок реализации требований доступности для инвалидов к объектам социальной инфраструктуры».

Для выявления приоритетов при разработке местных программ адаптации объектов социальной инфраструктуры в числе первоочередных объектов можно рекомендовать предприятия приближенного обслуживания: магазины, универсамы и мини-маркеты, специализированные предприятия торговли и отделы «Хлебобулочные изделия», «Молочные продукты», «Бакалея», киоски и торговые киоски-автоматы; аптеки и аптечные киоски; столовые, кафе и закусочные, в том числе пирожковые, чайные, молочные и т.п.; ремонтные мастерские и мастерские экспресс-обслуживания, приемные пункты прачечных и химчисток, прачечные самообслуживания, пункты проката, бюро комплексного обслуживания; поликлиники и общесоматические больницы; многофункциональные здания клубов по месту жительства и клубов по интересам; сберкассы и почты; административные здания социальной сферы; а также храмы и ритуальные здания.

Нормативной базой, регламентирующей мероприятия по адаптации существующей среды жизнедеятельности в соответствии с учетом потребностей инвалидов и других маломобильных групп населения, призван стать 35-й комплекс отраслевых нормативных документов в области проектирования и строительства. Основным документом для данного комплекса является СНиП 35-01-2001 «Доступность зданий и сооружений для маломобильных групп населения».

Кроме СНиП 35-01-2001 в состав базового блока нормативных документов нового поколения по 35 комплексу входят:

СП 35-101-2001 «Проектирование зданий и сооружений с учетом доступности для маломобильных групп населения. Общие положения»;

СП 35-102-2001 «Жилая среда с планировочными элементами, доступными инвалидам»;

СП 35-103-2001 «Общественные здания и сооружения, доступные маломобильным посетителям»;

СП 35-104-2001 «Здания и помещения с местами труда для инвалидов».

Настоящий Свод правил, являющийся развитием и детализацией требований СНиП 35-01-2001 «Доступность зданий и сооружений для маломобильных групп населения», должен применяться совместно с СП 35-101-2001.

Свод правил содержит рекомендательные нормы и правила в соответствии с требованиями СНиП 10-01-94 «Система нормативных документов в строительстве. Основные положения» и является документом федерального уровня.

В данной разработке учтен опыт отечественных и зарубежных специалистов в освещаемой области, а также новые разработки различных авторов и творческих коллективов.

Работа выполнена авторским коллективом в следующем составе:

научный руководитель работы канд. архит. A. M. Гарнец (разделы 1, 2 и 7, научная редакция), канд. архит. М. Ю. Лимонад (раздел 9, редакция текста), арх. Н. П. Малиночка (разделы 3 и раздел 10, редакция текста), арх. К. В. Карпач, инж. А. И. Цыганов при участии инж. М. М. Миловидова (компьютерный набор); при участии: канд. архит. А. П. Моисеенко (раздел 4), канд. архит. Л. Ф. Сидорковой (раздел 4), канд. архит. Л. А. Смывиной (разделы 2 и 8), канд. архит. Н. Б. Мезенцевой (разделы 5 и 6), арх. Ю. В. Колосова.

Внесен Департаментом по вопросам реабилитации и социальной интеграции инвалидов Минтруда России (И. В. Лебедев, А.Е. Лысенко).

Представлен к утверждению Управлением стандартизации, технического нормирования и сертификации Госстроя России (В. B. Тишенко, Н. Н. Поляков, Л. А. Викторова), Управлением архитектуры и проектных работ Госстроя России (Э. А. Шевченко, Н. Н. Якимова, В. Г. Хахулин).

Согласован Государственной противопожарной службой МВД России, Госсанэпиднадзором Минздрава России, Главгосэкспертизой России, Всероссийским обществом инвалидов, Всероссийским обществом слепых и Всероссийским обществом глухих.

В тексте и графической части частично использованы материалы:

СП 31-102-99 «Требования доступности общественных зданий и сооружений для инвалидов и других маломобильных посетителей»;

ГОСТ Р 51079-97 «Технические средства реабилитации людей с ограничениями жизнедеятельности. Классификация»;

ГОСТ Р 51083-97 «Кресла-коляски. Общие технические условия»,

ГОСТ Р 50918-96 «Устройства отображения информации по системе шрифта Брайля. Общие технические условия»;

ГОСТ 12.4.026-76 «ССБТ. Цвета сигнальные и знаки безопасности»;

ГОСТ 21786-76 «Система «человек-машина». Сигнализаторы звуковые неречевых сообщений. Общие эргономические требования»;

ГОСТ 4.188-85 «СПКП. Средства охранной, пожарной и охранно-пожарной сигнализации. Номенклатура показателей»;

ИПБ 108-96 «Культовые сооружения. Противопожарные требования»;

МГСН 4.10-97 «Здания банковских учреждений»;

МГСН 4.09-97 «Здания органов социальной защиты населения»;

ВНТП 311-98 «Объекты почтовой связи»;

ВСН 62-91*/Госкомархитектуры «Проектирование среды жизнедеятельности с учетом потребностей инвалидов и маломобильных групп населения»;

Рекомендаций по проектированию окружающей среды, зданий и сооружений с учетом потребностей инвалидов и других маломобильных групп населения. Выпуски 1,7, 10, 14, 19;

Пособия по проектированию учреждений здравоохранения (к СНиП 2.08.02-89). (Разделы I - IV).

СВОД ПРАВИЛ ПО ПРОЕКТИРОВАНИЮ И СТРОИТЕЛЬСТВУ

ОБЩЕСТВЕННЫЕ ЗДАНИЯ И СООРУЖЕНИЯ, ДОСТУПНЫЕ МАЛОМОБИЛЬНЫМ ПОСЕТИТЕЛЯМ

PUBLIK BUILDINGS AND STRUCTURES ACCESSIBLE FOR PHYSICALLY HANDICAPPED VISITORS

1. ОБЩИЕ ПОЛОЖЕНИЯ

1.1. Требования настоящего Свода правил направлены на создание полноценной архитектурной среды, обеспечивающей необходимый уровень доступности общественных зданий, составляющих систему учреждений обслуживания, для всех категорий населения и беспрепятственное пользование ими предоставляемыми услугами. Требования документа распространяются на все элементы общественных зданий и сооружений или их части (в дальнейшем - здания), а также участки учреждений, доступные для посетителей.

Архитектурные решения общественных зданий и сооружений рекомендуется ориентировать одновременно на компенсацию нарушений здоровья в области опорно-двигательного аппарата, слуха, зрения, сердечно-сосудистой системы, психики.

1.2. Положения Свода правил распространяются также на здания иного назначения, не подпадающие под действие СНиП 2.08.02, но выполняющие функции общественного обслуживания и доступные для маломобильных групп населения.

1.3. Положения настоящего документа распространяются на проектирование и реконструкцию зданий учреждений различных форм собственности и различных организационно-правовых форм.

1.4. Требования настоящего документа не распространяются на части общественных зданий, сооружений и участки, куда не предусмотрен допуск посетителей. Если в этих зонах предусматриваются рабочие места для инвалидов, то их следует проектировать по соответствующим требованиям СП 35-104, а при их отсутствии - по заданию на проектирование.

1.5. В документе приведен полный набор требований, рекомендуемых элементов архитектурного решения и проектных мероприятий, которые желательно предусмотреть в проекте. Выбор применяемого состава мероприятий, конкретизация требований и определение этапов их реализации устанавливаются заданием на проектирование, а также в процессе проектирования.

1.6. К объектам нормирования архитектурной среды для маломобильных лиц в общественных зданиях и сооружениях следует относить:

благоустройство и озеленение участка здания;

объемные элементы входов и выступающих частей;

планировочное решение, в том числе коммуникационные пути;

планировку групп помещений и отдельных помещений;

устройство мест обслуживания и мест отдыха;

устройство и планировку мест сопутствующего обслуживания.

1.7. Основным принципом формирования архитектурной среды, доступной как для здоровых, так и для всех категорий маломобильных граждан, является создание беспрепятственного доступа к месту получения услуги (обслуживания), проживания и месту приложения труда. При этом препятствие может иметь не только физическую или пространственную, но и информационную или психологическую форму, что связано с недопустимой потерей времени.

В случае когда функциональное назначение зданий выходит за рамки данного нормативного документа и нуждается в их уточнении, развитии и расширении, следует пользоваться сводами правил СП 35-102 и СП 35-104.

1.8. Набор нормативных положений Свода правил допускает возможность выбора вариантов проектных решений исходя из требований, предъявляемых к объекту с целью обеспечения доступа к нему и использования его маломобильными посетителями (рис. 1.1).

Примеры достижения доступности, обеспечиваемой при реконструкции для общественных зданий различного назначения, приведены на рис. 1.2.

В зависимости от проектной доли маломобильных посетителей, от финансовых возможностей заказчика и функциональной структуры учреждения обслуживания рекомендуется применять один из двух вариантов форм обслуживания (не учитывая обслуживания на дому):

вариант «А» - доступность любого места обслуживания для инвалидов; следует предусматривать устройство общих универсальных путей движения, предназначенных для использования всеми категориями населения (здоровыми, инвалидами и маломобильными лицами), и приспособление для нужд лиц с нарушением здоровья, специальных мест обслуживания из состава общего числа таких мест;

вариант «Б» - выделение в уровне входной площадки специальных помещений, зон или блоков, приспособленных для обслуживания инвалидов; следует предусматривать устройство специальных входов, специально обустроенных параллельных путей движения и мест обслуживания для лиц с нарушениями здоровья.

Если к объекту проектирования могут быть применены в зависимости от принятого варианта формы обслуживания различные требования, то после указания номера и перед текстом нормативного положения указывается индекс варианта проектного решения - «А» или «Б».

НОРМАТИВНЫЕ ССЫЛКИ

В настоящем СП даны ссылки на следующие документы:

СНиП 10-01-94 «Система нормативных документов в строительстве. Основные положения»;

СНиП 35-01-2001 «Доступность зданий и сооружений для маломобильных групп населения»;

СНиП 2.08.02-89* «Общественные здания и сооружения»;

СП 35-101-2001 «Проектирование зданий и сооружений с учетом доступности для маломобильных групп населения. Общие положения»;

СП 35-102-2001 «Жилая среда с планировочными элементами, доступными инвалидам»;

СП 35-104-2001 «Здания и помещения с местами труда для инвалидов»;

РДС 35-201-99 «Порядок реализации требований доступности для инвалидов к объектам социальной инфраструктуры»;

Правила дорожного движения Российской Федерации. Утверждены Постановлением Совета Министров - Правительства Российской Федерации от 23 октября 1993 г. № 1090 (Собрание актов Президента и Правительства Российской Федерации, 1993, № 47, ст. 4531).

2. ЗДАНИЯ УЧРЕЖДЕНИЙ ОБРАЗОВАНИЯ

2.1. Здания учреждений общего и профессионального образования, доступные для учащихся-инвалидов, должны обеспечивать:

полноценную среду, позволяющую наравне с общим контингентом учащихся получить образование в соответствии с объемом и качеством, определяемыми программами обучения;

возможность максимально полной социальной адаптации без ущемления прав и свобод учащихся-инвалидов в общей среде со здоровыми учащимися;

меры, не нарушающие общие нормативные требования и уровень комфорта здоровых учащихся, а также архитектурное качество здания образовательного учреждения.

2.2. Учащиеся-инвалиды могут обучаться в учреждениях общего образования (школы, гимназии, лицеи) и учреждениях профессионального образования (профессионально-технические училища, колледжи, техникумы, высшие учебные заведения, а также учебные центры повышения квалификации), за исключением образовательных учреждений, имеющих ограничения по приему обучаемых со стороны органов образования, здравоохранения или соответствующих ведомств.

Требования доступности для инвалидов распространяются также на Центры профессиональной ориентации и переподготовки.

2.3. Общие требования к зданиям учебных заведений приведены в табл. 2.1.

2.4. Здания образовательных учреждений рекомендуется делать доступными для всех категорий обучаемых с нарушениями здоровья. Исключение составляют специальные реабилитационно-образовательные учреждения, сочетающие обучение с коррекцией и компенсацией недостатков развития по определенному виду заболевания.

УЧЕБНЫЕ ПОМЕЩЕНИЯ

2.5. Если в задании на проектирование не установлены ограничения, следует обеспечить возможность учащемуся-инвалиду учиться в составе любой учебной группы (ученического класса). Поэтому требованиям доступности должны отвечать все учебные помещения (рис. 2.1 - 2.5). Категории учащихся-инвалидов (по видам заболеваний) и количество мест следует устанавливать заданием на проектирование в соответствии со спецификой учебного заведения. При отсутствии этих требований в каждом учебном помещении на один ученический класс или группу учащихся следует в среднем предусматривать возможность оборудовать по 1 - 2 места для учащихся-инвалидов по каждому виду нарушений здоровья - опорно-двигательного аппарата (ОДА), слуха и зрения.

По отдельным предметам в случае несовместимости педагогических программ с ограниченными возможностями учащихся-инвалидов (занятия физкультурой, военная подготовка, занятия по труду и т.п.) места для инвалидов в учебных кабинетах не предусматриваются.

2.6. Требования доступности при проектировании относятся:

к габаритам дверных проемов входов в помещения, к организации безбарьерного маршрута (с учетом проезда, разъезда и разворота кресла-коляски), соединяющего вход в учебное помещение, безбарьерную зону специальных ученических мест (рис. 2.6), место у доски или кафедры, зону у демонстрационных стендов, стеллажей с наглядными пособиями и методическими материалами;

к специальному (компенсирующему) оборудованию специальных ученических мест;

к системам индивидуального вспоможения при передвижении и фиксировании тела при сидении;

к дополнительному инженерному оборудованию и возможности управления им (естественное и искусственное освещение, воздухообмен, системы информации и связи).


Таблица 2.1

Требования к зданиям учреждений образования

Объект

Требования по критериям

доступности

безопасности

информативности

комфортности

1. Входы, общее коммуникационно-рекреационное пространство здания

2.1. Подъем на площадку крыльца в учреждениях общего и начального профессионального образования - по пандусу, в учреждениях среднего и высшего профессионального образования, в центрах переквалификации - по пандусу или с применением специального подъемника.

2.2 Наличие не менее одного лифта для учащихся, передвигающихся в инвалидном кресле, и с нарушениями сердечно-сосудистой и легочной системы.

2.3. Если ширина коридора менее 1,8 м, рекомендуется предусматривать через каждые 10 - 15 м длины коридора, но не менее одного на коридор карман глубиной 1,8 м, длиной - 3,0 м.

3.1. Лифт для учащихся-инвалидов, передвигающихся в инвалидном кресле, в учреждениях общего образования, а также начального и среднего профессионального образования должен предусматриваться в специальном лифтовом холле с ограниченным доступом в него остальных учащихся.

4.1. В вестибюлях учреждений образования следует предусматривать электронные часы и календарь.

5.1. Поручни на ограждениях лестниц следует предусматривать на высоте 0,5 м (в блоке начальных классов); 0,7 и 0,9 м. Диаметр поручня - 0,35 - 0,45 м для начальных классов и 0,45 - 0,55 м - для остального контингента учащихся.

5.2. Если лестницы крыльца проектируются без ограждения (с двух- или трехсторонним спуском), их следует оборудовать поручнями, крепящимися к фасадной поверхности или на отдельных опорах.

5.3. Следует предусматривать зоны отдыха для учащихся-инвалидов: 3 - 4 места в каждой рекреации, 5 - 6 мест в гардеробе верхней одежды.

5.4. Зоны переодевания учащихся-инвалидов в гардеробе должны размещаться в стороне от транзитных проходов и иметь специальное оборудование: поручни, скамьи шириной не менее 0,4 м, полки и крючки для сумок и одежды, места для сидения и переодевания. Вблизи следует предусматривать индивидуальные камеры хранения личных вещей и учебников.

5.5. При входной группе помещений следует предусматривать телефоны-автоматы, другие устройства внешней и внутренней двусторонней связи. Телефоны-автоматы следует крепить на высоте (до номеронабирателя) не выше 0,85 м.

2. Основные учебные помещения

2.4. Все ученические места для учащихся-инвалидов следует оборудовать одноместными столами.

2.5 Места для учащихся с нарушением зрения должны иметь свободный доступ с двух сторон.

2.6. В учебных мастерских общеобразовательных учреждений следует предусматривать 3 места по каждому профилю обучения для учащихся-инвалидов с нарушением ОДА.

2.7. В мастерских профессиональных учебных заведений для учащихся, передвигающихся в инвалидном кресле-коляске, ширину свободного прохода, а также расстояние между станками следует принимать не менее 1,6 м.

3.2. Стационарное крепление необходимо предусматривать для ученических, рабочих и обеденных столов, стульев, мольбертов, кроватей в спальнях и т.п. для учащихся с нарушением ОДА. Кровати в спальнях и ученические места в опытных лабораториях и практикумах должны оборудоваться опорными поручнями.

4.2. Ученические места для учащихся-инвалидов должны размещаться идентично в однотипных учебных помещениях одного учебного учреждения.

4.3. Зону специальных ученических мест в учебных помещениях следует выделять из общей площади помещений рельефной фактурой или ковровым покрытием поверхности пола.

4.4. В многофункциональных помещениях (группа продленного дня, мастерские с разными видами деятельности, клубные и кружковые помещения и т.п.) следует предусматривать информационные указатели размещения функциональных зон по видам деятельности.

5.6. В зоне специальных ученических мест для учащихся с нарушением ОДА и слепых следует предусматривать дополнительное пространство для хранения индивидуальных средств реабилитации при передвижении, личных индивидуальных средств компенсации, личных вещей.

5.7. Ученические места для учащихся с нарушением слуха и зрения должны иметь дополнительное местное освещение рабочего места. В учебном помещении эти места следует располагать в первых рядах и у окна.

5.8. Ученические места для учащихся с нарушением слуха (слабослышащих) должны иметь возможность оборудоваться электроакустическими приборами, индивидуальными наушниками, а в лекционных аудиториях учреждений профессионального образования - еще и сурдотехнической аппаратурой.

5.9. Вдоль свободных участков стен в безбарьерной зоне учебного помещения рекомендуется предусматривать опорный поручень на высоте 0,5 и 0,7 м - в помещениях начальных классов; 0,7 и 0,9 м - для остального контингента учащихся.

3. Залы для физкультурных занятий, бассейны, раздевальные, душевые

2.8. На площади спортивного зала или в отдельном помещении следует предусмотреть пространство (свободное или со специальными тренажерами) для занятий учащихся-инвалидов, не имеющих противопоказаний к физкультурным занятиям.

3.3. Раздевальная, душевая и туалет при физкультурном зале для учащихся-инвалидов с нарушениями ОДА должны предусматриваться отдельным комплексом помещений с соответствующим оборудованием.

3.4. В специальной зоне физкультурного зала или в специальном помещении для занятий учащихся-инвалидов общеобразовательных учреждений следует предусматривать «мягкие стены» для защиты от травм.

 

5.10. В образовательных учреждениях в раздевальных физкультурного зала и бассейна для учащихся-инвалидов следует предусматривать изолированную раздевальную с душем и туалетом.


2.7. Минимальный размер зоны на одно место с учетом подъезда и разворота коляски равен 1800×1800 мм.

Ширина прохода между рядами столов для учащихся, передвигающихся в креслах-колясках и на опорах, - не менее 0,9 м; между рядом столов и стеной с оконными проемами - не менее 0,5 м; между рядами столов и стенами без оконных проемов - не менее 1,0 м. Расстояние между столами в ряду - не менее 0,85 м.

В учебных мастерских, используемых инвалидами на креслах-колясках, ширина основного прохода, а также расстояние между станками должны быть не менее 1,6 м (рис. 2.7).

2.8. При выделении ученических мест для учащихся с недостатками зрения и дефектами слуха, а также с нарушением психического развития расстояние между рядами столов - не менее 0,6 м; между столами в ряду - не менее 0,5 м; между рядами столов и стенами без оконных проемов - не менее 0,7 м; между рядом столов и стеной с оконными проемами - не менее 0,5 м. Площадь ученического стола для инвалида по зрению должна быть не менее 1 м ширины и 0,6 м глубины для размещения брайлевской литературы и тифлосредств.

2.9. В общем случае в стандартном классном помещении с параметрами 6×9 м достаточно первые столы в ряду у окна и в среднем ряду предусмотреть для учащихся с недостатками зрения и дефектами слуха, а для учащихся, передвигающихся в кресле-коляске, - выделить 1 - 2 первых стола в ряду у дверного проема. При замене двухместных столов на одноместные уже будут соблюдены требуемые параметры проходов между столами для инвалидов в креслах-колясках, между столами и стеной, проходы к входной двери и доске.

2.10. Площадь учебных кабинетов (родного языка, литературы, математики, истории и географии) на 1 учащегося с дефектами слуха и нарушением интеллекта следует принимать не менее 2,5 м2; для детей с недостатками зрения и поражением опорно-двигательного аппарата - не менее 3 м2. При кабинетах должны предусматриваться лаборантские площадью не менее 16 м2.

2.11. Площади учебных кабинетов информатики, электроники и радиотехники следует принимать из расчета не менее 4,5 м2 на 1 учащегося с дефектами слуха и нарушением интеллекта и не менее 5 м2 для детей с поражением опорно-двигательного аппарата. При кабинетах должны предусматриваться лаборантские площадью не менее 18 м2.

2.12. Для учащихся с легким нарушением психического развития, с сердечно-сосудистой недостаточностью в учебных помещениях, читальных залах библиотек, в зоне приготовления уроков в группе продленного дня рекомендуется предусматривать полузамкнутые рабочие места-кабины (с боковыми бортиками и экранами у стола, высокими спинками сидений, с бортиками-ограждениями по бокам и сзади и т.п.), что создает для этих учащихся более спокойную обстановку, помогает регулировать психологическую дистанцию с окружающими.

ПРОЧИЕ ПОМЕЩЕНИЯ

2.13. В актовых залах образовательных учреждений следует предусматривать места для инвалидов на креслах-колясках из расчета: в зале на 50- 150 мест - 3-5 мест; в зале на 150 - 300 мест - 5 - 7 мест; в зале на 300 - 500 мест - 7 - 10 мест; в зале на 500 - 800 мест - 10 - 15 мест.

Места для учащихся-инвалидов с поражением ОДА следует предусматривать на горизонтальных участках пола, в рядах, непосредственно примыкающих к проходам, и в одном уровне с входом в актовый зал. Для учащихся начальных классов, передвигающихся в инвалидных креслах-колясках, места в актовых залах следует предусматривать в первом ряду перед сценой (ареной, подиумом и т.п.).

2.14. Часть обычных кресел в зале рекомендуется оборудовать специальными фиксирующими и опорными приспособлениями. Эти кресла из числа остальных следует выделить цветом, а в рядах напротив них поместить соответствующие визуальные указатели.

2.15. Зрительские места для детей-инвалидов с дефектами слуха следует связывать с акустической системой зрительного зала. На креслах должны быть оборудованы пункты подключения индивидуальных слуховых аппаратов. Усиление громкости звука должно быть обеспечено с помощью регулятора, установленного в подлокотниках, в спинках кресел или в самих наушниках. Специальные места для хранения наушников могут быть устроены в подлокотниках или спинках кресел.

2.16. Для подъема на сцену, кроме лестниц, должен быть предусмотрен стационарный или приставной пандус шириной не менее 0,9 м с уклоном 8 % и бортиками по бокам. Лестницы и пандусы должны иметь ограждения с двойными поручнями на высоте 0,5/0,7/0,9 м.

2.17. На путях эвакуации зрителей из зала необходимо устраивать вдоль стены опорные поручни-перила на высоте 0,5/0,7/0,9 м от уровня пола. За 1,5 м до дверного проема или поворота коридора фактура поверхности поручня должна меняться.

2.18. В фойе перед актовым залом следует предусматривать непроходную зону отдыха и ожидания для учащихся-инвалидов. Дополнительная площадь зоны отдыха - в учреждениях общего образования не менее чем на 3 учащихся (зона на 1 учащегося - 1,2×1,8 м); в профессиональных учебных заведениях - на 50 % специализированных мест для учащихся-инвалидов в актовом зале.

2.19. В читальном зале библиотеки образовательного учреждения не менее 5 % читальных мест следует оборудовать с учетом доступа учащихся-инвалидов. С этой целью в читальном зале следует предусматривать обособленные непроходные зоны для размещения специальных мест:

для учащихся-инвалидов, передвигающихся в креслах-колясках и использующих иные индивидуальные средства реабилитации при ходьбе, и отдельно - для учащихся с недостатками зрения. Рабочее место для инвалидов по зрению должно иметь дополнительное периметральное освещение, а также дополнительное место для чтеца и предусматривать возможность размещения тифлотехнических средств.

2.20. Места в читальном зале для учащихся-инвалидов рекомендуется предусматривать в виде индивидуальных полукабин, изолированных барьерами.

Габариты зоны рабочего места на одного ребенка-инвалида на кресле-коляске составляют не менее 1,8×0,9 м. Проход между рабочими столами для свободного проезда и подъезда к столу должен быть не менее 0,9 м, т.е. габариты рабочей зоны вместе с проходом - 1,8×1,8 м.

2.21. Часть стойки-барьера выдачи книг в абонементе в общеобразовательных учреждениях рекомендуется устраивать высотой не более 0,7 м.

2.22. Книги, находящиеся в открытом доступе, и картотеку желательно, по возможности, располагать в пределах зоны досягаемости (вытянутой руки) учащегося-инвалида на кресле-коляске, т.е. не выше 1,2 м при ширине прохода у стеллажей или у картотеки не менее 1,1 м.

2.23. В обеденных залах общеобразовательных учреждений в зонах для учащихся-инвалидов стулья рекомендуется крепить стационарно.

2.24. В столовой должна быть предусмотрена для учащихся-инвалидов своя непроходная зона, оборудование которой должно учитывать возможность пользования детьми и на креслах-колясках.

2.25. В общеобразовательных учреждениях и учреждениях профессионального образования, осуществляющих обучение детей-инвалидов, в составе медицинских помещений кроме медицинского и процедурного кабинетов рекомендуется предусматривать: кабинет психоневролога, кабинеты окулиста и отоларинголога, залы или комнаты лечебной физкультуры, а также физиотерапевтический кабинет, кабинет массажа (гидромассажа), кабинет механотерапии. Набор перечисленных дополнительных помещений устанавливается заказчиком в задании на проектирование.

3. ЗДАНИЯ УЧРЕЖДЕНИЙ УПРАВЛЕНИЯ

3.1. Рекомендуется проектировать доступными все виды и типы зданий и помещений учреждений и организаций, связанных с приемом (обслуживанием) населения и размещаемых в зданиях с кабинетно-офисной структурой. К ним относятся:

административные организации - комитеты, управления, департаменты и их подразделения, в том числе органы социальной защиты населения, управления защиты прав потребителя, а также префектуры, муниципалитеты и т.п.;

судебно-правовые учреждения - юридические бюро и консультации, адвокатские коллегии, нотариальные конторы, страховые фирмы и фонды;

коммунальные службы - ДЕЗ, РЭУ и т.д.;

налоговые инспекции и управления и отделы виз и регистрации (ОВиР);

организации по трудоустройству - федеральные службы, управления и центры занятости, агентства по трудоустройству.

3.2. Общими требованиями к доступности основных групп помещений, где происходит прием маломобильных посетителей, являются:

предпочтительное размещение их в уровне входа;

обязательное наличие справочно-информационной службы; возможное совмещение справочно-информационной службы и кабинета дежурного приема (вариант «Б»);

при наличии помещений коллективного использования (конференц-залов, залов совещаний и т.п.) желательно их размещение не выше второго уровня (этажа).

Во всех видах учреждений целесообразно выделение части помещений, зон или мест для специализированного обслуживания маломобильных категорий посетителей с учетом возможного сопровождения, включая инвалидов (в том числе инвалидов на креслах-колясках, по зрению), по варианту «Б».

3.3. Зону (помещение) справочно-информационной службы следует размещать в непосредственной и удобной близости от входа в здание. При ее островном размещении в вестибюле рекомендуется предусматривать периметральную буферную зону (полосу) шириной не менее 0,5 м, примыкающую к основному пути движения.

3.4. Кабинет дежурного приема размещается в уровне входа с непосредственным примыканием к вестибюлю совместно с зоной отдыха и ожидания. Рекомендуется выделение объекта архитектурно-дизайнерскими средствами, облегчающими его поиск. Кабинет оснащается информационными средствами, гарантирующими полный объем информации о видах и форме услуг, режиме работы и размещении мест обслуживания.

ЗДАНИЯ И ПОМЕЩЕНИЯ ОРГАНОВ СОЦИАЛЬНОЙ ЗАЩИТЫ НАСЕЛЕНИЯ

3.5. В зданиях органов социальной защиты кроме помещений общего назначения рекомендуется обеспечивать доступность для маломобильных посетителей в следующие помещения:

кабинет справочно-информационной службы;

кабинеты начальников (кабинет дежурного приема);

кабинеты сотрудников, ведущих прием посетителей в отделах назначения и перерасчета пенсий, выплат и социально-бытового обслуживания;

медицинский кабинет (при наличии);

кабинет юриста (при наличии).

3.6. Варианты организации мест обслуживания (самообслуживания) приведены на рис. 3.1.

ЗДАНИЯ И ПОМЕЩЕНИЯ СУДЕБНО-ПРАВОВЫХ УЧРЕЖДЕНИЙ

3.7. В группе судебных, юридических учреждений и прокуратур требования доступности распространяются, главным образом, на юридические консультации и нотариальные конторы (как учреждения открытого доступа). Минимальный размер площади помещения (кабинета или кабины) для индивидуального приема (на одно рабочее место) рекомендуется принимать 12 м2.

3.8. Для зданий судов и прокуратур целесообразно соблюдение общих рекомендательных требований Свода правил СП 35-101.

ЗДАНИЯ И ПОМЕЩЕНИЯ КОММУНАЛЬНЫХ СЛУЖБ

3.9. Основными видами организаций, осуществляющих управление, эксплуатацию и ремонт жилого фонда, а также являющихся объектами возможного посещения маломобильными категориями обслуживаемых жителей, являются: Дирекции единого заказчика (ДЕЗ) и Ремонтно-эксплуатационные управления (РЭУ), службы энерго-, газообеспечения, телефонной, радиотелефонной (сотовой) связи частного обслуживания. Специфической особенностью зданий данных учреждений является наличие помещений коллективного приема (т.е. возможного единовременного индивидуального обслуживания на нескольких рабочих местах).

3.10. При наличии операционных залов в зданиях коммунальных служб, а также налоговых инспекций, учреждений страхования и трудоустройства, муниципалитетах, префектурах требования к ним принимаются в соответствии с разделом 10.

3.11. Площадь помещения приема посетителей на два рабочих места (места обслуживания) рекомендуется принимать не менее 18 м2 (одно место предназначено для обслуживания инвалида на кресле-коляске).

3.12. В случае продольного (вдоль светового фронта) решения блока помещений, состоящего из двух кабинетов, к примеру, руководителей учреждения, разделенных общей приемной, желательно:

симметричное от входа размещение дверей смежных помещений (т.е. прямолинейность сквозного прохода в кабинеты);

отсутствие вспомогательного оборудования и мебели в зоне коммуникационного пути.

3.13. В вестибюле рекомендуется предусматривать зону обслуживающих автоматов (телефонов, таксофонов, продаж и т.п.) и резервную площадь для киосков.

3.14. В помещениях приема на несколько мест обслуживания рекомендуется делать доступными для маломобильных посетителей:

одно из мест обслуживания;

несколько мест обслуживания, скомпонованных в общую зону;

целиком посетительскую зону помещения (все места обслуживания).

4. ЗДАНИЯ ЛЕЧЕБНО-ПРОФИЛАКТИЧЕСКИХ УЧРЕЖДЕНИЙ

УЧРЕЖДЕНИЯ

4.1. Доступными для маломобильных групп населения должны быть здания лечебно-профилактических учреждений, в которых непосредственно оказывается медицинская помощь. К ним относятся учреждения, которые посещаются населением, в том числе инвалидами: амбулаторно-поликлинические учреждения (поликлиники, диспансеры и центры) различного уровня обслуживания (от сельских до республиканских), различного профиля (многопрофильные, стоматологические, физиотерапевтические, семейные и др.) и различного назначения (базовые, консультационно-диагностические и др.), далее - ЛПУ.

Примечание. Учреждения, предназначенные для стационарного пребывания больных, в том числе инвалидов и других маломобильных групп населения: стационары (больницы и диспансеры) различного уровня обслуживания (от сельских до республиканских), различного профиля (многопрофильные, психиатрические, кардиологические, восстановительного лечения и др.) в настоящем СП не рассматриваются.

4.2. Приспособлению для маломобильных лиц не подлежат подразделения и помещения ЛПУ, не предназначенные для пребывания больных или посетителей (внутрибольничные аптеки, клинико-диагностические лаборатории, пищеблоки и др.), а также подразделения и помещения, в которые больные доставляются на каталках (функциональных кроватях) - операционные и акушерские блоки, отделения реанимации и т.п.

4.3. Требования к медицинским подразделениям санаториев и домов отдыха аналогичны требованиям к амбулаторно-поликлиническим учреждениям, а также к лечебно-диагностическим и восстановительным подразделениям стационаров.

4.4. На участках лечебно-профилактических учреждений вдоль пешеходных путей следует устраивать через каждые 100 м площадки отдыха с местами для сидения, в том числе для инвалидов на креслах-колясках.

4.5. Все подразделения и помещения в ЛПУ по степени использования их инвалидами можно разделить на два типа организации обслуживания:

Тип 1. Подразделения, в которых инвалиды получают помощь в той же мере, что и другие пациенты (поликлинические, рентгенологические и другие лечебно-диагностические отделения), а также помещения, в которых инвалиды находятся в числе других пациентов: вестибюльная группа помещений, помещения трудо- и культтерапии, врачебные кабинеты, ожидальные, процедурные и диагностические кабинеты разного профиля, бассейны, залы и кабинеты лечебной физкультуры, физиотерапии, мануальной терапии, массажа, помещения приема анализов КДЛ, гардеробные, коридоры и др. (рис. 4.1 - 4.5).

Тип 2. Подразделения с повышенной долей лиц (больных и инвалидов) с поражением ОДА. К ним относятся отделения восстановительного лечения (реабилитационные), травматологические пункты и дневные стационары поликлиник (рис. 4.6).

Помещения, специально оборудованные для инвалидов на креслах-колясках: санузлы, раздевальные, ванные и др., должны входить в общее расчетное число помещений данного назначения.


Таблица 4.1

Требования к формированию доступной среды лечебно-профилактических учреждений

Объект

Требования по критериям

доступности

безопасности

информативности

комфортности

1. Участки

2.1. Приемные отделения, травмапункты и поликлиники следует располагать приближенно к главному входу на участок.

 

 

5.1. Выбор растений для садово-парковой зоны должен учитывать сочетание характера лечебного воздействия растения (аромотерапия и др.)

2. Входы в здания

2.2. Травмапункт, инфекционный кабинет и приемное отделение должны иметь автономные наружные входы, доступные для инвалидов.

2.3. Наружный тамбур одного из боксов инфекционного отделения должен быть запроектирован для доступа инвалидов.

3.1. Подъезд санитарного транспорта к приемному отделению должен быть отделен от пешеходного пути.

4.1. Входы для пациентов и посетителей должны иметь визуальную, тактильную и акустическую информацию с указанием групп помещений, в которые можно попасть через этот вход.

 

3. Коммуникации внутри здания

 

3.2. Открывание дверей целесообразно предусматривать внутрь врачебных и лечебных кабинетов.

4.2. Лифтовые холлы должны иметь различное декоративное поэтажное или цветовое оформление, облегчающее пациенту ориентацию

5.2. Больничные лифты, предназначенные для пациентов, должны иметь поручни и откидные сиденья.

4. Вестибюль

 

 

4.3. Справочная должна размещаться рядом с входом и оснащаться визуальными средствами информации.

5.3. На пути движения больного рекомендуется устройство пристенных поручней.

5. Лечебно-диагностические помещения

2.4. Не менее чем один из отсеков зала лечебных и грязевых ванн, включая раздевальную при нем, должен быть приспособлен для инвалида на кресле-коляске.

2.5. Травмапункт должен размещаться на первом этаже. 2.6 Ширина коридоров, используемых для ожидания, при двустороннем расположении кабинетов должна быть не менее 3,2 м, при одностороннем - не менее 2,8 м.

3.3. В залах лечебной физкультуры в качестве ограждений, направляющих и ограничивающих движение, следует применять приспособления и материалы, смягчающие удар.

4.4. Функциональные зоны отделения необходимо выделять планировочно и обозначать визуальными, тактильными и акустическими средствами.

4.5. Для ориентации слабовидящих и слабослышащих в зонах ожидания процедур и приема у врачей следует применять шумопоглощающие материалы.

5.4. В зонах ожидания и отдыха должны быть использованы приемы оформления интерьера, которые оказывают успокаивающее воздействие на пациентов.

5.5. Ванны для подводного вытяжения должны быть оборудованы подъемниками для перемещения инвалида из ванны в горизонтальном положении.


4.6. Площадь и планировочное решение кабинетов физиотерапии, посещаемых инвалидами, должны быть рассчитаны на возможность разворота кресла-коляски, при этом размеры кабины электросветолечения должны быть не менее 2,2×2,2 м при минимальном размере кабинета - 3,2×3,3 м.

4.7. Массажный кабинет должен иметь размеры 3,5×3,1 м с учетом разворота в нем инвалида на кресле-коляске. Размеры кабинета кислородной терапии должны быть не менее 3,2×3,3 м.

4.8. Глубина ванны в кабинете подводного массажа должна быть не менее 40 - 60 см. По периметру ванна снабжается опорными скобами или поручнями. Вокруг ванны предусматривается пространство для прохода и проезда инвалидной коляски не менее 1,5 - 1,6 м. Пол вокруг ванны покрывается резиновым покрытием.

При кабинете с ванной предусматривается раздевальная - комната отдыха, уборная.

4.9. В помещении подводного массажа и в кабинах душевого зала поликлиники рекомендуются устройство специального оборудования для перемещения инвалида с поражением ОДА из коляски в ванную или кабину, а также специальные поручни и упоры для коленей с целью опоры инвалида во время приема процедуры.

4.10. При проектировании ЛПУ следует учитывать требования приспособления среды для инвалидов, продиктованные функциональными особенностями этих учреждений (табл. 4.1, рис. 4.6).

Набор и насыщенность специальным оборудованием для инвалидов различных категорий помещений принимаются в зависимости оттого, к какой группе относится это помещение.

4.11. Для удобства самообслуживания инвалидов в вестибюле, в том числе переодевания, следует предусматривать свободную от напольного оборудования и мебели зону, при этом на высоте 0,8 - 1,2 м от уровня пола рекомендуется разместить настенные полки-столы, крючки и перила.

4.12. При помещениях лечебной физкультуры, а также при душевом зале должны быть предусмотрены раздевальные с учетом возможности их использования инвалидами, в том числе на креслах-колясках (должны иметь: минимальные размеры помещения - 3,0×6,0 м; свободные от напольного оборудования зоны диаметром не менее 1,5 м; пристенные поручни у скамей для раздевания). Нумерация на шкафах в гардеробных/ раздевальных и душевых должна быть рельефной и на контрастном фоне.

4.13. Для торговых залов аптек и раздаточных пунктов молочных кухонь действительны те же требования, что и для торговых залов учреждений торговли (пп. 7.7 - 7.13).

4.14. Аптечные прилавки должны быть доступными для инвалидов, передвигающихся на креслах-колясках. Товар на прилавках следует располагать в поле зрения людей, сидящих в инвалидных колясках.

Пример устройства аптечного прилавка, состоящего из трех частей, показан на рис. 4.7. Стеклянная витрина позволяет расположить товар на полках в несколько ярусов. Низкий прилавок, состоящий из откидной доски, служит местом обслуживания инвалида, а в нерабочем положении является проходом для продавца. Место для продавца с кассовым аппаратом - стандартное решение торгового оборудования.

5. ЗДАНИЯ И СООРУЖЕНИЯ ФИЗКУЛЬТУРНО-ОЗДОРОВИТЕЛЬНЫЕ И СПОРТИВНЫЕ

5.1. Физкультурно-спортивные сооружения, доступные для инвалидов, следует рассматривать как составную часть единой сети физкультурно-спортивных сооружений. Эти сооружения должны быть рассчитаны на совместное использование инвалидами и остальным населением.

В сооружениях общегородского уровня при числе инвалидов среди обслуживаемого населения не менее 2,5 тыс. чел. допускается строительство специальных спортивных залов для инвалидов.

Специализированные спортивные сооружения только для спортсменов-инвалидов - центры «инва-спорта», где могут проводиться как учебно-тренировочные занятия, так и соревнования, - в данном документе не рассматриваются.

5.2. Открытые и крытые физкультурно-спортивные сооружения могут быть учебно-тренировочными (без мест для зрителей) или демонстрационными (стадионы и универсальные спортивно-зрелищные залы).

Открытые и крытые физкультурно-спортивные сооружения с учетом доступности для инвалидов можно разделить на 2 группы:

сооружения, которые не требуют специального приспособления (сооружения для фехтования, стрельбы из лука и пневматического оружия) и могут использоваться инвалидами;

сооружения общего пользования, которые следует приспособить для занятий инвалидами на основании выполнения целого ряда требований (залы, бассейны, площадки для физкультурно-спортивных занятий).

В данном разделе рассматривается только вторая группа сооружений.

Основная часть требований данного раздела относится к учету специфики таких категорий занимающихся, как инвалиды с поражением опорно-двигательного аппарата и с недостатками зрения.

5.3. Для физкультурно-спортивных сооружений в основном предпочтительны решения с устройством общих путей движения и мест обслуживания и проведения занятий для здоровых и маломобильных посетителей. При наличии специализированных залов в составе сооружений общего пользования возможны решения с устройством параллельных путей движения и мест обслуживания инвалидов.

УЧАСТОК И ФУНКЦИОНАЛЬНОЕ ЗОНИРОВАНИЕ

5.4. Спортивно-зрелищные залы, доступные маломобильным группам населения, следует располагать в центральных зонах городов на участках со спокойным рельефом, обеспеченных удобными транспортными связями. Участок стадиона следует удалять от источников шума и загрязнения воздуха. Зеленые насаждения должны занимать не менее 30 % его площади. С точки зрения освоения рельефа и доступности для всех групп населения, включая маломобильное, предпочтительна территория, позволяющая размещать трибуны на естественных откосах, а спортивные площадки и поля, пешеходные пути - на ровных участках.

5.5. Обслуживающие помещения для занимающихся, включая инвалидов, следует располагать в специальных павильонах или под трибунами, при этом их удаление от мест проведения физкультурно-спортивных занятий не должно превышать 150 м.

УЧЕБНО-ТРЕНИРОВОЧНЫЕ ФИЗКУЛЬТУРНО-СПОРТИВНЫЕ СООРУЖЕНИЯ

Открытые плоскостные сооружения

5.6. При проектировании открытых плоскостных сооружений следует предусматривать защитную буферную зону шириной 3,0 м во всех направлениях от его границ, свободную от всякого рода препятствий.

По периметру полей и групп площадок рекомендуется предусматривать также ветро- и пылезащитные полосы, озеленение, обваловку площадок, акустические экраны.

Минимальную ширину шумозащитной полосы с 2 - 3 рядами деревьев и плотным кустарником рекомендуется принимать не менее 10 м при снижении интенсивности шума на 1,2 - 1,8 дБ каждым рядом. При этом высота деревьев должна быть не менее 5 - 7м.

5.7. Отдельные площадки и открытые плавательные бассейны рекомендуется окружать полосами кустарниковых насаждений (за исключением колючих и ядовитых кустарников). Размещение, окраска и габариты зеленых насаждений должны способствовать получению дополнительной информации инвалидами с дефектами зрения.

5.8. За пределами площадок рекомендуется устраивать свободное пространство (зоны безопасности), размеры которых регламентированы в табл. 5.1. Покрытие зон безопасности должно быть однородно с покрытием спортивной площадки.

Крытые сооружения

5.9. В физкультурно-спортивных сооружениях с учетом потребностей инвалидов рекомендуется сочетание плавательного бассейна и зала для общей физической подготовки, оснащенного различным оборудованием для игр и физкультурных занятий. Размеры ванн и залов определяются в соответствии с заданием на проектирование.

Рекомендованная глубина специализированных ванн бассейнов, в том числе используемых универсально, составляет, м:

0,6 - 0,85 - оздоровительно-тренировочная;

0,7 - 1,0 - плескательная свободной формы для детей 6-12 лет;

0,6 - 1,35 - учебная для обучения плаванию детей;

0,8 - 1,35 - учебная для обучения плаванию взрослых;

1,2 - 1,45 - для физкультурно-оздоровительного плавания всех категорий пользователей.

5.10. Для занятий инвалидов в режиме попеременного и совместного использования с другими категориями населения рекомендуется предусматривать следующие основные помещения:

в составе сооружений физкультурно-оздоровительного клуба микрорайона - зал или помещение для физкультурно-оздоровительных занятий;

в составе физкультурно-оздоровительного центра муниципального района: универсальный зал, один из специализированных залов, одну из физкультурно-оздоровительных ванн бассейна;

в составе комплекса физкультурно-рекреационных сооружений - 1 - 2 помещения для физкультурно-оздоровительных занятий;

специализированные залы для игр, используемые инвалидами, в составе районных сооружений.

5.11. Вдоль стен зала у специализированных ванн бассейна и на входах в зал из помещений для переодевания и душевых следует устанавливать горизонтальные поручни на высоте от пола в пределах от 0,9 до 1,2 м, а в залах с бассейном для детей - на уровне 0,5 м от пола.

Для ориентирования лиц с полной потерей зрения (незрячих) и слабовидящих рекомендуется также размещение резиновых рифленых полос на основных путях движения по залам бассейна (рис. 5.2 и 5.3).

Размеры и варианты использования инвалидами крытых физкультурно-спортивных сооружений массового типа следует принимать по Рекомендациям по проектированию окружающей среды, зданий и сооружений с учетом потребностей инвалидов и других маломобильных групп населения (выпуски 12, 13. - М.; 1997).

5.12. Рекомендуется обеспечивать доступность для инвалидов во все вспомогательные помещения (кроме, как правило, административно-служебных и технических) в учебно-тренировочных физкультурно-спортивных сооружениях: во входные и рекреационные помещения (вестибюли, гардеробы, зоны отдыха, буфеты), блоки раздевальных, душевых и санузлов (рис. 5.4), тренерские и учебно-методические помещения, медико-реабилитационные помещения (медицинские комнаты, сауны, массажные и др.).

Специальные габариты и оборудование сауны приведены на рис. 5.5 и 5.6.


Таблица 5.1

Требования к учебно-тренировочным физкультурно-спортивным сооружениям и площадкам, используемым инвалидами

Объект

Требования по критериям

доступности

безопасности

информативности

комфортности

1. Сооружения для легкой атлетики

2.1. Для инвалидов должны быть доступны: дорожки для бега по кругу и прямой, места для толкания и метания (ядра, диска, копья), места для прыжков в длину и высоту.

2.2. Дорожка для бега по прямой на 100 м должна иметь зону старта длиной 5 м и зону финиша длиной 25 м.

3.1. Границы плоскостных сооружений должны быть удалены от всякого рода препятствий не менее чем на 3 м.

3.2. Полосы ориентации должны иметь ширину не менее 2 м вокруг дорожек для бега или разбега перед прыжком.

3.3. Вдоль беговой дорожки со стороны зрительских мест следует предусматривать полосу безопасности шириной не менее 1 м, а за ее пределами пространство шириной не менее 3 м для размещения инвалидов в креслах-колясках.

3.4. Перепады рельефа необходимо отмечать повышением или понижением направляющего поручня.

4.1. Полоса ориентации по периметру беговой дорожки должна отличаться по материалу от покрытия дорожки для бега (газон-грунт, газон-синтетическое покрытие).

4.2. Для ориентации при прыжках в длину за 4 м от края ямы необходима фактурная полоса.

4.3. Планка и стойки для выполнения прыжков в высоту должны быть цветными, контрастными.

4.4. Маршрут и зоны для упражнений должны обозначаться при помощи системы информации для незрячих, а также четкими, хорошо различимыми указателями для остальных занимающихся.

4.5. Повороты дорожек следует обозначать изменением качества и фактуры покрытия.

4.6. На дорожках устанавливаются четкие указатели направления движения к площадке со стационарным игровым оборудованием.

5.1. Дорожка для бега по прямой изолируется от дорожки для бега по кругу.

5.2. Покрытие зон старта и финиша должно быть однородно по материалу, но выделяться по фактуре от покрытия дорожки. Стартовая линия должна быть фактурной.

5.3. Повороты беговой дорожки следует обозначать сменой фактуры (цвета покрытия) на расстоянии не менее 2,4 м от начала поворота.

5.4. Для выполнения прыжков в высоту зону разбега необходимо выделить фактурной поверхностью.

5.5. Стандартные виды оборудования следует дополнять специальным оборудованием для инвалидов.

2. Детские площадки игровые

2.3. Территория площадок в расчете на одного ребенка-инвалида должна быть не менее 5 - 7 м2 (до 4 лет), 7 - 10 м2 (до 7 лет), 10 - 12 м2 (до 11 лет).

3.5. Травмобезопасность обеспечивается устройством оград высотой 1 - 1,2 м из металлических сеток, дерева, живой изгороди; организацией дренажа поверхностей площадок, правильным выбором покрытий для различных видов деятельности.

4.7. Игровое оборудование необходимо окрашивать в яркие контрастные цвета.

4.8. По периметру игровых площадок должны предусматриваться полосы ориентации шириной не менее 1,5 м.

5.6. Необходимо разграничивать площадь участка по возрастным группам, выделяя зону для детей дошкольного возраста.

5.7. Комплексные площадки для активного досуга детей следует компоновать из зон: физкультурно-игровых устройств, плескательного бассейна с песком, спортивных игр.

5.8. Пешеходные и беговые дорожки должны быть снабжены направляющими поручнями.

3. Площадки для физкультурно-спортивных игр

 

3.6. Вокруг игровых площадок следует устраивать полосы безопасности по длинным сторонам шириной не менее 2 м, по коротким (торцевым) сторонам - не менее 3 м. На теннисных площадках зона безопасности должна быть увеличена по длинным сторонам до 4 м, по коротким - до 6 м.

4.9. Площадки следует визуально обособлять от коммуникационных путей и пространств при наличии необходимой информации

 

4. Залы для физкультурно-оздоровительных и спортивных занятий

2.4. Размеры залов назначаются по наибольшему размеру площадки исходя из предполагаемых видов занятий с учетом площади зон информации и ориентации.

2.5. В залах для игры в настольный теннис рекомендуется предусматривать зону размером не менее 9×4,5 м на один стол.

2.6. При расстановке оборудования в тренажерных залах необходимо учитывать проезды для инвалидов в креслах-колясках.

3.7. Вокруг игровых площадок и тренажеров в залах следует предусматривать зоны безопасности.

3.8. Стены залов должны быть абсолютно гладкими, без уступов.

3.9. Все крепежные детали оборудования, регуляторов, электрических выключателей должны устанавливаться заподлицо с поверхностью стен или заглубляться.

3.10. Рекомендуется мягкая обивка стен на высоту 3 м в залах для занятий на батуте и на высоту 2 м в залах для занятий гимнастикой и борьбой.

4.10. Вокруг площадки для игры наибольшего размера рекомендуется устройство информационных тактильных полос. Для ориентации занимающихся слепых используются звуковые маяки.

4.11. Для занятий в гимнастических залах инвалидов с дефектами зрения информационные тактильные дорожки рекомендуется устраивать вокруг зон снарядов, зоны для вольных упражнений, зоны для выполнения опорного прыжка.

4.12. Для занятий людей с полной или частичной потерей зрения рекомендуется использование отдельных площадок и зон, выделенных в многосекционных залах, только при обеспечении их акустической изоляции. В спортивных залах, используемых слепыми, рекомендуются акустические потолки для облегчения получения звуковой информации.

4.13. Объемы залов должны быть минимально необходимыми для облегчения ориентации.

4.14. Для указателей, маркировки и других ориентиров в зале рекомендуется сочетание голубого, черного, красного с белым или желтого с черным цветов. Цветом следует также выделять элементы инвентаря и оборудования (красные мячи, голубые, зеленые силовые тренажеры и т.п.).

5.9. Для спортивных игр инвалидов в креслах-колясках следует использовать залы с шероховатым, пружинящим напольным покрытием из синтетических материалов. Следует заглублять поручень, которым оборудуется зал для занятий слепых, в нишу в стене.

5.10. Для спортивных игр инвалидов с дефектами зрения поверхность пола должна быть идеально ровной и гладкой, границы площадок для игр обозначаются рельефными наклеивающимися полосами.

5.11. При выборе материала для пола и стен необходимо компромиссно учитывать потребности различных групп пользователей, включая инвалидов.

5.12. У стен зала следует устраивать откидную скамью для отдыха.

5.13. Необходимо применение чистых, не зависящих от качества освещения, цветов. Для пола и стен - контрастные цвета (голубой-желтый). Красный, оранжевый цвета следует применять лишь в зонах кратковременного (до 10 мин) пребывания - у отдельных тренажеров

5. Плавательные бассейны, ванны

2.7. Залы ванн бассейнов, доступных для инвалидов, как правило, должны иметь увеличенные по сравнению со стандартными размеры за счет увеличения ширины обходных дорожек и за счет зон для размещения дополнительного вспомогательного оборудования.

2.8. Обходная дорожка по периметру ванн должна быть шириной не менее 2 м в крытых и 2,5 м у открытых ванн.

2.9. Дорожка со стороны стартовых тумбочек и выходов из раздевальных должна быть шириной не менее 3,5 м.

2.10. Ширина лестницы для спуска в воду должна быть не менее 0,9 м.

2.11. Вместо ножных проходных ванн у выхода из раздевальных в зал бассейна рекомендуется применять коврики, пропитанные антисептиками.

2.12. Все пандусы, примененные в зале бассейна, должны иметь уклоны не более 1 : 20.

3.11. Вдоль стен бассейна по периметру обходной дорожки рекомендуется устраивать сплошной поручень на высоте 0,9 м от пола.

3.12. Для покрытия обходной дорожки следует применять шероховатую плитку. Уклон в сторону трапа 0,01 - 0,02.

3.13. Для безопасного спуска в воду инвалидов, чья подвижность целиком зависит от ортопедических устройств, следует предусмотреть установку желоба или специальных подъемников. Желоб может устанавливаться на высоте 0,5 м над уровнем обходной дорожки. Подъемники могут устанавливаться на обходной дорожке, крепиться к потолку или стене.

3.14. Терапевтические ванны следует оборудовать двигающимися подвесными вспомогательными средствами.

3.15. Глубина ванн бассейнов должна быть в пределах. 0,6 - 0,85 м - для оздоровительно-терапевтических ванн размером 6×12 м; 0,7 - 1,0 м - для плескательных ванн свободной формы для детей 6 - 12 лет 0,6 - 1,35 м - для обучения плаванию детей, с размером ванн 6×10 м; 0,8 - 1,35 м - для обучения плаванию взрослых, с размером ванн 8×16,6 м; 1,2 - 1,45 м - для физкультурно-оздоровительного плавания, с размером ванн 25×11 м.

4.15. Край ванны бассейна по всему периметру должен выделяться полосой, имеющей контрастную окраску по отношению к обходной дорожке. В ванных бассейнов, где возможны занятия слепых спортсменов, на обходных дорожках должны предусматриваться специальные тактильные полосы для информации и ориентации. Ширина полос ориентации для открытых ванн - не менее 1,2 м. За ней должно быть установлено предупреждающее ограждение с поручнем на высоте не менее 1 м.

4.16. Предупредительная цветовая маркировка должна быть на входах и выходах из бассейна, границе борта, центровке трамплинов, стартовых тумбочек.

4.17. Для получения различимой звуковой информации и снижения уровня шума рекомендуется применять перфорированный или слоистый акустический потолок.

5.14. По внешней границе обходной дорожки следует предусматривать устройство стационарных скамей высотой 0,5 м.

5.15. На площади обходной дорожки следует предусматривать места для хранения кресел-колясок.

5.16. В мелком конце ванны следует устраивать пологую лестницу с размерами, не менее: подступенков - 0,14 м и проступей - 0,3 м. Рекомендуется устраивать лестницу вне габаритов ванны. Лестница должна иметь стационарные поручни.

5.17. Для спортивно-оздоровительного плавания рекомендуются ванны без бортов с переливной решеткой в уровне обходной дорожки. В ваннах терапевтического и двигательно-оздоровительного назначения, как и в детских ваннах, с 3 сторон устраивается борт высотой 0,65 м. С одной длинной стороны ванны уровень обходной дорожки должен быть понижен для работы врача или инструктора. В месте самостоятельного входа инвалида в воду борт должен находиться в уровне воды.

6. Раздевальные, душевые и санузлы.

2.13. Размер прохода между скамьями в общих раздевальных должен составлять не менее 1,8 м.

2.14. Индивидуальные кабины для переодевания инвалидов, использующих кресла-коляски, следует предусматривать увеличенных размеров: 2×2 м. Эти кабины должны быть доступны из помещений общих раздевальных, они могут быть и проходными с выходом непосредственно в зал.

2.15. Количество душевых кабин для инвалидов следует принимать из расчета одна душевая сетка на 3 занимающихся инвалидов, но не менее одной.

 

4.18. Зоны для переодевания инвалидов в общих раздевальных рекомендуется указать специальной маркировкой, а также визуально отделить от остального помещения мебелью и оборудованием.

5.18. Необходимо устройство подиума или островной скамьи длиной 3 м, шириной 0,7 - 0,9 м и высотой 0,5 м для возможности переодевания лежа. Допускается устройство расширенной скамьи (не менее 0,6 м шириной) вдоль одной из стен раздевальной.

5.19. В помещениях «семейных раздевальных» следует предусматривать самостоятельную душевую и санузел, доступные для инвалидов.

7. Комната первой медицинской помощи.

2.16. Прямой доступ из ванн и спортзалов бассейнов.

 

 

5.20. Следует предусматривать санузел, доступный для инвалидов.

Таблица 5.2

Требования к демонстрационным спортивным сооружениям (стадионы, спортивно-зрелищные залы)

Объект

Требования по критериям

доступности

безопасности

информативности

комфортности

1. Места для зрителей на трибунах

2.1. Места для инвалидов на стадионах следует предусматривать как на трибунах, так и перед трибунами на уровне спортивного ядра (на части площадей для судей, запасных игроков и т.д.).

2.2. Места для инвалидов в спортивно-зрелищных залах следует предусматривать как на трибунах, так и в партере.

2.3. Если первый ряд приподнят над хоккейной ареной, необходимо предусматривать пандус. Глубина ряда должна быть не менее 1,4 м.

2.4. При расположении мест для инвалидов на горизонтальном участке пола в первом ряду ширина продольного прохода должна быть не менее 1,2 м.

2.5. При выделении зоны для инвалидов в последнем ряду зрительских мест ее глубину принимают не менее 1,7 м (два ряда).

2.6. «Б» - при размещении инвалидов в ложе следует предусматривать лифт с уровня вестибюля.

3.1. Места для инвалидов следует располагать вблизи эвакуационных выходов.

3.2. В одном месте не следует располагать более трех инвалидов в креслах-колясках.

3.3. На трибунах при уклоне более 5 % не рекомендуется предусматривать места для инвалидов.

3.4. Места для инвалидов, располагаемые на уровне арены, располагать только за пределами зон безопасности.

3.5. Места для инвалидов в первых рядах у выходов или вблизи эвакуационных люков не должны сужать ширины прохода, необходимой по расчету путей эвакуации.

3.6. Места, выделенные для размещения инвалидов на креслах-колясках, следует огораживать барьером.

4.1. При расположении в партере на плоском полу мест для инвалидов на креслах-колясках два места следующего за ним ряда не используются либо делаются съемными.

4.2. На трибунах следует предусматривать не менее 3 мест для подключения индивидуальных слуховых аппаратов, связанных со специальной акустической системой.

4.3. Места для инвалидов должны располагаться в зоне прямой видимости светоинформационного табло.

4.4. При использовании в зале затемнения пандусы и ступени должны иметь подсветку.

5.1. Места для инвалидов, размещаемые на открытых трибунах, следует защищать от атмосферных осадков.

5.2. Наиболее предпочтительные зоны для расположения мест инвалидов в спортивно-зрелищных залах: в первом ряду; у продольного прохода в зале на уровне фойе; в последнем ряду (удаленность от центра арены не более 34 м).

5.3. Не следует располагать места для инвалидов перед первым рядом трибун в залах с хоккейной ареной с бортами, препятствующими видимости.

5.4. Рекомендуется размещение инвалидов в ложе, находящейся в зоне оптимальной видимости и имеющей самостоятельный эвакуационный выход.


5.13. Места для переодевания инвалидов могут быть предусмотрены:

в общих раздевальных,

в индивидуальных кабинах для переодевания, в отдельных помещениях «семейных раздевальных» (раздевальных для инвалидов с сопровождающими).

Площадь раздевальных с учетом возможности посещения инвалидами рекомендуется принимать:

на 1 занимающегося в залах - не менее 3,8 м2, на 1 занимающегося в бассейнах с залом подготовительных занятий - 4,5 м2 (для общих раздевальных);

в раздевальных с хранением одежды в отдельном помещении гардеробной - 2,1 м2, для индивидуальных кабин - 4-5 м2;

в «семейных раздевальных» для инвалидов с сопровождением - 6-8 м2.

Удельные показатели площади включают места для переодевания, шкафы для хранения домашней одежды в общих раздевальных, мойки для ног.

5.14. Специальные требования к основным и вспомогательным помещениям с учетом посетителей-инвалидов приведены в табл. 5.1.

Демонстрационные спортивные сооружения

5.15. Демонстрационные спортивные сооружения, функционирующие в учебно-тренировочном режиме более 60 % времени, рекомендуется рассчитывать на совместное использование инвалидами и здоровыми посетителями. Следует рассматривать их как один из элементов единой системы физкультурно-спортивных сооружений.

Размещение мест для зрителей-инвалидов в зале плавательного бассейна показано на рис. 5.1.

5.16. Все основные и дополнительные элементы спортивных зданий и сооружений должны быть доступны для маломобильных посетителей.

5.17. Требования к проектированию тренировочных залов и вспомогательных помещений даны в табл. 5.1, к размещению инвалидов на трибунах - в табл. 5.2.

5.18. Количество мест для инвалидов на креслах-колясках на трибунах спортивно-зрелищных залов рекомендуется принимать из расчета 2 % общей вместимости сооружений плюс 1 место на каждые 100 при вместимости свыше 1000 зрителей.

Минимальное количество мест на трибунах для инвалидов в креслах-колясках с сопровождающими их лицами - 4.

6. ЗДАНИЯ КУЛЬТУРНО-ПРОСВЕТИТЕЛЬНЫХ И ЗРЕЛИЩНЫХ УЧРЕЖДЕНИЙ

БИБЛИОТЕКИ

6.1. На участке библиотек рекомендуется предусматривать озелененные территории, включающие площадки, которые необходимо оборудовать скамьями для чтения, навесами, перголами и другими малыми архитектурными формами для чтения на открытом воздухе. Зону для чтения рекомендуется организовывать в стороне от улиц с транспортным движением.

6.2. Помещения читальных залов библиотек следует располагать, как правило, в одном уровне, многоуровневое расположение допускается только для крупных библиотек.

6.3. Для маломобильных посетителей должен быть доступен блок обслуживания читателей. Вспомогательные помещения обслуживания следует проектировать с учетом требований Свода правил СП 35-101, блок помещений, включающий кружковые комнаты и лекционные залы - аудитории - в соответствии с требованиями раздела «Клубы» (пп. 6.25 - 6.36).

6.4. В зоне (зонах), где предполагается обслуживание инвалидов, необходимо обеспечить возможность получения всего объема информационных услуг: пользование автоматизированной системой каталога фондов библиотеки, получение необходимых справочно-библиографических данных на компьютере, получение данных о размещении и составе специализированных фондов (для инвалидов по зрению) и т.п.

6.5. Библиотечное обслуживание инвалидов рекомендуется осуществлять во всех типах библиотек. В зависимости от местных условий и принятого функционально-планировочного решения в библиотечной системе могут быть предусмотрены следующие организации обслуживания населения:

вариант «А» - обслуживания всех категорий посетителей во всех помещениях читательского блока;

вариант «Б» - обслуживания инвалидов в специально оборудованных отделах обычных библиотек, с выделением самостоятельных путей движения и зон обслуживания.

Примеры адаптации зданий библиотек при реконструкции приведены на рис. 6.1.

6.6. Составы и площади помещений библиотек, доступных для маломобильных посетителей, устанавливаются в каждом случае индивидуально в зависимости от численности инвалидов различных категорий, проживающих в зоне обслуживания, от степени развитости каждого подразделения (объема фондов, характера и форм библиотечного обслуживания), степени оснащенности необходимым функционально-технологическим оборудованием.

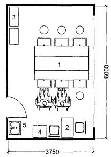
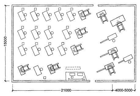
6.7. Площади помещений функциональных подразделений (зоны аванзала, зоны читального зала, зоны хранения открытого фонда и абонемента) рекомендуется определять как сумму площадей, занимаемых рабочими местами сотрудников-методистов, набором необходимых функционально-технологических элементов, рассчитанных на здоровых читателей и инвалидов (в том числе стеллажами выставки новых поступлений, каталожными шкафами с местами для работы, кафедрами выдачи литературы с подсобными фондами закрытого хранения) из расчета - 8 м2 на 1 читателя-инвалида.

6.8. Количество читательских мест, специально оборудованных и предназначенных для библиотечного обслуживания инвалидов всех категорий, следует определять на базе предпроектных исследований по расчету для каждого функционального подразделения. В любом случае оно должно составлять не менее 5 % общего числа читательских мест в библиотеках Централизованной библиотечной сети, в том числе для обслуживания инвалидов в креслах-колясках - не менее 4 специальных мест.

6.9. В отделениях городских библиотек для обслуживания читателей с недостатками зрения рекомендуется выделять фонд не менее 2,5 тыс. экземпляров литературы со шрифтом Брайля.

6.10. Для обслуживания читателей - инвалидов по зрению, пользующихся специализированным книжным фондом, рекомендуется либо предусматривать специализированный отдел, либо выделять часть читального зала. Количество книжного фонда, выделяемого в общем фонде, определяется при этом из расчета не менее 10 - 12 специализированных экземпляров на 1-го читателя. Количество мест для маломобильных читателей рекомендуется предусматривать не менее 4. Места для читателей с недостатками зрения (кабины, кабинеты) должны предусматривать размещение секретаря-чтеца и тифлотехнических средств (магнитофонов, диктофонов, брайлевских пишущих машинок и т.п.).

6.11. Специализированные филиалы ЦБС для инвалидов могут быть организованы, как правило, один на систему, обслуживающую административный район крупных городов с проживанием в нем инвалидов общей численностью не менее 250 чел. Такие филиалы рекомендуется организовывать в пешеходной доступности от мест проживания большего числа инвалидов, например в специальных жилых домах и других специализированных учреждениях для инвалидов.

6.12. Специальную зону для работы инвалидов в читальных залах рекомендуется оборудовать следующим образом: четыре читательских места за одноместными столами пригодны для работы инвалидов на колясках, специальные стеллажи с наклонными полками - для размещения как обычной литературы, так и книг с брайлевским шрифтом (не менее двух стеллажей вблизи читательских мест). В зоне должны находиться несколько банкеток, кресел или стульев. Желательно наличие одного каталожного столика с каталогом, выполненным брайлевским шрифтом. Все проходы внутри зоны должны иметь ширину не менее 1,2 м. Размер рабочего места инвалида (без учета поверхности стола) должен быть 1,5×0,9 м. Рекомендуется принимать оптимальные габариты площади поверхности стола читателя с недостатками зрения для работы с секретарем-чтецом - 1,5×0,7 м в кабинах, полукабинах или кабинетах (рис. 6.2).

6.13. Необходимо предусмотреть отдельное помещение для функционального подразделения, где используются аудиовизуальные средства обслуживания. Для читателей с дефектами слуха помещения аудиовизуального обслуживания и помещения для групповой работы - кружковая и аудитория - должны быть изолированы планировочно, а также техническими средствами.

6.14. В помещении аудиовизуального обслуживания можно предусматривать зону для организации аутотренинга, предназначенного для психологической разгрузки, прослушивания музыки, а также читательские места для лиц с недостатками зрения. Помещение должно быть радиофицировано, оборудовано аппаратурой для прослушивания музыки, креслами и при необходимости столами. Ряд кресел следует оборудовать специальным устройством для снятия мышечного напряжения с рук для лиц с полной потерей зрения.

6.15. В зоне обслуживания лиц с недостатками зрения читательские места и специальные стеллажи с литературой на брайлевском шрифте рекомендуется оборудовать добавочным освещением. При размещении читательских мест и фондов открытого доступа для читателей с недостатками зрения необходимо предусматривать высокий уровень естественной освещенности этой читательской зоны (КЕО = 2,5 %), а уровень освещения читательского стола - не менее 1000 лк.

МУЗЕИ И ВЫСТАВКИ

6.16. Все виды музеев должны быть доступны для всех категорий посетителей, включая инвалидов. Требования по доступности относятся к планировке как участка, так и здания с экспозицией.

6.17. При проектировании музеев следует применять, как правило, общие универсальные пути движения для здоровых и маломобильных посетителей и приспособление для их нужд помещений. В отдельных случаях, когда мемориальные и другие типы музеев невозможно адаптировать для посетителей-инвалидов (на креслах-колясках, слепых), следует создавать специальные экспозиционные зоны вне здания или помещения, дающие представление указанным категориям инвалидов о содержании основной экспозиции (решения по варианту «Б»).

6.18. Следует обеспечить беспрепятственный доступ всех категорий посетителей в экспозиционную зону участка, которая является продолжением постоянной экспозиции здания под открытым небом: скульптур, архитектурных фрагментов, крупногабаритных экспонатов и т.д.

При наличии резких перепадов рельефа, ценных зеленых насаждений на участке возможно выделение только отдельной зоны, доступной для инвалидов.

6.19. Для посетителей-инвалидов рекомендуется обеспечивать доступность основных функциональных блоков музеев в соответствии с табл. 6.1 и рис. 6.3.

Таблица 6.1

Функция

Место

Доступность для инвалидов

Содержание экспонатов:

 

 

показ

Экспозиционные и выставочные залы

Для всех групп

сбор и хранение

Фондохранилища и реставрационные мастерские

В исключительных случаях

изучение

Рабочие комнаты

Желательно оборудование специальных комнат

Обслуживание посетителей:

 

 

прием

Вестибюль, кинолекционный зал, кружковые комнаты

Для всех групп

показ

Экспозиционные и выставочные залы

То же

информация

Информационные службы, библиотека

Для всех групп (специальное оборудование и подготовка музейного персонала по приему инвалидов)

6.20. Требования, предъявляемые к зонам постоянной экспозиции (зальным помещениям) музеев, приведены в табл. 6.2.

6.21. С учетом потребностей посетителей-инвалидов для музеев с выставочной площадью до 2000 м2 рекомендуется расположение экспозиции в одном уровне.

Зону постоянной экспозиции рекомендуется создавать с анфиладным или кольцевым маршрутом движения. Тупиковая планировка нежелательна.

6.22. Пандусы следует использовать для организации последовательного движения и одновременного осмотра экспозиции.

6.23. В крупных музеях в уровне вестибюля должен быть предусмотрен медпункт для оказания экстренней помощи посетителям, в том числе маломобильным.

6.24. При необходимости ознакомления с работой реставраторов, процессом подготовки выставок рекомендуется обеспечить доступность в служебно-реставрационную зону.

В том случае, когда невозможно обеспечить доступность реставрационных мастерских, в стене, отделяющей их от коридора, рекомендуется предусмотреть смотровое окно. Низ окна не должен быть выше 0,85 м от пола. Освещение коридора не должно создавать бликов на смотровых окнах.

КЛУБЫ

6.25. Клубы, проектируемые с учетом потребностей маломобильных групп населения, могут быть как с обычным составом помещений, предназначенных для смешанных коллективов, - вариант «А», так и с дополнительными помещениями, специально оборудованными для инвалидов, - вариант «Б». К числу таких помещений относятся: кружковые комнаты для занятий музыкой, танцами, различными ремеслами, а также вспомогательные помещения оздоровительного блока (раздевальные с душевыми и санузлами, медицинский кабинет).

Помещения кружков с участием инвалидов рекомендуется проектировать не более чем на 10 - 12 чел. Инвалиды в креслах-колясках могут составить до 25 % общей численности кружка.

6.26. Удельную площадь помещений кружков и универсальных зон на 1 посетителя при смешанном составе участников занятий рекомендуется принимать на 20 - 50 % выше наибольшего значения, принимаемого для обычных посетителей, но не менее, м2:

В помещениях кружков:

хорового и универсальных                                                                                                         2,0 (2,5)*

театрально-драматического, изобразительного искусства, кино-фототехнического, домоводства, оркестрового                                                                                                         3,6 (4,5)*

танцевального, циркового, технического, различных мастерских                                                                                                         7,2 (9)*

В универсальных помещениях:

гостиной                                                                                                         2,2 (2,7)*

зале                                                                                                         2,0 (2,6)*

рекреациях                                                                                                         3,8 (4,8)*

* В скобках дано оптимальное значение.

6.27. Требования к проектированию помещений кружков даны в табл. 6.3.

6.28. В пределах удобной доступности для инвалидов - участников выступлений - желательно предусмотреть следующие помещения: артуборные, гримерно-парикмахерскую, комнату отдыха, санузлы с душевыми. Необходимо обеспечить удобную связь их с эстрадой путем устройства пандуса с допустимым уклоном.

6.29. Рекомендуется эстрада типов Э-2 и Э-3, но с увеличением глубины плоского планшета до 9 - 12 м и авансцены - до 2,5 м для возможности участия в программах инвалидов на креслах-колясках. Рекомендуемая высота эстрады - 0,8 м.

Для подъема на сцену, кроме лестниц, должен быть предусмотрен стационарный или приставной пандус шириной не менее 0,9 м с уклоном 8 % и бортиками по бокам. Лестницы и пандусы, ведущие на сцену, с одной стороны должны иметь ограждения с двойными поручнями на высоте 0,5/0,7/0,9 м.

Для обеспечения комфортных условий инвалидам в креслах-колясках, выступающим с эстрады, рекомендуется устройство трибуны меньшей высоты (рабочая плоскость не выше 0,8 м).


Таблица 6.2

Требования, предъявляемые к зонам постоянной экспозиции (зальным помещениям) музеев

Объект

Требования по критериям

доступности

безопасности

информативности

комфортности

1. Экспозиционная и выставочная зоны музеев и выставок

2.1. Для доступности объемных экспонатов посетителям с дефектами зрения их следует располагать на столе в центре зала.

2.2. Для инвалидов в креслах-колясках требуется понижение высоты подвески плоскостных материалов с 1,56 до 1,25 м.

2.3. Навесная витрина должна находиться на высоте, доступной для визуального восприятия с кресла-коляски (низ на отметке не более 0,85 м от уровня пола).

2.4. Горизонтальная витрина должна иметь под собой пространство для подъезда инвалида в кресле-коляске.

3.1. Следует ограждать выступающие и свободно стоящие предметы.

3.2. Для инвалидов с дефектами зрения вокруг экспозиционного стола следует предусмотреть предупредительную фактурную цветную полосу шириной 0,9 м в уровне пола.

3.3. У витрин на высоте 0,8 м необходимо устройство горизонтального поручня со скругленными углами.

4.1. В оборудование экспозиций необходимо включать разнообразные аудиовизуальные средства, облегчающие инвалидам осмотр и усвоение представленного материала.

4.2. На несколько экспонатов (3 - 4) монтируется вывод наушников для получения информации об этих предметах.

5.1. Экспонаты следует располагать на вращающихся подставках с табличками на шрифте Брайля. Часть экспонатов желательно представлять в виде слепков, допуская их ощупывание.

5.2. Для посетителей с ослабленным зрением этикетки экспонатов рекомендуется выполнять объемными.

5.3. При подсветке экспонатов необходимо устройство комбинированного (местного и общего) освещения для компенсации недостатка в нем у инвалидов с дефектами зрения.

5.4. В нижней части экспозиции рекомендуется повышать уровень освещенности.


Таблица 6.3

Назначение кружков

Требования к проектированию

1. Музыкальный кружок - танцевальная студия

2.1. Оборудование (полки для хранения нот, книг, наушников и др.) должно располагаться на доступной высоте.

2.2. Общее освещение должно быть рассеянным, при возможности - включение индивидуального освещения на каждом пюпитре, сетевые розетки для подключения электромузыкальных инструментов должны быть не только на стенах, но и в лючках в полу.

2.3. Оборудование должно быть легко трансформируемым для возможности организации по центру танцевальной зоны. Рекомендуется устройство небольшой эстрады-подиума.

2.4. Танцевальную зону для безопасности рекомендуется устилать съемным мягким покрытием. Размеры студии - не менее 6×6 м.

2.5. В блоке с музыкальным кружком рекомендуется размещать мастерскую по настройке и ремонту инструментов, помещения для хранения дисков и аудиокассет.

2.6. Помещение для музыкальных занятий должно иметь параметры и оборудование, позволяющие размещение от одного до четырех инвалидов на креслах-колясках. Оно должно иметь естественное освещение, звукоизоляцию и оборудоваться двойными дверями.

2.7. Оборудование помещений для занятий музыкой (танцами) должно быть приспособлено к использованию его инвалидами: пристенную нотную доску рекомендуется делать откидной; размещение полок для хранения нот, книг, наушников и т.п. - на доступной высоте; розетки подключения к сети - не только внизу стен, но и в различных зонах пола. Общее освещение в помещении должно быть рассеянным, а кроме того, на каждом пюпитре рекомендуется индивидуальное освещение.

2.8. Помещение для занятий музыкой может использоваться как танцевальная студия, для чего рекомендуется оборудовать центральную зону специальными матами для инвалидов с нарушением ОДА без кресел-колясок и небольшой эстрадой с пандусами для обеспечения доступа инвалидов. В общем танцевальном зале для инвалидов может быть оборудована специальная зона

2.9. Помещение для занятий музыкой лучше всего размещать в блоке с также приспособленной для инвалидов комнатой звукозаписи, мастерской по ремонту и настройке инструментов, помещением для хранения аудиокассет, дисков, каталогов.

2. Комната звукозаписи

2.10. Комната должна быть рассчитана на 2 - 4 чел. и быть снабжена картотекой со специальной маркировкой для слепых, повторяющейся на аудиокассетах и пластинках.

3. Мастерские для различных ремесел

2.11. Мастерские должны быть оборудованы рабочими местами с изменяющейся высотой рабочей поверхности, складирование материалов следует осуществлять в нижних зонах.

2.12. При мастерской должны быть комнаты для хранения материалов и готовой продукции.

2.13. Все углы оборудования рекомендуется скруглять, чтобы избежать травматизма.

2.14. При мастерской следует устраивать раздевальную с санузлом, а в самой мастерской - мойки для рук, размещенные на доступной высоте и оборудованные специальными сантехприборами.

2.15. Рабочая зона должна иметь общее рассеянное и дополнительное индивидуальное освещение.

2.16. Параметры помещения должны обеспечивать свободу передвижения к любому оборудованию и его удобное использование.

4. Помещение фототехнического кружка

2.17. Высота установки оборудования - 0,7 м, размеры минимального пространства под оборудованием - 0,65 м в высоту и 0,4 м в глубину. Угловая постановка оборудования облегчает доступность всех зон.

5. Изостудия

2.18. Помещение должно иметь размеры не менее 6,5×6,5 м.

2.19. Расстановка оборудования в помещении (желательно трансформируемого) должна обеспечить возможность размещения 1 - 3 инвалидов в креслах-колясках в зонах комфортной видимости модели, находящейся на подиуме.

2.20. Необходимо естественное освещение студий.

6.30. Количество мест для инвалидов на креслах-колясках следует предусматривать в зрительных залах по табл. 6.4, а в лекционных залах и залах собраний - из расчета 1 % при вместимости залов 50 - 500 чел. Необходимо также обеспечивать возможность размещения рядом сопровождающих. Размещение инвалидов показано на рис. 6.4, 6.5 и 6.6.

6.32. На путях эвакуации зрителей из зала необходимо устраивать вдоль стены опорные поручни-перила на высоте 0,5, 0,7, 0,9 м от уровня пола. За 1,5 м от дверного проема или поворота фактура поверхности поручня должна меняться.

6.33. В непосредственной близости от входа в зал (в фойе) следует предусматривать непроходные зоны отдыха и ожидания для детей-инвалидов. Зона на одного ребенка - 1,2×1,8 м; общая площадь зоны должна быть рассчитана не менее чем на трех детей (см. рис. 6.5).

Не допускается размещение инвалидов в зрительных залах на площади существующих проходов и у эвакуационных дверей, не рассчитанных по своим параметрам на их безопасную эвакуацию.


Таблица 6.4

Требования к клубным залам

Объект

Требования по критериям

доступности

безопасности

информативности

комфортности

1. Универсальные клубные залы

2.1. Следует предусматривать устройство горизонтального пола от наружной кромки сцены в сторону зала на 6 - 12 м, в том числе для размещения временных зрительских мест для инвалидов в креслах-колясках.

2.2. Стационарные места следует располагать за пределами горизонтального участка пола, при этом первые 2 - 5 рядов должны иметь глубину ряда не менее 1 м для доступности инвалидов с ограниченной подвижностью, а также с дефектами зрения и слуха.

3.1. Места для инвалидов в креслах-колясках должны быть по возможности рассредоточены по залу, чтобы избежать их концентрации в местах эвакуации.

4.1. Залы вместимостью более 800 мест рекомендуется дополнительно оснащать телемониторами.

4.2. Следует предусматривать дополнительные осветительные мероприятия по усилению визуальной информации: рир-проектор, подсветку места переводчика жестового языка.

5.1. Подъем зрительских мест должен соответствовать условиям комфортной видимости с учетом инвалидов на креслах-колясках.

5.2. Места для инвалидов должны быть комфортными по антропометрическим характеристикам.

5.3. «Б» - оптимальная вместимость зала для посетителей с дефектами слуха - 200 - 300 мест с наибольшим удалением последнего ряда от сцены на 10 - 13 м.

5.4. Форма зала должна обеспечить оптимальные условия видимости (особенно для компенсации дефекта слухового восприятия).

2. Лекционные залы

2.3 Расстояние между столами следует увеличить до 1,1 м

3.2. Пандусы, ведущие к рядам в ярусных амфитеатрах, должны иметь перила по стенам.

 

5.5. Крышки столов-парт должны быть шириной не менее 0,48 м.

5.6. Места для посетителей с дефектами зрения следует оборудовать индивидуальными светильниками.


6.31. На креслах должны быть оборудованы пункты подключения индивидуальных слуховых аппаратов. Усиление громкости звука должно быть обеспечено при помощи наушников. Специальные места для хранения наушников могут быть устроены в подлокотниках или спинках кресел.

ТЕАТРЫ, ТЕАТРЫ-СТУДИИ, ЦИРКИ

6.34. Общее расчетное число мест для инвалидов в театральных зданиях города из расчета на 1000 жителей рекомендуется принимать: для театров 0,5-0,8 места, для цирков - 0,13 - 0,26 места. Нижний предел этого показателя рекомендуется принимать за расчетную единицу для крупнейших городов, верхний - для малых городов. При этом места для маломобильных посетителей в театрах, цирках целесообразно сосредоточить в объектах, находящихся в центре города, с обеспечением необходимой транспортной и пешеходной доступности.


Таблица 6.5

Требования к расположению и организации зрительских мест для маломобильных посетителей в зрительных залах

Объект

Требования по критериям

доступности

безопасности

информативности

комфортности

1. Зрительные залы

2.1. В реконструируемых залах, где уклон пандусов превышает 5 %, места для зрителей на креслах-колясках следует предусматривать на плоском полу по бокам первого ряда зрительских мест (минимальная ширина прохода перед первым рядом - 1,2 м).

2.2. Места для инвалидов в креслах-колясках возможно размещать в первых рядах театров при наличии зоны вдоль сцены шириной не менее 2,1 м.

2.3. В залах, где имеются кроме боковых дополнительные продольные проходы, места для инвалидов допускается размещать по бокам отрезков первого ряда, а также вдоль среднего продольного прохода при условии устройства съемных кресел в соответствии с п. 5.3.

2.4. При наличии поперечного прохода шириной не менее 1,2 м, а также при возможности въезда кресла-коляски на его уровень непосредственно из фойе допускается оборудование мест для инвалидов по бокам отрезков рядов, ограничивающих пространство прохода.

2.5. Места для кресел-колясок в среднем поперечном проходе вблизи эвакуационных выходов допускается предусматривать при ширине прохода между креслами не менее 2,6 м (без съемных мест) и не менее 2,1 м (с устройством съемных мест).

2.6. При размещении зрителей на костылях (с протезами, с негнущимися в коленях ногами и т.п.) в крайних местах на общих рядах следует обеспечить ширину между рядами не менее 1,1 м.

2.7. Размещать места для инвалидов в залах цирков следует вблизи эвакуационных люков в тех рядах, плоскость которых находится на одном уровне с фойе. В существующих цирках допускается использовать служебные входы для доступа зрителей к местам, расположенным на плоском полу перед первым рядом. В этом случае площадь прохода должна быть увеличена не менее чем до 2,2 м (в местах, где предполагается размещение инвалидов).

3.1. В залах вместимостью 800 зрителей и более места для инвалидов в креслах-колясках следует рассредоточивать в нескольких зонах.

3.2. В залах с 1 - 2 выходами рекомендуется места для инвалидов по возможности размещать в непосредственной близости от эвакуационных выходов.

3.3. В одном месте следует располагать не более 3 инвалидов в креслах-колясках.

3.4. Не допускается размещение инвалидов вне зрительских мест у дверей в тех случаях, когда ширина продольного прохода менее 1,8 м, а поперечного - менее 2,1 м. В случае расположения инвалидов в первых рядах вблизи эвакуационных выходов ширина прохода должна быть увеличена на ширину свободного проезда кресла-коляски.

3.5. Поперечную ширину путей эвакуации следует назначать не более 2,5-кратной ширины горизонтальной проекции кресла-коляски.

3.6. При возможности расположения инвалидов в отдельных рядах, имеющих самостоятельный путь эвакуации, не пересекающийся с путями эвакуации остальной части зрителей, дополнительный выход из зала должен иметь ширину не менее 1,8 м.

3.7. При уклоне гребенки амфитеатра более 5 % следует предусмотреть преодоление уклона в несколько приемов по пандусу при соблюдении нормируемого уклона, а также устройство перил в местах примыкания пандуса к стенам.

4.1. В зрительных залах театров для зрителей с дефектами слуха рекомендуется предусматривать место дактипереводчика, оснащенное подсветкой и расположенное в первом ряду.

5.1 Места для инвалидов в креслах-колясках следует проектировать с учетом установки (при необходимости) съемных кресел или съемного ряда для обслуживания обычных посетителей с расстоянием между ним и предыдущим рядом не менее 1,1 - 1,2 м.

5.2. Необходимо оборудовать съемными секциями первые и последние ряды кинозалов, чтобы варьировать количество мест для инвалидов в зависимости от потребности.

5.3. Пандусы и ступени в зале должны иметь подсветку для облегчения ориентации и передвижения инвалидов в затемненном зале.

5.4. Для облегчения доступа сопровождающих лиц к инвалидам рекомендуется в местах их размещения предусматривать откидные сиденья и подлокотники кресел.

5.5. Разница в превышении луча зрения у инвалида в кресле-коляске и обычного посетителя - 4 - 6 см, что позволяет располагать инвалидов на плоском полу в поперечных проходах при соблюдении комфортной видимости.

5.6. В театрах-студиях при активном участии инвалидов в качестве зрителей или действующих лиц рекомендуется устройство сцены-арены с уменьшенной глубиной сценической площадки.


6.35. Главные входы в театр (цирк, театр-студию) для зрителей следует располагать со стороны главной улицы или площади и предусматривать необходимые условия для доступности всех категорий посетителей.

Входы для почетных гостей должны быть доступны для посетителей-инвалидов.

6.36. Количество мест для инвалидов в креслах-колясках в зрительном зале рекомендуется принимать по вместимости зала, но не менее:

50 - 75 мест в зале                                                                                        3

76 - 100 - » -                                                                                                  4

101 - 150 - » -                                                                                                5

151 - 200 - » -                                                                                                6

201 - 300 - » -                                                                                                7

301 - 400 - » -                                                                                                8

401 и более - » -                                                                                           9

6.37. Для инвалидов рекомендуется делать доступными помещения зрительского комплекса: вестибюль, кассовый вестибюль, гардероб, санузлы, фойе, буфеты, коридоры и кулуары перед зрительным залом.

6.38. Требования к расположению и организации зрительских мест для маломобильных посетителей в зрительных залах изложены в табл. 6.5 и на рис. 6.4, 6.6 и 6.7.

6.39. В театрах-студиях, где инвалиды обучаются и являются артистами, необходимо приспособление для них студийных помещений (классов и репетиционных залов).

6.40. Рекомендуется в передних и задних рядах просмотровых залов устраивать съемные секции мест, что позволит приспособить зал к присутствию инвалидов на креслах-колясках. На стационарных местах, примыкающих к местам размещения инвалидов, рекомендуется оборудовать кресла опускающимися подлокотниками.

КИНОТЕАТРЫ И КИНОКОНЦЕРТНЫЕ ЗАЛЫ

6.41. Зрительские помещения - вестибюль с кассовым вестибюлем, гостиные, игровые, буфет, гардероб, санузлы, а также услуги, предоставляемые в кинотеатрах посетителям, должны быть доступны для инвалидов.

Помещения залов, фойе и других обслуживающих помещений рекомендуется располагать на одном уровне.

6.42. Требования к размещению зрительских мест для инвалидов, условиям видимости и особенностям эвакуации аналогичны другим зрительным залам.

6.43. Расчетное число зрительских мест для инвалидов рекомендуется принимать по вместимости зала, но не менее:

50 - 150 мест в зале                                                                                      2 %

151 - 300 - » -                                                                                                3 %

301 - 1000 - » -                                                                                              5 %

1001 и более - » -                                                                                         20 мест

Они могут уточняться в процессе предпроектного анализа.

7. ПРЕДПРИЯТИЯ ТОРГОВЛИ, ОБЩЕСТВЕННОГО ПИТАНИЯ И БЫТОВОГО ОБСЛУЖИВАНИЯ

7.1. Предприятия розничной торговли, открытой сети общественного питания и бытового обслуживания населения (в дальнейшем - предприятия сервиса) являются наиболее массовой группой общественных зданий, где необходимо создание условий доступности для маломобильных групп населения.

Предприятие сервиса должно обеспечить маломобильным категориям пользователей полноценные условия получения (реализации) услуги наравне с другими категориями населения.

7.2. В предприятиях сервиса следует предусматривать для обеспечения обслуживания маломобильного населения на дому дополнительные помещения для обслуживающего его персонала, специализированный блок для оформления и получения заказа, помещения для комплектации заказов, хранения заказов и сдаваемых в ремонт, стирку или химчистку вещей.

7.3. Выбор варианта организации обслуживания («А» или «Б») устанавливается в задании на проектирование исходя из финансовых и организационных возможностей заказчика, инвестора проекта или социальных служб района строительства.

7.4. При проектировании предприятий, доступных для маломобильных категорий пользователей (посетителей, потребителей), следует учитывать общие требования к формированию архитектурной среды, изложенные в Своде правил СП 35-101. Дополнительно следует учитывать специфические требования к отдельным типам учреждений, приведенные ниже.

ПРЕДПРИЯТИЯ РОЗНИЧНОЙ ТОРГОВЛИ

7.5. Доступность для маломобильных посетителей должна быть обеспечена в первую очередь в предприятиях розничной торговли - продовольственных магазинах (универсам, гастроном, диетические продукты и специализированных магазинах) и непродовольственных магазинах (универмаг, «Детский мир», и другие специализированные магазины), а также в торговых центрах.

7.6. Для личного транспорта инвалидов на автостоянках при предприятиях розничной торговли следует выделять из общего количества мест для предприятий с площадью торговых залов:

от 400 до 1000 м2 - не менее 15 % мест;

более 1000 м2 - не менее 10 % мест;

менее 400 м2 - не менее 1 места.

Места для транспортных средств инвалидов должны размещаться не далее 50 м от специализированного входа для маломобильных покупателей.

7.7. В зависимости от принятого в задании на проектирование приема организации обслуживания маломобильных покупателей возможны два варианта проектирования внутренней архитектурной среды:

вариант «А» - приспособлению для доступности маломобильных посетителей подлежат все помещения торгового предприятия, открытые для покупателей: торговые залы, отделы заказов, кафетерии, помещения приема посуды, кабинеты администрации. В этом случае необходимо обеспечить условия доступности, безопасности, информативности и удобства для этой категории покупателей по всему зданию независимо от этажности в соответствии с требованиями Свода правил СП 35-101;

вариант «Б» - создание условий для покупки товаров полного ассортимента в специально выделенном помещении для маломобильных покупателей. Дополнительные помещения или специальные зоны для обслуживания данного контингента должны размещаться в удобной связи с наружными входами.

7.8. Торговое оборудование должно обеспечивать доступность всем контингентам покупателей, в том числе лицам на креслах-колясках, для выбора товара (рис. 7.1 и 7.2).

7.9. Комплектация и расстановка оборудования в торговых залах, доступных инвалидам, должны быть рассчитаны на обслуживание лиц, передвигающихся на креслах-колясках самостоятельно и с сопровождающими, инвалидов на костылях, а также инвалидов по зрению. Столы, прилавки, расчетные плоскости кассовых кабин следует располагать на высоте, не превышающей 0,8 м от уровня пола. Максимальная глубина полок (при подъезде вплотную) не должна быть более 0,5 м.

7.10. Размеры проходов между рядами торгового оборудования определяются исходя из габаритов средств передвижения в процессе их следования и зон досягаемости товаров.

Все размеры проходов (кроме одностороннего) должны обеспечивать возможность полного разворота на 360°, а также фронтального обслуживания инвалидов на кресле-коляске вместе с сопровождающими.

При организации двух полос движения ширина прохода для универсамов, супермаркетов и оптовых рынков (торговая площадь свыше 650 м2) должна быть не менее 2 м.

7.11. В тех торговых залах, где для покупателей предусмотрены полки высотой более 0,9 м, следует обеспечить дополнительные полки или часть основного прилавка пониженной высоты от 0,7 до 0,8 м от пола.

7.12. Как минимум один из контрольных кассовых постов в зале должен быть оборудован в соответствии с требованиями доступности для инвалидов. Ширина прохода около такого кассового поста должна быть не менее 1,1 м.

7.13. Различные устройства, применяемые в магазинах для передвижения тележек с товарами, не должны препятствовать движению инвалидов в креслах-колясках. Для этих целей следует предусматривать дублирующий проход.

Для акцентирования внимания покупателей с недостатками зрения на необходимой информации следует активно использовать тактильные (рекомендуемая высота размещения - 0,75 м от уровня пола), световые указатели, табло и пиктограммы, а также контрастное цветовое решение элементов интерьера в соответствии с требованиями СП 35-101. Пиктограммам и указателям для выделения отдельных товарных групп в торговом зале рекомендуется присваивать различные лидирующие цвета. Не следует одновременно использовать синий, фиолетовый и зеленый цвета.

В удобном для посетителя - инвалида по зрению месте и в доступной для него форме должна располагаться информация о расположении торговых залов и секций, об ассортименте товаров, а также средствах связи с администрацией.

ПРЕДПРИЯТИЯ ПИТАНИЯ

7.14. В предприятиях питания открытой сети (ресторанах, кафе, столовых, закусочных, бистро, барах) рекомендуется обеспечивать доступность для всех, в том числе маломобильных, групп пользователей.

7.15. Для личного транспорта инвалидов из общего количества мест на автостоянках при предприятиях питания следует выделять при вместимости предприятия питания:

менее 100 мест - не менее 1 места;

от 100 до 200 мест - не менее 15 % мест;

более 250 мест - не менее 10 % мест.

7.16. В доступных инвалидам предприятиях общественного питания (при обслуживании официантами) не менее 5 % количества мест в залах должно быть приспособлено для обслуживания посетителей на креслах-колясках.

7.17. Оборудование мест, приспособленных для маломобильных посетителей, размещенных на основном этаже (преимущественно первом), должно соответствовать аналогичному оборудованию мест, размещенных на антресольных этажах, лоджиях и подиумах. Коммуникационные пути движения и проходы между столиками должны обеспечивать возможность прохода маломобильных лиц, в том числе и передвигающихся на креслах-колясках, к предназначенным для них местам обслуживания.

7.18. В предприятиях питания и их зонах, предназначенных для специализированного обслуживания маломобильных посетителей, рекомендуется предусматривать обслуживание официантами. При отсутствии в здании пассажирских лифтов обеденные залы рекомендуется размещать на первом этаже. Площадь таких обеденных залов определяется исходя из норматива площади не менее 3 м2 на место.

7.19. В предприятиях самообслуживания рекомендуется отводить до 10 % мест, но не менее одного для лиц, передвигающихся на креслах-колясках, и с недостатками зрения с площадью не менее 3 м2 на каждое место. Размещение и габариты мест показаны на рис. 7.3 - 7.6.

7.20. Ширина прохода около прилавков для сервирования блюд должна быть не менее 0,9 м.

Для обеспечения свободного огибания при проходе кресла-коляски ширину прохода рекомендуется увеличивать до 1,1 м.

7.21. В помещениях общественного питания расстановка мебели и оборудования должна обеспечивать беспрепятственное движение инвалидов. В буфетах и закусочных должно быть не менее одного стола высотой 0,65 - 0,7 м.

7.22. В торговых залах ресторана, кафе-закусочной или буфетах ширина прохода для инвалидов между ограждением и раздаточными стойками - не менее 1,2 м. Высота столиков и стоек кафетерия должна быть не более 0,8 м.

7.23. В предприятиях питания, связанных с длительным пребыванием посетителей (рестораны, столовые), гардеробные стойки в местах обслуживания маломобильных посетителей следует устраивать в соответствии с требованиями СП 35-101.

7.24. Вестибюли, холлы, аванзалы, туалеты, умывальные и другие вспомогательные помещения, доступные для маломобильных посетителей, следует проектировать с учетом требований СНиП 35-01 и СП 35-101.

7.25. Информация о предприятии (тип, класс, форма обслуживания, доступность для маломобильных посетителей), а также меню должны быть легко определяемы и доступны для инвалидов на креслах-колясках и лиц с полной потерей зрения и слабовидящих.

7.26. Специфические средства информации для маломобильных посетителей должны решаться в соподчинении с основной дизайнерской концепцией интерьера.

ПРЕДПРИЯТИЯ БЫТОВОГО ОБСЛУЖИВАНИЯ

7.27. Если предприятия бытового обслуживания (приемные пункты, дома мод, ателье, мастерские, парикмахерские, предприятия стирки, химчистки и т.д.) не оказывают услуги на дому, то для нужд маломобильных групп населения следует в первую очередь приспосабливать помещения для посетителей в зданиях предприятий приближенного бытового обслуживания и кооперированные комплексы бытового обслуживания, включающие в состав широкий перечень услуг, а также пункты проката предметов домашнего быта, бюро комплексного обслуживания (рис. 7.7).

7.28. Ввиду небольших мощностей эти предприятия могут размещаться во встроенных и встроенно-пристроенных помещениях первых этажей жилых домов.

7.29. Для личного транспорта инвалидов следует выделять из общего количества машино-мест на автостоянках при предприятиях бытового обслуживания при количестве рабочих мест:

до 40 - не менее 1 места;

от 40 до 100 - до 15 % мест;

более 100 - до 10 % мест.

8. ЗДАНИЯ И СООРУЖЕНИЯ ВОКЗАЛОВ ПАССАЖИРСКОГО ТРАНСПОРТА

8.1. Помещения зданий, переходы вокзалов разных видов пассажирского транспорта (железнодорожного, автомобильного, воздушного, речного и морского), платформы, предназначенные для обслуживания населения, следует предусматривать доступными для всех категорий инвалидов и маломобильных лиц.

8.2. В пассажирских зданиях вокзалов разных видов транспорта следует предусматривать доступными:

помещения и сооружения обслуживания: вестибюли; операционные и кассовые залы; камеры хранения ручного багажа; пункты регистрации пассажиров и багажа; специальные помещения ожидания и отдыха - депутатские комнаты, комнаты матери и ребенка, комнаты длительного отдыха;

помещения, зоны в них или сооружения дополнительного обслуживания: торговые (обеденные) залы ресторанов, кафе, кафетериев, закусочных; торговые, аптечные и другие киоски, парикмахерские, залы игровых автоматов, торговые и прочие автоматы, пункты предприятий связи, таксофоны;

служебные помещения: дежурного администратора, пункта медицинской помощи, милиции и т.п.

8.3. Специальная полоса пешеходного движения может предусматриваться в составе общей пешеходной зоны (в общем потоке посетителей). В зонах интенсивного нерегулируемого пешеходного движения для пассажиров-инвалидов и маломобильных лиц рекомендуется предусматривать изолированную полосу параллельного движения (при входах в здание, выходах на перроны или посадочные платформы, в сложных транспортных узлах - выходов из метро, входов со стороны остановок наземного городского транспорта и т.п.).

Для организации рациональных графиков движения пассажиров к поезду широко используются крытые галереи-конкорсы над путями, ведущие к островным платформам. В конкорсе пассажир быстрее ориентируется и располагается ближе к нужной ему платформе. В опорах устраиваются как грузовые подъемники, так и лифты для маломобильных пассажиров.

8.4. В залах ожидания зданий вокзалов следует выделять специальные доступные зоны для пассажиров-инвалидов и маломобильных лиц (зоны отдыха и ожидания) и предусматривать доступность к ним.

Площадь таких зон определяется исходя из показателя - 2,1 м2 на одно место. Часть диванов или скамей для сидения в залах следует располагать у проходов шириной не менее 2,7 м.

Часть оборудования залов ожидания (киоски, телефоны, игровые автоматы и др.) должна быть доступна для инвалидов.

8.5. Специальную зону ожидания и отдыха в залах ожидания следует предусматривать в стороне от основных потоков пассажиров (магистральных проходов), изолировать от наиболее шумных помещений и соединять с перронами специальными выходами.

Специальную зону ожидания и отдыха рекомендуется размещать на основном этаже, в одном уровне с входом в здание вокзала и выходами к платформам (перронам, причалам) при обеспечении ясных, безопасных и коротких переходов между ними.

Залы ожидания должны иметь удобную связь с вестибюлем, рестораном (кафе-буфетом) и выходами на перрон, располагаясь, как правило, в одном с ними уровне. Расположение залов в подземном уровне или на втором (антресольном) этаже должно быть оправдано расчетными объемами движения или рельефом. Такое решение требует устройства специальных тоннелей для пассажиров или галерей, балконов, мостиков и трапов для доступности платформ. Для маломобильных пассажиров требуется устройство грузопассажирских лифтов.

8.6. В непосредственной близости от специальной зоны ожидания и отдыха следует предусматривать специальные туалеты для инвалидов - в отдельной кабине или в составе туалетов для пассажиров, но не менее чем по одной кабине для мужчин и женщин.

8.7. Специальную зону ожидания и отдыха, если отсутствуют ведомственные нормы, следует предусматривать из расчета 5 % общего числа мест для сидения в залах ожидания, но не менее чем по одному месту для лиц с нарушениями ОДА, для лиц с дефектами слуха, недостатками зрения, а также с сердечно-сосудистой и легочной недостаточностью.

В специальной зоне ожидания и отдыха следует предусматривать также площадь для хранения индивидуальных средств вспоможения при передвижении, а также места отдыха для лиц, сопровождающих инвалидов, и место дежурного социального работника.

8.8. В специальной зоне ожидания и отдыха для пассажиров-инвалидов следует обеспечивать условия оптимального визуального и акустического восприятия общих систем информационного обеспечения пассажиров (табло с расписанием движения транспорта, радиообъявлений и пр.).

8.9. Места для сидения в специальной зоне ожидания и отдыха следует оборудовать индивидуальными средствами информации и связи: наушниками, подключаемыми к системам информационного обеспечения вокзалов, дисплеями с дублированием изображения информационных табло, системой сурдоперевода звуковых объявлений, техническими средствами экстренной связи с администрацией, доступными тактильному восприятию, прочими специальными системами сигнально-информационного обеспечения (компьютеры, справки по телефону и т.п.).

8.10. В зоне специальных мест отдыха и ожидания допускается предусматривать дополнительные системы инженерного обеспечения, позволяющие корректировать физические параметры внутренней среды на местном уровне или при индивидуальном пользовании: освещенность, солнцезащиту, температуру воздуха и кратность воздухообмена с возможностью их ручного регулирования и размещением пультов управления в зоне досягаемости инвалидов (1,0 - 1,2 м от уровня пола), индивидуальную подсветку мест для отдыха, регуляторы индивидуальной приточной вентиляции, кнопку вызова дежурного по залу.

8.11. Для оборудования специальной зоны для отдыха и ожидания допускается предусматривать трансформируемое оборудование (кресла с откидными спинками для сна, откидные столики для чтения и приема пищи, оборудованные местной подсветкой).

8.12. В непосредственной близости от специальной зоны мест для отдыха и ожидания в зависимости от местных условий допускается разместить несколько блоков индивидуальной камеры хранения и телефон местной и междугородней связи, а также специальный текстовый телефон и/или факсимильный аппарат для получения и передачи информации инвалидами по слуху. Все оборудование должно быть установлено в зоне досягаемости инвалидов.

8.13. Специальную полосу пешеходного движения инвалидов, специальную зону в зале ожидания следует оборудовать поручнями на высоте 0,5; 0,7 и 0,9 м, а также, при необходимости, и сигнальными визуальными и тактильными указателями входов и выходов, туалетов, вестибюля, кассового и операционного залов, камеры хранения, ресторана, пункта медицинской помощи, милиции, справочного бюро.

8.14. Для перемещения детских колясок на лестницах вокзальных переходов допускается устройство двух пологих полос, разделенных ступенями, шириной не менее 0,4 м для наружных лестниц, не менее 0,3 м - для внутренних. Для удобства передвижения лице недостатками зрения рекомендуется использовать пандусы.

8.15. На железнодорожных вокзалах, где доступ пассажиров с платформ на привокзальную площадь или на противоположную ей селитебную территорию пересекается железнодорожными путями с интенсивностью движения поездов до 50 пар в сутки и скоростью прохождения поездов до 120 км/ч, для перемещения инвалидов на креслах-колясках допускается использовать переходы в уровне рельсов, оборудованные сигнализацией автоматического действия и световыми указателями. На всем протяжении такого перехода вдоль железнодорожного пути (включая торцевой по отношению к платформе пандус) следует предусматривать защитное ограждение высотой не менее 0,9 м с расположенными на этой же высоте поручнями.

8.16. На открытых автостоянках у вокзалов следует выделять места для личного автотранспорта инвалидов. Количество таких мест следует принимать из расчета:

4 % - при общем числе мест на стоянке до 100;

3 % - при числе мест от 100 до 200;

2 % - при числе мест от 201.

8.17. В автоматических камерах хранения не менее 3 % мест, расположенных в нижнем ряду, должно резервироваться и приспосабливаться для пассажиров-инвалидов.

8.18. Окна и прилавки операционных помещений (касс, камер хранения, справочных служб, автоматов продаж и т.д.) рекомендуется размещать на высоте 0,7 - 0,8 м. Перед зоной обслуживания должно быть предусмотрено достаточное пространство для маневрирования кресел-колясок с учетом возможного их сопровождения (рис. 8.1).

8.19. При расчете ширины перронов следует учитывать возможность параллельного движения инвалидов на креслах-колясках и багажных тележек по объездам выходов из тоннелей, опор навесов и осветительных мачт.

8.20. На перронах следует применять предупредительные полосы вдоль краев платформы - информационные разного цвета, а также тактильные для пассажиров с недостатками зрения. На перронах необходимо предусматривать возможность дублирования визуальной и звуковой информации, в том числе о расположении вагонов.

8.21. В аэровокзалах (рис. 8.2) доступность перронов вылета/прибытия следует обеспечивать размещением специального выхода для маломобильных пассажиров в центральной части здания или с помощью движущихся тротуаров (других механизированных средств передвижения) к удаленным выходам. В посадочных галереях с уровня 2-го этажа через каждые 10 м следует предусматривать горизонтальные площадки для отдыха размером не менее 1,5×1,5 м.

При посадке в самолет с уровня земли для подъема или спуска (высадки) маломобильных пассажиров следует предусматривать специальное устройство - приставной механизированный трап-эскалатор или автолифт.

8.22. На аэровокзалах рекомендуется предусматривать помещение для специальной службы сопровождения и помощи инвалидам и другим маломобильным пассажирам, а также зону хранения малогабаритных колясок, используемых для обслуживания инвалидов при прохождении регистрации, контроля, досмотра и в полете.

8.23. Регистрация билетов и оформление багажа для маломобильных пассажиров без сопровождения должны осуществляться при необходимости за специальной стойкой высотой от уровня пола не более 0,7 - 0,8 м. Столы для заполнения деклараций в аэропортах международных авиалиний должны быть доступны для инвалидов на креслах-колясках.

8.24. В автовокзалах для обслуживания маломобильных пассажиров не рекомендуется использование островных перронов. Перроны с береговым, полуостровным или пирсовым расположением в автовокзалах междугородних перевозок должны оборудоваться стационарными или передвижными подъемниками для посадки/высадки инвалидов из автобусов, не оборудованных подобными средствами.

8.25. В каждом ряду турникетов входа/выхода метрополитена следует предусматривать не менее одного расширенного прохода, позволяющего проезд кресла-коляски. Его следует размещать вне зоны контроля проездных билетов, оборудовать горизонтальными поручнями, выделяющими зону перед проходом на расстоянии 1,2 м, а также обозначать специальной символикой.

8.26. Для пересадочных узлов вокзальных комплексов могут использоваться подъемники лестничные (наклонные, вертикальные), переносные (съемные), которые могут быть с платформой или кабиной.

8.27. Комнаты длительного отдыха пассажиров, комнаты матери и ребенка, а также помещения для отдыха эксплуатационного персонала в привокзальных гостиницах следует размещать изолировано от основных потоков пассажиров и, как правило, на втором и третьем этажах. В комнатах для отдыха пассажиров следует предусматривать не менее 3 % мест (но не менее 1) для инвалидов (рис. 8.3).

9. ЗДАНИЯ, СООРУЖЕНИЯ И КОМПЛЕКСЫ КУЛЬТОВОГО, МЕМОРИАЛЬНОГО И ОБРЯДОВОГО НАЗНАЧЕНИЯ

ОБЩИЕ ПОЛОЖЕНИЯ

9.1. При проектировании культовых, мемориальных и ритуальных зданий и сооружений в местах, посещаемых лицами с нарушениями здоровья, в том числе инвалидами, рекомендуется приспосабливать здания и сооружения, а также их участки по условиям организации обслуживания инвалидов, а в особо оговоренных случаях - с учетом преобладающих видов нарушения здоровья пользователей (рис. 9.1).

9.2. Требования доступности для всех категорий пользователей рекомендуется учитывать в следующих видах зданий, сооружений и комплексов:

здания и сооружения для совершения богослужений;

монастыри;

здания, сооружения и комплексы мемориального назначения-монументы, пантеоны;

здания и сооружения для совершения гражданских обрядов - ЗАГСы, Дворцы бракосочетаний, регистрации новорожденных, обрядовые (ритуальные) залы;

здания, сооружения и комплексы похоронного назначения - кладбища, Дома траура, залы прощания, крематории, мавзолеи;

здания и сооружения обслуживания, сопутствующего обрядовому.

УЧАСТКИ

9.3. Проектирование участков культовых зданий, сооружений и комплексов, а также мест погребения на них рекомендуется осуществлять по требованиям положений СП 35-101 с учетом конфессиональных, технологических и технических требований организаций-заказчиков и «Рекомендаций по проектированию объектов ритуального назначения», а также действующих санитарно-гигиенических и экологических нормативных документов.

9.4. На участках храмов и монастырей следует предусматривать не менее одной зоны отдыха для лиц с нарушениями здоровья.

9.5. Около мемориалов, не имеющих обитаемых пространств, чаш для раздачи святой воды, иных используемых посетителями сооружений на участке культового здания или сооружения следует предусматривать места для инвалидов на креслах-колясках, непосредственно связанные с путями движения на участке, а также зону ожидания в непосредственной близости от них.

9.6. В зоны движения религиозных процессий и путей подъезда кортежей не должны попадать полосы движения, предназначенные для инвалидов и других маломобильных групп населения, а также места отдыха и ожидания.

9.7. На территориях кладбищ должен быть обеспечен доступ маломобильным группам населения:

к участкам погребений, к колумбариям всех видов;

к зданиям администрации, торговли и бытовым зданиям для посетителей, к общественным туалетам;

к водоразборным устройствам и чашам для полива;

к выставочным участкам;

к мемориальным объектам общественного назначения;

к склепам, мавзолеям и пантеонам;

к культовым зданиям и сооружениям;

к крематориям, траурным и поминальным объектам.

9.8. Дороги на участках кладбищ, предназначенные для движения инвалидов на личном транспорте, должны заканчиваться у каждого участка стоянкой для личного транспорта инвалидов.

9.9. На путях движения по кладбищам следует не реже чем через 300 м предусматривать зоны отдыха.

9.10. Места отдыха следует предусматривать для каждого участка погребения, а также около братских могил, коллективных погребений, мест общественного поклонения, открытых колумбариев.

КУЛЬТОВЫЕ ЗДАНИЯ И СООРУЖЕНИЯ

9.11. Архитектурная среда зданий, сооружений и комплексов культового назначения, а также мемориальные объекты должны удовлетворять требованиям доступности для маломобильных посетителей и конфессиональным требованиям в части мест размещения и оборудования мест поклонения и богослужений.

9.12. К культовым зданиям и сооружениям, среда которых должна быть доступна для маломобильных лиц, относятся:

храмы и другие здания для совершения богослужений;

братские корпуса монастырей;

монастырские и приходские школы;

монастырские больницы;

общественные столовые при храмах и монастырях;

часовни;

сооружения на участках храмов и монастырей, предназначенные для посещения (например, для раздачи святой воды);

усыпальницы;

временные сооружения на участках для освящения.

9.13. При устройстве в культовых зданиях и сооружениях, а также на их участках мест омовения следует не менее одного места оборудовать для маломобильных лиц. При этом рекомендуется обеспечивать требования доступности к объектам соответствующего назначения, сантехническому оборудованию и мебели.

9.14. Специальные требования к объектам культового назначения приведены в табл. 9.1.

МЕМОРИАЛЬНЫЕ ЗДАНИЯ И СООРУЖЕНИЯ

9.15. В мемориальных зданиях и сооружениях, к которым относятся монументы, мемориальные павильоны-пантеоны, часовни, мемориальные музеи, следует руководствоваться требованиями СНиП 35-01 и СП 35-101 в части:

устройства входных узлов;

путей движения по зонам, предназначенным для посетителей;

подходов к местам отдыха и дополнительного обслуживания;

применения информационных систем, устройств и средств.

9.16. Требования к монументам рекомендуется принимать по табл. 9.1.

Пути движения маломобильных посетителей в мемориальных залах и пространствах рекомендуется устраивать доступными.

9.17. В пространствах и залах мемориальных зданий и сооружений, предусматривающих длительное пребывание посетителей, следует предусматривать места отдыха и соответствующим образом оборудованные места участников ритуалов для маломобильных посетителей.

9.18. Не рекомендуется применять информационные средства, доступные для инвалидов, но создающие помехи световой и звуковой архитектуре мемориала.

10. ЗДАНИЯ КРЕДИТНО-ФИНАНСОВЫХ УЧРЕЖДЕНИЙ И ПРЕДПРИЯТИЙ СВЯЗИ

10.1. Рекомендуется соблюдать требования доступности в здания массовых учреждений и предприятий, содержащие в своем составе операционно-кассовые залы и предназначенные для обслуживания инвалидов и других маломобильных групп населения. К ним относятся банковские (кредитно-финансовые) учреждения и предприятия почтовой связи.

Во всех зданиях, доступных для маломобильных посетителей, рекомендуется предусматривать установку системы организованного приема посетителей, состоящую из: аппарата, выдающего талоны с указанием очередности приема; световых табло над дверями соответствующих кабинетов и окошек, указывающего номер очередного посетителя.

Для удобства маломобильных посетителей следует предусматривать также специализированные места индивидуального автотранспорта на автостоянках (временных парковках), места отдыха на участках учреждений и предприятии, санитарные узлы, оборудование которых должно соответствовать требованиям СП 35-101.


Таблица 9.1

Требования к культовым зданиям, сооружениям и комплексам

Объект

Требования по критериям

доступности

безопасности

информативности

комфортности

1. Сооружения, не имеющие обитаемых пространств (монументы)

2.1. Удаление мест возложения цветов, камней, амулетов, установки икон, свечей, лампад, раздачи святой воды не должно быть далее 0,6 м от кромки пути движения. Высота - от 0,6 до 1,2 м от уровня пола.

2.2. Фронт подхода к месту поклонения - не менее 0,9 м.

 

4.1. Применение подсветок в темное время суток.

5.1. Устройство на путях движения лиц с нарушениями здоровья опор (стоек, поручней).

5.2. «Б» - устройство специальных входов и подходов для лиц с нарушением здоровья.

2. Здания мест поклонения без проведения богослужений

2.3. Внутренние пространства часовен, иных зданий для поклонений должно обеспечивать маневрирование инвалида на кресле-коляске и одновременное расхождение с ним встречного потока посетителей.

 

 

5.3. Устройство в составе здания (если это допускают конфессиональные требования) или около здания мест отдыха (ожидания) с местами для инвалидов и маломобильных лиц.

3. Здания для богослужений

2.4. Выделение в составе здания зон для инвалидов и маломобильных лиц и путей движения к ним.

2.5. Устройство наклонных и вертикальных коммуникационных путей, оборудованных для лиц с нарушениями здоровья, обеспечивающих доступность к помещениям (в том числе для богослужений), находящимся не на уровне участка.

2.6. Устройство в исповедальнях не менее одного места для исповеди инвалидов и маломобильных лиц с учетом пользования средствами реабилитации.

2.7. В зоне сидения не менее 3 % мест рекомендуется отводить для инвалидов на креслах-колясках (не менее одного).

2.8. На хорах, галереях, доступных для лиц с нарушениями здоровья, рекомендуется устройство мест для них рядом с путями движения.

2.9. Расстояние от приподнятых частей пола у мест размещения реликвий, а также от амвона, престолов, сеней, кафедр, чаш, купелей, других элементов интерьера до выступающих по горизонтали в сторону путей движения деталей интерьера не должно быть менее 1,8 м.

3.1. Изменения высоты или формы пола не должны иметь частей, выступающих в кромку полосы движения в здании.

3.2. В габарит пути не должны выступать металлические хоругви, посохи с торчащими концами, паникадила, подвесные лампады, иные предметы богослужений.

3.3. Расстояние от аналоя, купели, иных островных элементов до края выступающих элементов интерьеров в габаритах зоны движения должно быть не менее 1,5 м в свету.

3.4. Высота приподнятой части пола у реликвий, солеи и амвона не должна быть менее 0,1 м.

3.5. Скользкие покрытия полов следует покрывать нескользкими полосами ковровых покрытий или резиновыми ковриками.

4.2. «А» - применение (в пределах, разрешенных конфессиональными требованиями) разметок на полу и стенах, установка указателей на специальных конструкциях для выделения зон движения лиц с нарушениями здоровья.

4.3. Использование звуковых маячков вне времени проведения богослужения, применение во время богослужения световых и тактильных средств информации

5.4. «Б» - выделение около святилища (алтаря, иконостаса и т.д.) мест богослужения для инвалидов и маломобильных лиц, оборудованных для их длительного пребывания в помещениях для богослужений.

5.5. Устройство в зоне для лиц с нарушениями здоровья оборудованного места для синхронного сурдоперевода.

5.6. Устройство мест для временного хранения технических средств реабилитации при зонах для богослужений.

5.7. Выделение мест, оборудованных звукоусиливающей аппаратурой, для лиц с нарушениями слуха.


БАНКОВСКИЕ УЧРЕЖДЕНИЯ

10.2. Доступность для маломобильных клиентов (обслуживаемых посетителей) рекомендуется обеспечивать во всех зонах и помещениях зданий следующих видов:

здания (помещения) отделений Сбербанка России и коммерческих банков;

здания (помещения) филиалов отделений;

помещения обособленных подразделений (дополнительные офисы, операционные кассы, пункты обмена валюты, в том числе в мобильных и модульных сборно-разборных конструкциях).

10.3. Учитывая, что высота ограждения участка должна быть 2,5 м, его объемно-пространственное и конструктивное решение должно соответствовать требованиям информативности и удобства для посетителей, изложенным в Своде правил СП 35-101.

10.4. Для машин клиентов Сбербанка на открытой автостоянке из пяти мест, приходящихся на каждое операционное место в зале, одно место желательно приспособить для инвалидов-пользователей. Общее количество адаптированных мест при этом определяется заданием на проектирование.

10.5. Входы, в том числе обособленные входы в бюро пропусков и зал самообслуживания, рекомендуется проектировать универсальными (т.е. учитывающими использование всеми категориями пользователей).

10.6. К помещениям банковских учреждений первой зоны доступности (в которые допуск клиентов не ограничен по технологическим требованиям) рекомендуется относить:

кассовый блок (кассовый зал и депозитарий) коммерческих банков;

операционный блок (входная группа помещений, операционный зал и кассы) учреждений Сбербанка;

вспомогательные и обслуживающие помещения (комнаты переговоров с клиентами и оформления кредита, вестибюль, аванвестибюль, бюро пропусков).

10.7. Требования к основным помещениям обслуживания для данной группы учреждений (операционным, кассовым, операционно-кассовым залам и т.п.) приведены в табл. 10.1.

10.8. Требования к проектированию офисных помещений, а также к помещениям оформления кредита и комнатам переговоров с клиентами аналогичны требованиям раздела 3 данного СП.

10.9. Площади вестибюля (включая доконтрольную зону), гардероба и камеры хранения ручной клади коммерческих банков следует определять исходя из количества единовременно находящихся в здании клиентов с обязательным учетом возможного сопровождения части инвалидов и маломобильных посетителей. Процент маломобильных пользователей от общего числа клиентов определяется заданием на проектирование.

При проектировании бюро пропусков автономной группой помещений зона ожидания должна включать в расчете на каждое рабочее место не менее двух стационарных мест сидения (возможно, откидных) и резервную площадку для возможного размещения кресла-коляски (вне коммуникационной зоны).

При вестибюле рекомендуется предусматривать санитарные узлы для клиентов универсального оборудования (вариант «А»).

10.10. При наличии специальной кассы (вариант «Б») рекомендуется увеличивать размеры зоны ожидания из расчета (м2): 8,0 + k × 8,0, где k - коэффициент, учитывающий количество единовременно обслуживаемого специального контингента (по заданию на проектирование).

ПРЕДПРИЯТИЯ ПОЧТОВОЙ СВЯЗИ

10.11. Доступность зданий для массового обслуживания посетителей, в том числе инвалидов и других маломобильных групп, рекомендуется обеспечивать в:

почтамтах (центральных предприятиях города или района, обеспечивающих клиентуре также услуги телеграфной и междугородной телефонной связи);

узлах и отделениях связи, в том числе автоматизированных (городских, районных, сельских).

Кроме зданий перечисленных учреждений требованиям доступности должны отвечать также операционные залы телефонных узлов (проводной и сотовой связи), осуществляющих обслуживание индивидуальных пользователей. В операционных залах должны быть предусмотрены кабины с установленными специальными средствами связи для инвалидов по слуху (текстовый телефон, факсимильный аппарат, телефон с усилителем звука).

10.12. Требования к проектированию операционных залов см. в табл. 10.1.

10.13. Кроме операционно-кассового зала в зону посетительской доступности предприятий рекомендуется включать:

вход с тамбуром (универсального типа - для всех групп посетителей);

добарьерную (посетительскую) часть отдела доставки, совмещенную при необходимости с зоной индивидуального хранения подписных изданий и корреспонденции;

переговорный пункт (с зонами кабин междугородних телефонов, в том числе автоматов, и ожидания);

пункт обмена валюты и киоски продаж (при наличии).

10.14. Допускается устройство контролируемого входа посетителей в служебное помещение (начальника предприятия, цеха или участка) при соответствующем обосновании. Требования к проектированию данного помещения аналогичны требованиям раздела 3 настоящего Свода правил.

10.15. Отдел посылок, совмещенный с отделом продажи посылочной тары, рекомендуется проектировать обособленным от операционного зала и со входом с улицы.


Таблица 10.1

Требования к зданиям кредитно-финансовых учреждений и предприятий связи

Объект

Требования по критериям

доступности

безопасности

информативности

комфортности

1. Кассовые и операционно-кассовые залы банков

2.1. Размещение в уровне входа в здание.

2.2. «Б» - размещение специализированных касс в непосредственной близости от входа в зал совместно с обособленной зоной ожидания увеличенной площади.

2.3. «Б» - наличие боксов (помещений) для пересчета денег, оборудованных специальными переговорными устройствами для контакта с персоналом.

2.4. При нескольких островных (автономных) рабочих местах операционистов одно приспосабливается для обслуживания инвалидов.

2.5. Обеспечение доступности контрольного шлюза и шлюзового помещения (при наличии).

 

4.1. Наличие справочно-информационной службы непосредственно при входе в зал.

4.2. Дублирующая функциональная маркировка каждого операционного места обслуживания: пенсионных выплат, почтовых отправлений, подписки на газеты и журналы.

5.1. «Б» - обязательное наличие переговорных спецустройств в кассах для пенсионных и коммунальных платежей при обеспечении полноценного визуального контакта.

2. Депозитарий

 

3.1. Возможность присутствия сопровождения, наличие переговорных устройств и технических средств слежения.

 

5.2 «Б» - увеличение площади специализированных кабин в кладовых хранения индивидуальных ценностей с учетом возможного сопровождения (см. п. 5.4 СП 35-101).

3. Операционные залы предприятий связи, переговорные пункты

2.6. «Б» - в почтамтах рекомендуется наличие специализированных кабин в переговорных пунктах.

 

 

5.3. В отделе пенсионных выплат - локальное понижение прилавка; увеличение глубины и ширины прилавка со стороны клиента.

5.4. Наличие переговорных устройств с возможностью двустороннего включения в отделе пенсионных выплат.

5.5. Рекомендуется наличие отдела сервисной упаковки и доставки в отделе посылок.


ВАРИАНТЫ ОБЕСПЕЧЕНИЯ ДОСТУПНОСТИ ЗДАНИЙ И ПОМЕЩЕНИЙ

1.1

Варианты формирования доступного пространства в зданиях

Все помещения на всех этажах

Только зона верхнего этажа (при наличии лифта)

Помещения только первого этажа

Автономная зона первого этажа, где происходит обслуживание инвалидов

ОБЕСПЕЧЕНИЕ ДОСТУПНОСТИ ПРИ РЕКОНСТРУКЦИИ

1.2

Примеры обеспечения доступности при реконструкции разных типов общественных зданий, в которых затруднена перестройка внутренних вертикальных коммуникаций

Методом строительства отдельно стоящих входных и лифтовых узлов с круговой обходной галереей при сохранении фронта естественного освещения Реконструируемого здания.

Случаи, когда естественным прямым освещением можно пренебречь, - при создании пристроенной периметральной галереи с организацией входов в здание

Организация дополнительных доступных входных узлов в зданиях галерейного типа

С замкнутым внутридворовым пространством

П-образные

УЧЕБНЫЕ ПОМЕЩЕНИЯ

2.1

Примеры расстановки оборудования в помещениях для занятий

УЧЕБНЫЕ ПОМЕЩЕНИЯ

2.2

Варианты планировочных решений классных помещений площадью около 50 м2

УЧЕБНЫЕ ПОМЕЩЕНИЯ

2.3

Варианты планировочных решений классных помещений площадью 60 - 70 м2

УЧЕБНЫЕ ПОМЕЩЕНИЯ

2.4

Примеры расстановки оборудования в аудитории и лабораториях химии и физики

УЧЕБНЫЕ ПОМЕЩЕНИЯ

2.5

Примеры расстановки оборудования

УЧЕБНЫЕ ПОМЕЩЕНИЯ

2.6

Оборудование учебных мест

За чертежным столом

За кульманом

За мольбертом

За компьютером

Рабочее (учебное) место для учащегося с недостатками зрения

УЧЕБНЫЕ ПОМЕЩЕНИЯ

2.7

Примеры расстановки оборудования в учебных мастерских

Радиомонтажной

Токарной

Слесарной

ОРГАНИЗАЦИЯ МЕСТ ПОСЕТИТЕЛЕЙ

3.1

ОРГАНИЗАЦИЯ МЕСТ ПОСЕТИТЕЛЕЙ

4.1

Примеры расстановки оборудования в кабинетах

Массажный кабинет

1 - кушетка для массажа; 2 - специальное оборудование для перемещения на кушетку

Кабинет кислородной терапии

1 - кушетка; 2 - специальное оборудование для перемещения на кушетку

Организация мест для размещения инвалидов

Место записи на прием к врачу

ПОМЕЩЕНИЯ ПОЛИКЛИНИК И АМБУЛАТОРИЙ

4.2

Перевязочная

1 - каталка; 2 - стол врача; 3 - кушетка; 4 - холодильник; 5 - умывальник

Кабинет старшей медсестры

1 - стол врача; 2- умывальник; 3 - холодильник; 4 - тумбочка

Кабинет светолечения

1 - кушетка; 2 - стол для аппаратуры

Кабинеты ингаляции

1 - оборудование для ингаляции; 2 - стол медсестры; 3 - шкаф; 4 - тумбочка; 5 - умывальник

ПОМЕЩЕНИЯ ПОЛИКЛИНИК И АМБУЛАТОРИЙ

4.3

Планировочные решения различных медицинских кабинетов с учетом оказания услуг в них инвалидам

Кабинет главного врача

Кабинет гинеколога

Кабинет врача

Кабинет зубного врача

1 - кушетка; 2 - стол врача; 3 - умывальник; 4 - шкаф; 5 - тумбочка; 6 - медоборудование; 7 - кресло стоматологическое; 8 - стерилизатор; 9 - холодильник; 10 - кресло гинекологическое; 11 - стерилизационное помещение; 12 - место временного хранения коляски

МЕДИЦИНСКИЕ РЕАБИЛИТАЦИОННЫЕ ПОМЕЩЕНИЯ

4.4

Реабилитационные помещения медицинского назначения

Кабинет для подводного массажа

1 - массажная ванна; 2 - раздевальная - комната отдыха; 3 - туалетная; 4 - кушетка медицинская; 5 - рабочее место процедурной медсестры; 6 - аппарат передвижной для подводного массажа; 7 - шкаф медицинский; 8 - стеллаж универсальный

Зал лечебной физкультуры

1 - рабочее место персонала; 2 - массажная кушетка; 3 - зона для занятий гимнастикой; 4 - брусья; 5 - шведская стенка; 6 - гимнастический комплекс; 7 - маты гимнастические; 8 - зона размещения индивидуальных тренажеров и прочего оборудования; 9 - маячная установка для УФ-облучения группы детей

МЕДИЦИНСКИЕ РЕАБИЛИТАЦИОННЫЕ ПОМЕЩЕНИЯ

4.5

Варианты помещений ванны подводного массажа

1 - фигурная ванна; 2 - кушетка; 3 - настенный поручень; 4 - оборудование для пересадки в ванну; 5 - тангентор

Физиотерапевтический кабинет

1 - рабочее место процедурной медсестры; 2 - зона размещения стационарных аппаратов для УФ- и теплового облучения; 3 - зона размещения переносных портативных аппаратов для электрофореза, УВЧ-, УЗИ-терапии, теплолечения (лампа «Соллюкс» и т.д.); 4 - зона отдыха после процедур

Водолечебница

1 - ванна процедурная; 2 - кушетка медицинская; 3 - кресло; 4 - шкаф медицинский; 5 - тумбочка прикроватная; 6 - рабочее место врача; 7- стул рабочий

ПОМЕЩЕНИЯ ДЛЯ ЛЕЖАЧИХ БОЛЬНЫХ

4.6

Габариты двери для проезда каталки

Зоны обслуживания и зоны проезда в палате для лежачих больных

АПТЕКИ

4.7

Аптечный прилавок, доступный для инвалида в кресле-коляске

Вид спереди

План

Расположение в интерьере

1 - витрина из стекла; 2 - прилавок, состоящий из откидной доски, служащий местом обслуживания инвалида; 3 - прилавок для продавца с кассовым аппаратом; 4 - шкафы с товаром; 5 - кассовый аппарат

МЕСТА ДЛЯ ЗРИТЕЛЕЙ В ПЛАВАТЕЛЬНОМ БАССЕЙНЕ

5.1

Подходы и места для зрителей-инвалидов

ПЛАВАТЕЛЬНЫЙ БАССЕЙН

5.2

ПЛАВАТЕЛЬНЫЙ БАССЕЙН

5.3

Оборудование ванн бассейнов, посещаемых детьми-инвалидами

ПОМЕЩЕНИЯ ДУШЕВЫХ

5.4

Индивидуальные душевые кабины

1 - поручень; 2 - душевая сетка; 3 - откидное или стационарное сиденье; 4 - занавес или раздвижная дверь

Спортивные индивидуальные кабины для переодевания

Блок проходных душевых

А - место для хранения пересадочной коляски; Б - санитарный узел; В - душевая

ОБОРУДОВАНИЕ САУНЫ

5.5

Дверь в сауну

ОБОРУДОВАНИЕ САУНЫ

5.6

1 - печь-каменка; 2 - полки; 3 - поручень; 4 - душевая; 5 - скамья для отдыха; 6 - шкафы

БИБЛИОТЕКИ

6.1

Пример адаптации здания библиотеки в соответствии с требованиями доступности для инвалидов

А - по типовому проекту; Б - после реконструкции

БИБЛИОТЕКИ

6.2

Примеры оборудования помещений и читательских мест

1 - место для инвалида; 2- обычный стол читателя; 3 - стеллажи; 4 - каталоги

Библиотечное оборудование для инвалидов

Рабочий стол

Зона расположения стеллажей для книг

МУЗЕЙНЫЕ ДЕМОНСТРАЦИОННЫЕ ВИТРИНЫ

6.3

Варианты и основные параметры демонстрационных витрин для инвалидов на колясках

Горизонтальные витрины

Навесные витрины

Специальное музейное оборудование для посетителей с недостатками зрения

1 - безопасный ящик для ценных экспонатов с отверстиями для рук; 2 - крупный заголовок, расположенный под прямым углом к лучу зрения; 3 - надписи на брайлевском шрифте для горизонтального чтения; 4 - непрерывный деревянный поручень с округленными и обработанными краями (800 мм от пола); 5 - стрелки на цоколе для обозначения направления движения и мест поворотов

ЗРЕЛИЩНЫЕ ЗДАНИЯ И СООРУЖЕНИЯ

6.4

Смещение зрительских мест

В концертных залах

У арены цирка

КЛУБНЫЕ ПОМЕЩЕНИЯ. ЗОНЫ И МЕСТА ОТДЫХА

6.5

Параметры мест отдыха в коридорах и холлах

МЕСТА ДЛЯ ИНВАЛИДОВ В ЗРИТЕЛЬНЫХ ЗАЛАХ

6.6

Построение видимости в зрительном зале с учетом инвалидов в креслах-колясках

Превышение луча зрения для инвалидов в кресле-коляске

МЕСТА ДЛЯ ИНВАЛИДОВ В ЗРИТЕЛЬНЫХ ЗАЛАХ

6.7

В поперечном проходе на горизонтальном участке пола

ОБОРУДОВАНИЕ ПРЕДПРИЯТИЙ ТОРГОВЛИ

7.1

ОБОРУДОВАНИЕ ПРЕДПРИЯТИЙ ТОРГОВЛИ

7.2

ОБЩЕСТВЕННОЕ ПИТАНИЕ

7.3

Столы в залах общественного питания

* Оптимальный габарит стола.

** Минимальный габарит стола.

*** При минимальном размере стола.

Обслуживание через прилавок. Устройство барной стойки

ОБЩЕСТВЕННОЕ ПИТАНИЕ

7.4

Варианты размещения мест для инвалидов в обеденном зале

ОБЩЕСТВЕННОЕ ПИТАНИЕ

7.5

Примеры размещения мест в залах общественного питания

ОБЩЕСТВЕННОЕ ПИТАНИЕ

7.6

Примеры размещения мест в залах общественного питания

ОБОРУДОВАНИЕ ПРЕДПРИЯТИЙ ОБСЛУЖИВАНИЯ

7.7

ПОМЕЩЕНИЯ ВОКЗАЛОВ

8.1

Вариант совмещенного решения зала ожидания и кассового зала

1 - зона касс; 2 - зона для ожидающих пассажиров; 3 - зона для размещения инвалидов на креслах-колясках; 4 - информационный стенд

Схема размещения билетных касс

1 - устройство для передачи денег; 2 - мембрана для переговоров; 3 - билетный аппарат

Схема размещения багажной кассы

АЭРОВОКЗАЛЫ

8.2

Фрагмент плана стойки регистрации

1 - стойка регистрации; 2 - весы-транспортеры; 3 - проходы для пассажиров; 4 - специальный проход для инвалидов на колясках шириной не менее 90 см

Схема размещения оборудования в зонах паспортного и таможенного контроля

Фрагмент плана зоны выдачи багажа при подаче с нижележащего этажа

1 - зал выдачи багажа; 2, 3 - транспортеры; 4 - общие входы и выходы для пассажиров; 5 - проходы для инвалидов на колясках шириной 90 см

ГОСТИНИЧНЫЕ НОМЕРА ДЛЯ ИНВАЛИДОВ ПРИ ВОКЗАЛЕ

8.3

Схема оборудования номеров для инвалидов в гостинице при вокзале

На два места (для инвалида с сопровождающим)

На два места (для 2 инвалидов)

На одно место

Санитарный узел с прихожей при номере гостиницы

МЕМОРИАЛЬНО-КУЛЬТОВЫЕ ЗДАНИЯ И СООРУЖЕНИЯ

9.1

Устройство приставного деревянного пандуса у зданий - памятников архитектуры

Устройство доступного для инвалидов подхода к местам поклонения

1 - рельефные предупредительные плиты; 2 - наружная открытая лестница; 3 - пандусы

Пример организации доступного подхода к месту поклонения, размещенному на подиуме

Ключевые слова: принципы формирования архитектурной среды, доступность, комфортность, адаптация общественных зданий и сооружений



© 2013 Ёшкин Кот :-)