ШТУЦЕРА ИЗ
ДВУХСЛОЙНЫХ СТАЛЕЙ
С ПЛОСКИМИ ФЛАНЦАМИ И ГЛАДКОЙ
УПЛОТНИТЕЛЬНОЙ ПОВЕРХНОСТЬЮ.
НА Ру 0,6 и 2,5 МПа.
Конструкция и
размеры.
ОСТ
26-02-2041-79
ОТРАСЛЕВОЙ СТАНДАРТ
ШТУЦЕРА ИЗ
ДВУХСЛОЙНЫХ СТАЛЕЙ
С ПЛОСКИМИ ФЛАНЦАМИ И ГЛАДКОЙ
УПЛОТНИТЕЛЬНОЙ ПОВЕРХНОСТЬЮ.
НА Ру 0,6 и 2,5 МПа.
Конструкция и размеры.
|
ОСТ 26-02-2041-79
Взамен МН 4579-63
|
Приказом МИНХИММАШ,а
от _______ 197 г.
№ ________
|
|
срок действия
|
с 01.01.1981 г.
до 01.01.1993 г.
|
(Срок действия продлен. Изм. № 2)
Несоблюдение стандарта преследуется по закону
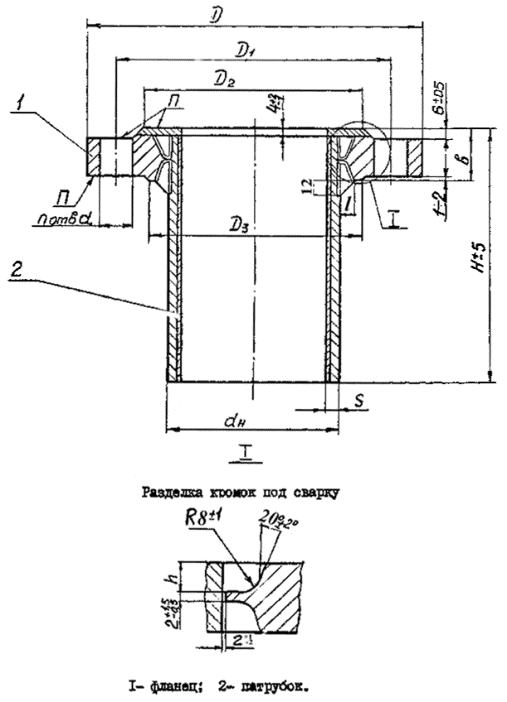
1. Настоящий стандарт
распространяется на штуцера из двухслойных сталей с плоскими приварными
фланцами с наплавленной гладкой уплотнительной поверхностью на условный проход
Ду от 150 до 600 мм, условное давление Ру от 0,6 до 2,5 МПа (от 6 до 25 кгс/см2)
и температуру от минус 60 до 475°С.
(Измененная редакция. Изм. № 1)
2. Конструкция и размеры
штуцеров должны соответствовать указанным на
чертеже и в табл.
1-4.
3. Материал, технические
требования и маркировка штуцеров по ОСТ 26-02-2053-79.

(Измененная редакция. Изм. №
1)
Таблица 1
Ру 0,6 МПа (6 кгс/см2)
Размеры в мм
Dy
|
D
|
D1
|
D2
|
D3
|
dH
|
s
|
d
|
n
|
b
|
l, не более
|
H
|
h
|
Масса, кг
|
наплавленного
металла
|
Общая
|
Углеродистого
|
Аустенитного
|
150
|
260
|
225
|
202
|
190
|
159
|
12
|
18
|
8
|
26
|
16+4
|
154
|
10
|
0,8
|
0,7
|
12,3
|
214
|
14,9
|
200
|
315
|
280
|
258
|
245
|
219
|
28
|
154
|
11
|
1,2
|
0,8
|
17,5
|
214
|
21,0
|
250
|
370
|
335
|
312
|
305
|
273
|
12
|
154
|
1,8
|
1,0
|
21,8
|
214
|
26,5
|
300
|
435
|
395
|
365
|
355
|
325
|
22
|
184
|
2,0
|
1,2
|
30,0
|
244
|
35,6
|
350
|
485
|
445
|
415
|
405
|
377
|
30
|
184
|
12
|
2,5
|
1,4
|
34,5
|
244
|
41,0
|
400
|
535
|
495
|
465
|
455
|
426
|
16
|
32
|
204
|
13
|
3,0
|
1,6
|
43,2
|
264
|
50,6
|
450
|
590
|
550
|
520
|
510
|
480
|
204
|
3,3
|
1,9
|
48,9
|
264
|
57,2
|
500
|
640
|
600
|
570
|
560
|
530
|
34
|
18+4
|
204
|
14
|
3,9
|
2,1
|
55,6
|
264
|
64,7
|
600
|
755
|
705
|
670
|
665
|
630
|
26
|
20
|
224
|
4,7
|
2,6
|
73,5
|
284
|
84,0
|
Примечание. К табл. 1-4. Ду 450 мм
применять только для люка.
|
Таблица 2
Ру 1,0 МПа (10 кгс/см2)
Размеры в мм
Dy
|
D
|
D1
|
D2
|
D3
|
dH
|
s
|
d
|
n
|
b
|
l, не более
|
H
|
h
|
Масса, кг
|
наплавленного
металла
|
Общая
|
Углеродистого
|
Аустенитного
|
150
|
280
|
240
|
212
|
200
|
159
|
12
|
22
|
8
|
30
|
16+4
|
184
|
12
|
1,0
|
0,8
|
16,5
|
244
|
19,0
|
200
|
335
|
295
|
268
|
255
|
219
|
184
|
1,3
|
1,0
|
21.9
|
244
|
25,8
|
250
|
390
|
350
|
320
|
305
|
273
|
12
|
32
|
184
|
13
|
2.0
|
1,2
|
27,7
|
244
|
32,4
|
300
|
440
|
400
|
370
|
360
|
325
|
204
|
2,4
|
1,4
|
34,6
|
264
|
40,2
|
350
|
500
|
460
|
430
|
420
|
377
|
16
|
204
|
2,6
|
1,8
|
41,4
|
264
|
47,9
|
400
|
565
|
515
|
482
|
465
|
426
|
26
|
34
|
18+4
|
204
|
14
|
3,2
|
2,1
|
50,2
|
264
|
57,6
|
450
|
615
|
565
|
532
|
515
|
480
|
20
|
234
|
3,5
|
2,3
|
59,1
|
294
|
67,4
|
500
|
670
|
620
|
585
|
570
|
530
|
36
|
234
|
15
|
4,0
|
2,6
|
68,2
|
294
|
77,3
|
600
|
780
|
725
|
685
|
670
|
630
|
30
|
40
|
264
|
17
|
4,8
|
3,1
|
94,6
|
334
|
103,5
|
Таблица 3
Ру 1,6 МПа (16 кгс/см2)
Размеры в мм
Dy
|
D
|
D1
|
D2
|
D3
|
dH
|
s
|
d
|
n
|
b
|
l, не более
|
H
|
h
|
Масса, кг
|
наплавленного
металла
|
Общая
|
Углеродистого
|
Аустенитного
|
150
|
280
|
240
|
212
|
200
|
159
|
12
|
22
|
8
|
34
|
18+4
|
184
|
14
|
1,2
|
0,8
|
17,7
|
244
|
20,3
|
200
|
335
|
295
|
268
|
255
|
219
|
12
|
36
|
184
|
15
|
1,9
|
1,0
|
23,5
|
244
|
27,2
|
250
|
405
|
355
|
320
|
305
|
273
|
26
|
184
|
2,3
|
1,3
|
31,2
|
244
|
35,8
|
300
|
460
|
410
|
370
|
360
|
325
|
204
|
2,7
|
1.6
|
39,6
|
264
|
45,5
|
350
|
520
|
470
|
430
|
420
|
377
|
16
|
38
|
204
|
16
|
3,2
|
1,9
|
48,1
|
264
|
54,4
|
400
|
580
|
525
|
482
|
470
|
426
|
30
|
42
|
204
|
18
|
3,9
|
2,3
|
59,3
|
264
|
66,7
|
450
|
640
|
585
|
532
|
530
|
480
|
16
|
20
|
46
|
18+4
|
254
|
20
|
5,2
|
2,8
|
89,6
|
314
|
100,7
|
500
|
710
|
650
|
585
|
590
|
530
|
33
|
54
|
22+4
|
254
|
24
|
6,5
|
3,4
|
114,5
|
314
|
127.6
|
600
|
840
|
770
|
685
|
700
|
630
|
39
|
264
|
8,5
|
5,0
|
155,0
|
334
|
172,0
|
Таблица 4
Ру 2,5 МПа (25 кгс/см2)
Размеры в мм
Dy
|
D
|
D1
|
D2
|
D3
|
dH
|
s
|
d
|
n
|
b
|
l, не более
|
H
|
h
|
Масса, кг
|
наплавленного
металла
|
Общая
|
Углеродистого
|
Аустенитного
|
150
|
300
|
250
|
212
|
200
|
159
|
12
|
26
|
8
|
36
|
18+4
|
184
|
15
|
1,5
|
0,9
|
20,4
|
244
|
23,0
|
200
|
360
|
310
|
278
|
260
|
219
|
12
|
38
|
184
|
16
|
2,0
|
1,2
|
27,6
|
244
|
31,3
|
250
|
425
|
370
|
335
|
315
|
273
|
30
|
40
|
184
|
17
|
2,5
|
1,5
|
36,5
|
244
|
41,1
|
300
|
485
|
430
|
390
|
375
|
325
|
16
|
204
|
2,8
|
1,8
|
45,8
|
264
|
51,4
|
350
|
550
|
490
|
450
|
430
|
377
|
33
|
46
|
234
|
20
|
3,8
|
2,5
|
63,6
|
294
|
70,0
|
400
|
610
|
550
|
505
|
490
|
426
|
49
|
254
|
21
|
4,5
|
2,8
|
80,2
|
314
|
87,6
|
450
|
660
|
600
|
555
|
540
|
480
|
16
|
20
|
54
|
22+4
|
274
|
24
|
6,0
|
3,0
|
108,7
|
334
|
118,3
|
500
|
730
|
660
|
615
|
590
|
530
|
39
|
57
|
274
|
25
|
6,5
|
3,8
|
129,9
|
334
|
140,3
|
(Таблицы 1, 2, 3, 4 - измененная редакция. Изм. № 1)
Пример условного обозначения штуцера Ду 150 мм на Ру 0,6
МПа, Н=154 мм, патрубок из стали ВСт3сп + 08Х13, фланец из стали ВСт3сп
Штуцер 150-0,6-154-1а-1 ОСТ
26-02-2041-79
ИНФОРМАЦИОННЫЕ ДАННЫЕ
1. УТВЕРЖДЕН И ВВЕДЕН В ДЕЙСТВИЕ Министерством
химического и нефтяного машиностроения СССР от 16.07.1979
2. РАЗРАБОТЧИКИ:
А.Ю. Пролесковский, М.И. Байбакова
3. ЗАРЕГИСТРИРОВАН ВНИИКИ ГР № 8138505 от 11.09.1979
4. ССЫЛОЧНЫЕ
НОРМАТИВНО-ТЕХНИЧЕСКИЕ ДОКУМЕНТЫ
Обозначение НТД,
на которые дана ссылка
|
Номер пункта,
подпункта, перечисления, приложения
|
ОСТ 26-02-2053-79
|
3
|
(Введены дополнительно. Изм. № 2)
|