Информационная система
«Ёшкин Кот»

XXXecatmenu

Федеральный надзор России по ядерной и радиационной безопасности
(Госатомнадзор России)

ПОЛОЖЕНИЕ О ПОРЯДКЕ ОБЪЯВЛЕНИЯ АВАРИЙНОЙ ОБСТАНОВКИ,
ОПЕРАТИВНОЙ ПЕРЕДАЧИ ИНФОРМАЦИИ И ОРГАНИЗАЦИИ
ЭКСТРЕННОЙ ПОМОЩИ АТОМНЫМ СТАНЦИЯМ В СЛУЧАЕ
РАДИАЦИОННО ОПАСНЫХ СИТУАЦИЙ

НП-005-98

Москва 2000

Федеральный надзор России по ядерной и радиационной безопасности
(Госатомнадзор России)

ФЕДЕРАЛЬНЫЕ НОРМЫ И ПРАВИЛА В ОБЛАСТИ ИСПОЛЬЗОВАНИЯ АТОМНОЙ ЭНЕРГИИ

Утверждено

постановлением

Госатомнадзора России

от 5 января 1998 г. № 1

ПОЛОЖЕНИЕ О ПОРЯДКЕ ОБЪЯВЛЕНИЯ АВАРИЙНОЙ ОБСТАНОВКИ,
ОПЕРАТИВНОЙ ПЕРЕДАЧИ ИНФОРМАЦИИ И ОРГАНИЗАЦИИ
ЭКСТРЕННОЙ ПОМОЩИ АТОМНЫМ СТАНЦИЯМ В СЛУЧАЕ
РАДИАЦИОННО ОПАСНЫХ СИТУАЦИЙ

НП-005-98

Введено в действие

с 1 июля 1998 г.

Москва 2000

Положение о порядке объявления аварийной обстановки, оперативной передачи информации и организации экстренной помощи атомным станциям в случае радиационно опасных ситуаций. НП-005-98. Нормативный документ. - М.: НТЦ ЯРБ, 2000.

Положение о порядке объявления аварийной обстановки, оперативной передачи информации и организации экстренной помощи атомным станциям в случае радиационно опасных ситуаций (далее - Положение) определяет требования к действиям оперативного персонала и руководства АС при угрозе возникновения или при возникновении аварийной ситуации на АС, порядок объявления состояния "Аварийная готовность" и "Аварийная обстановка" на АС.

Положение определяет основные задачи, права, обязанности и ответственность членов группы ОПАС, а также действия персонала АС и членов группы ОПАС в условиях радиационно опасных ситуаций или аварий.

Требования Положения распространяются на эксплуатирующие организации, АС и являются обязательными для всех министерств, ведомств, предприятий и организаций, входящих в группу ОПАС.

Положение разработано с учетом изменений в государственной структуре Российской Федерации, а также требований законов Российской Федерации и взамен Положения о порядке объявления аварийной обстановки, оперативной передачи информации и организации экстренной помощи атомным станциям в случае радиационно опасных ситуаций, 1992 г.

Положение одобрено Минатомом России, МЧС России, Минобороны России, Минсвязи России, Росгидрометом России, концерном "Росэнергоатом".

1. ПРИНЯТЫЕ СОКРАЩЕНИЯ

АМРДЦ ФУ "Медбиоэкстрем" - аварийный медицинский радиационно-дозиметрический центр Федерального управления "Медбиоэкстрем" при Минздраве России

AC - филиал концерна "Росэнергоатом" - атомная станция

АСКРО - автоматизированная система контроля радиационной обстановки

АСФ - аварийно-спасательные формирования

АТЦ - аварийно-технический центр

АЦ АС - Аварийный центр (внутренний) атомной станции (размещается в ЗПУПД АС)

АЦГ - Аварийный центр (внешний) атомной станции в городе при АС (размещается в ЗПУПД Г)

БН - реактор на быстрых нейтронах

ВВ МВД России - Внутренние войска Министерства внутренних дел Российской Федерации

ВВЭР - энергетический реактор с водяным теплоносителем и замедлителем под давлением (водо-водяной энергетический реактор)

ВМО - Всемирная метеорологическая организация

ВНИИАЭС - Всероссийский научно-исследовательский институт по эксплуатации атомных электростанций

ГО - гражданская оборона

Госатомнадзор России - Федеральный надзор России по ядерной и радиационной безопасности

Госгортехнадзор России - Федеральный горный и промышленный надзор России

ГПС - Государственная противопожарная служба

Группа ОПАС - группа оказания экстренной помощи атомным станциям

ГУ - Главное управление

ГУАП - Государственное унитарное авиапредприятие

ГЦУМС - Главный центр управления междугородными связями и телевидением

ЗГУ - звуковая громкоговорящая установка

ЗН AC - зона наблюдения атомной станции

Зона КЦ - подготовленные рабочие места с необходимыми средствами связи и программно-техническим обеспечением

ЗСР - зона строгого режима

ЗПУПД - защищенный пункт управления противоаварийными действиями

ЗПУПД AC - защищенный пункт управления противоаварийными действиями на территории АС

ЗПУПД Г - защищенный пункт управления противоаварийными действиями в городе АС

ЗПУПД РЭ - защищенный пункт управления противоаварийными действиями в районе эвакуации АС

Концерн "Росэнергоатом" - Федеральное государственное унитарное предприятие "Российский государственный концерн по производству электрической и тепловой энергии на атомных станциях"

КЦ - Кризисный центр концерна "Росэнергоатом"

КЧС - Комиссия по чрезвычайным ситуациям (территориальная)

КЧСК - Комиссия по чрезвычайным ситуациям концерна "Росэнергоатом"

КЧСО - Комиссия по чрезвычайным ситуациям АС

КФБ - критические функции безопасности

ЛСО - Локальная система оповещения атомной станции

МАГАТЭ - Международное Агентство по атомной энергии

Минатом России - Министерство Российской Федерации по атомной энергии

МВК - Межведомственная комиссия по предупреждению и ликвидации ЧС МЧС России

МВД России - Министерство внутренних дел Российской Федерации

Минобороны России - Министерство обороны Российской Федерации

Минсвязи России - Министерство связи Российской Федерации

Минтопэнерго России - Министерство топлива и энергетики Российской Федерации

МЧС России - Министерство Российской Федерации по делам гражданской обороны, чрезвычайным ситуациям и ликвидации последствий стихийных бедствий

НД - нормативная документация

НСС - начальник смены станции

НТЦ ВНИИАЭС и ИТ - Научно-технический центр ВНИИАЭС по информационным технологиям

НТЦ ЯРБ Госатомнадзора России - Научно-технический центр по ядерной и радиационной безопасности Госатомнадзора России

НТЦ "Атомтехэнерго" - Научно-технический и инженерный центр совершенствования эксплуатации и организации труда АС

ОГ - оперативная группа

ОКБМ - Государственное унитарное предприятие "Опытное конструкторское бюро машиностроения им. И.И. Африкантова, г. Нижний Новгород

ОКЧС Минатома России - Отраслевая комиссия по чрезвычайным ситуациям Минатома России

ОПАС - группа оказания экстренной помощи атомным станциям

ОСЧС Минатома России - отраслевая система предупреждения и ликвидации ЧС на объектах Минатома России

ПР - происшествие, нарушение в работе АС

ПУС - подвижной узел связи

PAP - руководитель аварийных работ на АС

РБМК - уран-графитовый канальный реактор

Росгидромет - Федеральная служба России по гидрометеорологии и мониторингу окружающей среды

РСЧС - Российская система предупреждения и ликвидации ЧС

РУ - реакторная установка

СЗЗ - санитарно-защитная зона

СИЗ - средства индивидуальной защиты

СКЦ Минатома России - Ситуационный Кризисный центр Минатома России

СЧСК - Система предупреждения и ликвидации ЧС концерна "Росэнергоатом"

СЧСО - система предупреждения и ликвидации ЧС объекта (в том числе атомной станции)

ТВС - тепловыделяющая сборка

ТВЭЛ - тепловыделяющий элемент

УОС - узел оперативной связи Кризисного центра концерна "Росэнергоатом"

ФИАЦ - Федеральный информационно-аналитический центр

ФПСЧС - функциональная подсистема предупреждения и ликвидации ЧС

ФСБ России - Федеральная служба безопасности Российской Федерации

ФУ "Медбиоэкстрем" Минздрава России - Федеральное управление медико-биологических и экстремальных проблем Минздрава России

ЦДУ РАО "ЕЭС России" - Центральное диспетчерское управление Российского акционерного общества "Единая энергетическая система России"

ЦМСЧ (МСЦ), ЦГСЭН ФУ "Медбиоэкстрем" - Центральные медико-санитарные части (медико-санитарные части), Центры Госсанэпиднадзора ФУ "Медбиоэкстрем"

ЦТП - Центр технической поддержки атомных станций

ЦУКС МЧС России - Центр управления в кризисных ситуациях МЧС России

ЧС - чрезвычайная ситуация

Штаб ГО и ЧС - Штаб по делам гражданской обороны и чрезвычайным ситуациям

ЭГ - экспертная группа.

ЭГП - энергетический графитовый петлевой реактор

(Измененная редакция. Изм. № 1)

2. ВВЕДЕНИЕ

2.1. Положение о порядке объявления аварийной обстановки, оперативной передачи информации и организации экстренной помощи атомным станциям в случае радиационно опасных ситуаций (далее - Положение) разработано в целях обеспечения готовности эксплуатирующих организаций - концерна "Росэнергоатом" к оказанию экстренной помощи АС в случае радиационных аварий или радиационно опасных ситуаций.

(Измененная редакция. Изм. № 1)

2.2. Настоящее Положение предусматривает межведомственное взаимодействие при возникновении радиационно опасных ситуаций на АС, регламентирует роль и функции межведомственной группы оказания экстренной помощи АС и структур, обеспечивающих ее организационную и научно-техническую поддержку.

2.3. Настоящее Положение определяет первоочередные действия оперативного персонала и руководства АС при угрозе возникновения или при возникновении аварийной ситуации на АС, порядок объявления состояний "Аварийная готовность" и "Аварийная обстановка" на АС и оперативную передачу информации при аварийных ситуациях на АС в соответствии с установленным порядком в министерства, ведомства, организации, государственные и местные органы власти.

Настоящее Положение определяет основные задачи, права, обязанности и ответственность членов группы ОПАС в случае радиационно опасных ситуаций на этих станциях, включая порядок ее комплектации, оповещения, сбора и доставки на АС Российской Федерации.

2.4. Настоящее Положение определяет действия персонала АС и членов группы ОПАС в условиях радиационно опасных ситуаций или аварий.

2.5. Настоящее Положение регламентирует условия оказания экстренной помощи АС в пределах СЗЗ, а также в городе АС в части защиты персонала и членов их семей для успешного выполнения Плана мероприятий по защите персонала в случае аварии на атомной станции.

2.6. Настоящее Положение не рассматривает организационные мероприятия по оказанию помощи населению при выходе радиоактивных веществ за пределы СЗЗ. Решение указанных вопросов находится в компетенции территориальных органов управления. Порядок проведения этих работ определяется иными нормативными документами.

2.7. Требования настоящего Положения распространяются на все АС Минатома России и являются обязательными для всех предприятий и организаций, входящих в группу ОПАС.

(Измененная редакция. Изм. № 1)

2.8. Требования настоящего Положения распространяются также на аварийные ситуации нерадиационного характера, возникающие в результате пожаров, выброса сильнодействующих ядовитых веществ, наводнений, землетрясений, ураганов, промышленных инцидентов и иных нарушений в работе установок, а также связанные с попытками преступных элементов совершить противоправные действия, которые могут повлечь радиационную аварию.

2.9. Настоящее Положение разработано с учетом изменений в структуре Минатома России, а также требований современных законов и нормативных документов.

(Новая редакция. Изм. № 1)

3. ОБЩАЯ СТРУКТУРА СИСТЕМЫ ПРЕДУПРЕЖДЕНИЯ И ЛИКВИДАЦИИ ЧРЕЗВЫЧАЙНЫХ СИТУАЦИЙ НА АС

3.1. Организационная структура

Работы по предупреждению и ликвидации ЧС радиационного и нерадиационного характера на АС организует и обеспечивает эксплуатирующая организация.

На объектовом уровне директор филиала концерна "Росэнергоатом" (атомной станции) (далее директор АС) является ответственным должностным лицом за безопасную эксплуатацию и соблюдение норм и правил в области использования атомной энергии на АС. Директор АС является ответственным за выполнение работ по предупреждению и ликвидации ЧС в пределах СЗЗ и проведение иных мероприятий в соответствии с аварийными инструкциями и Планом мероприятий по защите персонала в случае аварии на атомной станции.

Руководитель местной администрации является ответственным за обеспечение защиты населения в соответствии с Планом мероприятий по защите населения в случае аварии на атомной станции.

Руководство МЧС России контролирует готовность к действиям органов управления, сил и средств территориальных и функциональных подсистем для предупреждения и ликвидации ЧС.

Деятельность по предупреждению и ликвидации ЧС состоит из обеспечения готовности к действиям в ЧС (контроля, безопасности, противоаварийного планирования) и аварийного реагирования. Система предупреждения и ликвидации ЧС приведена на рис. 1. Деятельность концерна "Росэнергоатом" по предупреждению и ликвидации ЧС СЧСК приведена на рис. 2.

СЧСК предусматривает деятельность концерна по предупреждению и ликвидации ЧС в процессе эксплуатации АС. В состав СЧСК входят системы предупреждения и ликвидации ЧС подчиненных объектов концерна - СЧСО. Сама СЧСК является частью функциональной подсистемы предупреждения и ликвидации ЧС ОСЧС Минатома России. ОСЧС, в свою очередь, входит в РСЧС в качестве функциональной подсистемы (рис. 1), В рамках РСЧС осуществляется взаимодействие ОСЧС с территориальными и функциональными подсистемами РСЧС. Все системы действуют на основе соответствующих положений. Таким образом, в случае ЧС на АС в действие вводится оперативная схема реагирования, обеспечивающая при необходимости привлечение всех национальных противоаварийных сил и средств.

3.2. Управление противоаварийной деятельностью

Управление противоаварийными действиями включает:

- оценку обстановки;

- принятие решений;

- инженерную и ресурсную поддержку;

- информирование;

- организацию проведения аварийного реагирования.

Оценку обстановки осуществляют:

на объектовом уровне:

- PAP

- КЧСО

на уровне эксплуатирующей организации

- КЦ концерна "Росэнергоатом", ЦТП КЦ и группы ОПАС;

на федеральном уровне:

- АМРДЦ ФУ "Медбиоэкстрем";

- Руководство группы ОПАС в случае возникновения на АС радиационно опасных ситуаций или аварий.

Принятие решений осуществляют:

на объектовом уровне:

- PAP - директор АС или лицо, его замещающее, являющийся ответственным за выполнение Плана мероприятий по защите персонала в случае аварии на атомной станции;

- КЧСО, которая вместе с РАР является ответственной за выполнение Плана мероприятий по защите персонала в случае аварии на атомной станции;

- Штаб ГО и ЧС, являющийся органом повседневного управления, который в случае ЧС организует выполнение работы по защите и эвакуации персонала;

- КЧС руководят работой территориальных звеньев и подсистем РСЧС;

на уровне эксплуатирующей организации:

- КЧСК руководит противоаварийными действиями организаций и служб концерна;

- КЦ обеспечивает организацию экстренной помощи АС;

на федеральном уровне:

- ОКЧС Минатома России руководит деятельностью ОСЧС, участвует в государственных программах, обеспечивает готовность и экстренную помощь АС со стороны отраслевых структур;

- СКЦ осуществляет контроль радиационной обстановки в районах расположения АС, организует получение ежедневной информации об их текущем состоянии, обеспечивает оперативное оповещение АСФ и предприятий отрасли, международных организаций и поддержание информационного взаимодействия с ними.

- ОПАС в случае возникновения радиационно опасных ситуаций или аварий, осуществляет межведомственную координацию противоаварийных действий;

- МВК осуществляет координацию противоаварийных действий федеральных органов исполнительной власти;

- Госатомнадзор России осуществляет надзор за безопасностью АС;

- ФУ "Медбиоэкстрем" осуществляет федеральный надзор за радиационной безопасностью персонала и участников ликвидации последствий аварии и загрязненностью окружающей среды.

Инженерную и ресурсную поддержку осуществляют:

на объектовом уровне:

- ЗПУПД АС и ЗПУПДГ или экспертная группа специалистов при АС во взаимодействии с КЦ концерна "Росэнергоатом";

на уровне эксплуатирующей организации:

- КЦ концерна "Росэнергоатом".

на федеральном уровне:

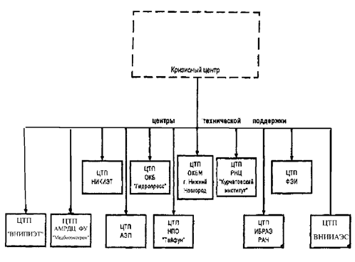
- СКЦ Минатома России во взаимодействии с КЦ концерна "Росэнергоатом", центрами технической поддержки (ЦТП) ведущих отраслевых институтов, конструкторских и проектных организаций (ВНИИАЭС, ОКБ "Гидропресс", НИКИЭТ и т.д.);

- ЦУКС МЧС России во взаимодействии с СКЦ Минатома России, НТЦ ЯРБ Госатомнадзора России и научными центрами РАН по проблемам защиты населения и территорий от ЧС (ИБРАЭ РАН, РНЦ "Курчатовский институт") и ФИАЦ Росгидромета.

Информирование общественности и населения о возникновении радиационно опасных ситуаций или аварий на АС осуществляется в соответствии со статьей 6 Федерального закона "О защите населения: и территорий от чрезвычайных ситуаций природного и техногенного характера".

Организацию проведения аварийного реагирования осуществляют:

на объектовом уровне:

- PAP;

- КЧСО;

- Штаб ГО и ЧС на АС;

- КЧС;

на уровне эксплуатирующей организации:

- КЧСК - концерна "Росэнергоатом"

на федеральном уровне:

- ОПАС;

- СКЦ Минатома России во взаимодействии с КЦ концерна "Росэнергоатом", ЦТП ведущих отраслевых институтов, конструкторских и проектных организаций (ВНИИАЭС, ОКБ "Гидропресс", НИКИЭТ и т.д.);

- ЦУКС МЧС России во взаимодействии с ЦУЧС Минатома России, НТЦ ЯРБ Госатомнадзора России и научными центрами РАН по проблемам защиты населения и территорий от ЧС (ИБРАЭ РАН, РНЦ "Курчатовский институт") и ФИАЦ Росгидромета.

(Измененная редакция. Изм. № 1)

СИСТЕМА ПРЕДУПРЕЖДЕНИЯ И ЛИКВИДАЦИИ ЧРЕЗВЫЧАЙНЫХ СИТУАЦИЙ

Рис. 1 Квадрат СЧСК

(Измененная редакция. Изм. № 1)

ДЕЯТЕЛЬНОСТЬ КОНЦЕРНА "РОСЭНЕРГОАТОМ" ПО ПРЕДУПРЕЖДЕНИЮ И ЛИКВИДАЦИИ ЧРЕЗВЫЧАЙНЫХ СИТУАЦИЙ

Рис. 2

4. ГРУППА ОКАЗАНИЯ ЭКСТРЕННОЙ ПОМОЩИ АТОМНЫМ СТАНЦИЯМ В СЛУЧАЕ РАДИАЦИОННО ОПАСНЫХ СИТУАЦИЙ ИЛИ АВАРИЙ НА АС

4.1. Место группы ОПАС в системе предупреждения и ликвидации ЧС

4.1.1. Экстренная помощь в случае возникновения радиационно опасных ситуаций или аварий на АС осуществляется группой ОПАС, являющейся, в свою очередь, органом, координирующим действия привлекаемых сил и средств для локализации и ликвидации аварий.

(Измененная редакция. Изм. № 1)

4.1.2. Общее руководство деятельностью группы ОПАС осуществляет ОКЧС Минатома России.

4.1.3. Группа ОПАС создается концерном "Росэнергоатом" по согласованию с ОКЧС Минатома России и работает при концерне "Росэнергоатом".

(Измененная редакция. Изм. № 1)

4.1.4. Руководитель группы ОПАС назначается приказом Министра Российской Федерации по атомной энергии по представлению ОКЧС и руководства концерна "Росэнергоатом".

(Измененная редакция. Изм. № 1)

4.1.5. В случае обращения к ОКЧС или МВК для выяснения причин аварии и ликвидации ее последствий группа ОПАС работает под их руководством.

(Новая редакция. Изм. № 1)

4.1.6. Ответственность за поддержание группы ОПАС в постоянной готовности к выполнению своих задач возлагается на концерн "Росэнергоатом".

4.1.7. Члены группы ОПАС назначаются приказами руководства соответствующих организаций. Они имеют право на льготы и компенсации в соответствии с действующим законодательством.

(Измененная редакция. Изм. № 1)

4.1.8. Порядок оказания экстренной помощи АС, расположенным за пределами границ Российской Федерации, определяется отдельными межгосударственными соглашениями.

4.1.9. В состав группы ОПАС (на правах ее членов) входят представители: Федеральное государственное унитарное предприятие "Российский государственный концерн по производству электрической и тепловой энергии на атомных станциях (концерн "Росэнергоатом"), Федерального надзора России по ядерной и радиационной безопасности, Федеральной службы России по гидрометеорологии и мониторингу окружающей среды, а также Всероссийского научно-исследовательского института по эксплуатации АЭС, Федерального государственного унитарного предприятия "Научно-исследовательский и конструкторский институт энерготехники", Федерального государственного унитарного предприятия - Научно-исследовательский, проектно-конструкторский и изыскательский институт "Атомэнергопроект", Федерального государственного унитарного предприятия - Опытное конструкторское бюро "Гидропресс", Российского научного центра "Курчатовский институт", Государственного научного центра Российской Федерации - Физико-энергетический институт им. академика А.И. Лейпунского, Опытное конструкторское бюро машиностроения им. И.И. Африкантова, г. Нижний Новгород, Научно-производственного объединения "Тайфун", Института проблем безопасного развития атомной энергетики Российской академии наук, Государственного научного центра Российской Федерации "Институт биофизики" Минздрава России, Государственного унитарного предприятия - Головной институт "Всероссийский проектный и научно-исследовательский институт комплексной энергетической технологии", Представители Министерства Российской Федерации по делам гражданской обороны, чрезвычайным ситуациям и ликвидации последствий стихийных бедствий, Министерства здравоохранения Российской Федерации, Министерства внутренних дел Российской Федерации, Начальника инженерных войск Министерства обороны Российской Федерации, Начальника войск радиационной, химической и биологической защиты Министерства обороны Российской Федерации, Министерства природных ресурсов Российской Федерации, принимающие непосредственное участие в ликвидации аварий на АС, входят в состав группы экспертов при ОКЧС Минатома России, которая определяет порядок оповещения, сбора, взаимодействия и задачи по локализации и ликвидации аварий на АС этими министерствами по согласованию с ними.

(Измененная редакция. Изм. № 1)

4.1.10. Члены группы ОПАС могут привлекать к работе по оценке и прогнозированию аварийных ситуаций экспертов соответствующих организаций, которые получают необходимую информацию об обстановке на уровне членов группы ОПАС.

(Измененная редакция. Изм. № 1)

4.1.11. Сведения о членах группы ОПАС сверяются и уточняются концерном "Росэнергоатом" у заинтересованных организаций два раза в год. В случае выбытия члена группы ОПАС (увольнение, переход на другую работу и т.п.) организации необходимо сообщать об изменениях и назначении нового представителя в концерн "Росэнергоатом".

(Измененная редакция. Изм. № 1)

4.1.12. Каждый член группы ОПАС Должен иметь дублера.

4.1.13. Местом сбора группы ОПАС являются помещения КЦ концерна "Росэнергоатом" (Москва, ВНИИАЭС, ул. Ферганская 25, 2-ой этаж).

(Измененная редакция. Изм. № 1)

4.1.14. В целях поддержания постоянной готовности группы ОПАС к выполнению возложенных на нее задач концерном "Росэнергоатом" организуются и проводятся проверки системы оповещения с передачей сигнала "Проверка связи" (один раз в квартал), учебно-методические сборы с передачей сигнала "Учебный сбор" (один раз в год) или командно-штабные учения на базе одной из АС с привлечением руководящего состава центров технической поддержки, с передачей сигнала "Учения", при возможности совмещая указанные сборы и командно-штабные учения с тренировками на АС.

В случае радиационно опасной ситуации или аварии на АС передаются сигналы "Аварийная готовность" или "Аварийная обстановка".

(Измененная редакция. Изм. № 1)

4.1.15. Имущество группы ОПАС хранится в специальных помещениях КЦ концерна "Росэнергоатом".

Запрещается использование имущества, технических и транспортных средств группы ОПАС для целей и нужд, не имеющих отношения к ее функциям.

(Измененная редакция. Изм. № 1)

4.1.16. Сферой действия группы ОПАС являются территория AC, C33 и город при АС в части защиты персонала АС и членов их семей.

4.1.17. Решения, принимаемые группой ОПАС, являются обязательными, если принимаются совместно с РАР. Во всех остальных случаях они носят рекомендательный и консультативный характер.

4.1.18. Группа ОПАС прекращает свою деятельность по распоряжению руководителя группы ОПАС.

4.2. Основные задачи группы ОПАС

Основными задачами группы ОПАС являются:

4.2.1. Анализ и оценка принятых руководством АС мер по предотвращению развития аварии.

4.2.2. Контроль за действиями РАР и персонала АС по проведению аварийных мероприятий.

4.2.3. Выработка рекомендаций для принятия решений о путях и методах минимизации, локализации и ликвидации последствий аварии на АС.

(Измененная редакция. Изм. № 1)

4.2.4. Подготовка предложений о необходимости привлечения к ликвидации последствий аварии сил и средств ОКЧС.

(Измененная редакция. Изм. № 1)

4.2.5. Подготовка рекомендаций для принятия срочных защитных мер для персонала АС и населения города АС по оценке и прогнозу радиоактивного загрязнения окружающей среды.

4.2.6. Консультирование РАР и персонала АС по вопросам ядерной, пожарной безопасности, инженерной, медицинской, радиационной и химической защиты и проектно-конструкторским особенностям энергоблоков.

4.2.7. Подготовка для вышестоящих организаций заключений о развитии аварии на АС и необходимости принятия мер на государственном (национальном) уровне.

4.2.8. Сбор и анализ сведений о ходе работ и привлекаемых силах и средствах для локализации аварии и ликвидации ее последствий.

4.2.9. Организация работ по привлечению дополнительных сил и средств, сверх установленных планом, для защиты персонала.

4.2.10. Организация работ по привлечению людских ресурсов, материально-технических и транспортных средств для проведения дезактивационных и ремонтно-восстановительных работ на АС.

4.2.11. Организация взаимодействия спецведомственного формирования АС, невоенизированных формирований ГО, воинских частей ГО, инженерных войск и войск радиационной, химической и биологической защиты Минобороны России, медицинских формирований ФУ "Медбиоэкстрем" Минздрава России, ВСМК, ВЦМК "Защита", подразделений ГПС и внутренних войск МВД России, привлекаемых для проведения работ в СЗЗ АС.

4.2.12. Оказание помощи АС в развертывании на территории СЗЗ санитарно-обмывочных пунктов и пунктов обеззараживания одежды и транспорта для личного состава и техники, участвующих в ликвидации последствий аварии.

4.2.13. Организация охраны аварийной АС, обеспечения охраны общественного порядка и безопасности, эвакуации населения из опасной зоны, проведения режимных мероприятий в целях недопущения проникновения в зараженную зону посторонних лиц, транспорта и т.п.

4.2.14. Максимально быстрое информирование общественности и населения через средства массовой информации о ходе работ по локализации и ликвидации аварии на АС, об использовании защитных мер от радиационного воздействия.

4.2.15. Разработка предложений по обновлению и корректировке Плана мероприятий по защите персонала в случае аварии на атомной станции.

4.2.16. Консультирование эксплуатирующей организации об окончании аварийной ситуации.

4.2.17. Подготовка сил и средств к действиям в случае ЧС на АС и ведомственный контроль за проведением мероприятий по их предупреждению.

4.3. Обязанности членов группы ОПАС

Члены группы ОПАС на период ее работы находятся в оперативном подчинении руководителю группы. Они обязаны:

4.3.1. Прибыть на место сбора группы по сигналу диспетчера концерна "Росэнергоатом" и участвовать в работе группы ОПАС.

4.3.2. Обеспечивать выполнение основных задач группы ОПАС.

4.3.3. Участвовать в учебных сборах и командно-штабных учениях.

4.3.4. Соблюдать правила безопасности и внутреннего распорядка в районе аварии.

4.3.5. Выполнять распоряжения и поручения руководителя группы ОПАС по своему направлению деятельности.

4.3.6. Совершенствовать профессиональные знания на основе отечественного и зарубежного опыта.

4.3.7. Беречь закрепленные за группой ОПАС имущество и материальные ценности и правильно их использовать.

4.3.8. Поддерживать непрерывную связь со своим министерством (ведомством), информировать своих начальников об обстановке, принимаемых мерах, вносить предложения о применении выделяемых и дополнительных сил и средств для ликвидации последствий аварии на АС.

4.3.9. Принимать активное участие в выработке предложений о совершенствовании структуры, подготовки и функционирования группы ОПАС.

4.3.10. Изучать состояние готовности сил и средств своего министерства (ведомства), предназначенных для действий в случае ЧС на аварийной АС, руководить их действиями при аварии на АС.

4.3.11. Сообщать обо всех изменениях места жительства, номера домашнего или Служебного телефона, а также об уходе в отпуск, выезде в командировку, болезни дежурному диспетчеру концерна "Росэнергоатом" по телефонам 220-60-01, 220-40-90.

4.4. Права членов группы ОПАС

4.4.1. Для обеспечения деятельности группы ОПАС по достижению основных целей, решению поставленных задач и выполнению членами группы своих функций им предоставляются следующие права:

- участвовать в обсуждении и принятии решений по всем вопросам деятельности группы ОПАС;

- выносить на обсуждение любой вопрос, касающийся решения основных задач группы ОПАС;

- оформлять в письменном виде "особое мнение" в случае несогласия с коллективным решением группы ОПАС;

- иметь специальный пропуск для прохода на аварийный, объект и перемещаться в пределах зоны аварийного объекта по определенным маршрутам с соблюдением требований безопасности. Специальный пропуск выдается на время работы в группе ОПАС;

- получать от концерна "Росэнергоатом", АС и привлекаемых организаций информацию о радиационной обстановке в районе аварийного объекта и на самом объекте, о причинах аварии, характере и масштабах повреждения оборудования, режимах эксплуатации АС до аварии, принятых и принимаемых руководством АС мерах по предотвращению развития аварии, минимизации, локализации и ликвидации ее последствий до прибытия группы ОПАС, ходе проведения мероприятий по ликвидации последствий аварии и по защите персонала, рабочих и служащих предприятий (включая личный состав воинских и пожарных частей), обеспечивающих функционирование и жизнедеятельность этой станции, об имеющихся в резерве материально-технических средствах и людских ресурсах на АС, в регионе и привлеченных организациях, о деятельности привлекаемых организаций и ходе аварийных работ;

- пользоваться всеми видами транспорта, выделенного для обеспечения решения поставленных задач и выполнения возложенных функций;

- пользоваться всеми имеющимися видами связи как в КЦ концерна "Росэнергоатом", так и на аварийной АС, устанавливать телефонную и радиосвязь с организациями, участвующими в работах по локализации и ликвидации аварии, для координации совместных действий;

- пользоваться всей имеющейся в концерне "Росэнергоатом" оперативной документацией, картами, схемами, ситуационными планами, видеоинформацией, банками данных по каждой АС, а также банками данных, имеющимися в других заинтересованных организациях, при необходимости допускаться установленным порядком к секретной информации;

- пользоваться в случае необходимости "тревожными чемоданами" группы ОПАС, СИЗ, медикаментами, сменной одеждой и т.д.;

- на бесплатное страхование жизни в период пребывания в группе ОПАС;

- на предоставление льгот, привилегий, социальную защиту и помощь, определенных законодательством, наравне с другими участниками ликвидации аварии на АС.

4.4.2. Помимо прав, приведенных в п. 4.4.1 настоящего Положения, руководитель группы ОПАС имеет право:

- ходатайствовать перед ОКЧС Минатома России или МЧС России о выделении дополнительных материально-технических средств и людских ресурсов, необходимых для ведения работ по локализации и ликвидации аварии;

- осуществлять в рамках принятых решений по локализации и ликвидации аварии координацию деятельности организаций (служб) Минатома России и приданных подразделений других министерств и ведомств, участвующих в этих работах;

- выносить на рассмотрение ОКЧС Минатома России программы организации работ по локализации аварии и ликвидации ее последствий.

4.5. Ответственность членов группы ОПАС

Руководитель группы ОПАС в соответствии с действующим законодательством Российской Федерации несет персональную ответственность за обоснованность и эффективность принимаемых решений, рекомендаций и консультаций, объективность информации, представляемой в вышестоящие инстанции, безопасность членов группы ОПАС, выполнение своих обязанностей и использование прав, приведенных в настоящем Положении.

Члены группы ОПАС несут ответственность за выполнение своих обязанностей и использование прав, приведенных в настоящем Положении.

4.6. Финансирование группы ОПАС

4.6.1. Финансирование группы ОПАС осуществляется концерном "Росэнергоатом", АС и МЧС России в следующих направлениях:

4.6.1.1. Концерн "Росзнергоатом" обеспечивает за счет средств эксплуатирующей организации, направляемых на поддержание надежной и безопасной эксплуатации АС, следующие области деятельности группы ОПАС:

- при необходимости бесплатное страхование жизни специалистов в период пребывания в группе ОПАС;

- аренду необходимых для работы группы ОПАС и КЦ каналов и систем связи;

- оснащение группы ОПАС необходимыми средствами связи, средствами индивидуальной защиты и индивидуального дозиметрического контроля, имуществом, документами, оргтехникой, транспортом и поддержание их в постоянной готовности к применению в случае ЧС;

- содержание КЦ концерна "Росэнергоатом", включая работы по развитию и модернизации программно-технического комплекса КЦ, формированию, ведению и обновлению баз данных локальной вычислительной сети КЦ;

- услуги ЦТП по обеспечению противоаварийной деятельности;

- организацию и проведение противоаварийных учений группы ОПАС с АС (частично).

4.6.2. АС обеспечивают за счет собственных источников:

- приобретение и содержание имущества гражданской обороны объекта, предоставляемого в пользование группе ОПАС в ЧС, в соответствии с перечнем (приложение 4);

- комплектование нормативной и проектной документации (учтенные экземпляры) в соответствии с перечнем (приложение 5) в двух экземплярах. Второй экземпляр документации передается в КЦ концерна "Росэнергоатом";

- связь АС с КЦ концерна "Росэнергоатом" и ЦТП в случае ЧС;

- организацию и проведение противоаварийных учений группы ОПАС с АС (частично).

(Измененная редакция. Изм. № 1)

4.6.3. Финансирование расходов, связанных с деятельностью группы ОПАС в период ликвидации аварий и их последствий, осуществляется в соответствии с постановлением Правительства Российской Федерации от 5 ноября 1995 г. № 1113 "О единой государственной системе предупреждения и ликвидации ЧС (РСЧС)".

5. ТЕХНИЧЕСКОЕ И ИНФОРМАЦИОННОЕ ОБЕСПЕЧЕНИЕ ГРУППЫ ОПАС

5.1. КЦ концерна "Росэнергоатом"

(Новая редакция. Изм. № 1)

(Исключен. Изм. № 1)

Основной задачей КЦ является организация противоаварийной деятельности и руководство аварийными действиями на уровне концерна "Росэнергоатом", которое включает в себя:

перспективное планирование противоаварийной деятельности;

подготовку противоаварийных действий;

организацию и проведение противоаварийных учений;

совершенствование методического и программно-технического обеспечения противоаварийной деятельности;

выполнение решений руководителя группы ОПАС о вводе в действие схемы оповещения и сбора членов группы ОПАС и экспертной группы;

выполнение решений руководителя группы ОПАС по оказанию экстренной помощи аварийной АС (по привлечению дополнительных сил и средств концерна и отрасли, оказанию материально-технической помощи АС в реализации Плана мероприятий по защите персонала в случае аварии на АС, разработке и реализации мероприятий по локализации и ликвидации аварии, по неотложным мерам ликвидации последствий аварии и т.п.);

обеспечение противоаварийных действий;

аварийно-диспетчерскую деятельность;

взаимодействие с вышестоящими инстанциями для организации, координации и взаимодействия сил и средств министерств и ведомств, входящих в группу ОПАС;

связь с общественностью и средствами массовой информации.

(Измененная редакция. Изм. № 1)

Кроме того КЦ осуществляет оперативную подготовку технических решений, которые включают в себя:

обеспечение контроля текущего состояния безопасности действующих энергоблоков;

обслуживание программно-технических средств;

обеспечение противоаварийных учений;

оценку и прогноз развития предаварийной ситуации и выдачу рекомендаций по предотвращению аварии;

оценку и прогноз состояния энергоблока и окружающей среды в случае аварии, определение масштаба аварии;

выдачу руководителю группы ОПАС рекомендаций по радиационной защите персонала;

определение дополнительных к штатных сил и средств для локализации и ликвидации источника радиоактивного выброса на энергоблоке, восстановления безопасного состояния энергоблока;

информационно-аналитическое обеспечение КЦ в ЧС.

(Измененная редакция. Изм. № 1)

5.1.1. Режимы работы Кризисного центра

В зависимости от обстановки на энергоблоках АС различаются три режима работы КЦ:

- режим повседневной деятельности;

- режим повышенной готовности;

- режим ЧС.

(Измененная редакция. Изм. № 1)

5.1.1.1. Режим повседневной деятельности

В режиме повседневной деятельности КЦ осуществляет информационную поддержку концерна "Росэнергоатом" на основе информации, оперативно поступающей с энергоблоков, и информации, содержащейся в его базах данных, а также проводит работы по совершенствованию собственного технического и программно-методического оснащения.

КЦ обеспечивает:

- контроль текущего состояния безопасности действующих энергоблоков;

- совершенствование подготовки элементов СЧСК, подготовку и проведение противоаварийных учений;

- контроль состояния средств защиты персонала АС и членов их семей;

- участие в формировании и контролировании выполнения государственных и отраслевых программ по предупреждению и ликвидации ЧС на АС;

- координацию разработки противоаварийных систем и средств;

- исправное состояние технических средств, для которых в режиме повседневной деятельности предусмотрена непрерывная работа;

- проведение регламентных проверок и испытаний, ремонта и замены технических средств, которые в режиме повседневной деятельности не используются;

- поддержание в готовности средств доставки группы ОПАС и технических экспертов в район аварийной АС, готовности к применению имущества и материально-технических средств группы ОПАС;

- проведение испытаний, приемки в эксплуатацию вновь вводимых элементов и подсистем КЦ;

- обучение и периодические проверки знаний персонала КЦ.

(Измененная редакция. Изм. № 1)

5.1.1.2. Режим повышенной готовности

Режим повышенной готовности является переходным от режима повседневной деятельности к ЧС. Режим повышенной готовности вводится, когда на АС возникают особо опасные предаварийные ситуации (нарушения критических функций безопасности без радиационных последствий, неготовность систем безопасности, отсутствие эксплуатационных инструкций для происходящего нарушения и т.п.); а также в случае аварии с незначительными радиационными последствиями (категория А04). ЦТП должны иметь перечень состояний АС и РУ для режима повышенной готовности. Режим повышенной готовности вводится по указанию руководителя группы ОПАС в случае:

- объявления на АС состояния "Аварийная готовность";

- получения информации об ухудшении радиационной обстановки на площадке АС, в СЗЗ и городе при АС от автоматизированной системы радиационного мониторинга АС или состояния критических функций безопасности, подтвержденной начальником смены станции, с указанием причин, вызвавших ухудшение.

В режиме повышенной готовности КЦ выполняет централизованное аварийное оповещение отраслевых структур, организует сбор персонала КЦ, настройку технических средств КЦ на расширенный мониторинг состояния энергоблока с увеличенным риском аварии, проверку готовности системы связи. После выполнения указанных действий КЦ приступает к оказанию организационной и технической помощи АС для предупреждения ЧС.

(Измененная редакция. Изм. № 1)

5.1.1.3. Режим чрезвычайной ситуации

Режим чрезвычайной ситуации вводится в случае объявления на АС состояния "Аварийная обстановка".

В режиме ЧС КЦ осуществляет руководство аварийным реагированием, его организационное обеспечение и инженерную поддержку, в том числе:

- вводит в действие систему оповещения;

- обеспечивает сбор группы ОПАС, контролирует прибытие и проводит регистрацию членов группы ОПАС и ЭГ;

- контролирует текущее состояние безопасности действующих энергоблоков;

- представляет информацию о произошедшей ЧС, принятых и предпринимаемых на АС мерах;

- подготавливает имеющуюся документацию (оперативную, архивную и т.п.), имеющуюся в распоряжении КЦ;

- устанавливает постоянную связь с Информационно-аналитическим центром Госатомнадзора России и периодически (по запросу) передает информацию о состоянии аварийного энергоблока АС, радиационной обстановке в помещениях АС и на прилегающей территории, метеорологических условиях в районе расположения площадки АС.

- приводит в готовность и разворачивает зоны КЦ;

- обеспечивает контроль и помощь в реализации Плана мероприятий по защите персонала в случае аварии на атомной станции;

- вносит предложения о формах оказания экстренной помощи;

- обеспечивает координацию работ по привлечению необходимых сил и средств аварийной АС;

- организует доставку членов группы ОПАС и необходимых экспертов на аварийную АС, доставку и развертывание на аварийной АС приданных сил и средств, контроль оказания материально-технической помощи аварийной АС;

- взаимодействует с организациями, входящими в группу ОПАС;

- готовит предварительную информацию о состоянии энергоблока и его основных систем, о масштабах разрушений, радиационной обстановке на энергоблоке и в окружающей среде для принятия решений;

- получает и анализирует результаты аварийного мониторинга совместно с ЦТП;

- оценивает и прогнозирует ситуацию на основе обработки данных совместно с ЦТП;

- оперативно готовит технические предложения по следующим вопросам:

=> оценка и прогнозирование масштаба аварии (состояние энергоблока и загрязнение окружающей среды),

=> оценка хода работ по реализации Плана мероприятий по защите персонала в случае аварии на атомной станции,

=> рекомендации по защите персонала,

=> использование на АС дополнительных к штатным сил и средств,

=> локализация и ликвидация источника радиоактивного выброса,

=> восстановление безопасного состояния энергоблока;

- представляет информацию о произошедшей ЧС, принятых и предпринимаемых на АС мерах;

- готовит сообщения в средства массовой информации.

(Измененная редакция. Изм. № 1)

5.1.2. Техническое обеспечение КЦ

(Измененная редакция. Изм. № 1)

ВНИИАЭС как институт, входящий в состав концерна "Росэнергоатом", в соответствии с положением об институте осуществляет техническое обеспечение КЦ.

Главной задачей ВНИИАЭС в рамках технического обеспечения КЦ является поддержание постоянной готовности и совершенствование методических программно-технических средств КЦ, а также централизованная техническая поддержка ЗПУПД АС.

Поддержание постоянной готовности КЦ обеспечивается путем сбора и обработки основных параметров эксплуатации АС и обмена информацией с ЦТП и ЗПУПД АС, проведения тренировок членов ЭГ совместно с ЦТП и ЗПУПД АС.

Эти функции выполняет специализированная структура НТЦ ВНИИАЭС и ИТ.

(Новая редакция. Изм. № 1)

5.2. Центры технической поддержки КЦ и группы ОПАС (ВНИИАЭС, НИКИЭТ, АЭП, ОКБ "Гидропресс", РНЦ "Курчатовский институт", ГНЦ ФЭИ, ОКБМ, г. Нижний Новгород, ИБРАЭ РАН, НПО "Тайфун", ВНИПИЭТ, АМРДЦ ФУ "Медбиоэкстрем")

(Измененная редакция. Изм. № 1)

5.2.1. Структура центров технической поддержки

ЦТП организуют постоянно действующие подразделения и ЭГ, которая собирается в случае возникновения аварийной обстановки на энергоблоке.

В составе постоянно действующих подразделений ЦТП организуется группа, обеспечивающая режим круглосуточного дежурства, включающего прием и первичный анализ информации, поступающей из КЦ по коммуникационным сетям межкомпьютерного обмена.

ЭГ ЦТП вырабатывает оценки, прогнозы и рекомендации в соответствии с задачами, стоящими перед ЦТП в процессе аварийного реагирования. В состав ЭГ включаются ведущие специалисты предприятия.

(Измененная редакция. Изм. № 1)

5.2.1.1. Порядок взаимодействия ЦТП и КЦ

ЦТП создаются для инженерной поддержки КЦ концерна "Росэнергоатом" и аварийной АС в части анализа, прогноза развития и масштабов аварии, выработки рекомендаций по управлению аварией и проведению работ по ликвидации ее последствий.

ЦТП подключается к работе либо по требованию руководителя группы ОПАС (его заместителя), либо по указанию председателя отраслевой комиссии по чрезвычайным ситуациям через дежурного диспетчера концерна "Росэнергоатом" или через дежурного КЦ.

Взаимодействие КЦ концерна "Росэнергоатом" с ЦТП обеспечивается через представителей ЦТП, входящих в состав ЭГ КЦ с использованием системы связи КЦ, позволяющей осуществлять межкомпьютерный обмен информацией, телефонную, телефаксную связь, проведение аудиоконференций.

Все вырабатываемые ЦТП по запросу КЦ концерна "Росэнергоатом" рекомендации передаются только в КЦ. ЦТП обязан информировать КЦ концерна "Росэнергоатом" обо всех запросах, поступающих к нему, минуя КЦ, и реакции на них.

(Измененная редакция. Изм. № 1)

5.2.1.2. Экспертная группа КЦ

Особенностью ЧС на АС является угроза или факт аварии и, как следствие, наличие радиационных поражающих факторов. Предупреждение и ликвидация радиационно опасных ситуаций и аварий является комплексной задачей целого ряда отраслевых и межведомственных структур. Вопросы оперативного взаимодействия противоаварийных сил и средств решает группа ОПАС. Их постоянную готовность обеспечивают АС и КЦ концерна "Росэнергоатом". Решение проблем совершенствования радиационной защиты персонала, населения, территорий при ЧС координирует ЭГ КЦ по проблемам радиационной безопасности в чрезвычайных ситуациях.

ЭГ КЦ должна обеспечивать:

- регулярное взаимодействие ведущих специалистов по радиационной безопасности;

- определение основных направлений совершенствования противоаварийной деятельности;

- координацию постоянной работы ЦТП эксплуатации АС.

Основными функциями ЭГ КЦ являются:

- разработка и согласование нормативных и методических документов по вопросам аварийного реагирования в части радиационной безопасности;

- определение принципов и методических основ централизованного контроля радиационной обстановки;

- организация разработки критериев ЧС, способов идентификации ЧС на основе результатов предварительного анализа проектных и запроектных аварий;

- организация работ по совершенствованию способов и средств оперативного информационного взаимодействия противоаварийных сил;

- организация работ по совершенствованию способов оценки фактической радиационной обстановки и прогноза ее изменения на основе обработки данных;

- разработка общих приемов оперативной подготовки рекомендаций и технических решений;

- организация подготовки справочной информации по вопросам радиационной безопасности, необходимой группе ОПАС в случае аварии или при проведении противоаварийных учений;

- координация работ по разработке сценариев противоаварийных учений;

- анализ и сравнение существующих методов и программных средств по оценке и прогнозу радиационных последствий аварии и выработка рекомендаций по их использованию.

ЭГ КЦ представляет свои предложения руководству концерна "Росэнергоатом" для их реализации.

Состав ЭГ КЦ формируется из специалистов концерна "Росэнергоатом", организаций генерального проектировщика, научных руководителей проектов и эксплуатации, главных конструкторов, ведущих организаций научно-технической поддержки эксплуатации АС.

(Измененная редакция. Изм. № 1)

5.2.2 ЦТП ВНИИАЭС:

Основной задачей ЦТП ВНИИАЭС является научное сопровождение эксплуатации действующих АС на основе обобщения опыта их эксплуатации.

Дежурные эксперты ВНИИАЭС входят в первую очередь аварийного реагирования группы ОПАС, участвуют в проведении оперативной предварительной оценки обстановки на АС и в районе расположения АС.

ЦТП ВНИИАЭС выполняет поддержку эксплуатации КЦ по следующим направлениям:

- Дежурство экспертов по вызову;

- Обеспечение готовности программно-технических комплексов;

- Систематическая обработка оперативных данных;

- Координация экспертных оценок состояния АС других ЦТП;

- Обеспечение и участие в тренировках экспертов;

- Обеспечение и участие в полномасштабных противоаварийных учениях.

ЦТП ВНИИАЭС на базе обобщения опыта эксплуатации действующих АС, методических разработок и программно-технических комплексов осуществляет:

- Диагноз/прогноз нарушений нормальной эксплуатации АС;

- Диагноз/прогноз состояния ядерной и радиационной безопасности АС;

- Реализацию инженерных методов предупреждения аварий на АС;

- Координацию разработок сценариев противоаварийных тренировок/учений и анализ их результатов.

(Введен дополнительно. Изм. № 1)

5.2.3. ЦТП главных конструкторов ядерных реакторов (НИКИЭТ, ОКБ "Гидропресс", ОКБМ) и генеральных проектировщиков (АЭП, ВНИПИЭТ)

Условие включения в работу - запроектное протекание аварии на реакторной установке или угроза подобного развития аномальных событий.

Задачи, стоящие перед ЦТП в процессе аварийного реагирования:

- оценка состояния РУ аварийного энергоблока, включая идентификацию причин аварии;

- прогнозирование ожидаемых путей протекания аварии, ее возможного масштаба и предполагаемых последствий;

- разработка рекомендаций по приведению РУ аварийного энергоблока в безопасное состояние, включая рекомендации по действиям персонала по восстановлению КФБ и мероприятиям по ликвидации последствий аварии;

- оценка состояния оборудования, помещений, промплощадки АС. Разработка рекомендаций по замене вышедшего из строя оборудования, дезактивации помещений и промплощадки;

- оценка действий персонала аварийного энергоблока в процессе локализации аварии и ликвидации ее последствий.

Информационное обеспечение - вся технологическая информация, имеющаяся в распоряжении и оперативно получаемая КЦ концерна "Росэнергоатом".

(Измененная редакция. Изм. № 1)

5.2.4. ЦТП РНЦ "Курчатовский институт", ГНЦ ФЭИ

(Измененная редакция. Изм. № 1)

Условие включения в работу - запроектное протекание аварии на РУ с выходом радиоактивности.

Задачи, стоящие перед ЦТП в процессе аварийного реагирования:

- оценка состояния РУ аварийного энергоблока, включая идентификацию причин аварии;

- прогнозирование возможных путей протекания аварии, ее масштаба и последствий;

- разработка рекомендаций по приведению РУ аварийного энергоблока в безопасное состояние и мероприятий по ликвидации последствий аварии;

- контроль действий персонала аварийного энергоблока в процессе преодоления аварии и ликвидации ее последствий;

- оценка изотопного состава и мощности выброса.

Информационное обеспечение - вся технологическая информация и данные о радиационной обстановке в помещениях энергоблока, имеющиеся в распоряжении КЦ концерна "Росэнергоатом" и оперативно получаемые КЦ.

5.2.5. ЦТП ИБРАЭ РАН

(Измененная редакция. Изм. № 1)

Условие включения в работу - выход радиоактивности в окружающую среду сверх установленных нормативов.

Задачи, стоящие перед ЦТП в процессе аварийного реагирования:

- оценка ситуации как по масштабу аварии, так и по радиоактивному загрязнению окружающей среды;

- оценка и прогноз основных характеристик источника выброса.

Информационное обеспечение - параметры источника выброса (расположение, высота, диаметр и т.д.), характеристики выброса (динамические параметры, время начала и продолжительность, мощность или объем, нуклидный состав, физико-химические свойства), метеоданные, данные АСКРО и мониторинга.

5.2.6. ЦТП НПО "Тайфун"

(Измененная редакция. Изм. № 1)

Условие включения в работу - выход радиоактивности в окружающую среду сверх установленных нормативов.

Задачи, стоящие перед ЦТП в процессе аварийного реагирования:

- оценка и прогноз метеообстановки в районе АС;

- прогнозирование распространения радиоактивности и уровня радиоактивного загрязнения природной среды на территории региона в результате аварии на АС;

- прогноз возможности трансграничного переноса радиоактивного облака.

Информационное обеспечение - информация о метеообстановке в районе АС, прогнозирование траектории переноса воздушных масс из района аварии, оценка уровней радиоактивного загрязнения природной среды на территории региона в результате аварии и прогноз возможности трансграничного переноса загрязненных воздушных масс.

5.2.7. АМРДЦ ФУ "Медбиоэкстрем".

Условие включения в работу - авария с угрозой радиационного воздействия на персонал АС.

Задачи, состоящие перед АМРДЦ в процессе аварийного реагирования.

- прогноз медико-санитарных последствий аварийной ситуации;

- поддержка ЦМСЧ (МСЧ) и ЦГСЭН ФУ "Медбиоэкстрем";

- медицинское обеспечение работы группы ОПАС в районе аварийной ситуации.

Информационное обеспечение - оценка дозовых нагрузок на персонал АС, радиационной обстановки и дозовых нагрузок на население в пределах СЗЗ.

(Введен дополнительно. Изм. № 1)

5.3. АТЦ

(Измененная редакция. Изм. № 1)

5.3.1. АТЦ расположен в г. Нововоронеже и предназначен для выполнения следующих аварийно-технических и спасательных работ с использованием робототехнических средств и спецтехники:

- ликвидация последствий аварий, связанных с радиационным фактором, на АС и исследовательских реакторах Минатома России;

- ликвидации последствий аварий, связанных с транспортированием ядерного топлива, на АС Минатома России и в их СЗЗ;

- участие в работах по ликвидации последствий ЧС, связанных с радиационным фактором, на территории Воронежской области.

- участие в работах по ликвидации ЧС, связанных с транспортированием ядерных материалов и радиоактивных веществ на территории Юго-Западного и Южного районов России.

(Измененная редакция. Изм. № 1)

5.3.2. Режимы работы АТЦ:

"Повседневная деятельность" - деятельность при нормальной, безаварийной обстановке на обслуживаемых объектах;

"Повышенная готовность" - приведение сил и средств АТЦ в готовность при получении прогноза возможности возникновения ЧС на обслуживаемом объекте;

"Чрезвычайный режим" - выдвижение сил и средств АТЦ на аварийный объект в распоряжение руководителя ликвидации аварии для выполнения аварийно-технических и спасательных работ.

Режимы работы АТЦ вводятся по указанию руководителя группы ОПАС.

(Измененная редакция. Изм. № 1)

5.4. Комплексная система связи группы ОПАС

Система связи группы ОПС базируется на существующую комплексную систему связи управления эксплуатацией АС и отдельные средства связи концерна "Росэнергоатом" и обеспечивает связью группу ОПАС и ее оповещение на всех этапах действий в кризисных ситуациях.

Для оповещения, обеспечения связью группы ОПАС и управления противоаварийными действиями узлы связи КЦ концерна "Росэнергоатом" и АС оснащаются техническими средствами:

- правительственной междугородной связи и специальной подвижной радиосвязи системы "Роса";

- сети ЦДУ РАО "ЕЭС России";

- сети связи Минэнерго России;

- оперативно-диспетчерской связи;

- междугородной телефонной связи;

- стационарной спутниковой системы связи "Материк" и сети международной подвижной спутниковой связи "Инмарсат Мини-М";

- сотовой сети радиосвязи.

Техническими средствами, обеспечивающими организацию связи в интересах группы ОПАС, являются телефонные, телетайпные каналы, каналы передачи данных, электронной почты и метеоданных, образованные в кабельных, радиорелейных, тропосферных, радио- и спутниковых системах магистральных, внутризоновых и местных сетей связи.

Средства связи находятся в постоянной готовности для выполнения возложенных задач.

На период функционирования группы ОПАС связь обеспечивается с узлов связи КЦ концерна "Росэнергоатом" и оборудованного на шасси автомашины повышенной проходимости.

Перечень средств связи, необходимых для функционирования группы ОПАС и подлежащих накоплению в КЦ концерна "Росэнергоатом", приведен в приложении 4.

(Измененная редакция. Изм. № 1)

5.4.1. Порядок оповещения группы ОПАС

5.4.1.1. Оповещение группы ОПАС обеспечивает дежурный диспетчер концерна "Росэнергоатом" с использованием автоматизированной системы аварийного оповещения.

5.4.1.2. Организации, представители которых являются членами группы ОПАС, сообщают в концерн "Росэнергоатом" домашние и служебные телефоны членов группы ОПАС, индивидуальные номера приемников систем персонального радиовызова и телефоны операторов системы персонального радиовызова.

5.4.1.3. Обо всех изменениях номеров телефонов членов группы ОПАС в трехдневный срок сообщается в концерн "Росэнергоатом".

5.4.1.4. Оповещение руководящего персонала АС и дежурного диспетчера концерна "Росэнергоатом" о ЧС на АС производится начальником смены станции по системе оповещения АС.

5.4.1.5. Проверка работоспособности системы оповещения и системы персонального радиовызова с доведением информации до членов группы ОПАС проводится не реже одного раза в месяц.

5.4.1.6. Проверка работоспособности систем персонального радиовызова и оповещения на АС проводится не реже одного раза в месяц.

5.4.2. Порядок обеспечения связью группы ОПАС

5.4.2.1. Связь группы ОПАС обеспечивается:

- в КЦ концерна "Росэнергоатом" - комплексной системой связи управления эксплуатацией АС с использованием технических средств связи, приведенных в п. 5.4 настоящего Положения;

- при движении автотранспортом в район оказания экстренной помощи АС - из ПУС ОПАС по радио, спутниковой сети связи "Инмарсат Мини-М" и системы "Роса" и на коротких остановках с использованием средств связи постов ГУ ГИБДД;

- при движении воздушным транспортом - средствами связи аэродромов взлета и посадки и воздушного судна (по согласованию с ведомством, выделяющим воздушное судно);

- в районах оказания помощи АС - из защищенных пунктов управления противоаварийными действиями АС по техническим средствам и каналам связи АС.

(Измененная редакция. Изм. № 1)

5.4.2.2. На узлах связи защищенных пунктов управления противоаварийными действиями, в которых размещаются АЦ АС и АЦГ АС предусмотрен маневр каналами связи.

(Измененная редакция. Изм. № 1)

5.4.2.3. На направлениях связи предусматривается выделение следующего количества каналов:

- КЦ концерна "Росэнергоатом" - АС (постоянно действующих проводных - 1 - 2, спутниковых - 2 - 3, магистральных проводных, выделяемых во временную аренду по заявке - 2 - 3);

- концерн "Росэнергоатом" - ЦТП (телефонных каналов - 1 - 2);

- в зоне АС перечень и количество каналов определяется и утверждается руководством АС.

(Измененная редакция. Изм. № 1)

5.4.2.4. Каналы связи, выделяемые во временную аренду согласно положению о порядке обеспечения потребностей концерна "Росэнергоатом" средствами сети связи общего пользования Российской Федерации, заводятся на узлы связи защищенных пунктов управления противоаварийными действиями ЗПУПД Г и ЗПУПД АС с возможностью их перекроссировки на постоянно действующий узел связи АС. В концерне "Росэнергоатом" дополнительные каналы заводятся на УОС Кризисного центра.

(Новая редакция. Изм. № 1)

5.4.2.5. Прием дополнительных каналов узлами связи АС и концерна "Росэнергоатом" обеспечивается в течение пяти часов с момента получения предприятием связи Минсвязи России заявки на выделение каналов связи.

(Новая редакция. Изм. № 1)

5.4.2.6. По паролю "Бедствие" междугородные телефонные разговоры в соответствии с приказом Минсвязи России от 14 апреля 1994 г. № 93 предоставляются четырем руководителям и диспетчеру концерна "Росэнергоатом", а также всем директорам АС.

5.4.2.7. Разговоры по паролю "Бедствие" предоставляются с любого указанного абонентом номера телефона, а также с переговорного пункта или из отделения связи.

5.4.3. Готовность средств связи и надежное функционирование каналов связи обеспечивается:

- AC - в 5-километровой зоне вокруг АС и на защищенных пунктах управления противоаварийными действиями АС;

- территориальным органом управления по делам ГО и ЧС области (автономного округа) - в 30-километровой зоне вокруг АС (связь взаимодействия и электромагнитная совместимость радиосредств, привлекаемых сил и средств);

- концерном "Росэнергоатом" - в интересах группы ОПАС;

- ГЦУМС - в части организации магистральных каналов связи между концерном "Росэнергоатом" и АС.

5.5. Транспортные средства группы ОПАС

Группа ОПАС оснащается оперативно-служебным автотранспортом, находящимся на круглосуточном дежурстве в распоряжении концерна "Росэнергоатом".

Транспортные средства группы ОПАС обеспечивают экстренный сбор членов группы ОПАС и технических экспертов, доставку их в КЦ концерна "Росэнергоатом" и на аварийную АС.

5.5.1. Состав транспортных средств группы ОПАС

Автотранспортные средства, находящиеся на балансе концерна "Росэнергоатом":

- легковые автомобили (типа "Волга") в количестве 3 штук, находящиеся на круглосуточном дежурстве и обеспечивающие экстренный сбор необходимых экспертов и специалистов;

- микроавтобусы на 10 - 12 мест (2 автомашины в "горячем резерве") для доставки необходимых сил и средств в аэропорт вылета и на АС, расположенные на расстоянии до 600 км от Москвы (Курская, Смоленская, Калининская, Нововоронежская);

- микроавтобус (на 6 - 7 мест) ПУС ОПАС для организации координации действий привлекаемых сил и средств в районах расположения АС и на маршруте движения группы ОПАС на аварийную станцию АС;

- мини-грузовик (типа "Газель").

Все перечисленные автотранспортные средства группы ОПАС регистрируются в органах ГАИ МВД России как специальные средства.

Автотранспортные средства группы ОПАС оснащаются:

- проблесковым маяком;

- звуковой громкоговорящей установкой;

- радиотелефоном;

- средствами персонального вызова;

- приборами дозиметрического контроля и радиационной разведки.

Авиатранспорт, обеспечивающий оперативную доставку членов группы ОПАС на аварийную АС:

- самолеты МЧС России по договору (соглашению) между ГУАП МЧС России и концерном "Росэнергоатом";

- самолеты других авиапредприятий по договорам, заключаемым концерном "Росэнергоатом". Право выбора авиапредприятий предоставляется концерну "Росэнергоатом".

Доставка группы ОПАС в район аварийной АС осуществляется по следующим маршрутам:

Балаковская АС - аэропорт Балаково.

Белоярская AC - аэропорт Кольцово.

Билибинская АС - аэропорт Кипервеем (Певек).

Кольская АС - аэропорт Кировск (Африканда).

Курская AC - аэропорт Курск.

Нововоронежская AC - аэропорт Воронеж.

Калининская АС - доставка вертолетом (МИ-8) непосредственно на станцию.

Смоленская АС - доставка вертолетом (МИ-8) непосредственно на станцию.

Ленинградская AC - аэропорт Пулково.

Ростовская АС - аэропорт Волгодонск.

Для хранения транспортных средств группы ОПАС концерн "Росэнергоатом" организует специальные боксы, оборудованные системами электро- и теплоснабжения, устройствами подзарядки аккумуляторных батарей и охранной сигнализацией с выводом сигнала тревоги в пункт охраны.

Концерн "Росэнергоатом" разрабатывает, оперативно корректирует и хранит в базах данных локальной вычислительной сети КЦ концерна следующую информацию о транспортных средствах группы ОПАС:

- маршруты сбора и доставки членов группы ОПАС и технических экспертов в КЦ концерна "Росэнергоатом";

- маршруты и время доставки на аварийную АС;

- перечень необходимых материалов и запчастей;

- телефоны оперативной связи с автотранспортом, авиапредприятиями, обеспечивающими доставку группы ОПАС на аварийную АС, аэропортами вылета из Москвы.

(Измененная редакция. Изм. № 1)

5.5.2. Порядок использования автотранспортных средств группы ОПАС в режиме нормальной эксплуатации АС и в режиме ЧС

5.5.2.1. В режиме нормальной эксплуатации

В этом режиме управление работой автотранспорта группы ОПАС осуществляет дежурный диспетчер концерна "Росэнергоатом" по указанию руководителей концерна.

Техническая исправность оперативного автотранспорта группы ОПАС обеспечивается транспортной службой концерна "Росэнергоатом".

(Измененная редакция. Изм. № 1)

5.5.2.2. В режиме чрезвычайной ситуации

На основании полученной информации о возникновении ЧС на АС и решения председателя ОКЧС об оказании экстренной помощи этой станции руководитель группы ОПАС дает указание о сборе членов группы ОПАС дежурному диспетчеру концерна "Росэнергоатом". Для этих целей и дальнейшей доставки в аэропорт и на АС задействуется автотранспорт группы ОПАС.

6. ПОРЯДОК ОБЪЯВЛЕНИЯ АВАРИЙНОЙ ОБСТАНОВКИ И ОПЕРАТИВНОЙ ПЕРЕДАЧИ ИНФОРМАЦИИ

6.1. Порядок объявления на АС состояния "Аварийная готовность"

6.1.1. При обнаружении нарушений пределов и/или условий безопасной эксплуатации АС, при которых мощность эквивалентной дозы или объемная активность йода-131 в воздухе достигнет уровня состояния "Аварийная готовность" (критерии для объявления на АС состояний "Аварийная готовность" и "Аварийная обстановка" приведены в табл. 1), а также в случае угрозы безопасности АС при пожарах и стихийных бедствиях, при нарушении режима безопасности АС, которые могут повлечь радиационную аварию, эксплуатационный персонал обязан немедленно:

- сообщить об обстановке должностному лицу в порядке подчиненности вплоть до НСС;

- принять необходимые и доступные меры по оказанию помощи при несчастных случаях, угрозе жизни или переоблучении персонала;

- принять необходимые и доступные меры по устранению обнаруженного нарушения, либо уменьшению его последствий.

6.1.2. НСС, получив сообщение о наличии фактов, свидетельствующих о возможном возникновении радиационно опасной ситуации или аварии, идентифицирует создавшуюся ситуацию и производит оповещение согласно Перечню нарушений режима безопасной работы АС, о которых дирекция АС должна сообщать немедленно (табл. 2).

(Измененная редакция. Изм. № 1)

Таблица 1

Критерии для объявления на АС состояний "Аварийная готовность" и "Аварийная обстановка"

№ п/п

Контролируемый параметр, место контроля

Состояние "Аварийная готовность"

Состояние "Аварийная обстановка"

1.

Мощность эквивалентной дозы (мкЗв/ч)

1.1.

Помещения постоянного пребывания персонала ЗСР

>10

>600

1.2.

Территория промплощадки и СЗЗ

>2,5

>200

1.3.

Территория зоны наблюдения АС

>0,1*

>20

2.

Объемная активность йода-131 в воздухе (Бк/м3)

2.1.

Помещения постоянного пребывания персонала ЗСР

>1100

>2,9∙104

2.2.

Территория промплощадки и СЗЗ

> 275

>9,7∙103

2.3.

Территория зоны наблюдения АС

> 7

> 670**

* Превышение естественного фона.

** Установлен для критической группы (дети в возрасте 1 - 2 года).

(Измененная редакция. Изм. № 1)

Таблица 2

ПЕРЕЧЕНЬ
нарушений режима безопасной работы АС, о которых дирекция АС должна сообщать немедленно

Наименование нарушений режима безопасной эксплуатации АС

Куда и кому сообщать при всех видах нарушения режима безопасной эксплуатации АС

1

2

Объявление состояния "Аварийная готовность"

Дежурный диспетчер концерна "Росэнергоатом"

СКЦ Минатома России

Территориальные органы управления по делам ГО и ЧС города АС и области (автономного округа)

Объявление состояния "Аварийная обстановка"

Начальник инспекции Госатомнадзора России на данной АС

Комитет окружающей среды области

Пожар, который может повлечь радиационную аварию

Дежурный соответствующего округа Госгортехнадзора России (в случае повреждения элемента (элементов) АС, зарегистрированного в органах Госгортехнадзора России)

Главы администрации города АС и области (автономного округа)

Стихийные бедствия (землетрясения, ураганы, наводнения и т.п.), которые могут повлечь радиационную аварию

Диспетчер соответствующего управления энергосистемы РАО "ЕЭС России" (в случаях, предусмотренных действующим положением о взаимоотношениях АС с энергосистемой)

Медсанчасть АС

Подразделение ГПС по охране АС и областной орган пожарной охраны

Попытки преступных элементов совершить противоправные действия, которые могут повлечь радиационную аварию

Воинская часть ВВ МВД России, охраняющая АС (дежурный по воинской части, начальник караула)

Органы МВД России и ФСБ России, обслуживающие АС

Территориальный орган Росгидромета, обслуживающий АС

Организации других министерств и ведомств на территории АС и СЗЗ Администрации населенных пунктов в 5-километровой зоне вокруг АС

ОКЧС Минатома России (сообщает руководство АС)

Примечание: В случае отсутствия связи с дежурным диспетчером концерна "Росэнергоатом" НСС передает информацию о нарушении режима безопасной работы АС дежурному КЦ".

(Измененная редакция. Изм. № 1)

В целях сокращения времени оповещения и своевременной организации работ по минимизации и ликвидации ЧС НСС:

- докладывает лично директору и главному инженеру АС, дежурному диспетчеру концерна "Росэнергоатом" Минатома России, СКЦ Минатома России, территориальным органам управления по делам ГО и ЧС города АС и области (автономного округа);

- одновременно поручает лицу, назначенному заранее приказом директора АС, доложить начальнику инспекции Госатомнадзора России на данной АС и сообщить:

- комитету окружающей среды области;

- дежурному соответствующего округа Госгортехнадзора России;

- главам администрации города АС и области (автономного округа);

- диспетчеру соответствующего управления энергосистемы;

- медсанчасти АС;

- подразделению ГПС по охране АС и областному органу пожарной охраны;

- воинской части ВВ МВД России, охраняющей АС;

- органам МВД России и ФСБ России, обслуживающим АС;

- территориальному органу Росгидромета, обслуживающему АС;

- организациям других министерств и ведомств на территории АС и СЗЗ;

- администрациям населенных пунктов, расположенных в 5-километровой зоне вокруг АС, кроме того НСС представляет информацию территориальному органу управления по ГО и ЧС города при АС и области и дежурному диспетчеру концерна "Росэнергоатом" в соответствии с установленным порядком.

При нарушениях, достигающих или превышающих значения категорий с П02 по П11 (приложение 1) оперативное сообщение о нарушении в работе АС производится согласно пп. 3.2.1.4, 3.2.1.5, и 3.2.1.6 Положения о порядке расследования и учета нарушений в работе атомных станций (ПНАЭ Г-12-005-97);

организует при необходимости силами оперативного персонала радиационную разведку и обследование оборудования, помещений и коммуникаций с целью установления причин, источников и масштаба нарушения, идентифицирует нарушение режима безопасной эксплуатации АС согласно приложению 2.

(Измененная редакция. Изм. № 1)

6.1.3. После получения от НСС первичной информации о характере нарушения, оценке и прогнозе развития ситуации директор (главный инженер) АС в случае необходимости или целесообразности принимает решение об объявлении на АС состояния "Аварийная готовность" и дает соответствующее указание НСС и начальнику штаба по делам ГО и ЧС (лицу, его замещающему).

При отсутствии на АС директора (главного инженера) решение об объявлении состояния "Аварийная готовность" принимает НСС.

6.1.4. В состоянии "Аварийная готовность" на АС приводятся в состояние готовности соответствующий персонал АС и оборудование. Предполагается, что при этом имеется время для принятия мер предосторожности и выполнения конструктивных действий по предотвращению возникновения аварии или уменьшения ее последствий.

6.1.5. Решение об объявлении на АС состояния "Аварийная готовность" доводится по указанию НСС до сведения всего персонала АС с помощью имеющихся средств связи и оповещения.

6.1.6. После объявления на АС состояния "Аварийная готовность" НСС немедленно информирует руководящий состав АС о принятии необходимых защитных мер в случае дальнейшего неблагоприятного развития ситуации или о проведении соответствующих мероприятий по предотвращению аварии.

6.1.7. Ответственность за принятие необходимых мер, направленных на обеспечение безопасности АС в период состояния "Аварийная готовность", до прибытия на АС директора (главного инженера) АС возлагается на НСС.

6.2. Порядок объявления на АС состояния "Аварийная обстановка"

6.2.1. При возникновении на АС радиационно опасной ситуации или аварии, при которых мощность эквивалентной дозы или объемная активность йода-131 в воздухе достигнет уровня состояния "Аварийная обстановка" (см. критерии для объявления на АС состояний "Аварийная готовность" и "Аварийная обстановка" в табл. 1) персонал АС обязан немедленно:

- сообщить об обстановке должностному лицу в порядке подчиненности вплоть до НСС;

- принять необходимые и доступные меры по оказанию помощи при несчастных случаях, угрозе жизни или радиоактивном переоблучении пострадавшему персоналу;

- принять необходимые и доступные меры по локализации аварии или снижению ее последствий.

(Измененная редакция. Изм. № 1)

6.2.2. НСС, получив сообщение о радиационно опасной ситуации на АС или аварии, идентифицирует создавшуюся ситуацию и немедленно лично докладывает директору и главному инженеру ЛС, дежурному диспетчеру концерна "Росэнергоатом", СКЦ Минатома России, территориальным органам управления по делам ГО и ЧС города при АС и области (автономного округа). Одновременно поручает лицу, назначенному заранее приказом директора АС, доложить начальнику инспекции Госатомнадзора России на данной АС, сообщить комитету окружающей среды области, дежурному соответствующего округа Госгортехнадзора России, главам администрации города при АС и области, диспетчеру соответствующего управления энергосистемы, медсанчасти АС, подразделению ГПС по охране АС и областному органу пожарной охраны, воинской части ВВ МВД России, охраняющей АС, органам МВД России и ФСБ России, обслуживающим АС, территориальному органу Росгидромета, обслуживающему АС, организациям других министерств и ведомств на территории АС и СЗЗ, администрациям населенных пунктов, расположенных в 5-километровой зоне вокруг АС. Кроме того НСС представляет информацию территориальному органу управления по делам ГО и ЧС города при АС и области и дежурному диспетчеру концерна "Росэнергоатом" в соответствии с установленным порядком.

Организует силами оперативного персонала радиационную разведку и обследование оборудования, помещений и коммуникаций с целью установления причин, источников и масштаба аварии.

На НСС возлагается ответственность за первоначальную оценку радиационно опасной ситуации или аварии и прогноз радиационной обстановки за пределами станции, а также идентификацию нарушения режима безопасной эксплуатации АС согласно приложению 2.

(Измененная редакция. Изм. № 1)

6.2.3. Директор (главный инженер) АС после получения от НСС первичной информации об аварии, оценки и прогноза ее развития или после ознакомления с обстановкой на месте в случае необходимости на основании критериев для объявления на АС состояний "Аварийная готовность" и "Аварийная обстановка" (см. табл. 1) принимает решение об объявлении на АС состояния "Аварийная обстановка" и введении в действие Плана мероприятий по защите персонала в случае аварии на атомной станции, о чем дает соответствующее указание НСС и начальнику штаба по делам ГО и ЧС АС (или лицу, его замещающему).

При отсутствии на АС директора (главного инженера) решение об объявлении состояния "Аварийная обстановка" и введении в действие Плана мероприятий по защите персонала в случае аварии на атомной станции принимает НСС.

6.2.4. (Исключен. Изм. № 1)

6.3. Порядок оповещения при радиационно опасных ситуациях или авариях на АС

6.3.1. В случае радиационно опасной ситуации или аварии на АС руководством АС и территориальным органом управления по делам ГО и ЧС города при АС осуществляется немедленное оповещение как персонала АС, так и персонала предприятий и организаций, населения в пунктах, расположенных в 5-километровой зоне вокруг АС, и города АС всеми доступными средствами связи и оповещения.

6.3.2. Оповещение населения города при АС, предприятий и организаций, осуществляющих строительство и обеспечивающих функционирование и жизнедеятельность АС (включая личный состав воинских и пожарных частей), населения населенных пунктов, расположенных в 5-километровой зоне вокруг АС, проводится в соответствии с планами защиты персонала и населения в случае радиационной аварии на АС параллельно руководством АС и территориальным органом управления по делам ГО и ЧС города при АС.

(Измененная редакция. Изм. № 1)

6.3.3. Для обеспечения оповещения и передачи информации руководством АС разрабатывается система связи и оповещения 5-километровой зоны вокруг АС и города при АС и создается ЛСО.

По связям, выходящим за 5-километровую зону вокруг АС, но в пределах административно-территориального образования (область, край, республика в составе Российской Федерации), руководством АС подается заявка местным органам связи и заключается с ними договор, где определяются порядок взаимодействия с диспетчерской службой органа связи, выделение дополнительных каналов связи при возникновении аварийных ситуаций на АС и условия оплаты этих услуг.

По связям, выходящим за пределы административно-территориального образования, в котором расположена АС (область, край, республика в составе Российской Федерации), концерном "Росэнергоатом" заключается договор с Главным центром управления междугородными связями и телевидением (ГЦУМС), где определяются порядок взаимодействия с диспетчерской службой ГЦУМС, выделение дополнительных каналов связи в случае аварийных ситуаций на АС и условия оплаты этих услуг.

6.3.4. На основании настоящего Положения на АС разрабатываются инструкции по действиям оперативного персонала и руководства АС (с приложением соответствующих схем оповещения и связи) на этапе выявления причин и источников аварийной ситуации, объявления состояний "Аварийная готовность" и "Аварийная обстановка" на АС. Инструкции подписываются главным инженером, утверждаются директором и хранятся у НСС.

Для поддержания системы оповещения в постоянной готовности руководство АС ежеквартально проводит контрольные проверки работоспособности технических средств связи данной системы оповещения.

6.4. Порядок оперативной передачи информации при радиационно опасных ситуациях или авариях на АС

6.4.1. Первичная информация об аварии должна быть лаконичной и в то же время отражать действительное состояние на аварийном объекте, содержать напоминание о необходимых действиях в аварийных условиях. При необходимости позднее могут быть переданы дополнительные подробности об аварии.

6.4.2. Необходимо обеспечивать четкое разграничение между сообщениями, передаваемыми о реальных аварийных ситуациях, и сообщениями в учебно-тренировочных целях.

6.4.3. Все переданные сообщения о радиационно опасных состояниях и авариях на АС необходимо регистрировать в установленном порядке с указанием даты, времени передачи и лиц, передавших и получивших информацию.

6.4.4. После объявления на АС состояний "Аварийная готовность" и "Аварийная обстановка" и введения в действие Плана мероприятий по защите персонала в случае аварии на атомной станции НСС (или по его указанию официальное лицо АС) немедленно информирует о создавшейся обстановке на АС:

- дежурного диспетчера концерна "Росэнергоатом";

- СКЦ Минатома России;

- территориальные органы управления по делам ГО и ЧС города при АС и области (автономного округа), на территории которой действует АС;

- начальника инспекции Госатомнадзора России на данной АС;

- комитет окружающей среды области;

- дежурного соответствующего округа Госгортехнадзора России;

- глав администраций города АС и области (автономного округа), на территории которой действует АС;

- диспетчера соответствующего управления энергосистемы;

- медсанчасть АС;

- подразделение ГПС по охране АС и областной орган пожарной охраны;

- воинскую часть (подразделение) ВВ МВД России, охраняющую АС;

- органы МВД России и ФСБ России, обслуживающие АС;

- территориальный орган Росгидромета;

- организации других министерств и ведомств на территории АС и СЗЗ;

- администрации населенных пунктов, расположенных в 5-километровой зоне вокруг АС.

Всю дополнительную и уточненную информацию об аварийной обстановке на AC HCC немедленно направляет диспетчеру концерна "Росэнергоатом".

В течение первого часа после возникновения аварии на AC HCC (или по его указанию официальное лицо АС) обязан передать дежурному диспетчеру концерна "Росэнергоатом" следующую информацию для последующего оперативного прогнозирования радиационной обстановки на АС в КЦ концерна "Росэнергоатом" и Росгидромете:

- наименование АС и номер блока АС;

- дату и время аварии;

- состояние блока до нарушения;

- радиационная обстановка в помещениях АС и на прилегающей территории;

- предполагаемые причины аварии, краткую характеристику аварии, суммарное количество радиоактивных продуктов, поступивших в окружающую среду при аварии, их приблизительный изотопный состав;

- состояние блока на время передачи информации;

- краткое описание метеоусловий в момент и после аварии в районе АС (температура воздуха, облачность, скорость и направление ветра на различных высотах).

Уточненную и дополнительную информацию об аварийном выбросе, обстановке на АС, состояние активной зоны, радиоактивном загрязнении в СЗЗ и прилегающей территории уровням радиации HCC направляет дежурному диспетчеру концерна "Росэнергоатом" по его требованию.

Полученную с АС информацию дежурный диспетчер концерна "Росэнергоатом" немедленно передает в Росгидромет.

Следующая информация в соответствии с установленным порядком должна передаваться не позднее 2 часов с момента уведомления, в последующем ежесуточно к 6 часам (время московское)

- о мерах по защите населения и территорий, ведении аварийно-спасательных и других неотложных работ;

- о силах и средствах, задействованных для ликвидации чрезвычайных ситуаций;

- уточненная и дополнительная информация об аварийном выбросе, обстановке на АС, состоянии активной зоны, радиоактивном загрязнении в СЗЗ и на прилегающей территории, уровнях радиации (направляется дежурному диспетчеру концерна "Росэнергоатом" по его требованию).

Получаемую информацию от HCC дежурный диспетчер концерна "Росэнергоатом" немедленно передает в СКЦ Минатома России.

Дежурный диспетчер концерна "Росэнергоатом"

информирует о создавшейся обстановке на аварийной АС:

- руководителя группы ОПАС;

- СКЦ Минатома России;

- дежурного Госатомнадзора России;

- дежурного диспетчера ФУ "Медбиоэкстрем" Минздрава России;

- дежурного Росгидромета;

- другие заинтересованные организации и ведомства по дежурным телефонам по отдельному списку в соответствии с категорией нарушения в работе АС и согласно схеме оповещения членов группы ОПАС;

- дежурного КЦ концерна "Росэнергоатом",

Схема оповещения и ввода в действие центров технической поддержки КЦ концерна "Росэнергоатом" и группы ОПАС в случае аварии или радиационно опасных ситуаций приведена в приложении 2.

Директор АС (или лицо, его замещающее) информирует:

- руководство концерна "Росэнергоатом" о причинах объявления аварийной обстановки и введении Плана мероприятий по защите персонала в случае аварии на атомной станции;

- председателя (заместителя председателя) ОКЧС Минатома России и руководителя группы ОПАС о принимаемых мерах по ликвидации аварии, сообщает им оценку масштаба аварии и прогноз распространения

- радиоактивного загрязнения, при необходимости обращается к ним с просьбой об оказании экстренной помощи АС;

- главу региональной и местной администрации.

Руководство концерна "Росэнергоатом" информирует:

Министра Российской Федерации по атомной энергии, председателя ОКЧС Минатома России, начальника Госатомнадзора России о принимаемых концерном мерах, о необходимости оказания концерну экстренной централизованной помощи.

СКЦ по решению ОКЧС Минатома России информирует:

международные организации и средства массовой информации о принимаемых ОКЧС Минатома России мерах и принимает решение об оказании экстренной помощи АС и направлении группы ОПАС на аварийную АС в зависимости от масштабов ЧС.

Руководитель группы ОПАС принимает решение:

- о сборе членов группы ОПАС;

- о приведении АТЦ в повышенную готовность и выдвижении головного звена дежурного эшелона АТЦ на аварийную АС.

(Измененная редакция. Изм. № 1)

(п. 6.4.5. Исключен. Изм. № 1)

6.4.5. Для обеспечения оперативного прогнозирования трансграничного выноса воздушных масс в случае повышенных выбросов (сбросов) радиоактивных веществ при аварии на АС диспетчер концерна "Росэнергоатом" немедленно после поступления данных об аварии передает в Росгидромет следующую информацию:

- наименование АС и номер блока АС;

- дата и время аварии;

- состояние блока до нарушения;

- радиационная обстановка в помещениях АС и на прилегающей территории;

- предполагаемые причины аварии, краткая характеристика аварии, суммарное количество радиоактивных продуктов, поступивших в окружающую среду при аварии, их приблизительный изотопный состав;

- состояние блока на время передачи информации;

- краткое описание метеоусловий в момент и после аварии в районе АС (температура воздуха, облачность, скорость и направление ветра на разных высотах).

Уточненную и дополнительную информацию об аварийной обстановке на АС, состоянии активной зоны, радиоактивном загрязнении в СЗЗ и прилегающей территории и уровнях радиации, подготовленную соответствующей службой концерна "Росэнергоатом", дежурный диспетчер концерна передает в Росгидромет по его запросу.

(Измененная редакция. Изм. № 1)

6.4.6. По результатам полученных предварительных данных и прогностических оценок Росгидромет в течение шести часов передает в Минатом России заключение о возможности трансграничного переноса загрязненных воздушных масс и прогнозы по мере получения дополнительных уточненных данных об аварии.

(Измененная редакция. Изм. № 1)

(п. 6.4.8. Исключен. Изм. № 1)

7. Порядок организации экстренной помощи атомным станциям группой ОПАС в случае возникновения радиационно опасных ситуаций или аварий на этих станциях

7.1. Порядок оповещения, сбора и доставки членов группы ОПАС на аварийную АС

7.1.1. На основании полученной информации о возникновении ЧС на АС и решения председателя ОКЧС Минатома России об оказании экстренной помощи этой станции руководитель группы ОПАС дает указание о сборе членов группы ОПАС диспетчеру концерна "Росэнергоатом" и сборе ЭГ дежурному КЦ.

Дежурный КЦ оповещает центры технической поддержки КЦ и группы ОПАС и передает указание руководителя группы ОПАС об их полном развертывании. Схема оповещения и ввода в действие центров технической поддержки КЦ концерна "Росэнергоатом" и группы ОПАС в случае аварии или радиационно опасных ситуаций приведена в приложении 6.

(Измененная редакция. Изм. № 1)

7.1.2. Оповещение, сбор и доставка членов группы ОПАС на аварийную АС организуются концерном "Росэнергоатом".

7.1.3. Диспетчер концерна "Росэнергоатом" при аварии на АС после получения команды на сбор группы ОПАС вводит в действие схему оповещения членов группы или организаций, от которых они назначены, и направляет оперативно-служебный автотранспорт с 24.00 до 6.00 за членами группы ОПАС от концерна "Росэнергоатом" по разработанным маршрутам. Другие члены группы ОПАС прибывают своим дежурным транспортом. В остальное время члены группы прибывают общественным транспортом. Оповещение членов группы ОПАС производится с подтверждением приема сообщения со стороны оповещаемого и регистрацией в письменной форме времени оповещения в журнале диспетчера. Все сообщения, передаваемые и получаемые диспетчером в период аварии на АС, записываются на магнитную ленту.

(Измененная редакция. Изм. № 1)

7.1.4. Для обеспечения доставки членов группы ОПАС на аварийную АС диспетчер концерна "Росэнергоатом" связывается по телефонам связи с диспетчерами авиации МЧС России или авиаотряда, обслуживающего группу ОПАС, и сообщает:

- наименование АС, на которую необходимо доставить группу ОПАС;

- количество членов группы ОПАС (до 25 человек) и массу багажа (общая масса пассажиров и багажа не должна превышать 3,5 т);

- фамилию, имя, отчество и должность руководителя группы ОПАС;

- намечаемое время выезда группы ОПАС на аэродром вылета;

- фамилию, имя, отчество председателя ОКЧС Минатома России, принявшего решение об оказании экстренной помощи АС.

Одновременно дежурный диспетчер концерна "Росэнергоатом" информирует аэропорт вылета о необходимости приема и отправки самолета авиаотряда, обслуживающего группу ОПАС, вне суточного плана в связи с ЧС на АС.

7.1.5. Не позднее чем через 1 ч после передачи информации согласно п. 7.1.4 настоящего Положения дежурный диспетчер концерна "Росэнергоатом" запрашивает диспетчера авиации МЧС России или авиаотряда, обслуживающего группу ОПАС:

- о времени вылета;

- о расчетном времени прибытия в аэропорт (на аэродром) назначения по маршруту доставки членов группы ОПАС;

- о готовности автотранспорта или вертолетов в аэропорту (аэродроме) прибытия для доставки группы ОПАС от аэропорта (на аэродрома) к площадке аварийной АС (в соответствии с маршрутом доставки членов группы ОПАС);

- фамилию, имя, отчество лица, ответственного от авиации МЧС России или авиаотряда, обслуживающего группу ОПАС за организацию доставки группы ОПАС, его служебный телефон и место расположения;

- номер рейса, тип, бортовой номер и фамилию командира корабля.

При этом дежурный диспетчер концерна "Росэнергоатом" сообщает диспетчеру авиации МЧС России или авиаотряда, обслуживающего группу ОПАС, а также директору (главному инженеру) аварийной АС:

- предполагаемое время прибытия группы ОПАС в аэропорт (на аэродром) вылета;

- фамилию, имя, отчество и должность лица, ответственного за встречу группы ОПАС в аэропорту (на аэродроме) назначения.

Одновременно диспетчер концерна получает подтверждение сменного начальника аэропорта вылета о готовности к приему самолета авиаотряда, обслуживающего группу ОПАС, вне суточного плана.

7.1.6. Диспетчер ГУАП МЧС России или авиапредприятия, обслуживающего группу ОПАС, информирует дежурного диспетчера концерна "Росэнергоатом" о фактическом времени вылета самолета с группой ОПАС и времени прибытия в аэропорт назначения.

7.1.7. Дежурный диспетчер концерна "Росэнергоатом" информирует директора или главного инженера АС о фактическом времени вылета самолета с группой ОПАС и о времени прибытия в аэропорт назначения.

7.1.8. Директор или главный инженер АС уточняет информацию о составе, сроках и маршруте прибытия группы ОПАС и обеспечивает ее доставку от аэропорта назначения на АС.

7.1.9. Время сбора членов группы ОПАС по первой очереди оповещения - два часа в рабочее время и шесть часов в нерабочее время.

7.1.10. Порядок и сроки прибытия на аварийную АС членов группы ОПАС по второй очереди оповещения определяются решением руководителя группы ОПАС.

7.2. Порядок работы группы ОПАС при определении необходимости и объема помощи аварийной АС

7.2.1. До выезда на аварийную АС

7.2.1.1. Руководитель группы ОПАС при получении информации о радиационно опасной ситуации на АС:

- дает указание диспетчеру концерна "Росэнергоатом" о сборе членов группы ОПАС;

- дает указание о приведении АТЦ в состояние "повышенная готовность" и выдвижении дежурного и при необходимости второго эшелона АТЦ на аварийную АС;

- информирует членов группы ОПАС по прибытии к месту сбора о произошедшей аварии, о принятых и принимаемых мерах на АС, проводит с ними консультации и принимает решение о форме оказания экстренной помощи АС и количестве привлекаемых экспертов;

- готовит сообщение в вышестоящие органы об аварии на АС, принятых и принимаемых мерах.

(Измененная редакция. Изм. № 1)

7.2.1.2. При выработке решений члены группы ОПАС рассматривают следующие вопросы:

- предполагаемое состояние реактора и его систем безопасности;

- достаточность принимаемых руководством АС мер по предотвращению развития аварии;

- ход реализации Плана мероприятий по защите персонала в случае аварии на атомной станции;

- прогнозируемые масштабы аварийных выбросов радиоактивных веществ и уровни радиоактивного загрязнения за АС;

- первоочередные мероприятия по уменьшению и возможному прекращению выброса радиоактивных веществ за пределы АС;

- необходимость привлечения дополнительных сил и средств ОКЧС Минатома России, МВД России;

- необходимость привлечения централизованных материально-технических и транспортных средств для проведения дезактивационных и ремонтно-восстановительных мероприятий на АС;

- необходимость введения второй очереди оповещения членов группы ОПАС;

- дополнительное привлечение в качестве экспертов для работы в группе ОПАС необходимых специалистов от заинтересованных министерств, ведомств и организаций;

- способы ликвидации последствий аварии;

- состав группы ОПАС, выезжающей на аварийную АС;

- состояние охраны аварийной АС.

(Измененная редакция. Изм. № 1)

7.2.2. По прибытии на аварийную АС

По прибытии на аварийную АС группа ОПАС получает от директора АС или лица, его замещающего, информацию:

- о состоянии аварийного реактора и его систем безопасности;

- о принятых и принимаемых мерах по локализации аварии и ликвидации ее последствий;

- о принятых мерах по защите персонала;

- о радиационной обстановке на АС, в СЗЗ и зоне наблюдения АС;

- о пожарной обстановке на АС;

- об инженерной обстановке в районе аварийного объекта;

- о состоянии дорожной сети и путях подъезда к месту аварии;

- о характере и объемах разрушения;

- о ходе проведения мероприятий по Плану мероприятий по защите персонала в случае аварии на атомной станции;

- о состоянии материально-технического и транспортного обеспечения проводимых работ;

- о привлеченных и привлекаемых силах и средствах для ликвидации аварии;

- о ходе оповещения об аварии соответствующих организаций;

- о мерах, принимаемых по охране аварийной АС.

На основании полученной информации члены группы ОПАС проводят анализ и делают вывод о правильности действий руководства АС по локализации и ликвидации аварии, и в случае, если эти действия оказались недостаточно квалифицированными, своевременными и технически обоснованными, руководитель группы ОПАС имеет право ходатайствовать перед ОКЧС Минатома России и министром Российской Федерации по атомной энергии об отстранении от обязанностей руководителя работ в СЗЗ и рекомендовать кандидатуру на его замещение.

7.3. Действия членов группы ОПАС при объявлении аварийной обстановки на АС

7.3.1. Действия руководителя группы ОПАС

7.3.1.1. Принятие решения:

- о сборе членов группы ОПАС;

- о времени выезда группы ОПАС на аварийную АС;

- о выдвижении сил и средств АТЦ на аварийную АС.

7.3.1.2. Оперативное информирование ОКЧС Минатома России, местных и региональных органов власти, руководства министерств и ведомств, средств массовой информации о характере аварии на АС, принятых и принимаемых мерах по ее локализации и ликвидации, ходе аварийно-восстановительных работ.

7.3.1.3. Обеспечение деятельности членов группы ОПАС по решению ими своих задач, выполнению обязанностей и использованию прав в объеме, предусмотренном настоящим Положением.

7.3.1.4. Обращение в ОКЧС Минатома России с просьбой о привлечении к ликвидации аварии на АС ее сил и средств, если масштабы аварии на АС таковы, что силы и средства группы ОПАС не могут самостоятельно справиться с локализацией и ликвидацией ее последствий.

(Новая редакция. Изм. № 1)

7.3.1.5. Поддержание оперативной связи с руководителем аварийных работ в СЗЗ, НСС, председателем ОКЧС Минатома России, главами местных и региональных органов власти, руководителями организаций, силы и средства которых привлекаются для ликвидации последствий аварии.

(Измененная редакция. Изм. № 1)

7.3.1.6. Проведение заседаний, совещаний, пресс-конференций, консультаций и т.п. с участием членов группы ОПАС.

7.3.1.7. Утверждение и согласование актов, заключений, рекомендаций и других документов по принятым членами группы ОПАС коллегиальным решениям.

7.3.1.8. Контроль за решением вопросов материально-технического, финансового и правового обеспечения членов группы ОПАС, а также организационных вопросов их деятельности.

7.3.1.9. Решение вопросов получения разрешения на проведение работ по локализации и ликвидации последствий аварии при наличии радиоактивного загрязнения.

7.3.1.10. Организация установления строгого дозиметрического контроля за лицами, участвующими в ликвидации последствий аварии, и санитарно-пропускного режима.

7.3.1.11. Координация действий членов группы ОПАС по результатам радиационного мониторинга в районе аварии.

7.3.2. Действия членов группы ОПАС

(П.п. 7.3.2.1. Исключен. Изм. № 1)

(П.п. 7.3.2.1.1. Исключен. Изм. № 1)

7.3.2.1. Действия представителей концерна "Росэнергоатом"

(Измененная редакция. Изм. № 1)

На основании фактических данных о радиационной обстановке

а) оценка достаточности и своевременности принятых мер в части:

- проведения йодной профилактики персонала АС;

- укрытия персонала АС и членов их семей в защитных сооружениях (убежищах, противорадиационных укрытиях и т.п.) или при необходимости эвакуации персонала АС и членов их семей в безопасный район;

- развертывания спецведомственных формирований и гражданских организаций ГО АС и их готовности к противоаварийным работам;

- оценки аварии по радиационному выбросу (изотопный и дисперсный составы выброса, динамика выхода, температурный перепад на выходе, скорость выброса (м/с), время аварии);

- выдачи предложений о проведении йодной профилактики и порядке эвакуации населения, проживающего в тени "следа", местным органам власти;

(Измененная редакция. Изм. № 1)

б) решение вопросов локализации и ликвидации последствий аварии:

- организация разработки и реализации первоочередных мероприятий по уменьшению и возможному прекращению выброса радиоактивных веществ за пределами АС;

- оказание практической помощи руководству АС в , реализации мероприятий по защите персонала АС и членов их семей;

- обеспечение оперативного решения вопросов организации доставки на аварийную АС необходимых материалов, оборудования, техники и СИЗ;

- организация вызова и доставки на аварийную АС необходимых специалистов с других АС;

- организация оперативного развертывания привлекаемых сил и средств заинтересованных министерств и ведомств на аварийной АС и координация их действий с помощью членов группы ОПАС;

- оказание помощи руководству АС в организации связи, необходимой для работы группы ОПАС;

- обеспечение систематической подготовки и передачи информации об аварии и проводимых мероприятиях вышестоящим органам и средствам массовой информации;

- оказание помощи руководству АС в реализации дополнительных мер по усилению физической защиты АС.

7.3.2.2. Действия представителей генерального проектировщика (АЭП и ВНИПИЭТ)

(Измененная редакция. Изм. № 1)

- участие в разработке мероприятий по установлению путей и способов минимизации, локализации и ликвидации аварии на АС;

- выполнение работ по оценке степени повреждения строительных конструкций, нарушения функций основных и вспомогательных систем АС;

- организация оперативной разработки проектных решений по технологическим системам, необходимых для локализации аварии и ликвидации ее последствий;

- участие в разработке технических решений по ведению аварийно-восстановительных работ.

7.3.2.3. Действия представителей научного руководителя (РНЦ "Курчатовский институт", ГНЦ ФЭИ) и научного руководителя эксплуатации (ВНИИАЭС)

(Измененная редакция. Изм. № 1)

- участие в оценке состояния реактора и его систем безопасности, в разработке мероприятий по определению путей и способов минимизации, локализации и ликвидации аварий на АС;

- обеспечение контроля за полнотой принимаемых мер по расхолаживанию активной зоны реактора, бассейна (ванны) отработавшего топлива и обеспечению ядерной безопасности;

- рассмотрение и подготовка предложений по аварийному расхолаживанию активной зоны реактора на случай отказа систем безопасности;

- подготовка предложений по ожидаемым выбросам радиоактивности при возможном развитии аварии;

- рассмотрение и подготовка предложений по способам предупреждения, локализации и ликвидации пожаров натриевого теплоносителя;

- рассмотрение и подготовка предложений по предупреждению взаимодействия натриевого теплоносителя с водой, образования и накопления взрывоопасных смесей водорода и кислорода.

7.3.2.4. Действия представителей главного конструктора (ОКБ "Гидропресс", НИКИЭТ, ОКБ)

(Измененная редакция. Изм. № 1)

- участие в оценке состояния реактора и его систем безопасности, разработке мероприятий по локализации и ликвидации аварий на АС;

- выполнение работ по оценке степени повреждения основного технологического оборудования;

- обеспечение подготовки решений по восстановлению поврежденного оборудования;

- участие в подготовке предложений об ожидаемых выбросах при возможном развитии аварии.

(п. 7.3.2.1.6. Исключен. Изм. № 1)

7.3.2.5. Действия представителей Госатомнадзора России

(Измененная редакция. Изм. № 1)

7.3.2.5.1. Организация требуемого графика и места работы специалистов надзора (при необходимости привлечение дополнительной численности персонала из управлений округов через руководителя группы Госатомнадзора России).

(Измененная редакция. Изм. № 1)

7.3.2.5.2. Осуществление надзора:

- за своевременностью и полнотой проводимых мероприятий по ликвидации и уменьшению последствий аварии;

- за соблюдением норм и правил в области использования атомной энергии при организации работ по приведению аварийного блока АС в безопасное состояние, по ликвидации последствий;

- за своевременным вводом в действие и реализацией Плана мероприятий по защите персонала в случае аварии на атомной станции;

- за достоверностью и оперативностью публикуемых и передаваемых сообщений о характере и последствиях аварии.

(Измененная редакция. Изм. № 1)

7.3.2.5.3. Подготовка и передача оперативной информации руководству группы ОПАС и руководству Госатомнадзора России о состоянии ядерной и радиационной безопасности АС, о полноте и достаточности принимаемых мер по локализации и ликвидации аварии, о результатах осуществляемого надзора.

(Измененная редакция. Изм. № 1)

7.3.2.6. Действия представителей Росгидромета

(Измененная редакция. Изм. № 1)

7.3.2.6.1. Установление связи с территориальными управлениями по гидрометеорологии и мониторингу окружающей среды и научно-исследовательскими учреждениями Росгидромета для обеспечения координации действий по уточнению радиационной обстановки в районе АС, радионуклидному составу загрязнения и прогнозу траекторий переноса воздушных масс из района АС.

(Измененная редакция. Изм. № 1)

7.3.2.6.2.Подготовка для руководства группы ОПАС и Росгидромета на основании информации подразделений Росгидромета и Минатома России материалов:

- об уровнях радиоактивного загрязнения природной среды на территории региона в результате аварии на АС;

- по прогнозу траекторий переноса воздушных масс из района АС;

- о метеоусловиях и прогнозе погоды в районе АС.

(Измененная редакция. Изм. № 1)

7.3.2.7. Действия представителей ИБРАЭ РАН

(Измененная редакция. Изм. № 1)

7.3.2.7.1. Установление устойчивой связи с ЦТП ИБРАЭ РАН с целью передачи дополнительной информации об аварии и складывающейся радиационной обстановке, использование рекомендаций ЦТП в работе группы ОПАС.

(Измененная редакция. Изм. № 1)

7.3.2.7.2. Участие в работе по оценке источника аварии и радиационной обстановки в пределах СЗЗ.

(Измененная редакция. Изм. № 1)

7.3.2.7.3. Участие в работе по уточнению границ зон радиоактивного загрязнения вне СЗЗ и оценке дозовых нагрузок на население.

(Измененная редакция. Изм. № 1)

7.3.2.7.4. Оказание практической помощи по оптимизации радиационного мониторинга за пределами СЗЗ.

(Измененная редакция. Изм. № 1)

7.3.2.7.5. Анализ и оценка введенных в действие и планируемых мероприятий по защите персонала и населения.

(Измененная редакция. Изм. № 1)

7.3.2.7.6. Участие в подготовке информационных материалов и рекомендаций для населения, оказавшегося в районе аварии.

(Измененная редакция. Изм. № 1)

7.3.2.7.7. Подготовка доклада руководству ОПАС об оценке реализованных и прогнозируемых дозовых нагрузок на население близлежащих населенных пунктов и первоочередных рекомендаций по радиационной защите населения и минимизации ущерба.

(Измененная редакция. Изм. № 1)

(П.п. 7.3.2.5., 7.3.2.5.1., 7.3.2.5.2., 7.3.2.5.3., 7.3.2.5.4., 7.3.2.5.5., 7.3.2.5.6., 7.3.2.5.7. Исключены. Изм. № 1)

(П.п. 7.3.2.6., 7.3.2.6.1., 7.3.2.6.2. Исключены. Изм. № 1)

(П.п. 7.3.2.7., 7.3.2.7.1., 7.3.2.7.2., 7.3.2.7.3., 7.3.2.7.4., 7.3.2.7.5. Исключены. Изм. № 1)

(П.п. 7.3.2.8., 7.3.2.8.1., 7.3.2.8.2. Исключены. Изм. № 1)

8. ИМУЩЕСТВО, ДОКУМЕНТАЦИЯ И ОТЧЕТНОСТЬ ГРУППЫ ОПАС

8.1. Имущество группы ОПАС

Имущество группы ОПАС состоит из имущества, хранящегося в КЦ концерна "Росэнергоатом", и имущества Гражданской обороны АС, хранящегося в специальном помещении вне территории каждой АС.

8.1.1. Перечень имущества группы ОПАС, хранящегося в КЦ концерна "Росэнергоатом"

Перечень переносных приборов радиационной разведки и дозиметрического контроля, средств дезактивации и СИЗ, спецодежды и имущества группы оказания экстренной помощи атомным станциям приведен в приложении 3.

(Измененная редакция. Изм. № 1)

8.1.2. Поддержание в постоянной готовности имущества ОПАС к использованию в чрезвычайных ситуациях

Постоянная готовность имущества ОПАС к использованию в ЧС обеспечивается концерном "Росэнергоатом" за счет:

1). Создания надлежащих условий хранения:

выделение отдельного помещения, оборудованного охранной сигнализацией;

исключение возможности доступа к имуществу группы ОПАС посторонних лиц;

устройство стеллажей для хранения;

устройство общеобменной вентиляции.

8.1.2.2. Своевременной замены медикаментов с истекшим сроком годности.

3). Выполнения регламента технического обслуживания имущества группы ОПАС в соответствии с требованиями эксплуатационной документации.

8.1.3. Перечень имущества Гражданской обороны АС для группы ОПАС, хранящегося в специальном помещении вне территории АС

Перечень имущества Гражданской обороны для группы ОПАС, хранящегося в специальном помещении вне территории АС, приведен в приложении 4.

(Измененная редакция. Изм. № 1)

8.2. Документация группы ОПАС

Документация группы ОПАС состоит из нормативной документации, хранящейся в КЦ АС и в ЗПУПД атомных станций, оперативной документации, спецпропусков членов группы ОПАС для прохода на атомные станции и отчетных документов.

8.2.1. НД группы ОПАС

Перечень проектной и нормативной документации для группы оказания экстренной помощи АС, хранящейся в Кризисном центре концерна "Росэнергоатом" и ЗПУПД (на территории АС и в городе при АС) на каждой АС приведен в приложении 5.

АС отвечает за комплектацию данной документацией КЦ и ЗПУПД и своевременное обновление документации.

На каждой АС назначается приказом директора ответственное лицо за комплектацию НД группы ОПАС для хранения ее в КЦ концерна "Росэнергоатом" и ЗПУПД АС.

(Измененная редакция. Изм. № 1)

8.2.2. Оперативная документация группы ОПАС

Оперативная документация группы ОПАС состоит из списков членов группы ОПАС, схем оповещения и сбора членов группы ОПАС в различных вариантах, позволяющих концерну "Росэнергоатом" осуществлять оповещение и сбор членов группы ОПАС в кратчайший срок. Оперативная документация хранится в КЦ концерна "Росэнергоатом" и подлежит немедленной корректировке в случае каких-либо изменений.

8.2.3. Спецпропуска членов группы ОПАС оформляются концерном "Росэнергоатом"

Спецпропуска оформляются концерном "Росэнергоатом" по представлению членами группы ОПАС фотографий размером 3×4 см.

(Измененная редакция. Изм. № 1)

8.2.4. Отчетность группы ОПАС

8.2.4.1. Завершение работы группы ОПАС на аварийной АС оформляется актом.

8.2.4.2. Члены группы ОПАС подготавливают руководителю группы ОПАС в установленный срок необходимые технические отчеты.

8.2.4.3. Вся документация группы ОПАС надлежащим образом оформляется, регистрируется и сдается на хранение в архив группы ОПАС.

9. Перечень документов, использованных при разработке настоящего Положения

1). Федеральный закон "Об использовании атомной энергии" (Принят Государственной Думой 20 октября 1995 г.).

2). Федеральный закон "О радиационной безопасности населения" (Принят Государственной Думой 5 декабря 1995 г.).

3). Федеральный закон "О защите населения и территорий от чрезвычайных ситуаций природного и техногенного характера" (Принят Государственной Думой 11 ноября 1994 г.).

4). Федеральный закон "О внутренних войсках Министерства внутренних дел Российской Федерации" (Принят Государственной Думой 25 декабря 1996 г.).

5). Постановление Совета Министров СССР "О мерах по обеспечению защиты персонала атомных станций и населения в случае возникновения радиационно опасных аварий на этих станциях" (Утверждено 23 октября 1989 г. № 882).

6). Положение о единой государственной системе предупреждения и ликвидации чрезвычайных ситуаций (Утверждено постановлением Правительства Российской Федерации от 5 ноября 1995 г. № 1113).

7). Правила физической защиты ядерных материалов, ядерных установок и пунктов хранения ядерных материалов (Утверждены постановлением Правительства Российской Федерации от 7 марта 1997 г. № 264).

8). Нормы радиационной безопасности НРБ-76/87 (НРБ-96).

9). Общие положения обеспечения безопасности атомных станций ОПБ-88/97. ПНАЭ Г-01-011-97.

10). Типовое содержание "Плана мероприятий по защите персонала в случае аварии на атомной станции" (РД-ЭО-0030-94).

11). Санитарные правила проектирования и эксплуатации атомных станций СП АС 88/93 (Введены в действие приказом Минатома России от 28 декабря 1993 г. № 773).

12). Положение о системе предупреждения и ликвидации ЧС концерна "Росэнергоатом" (СЧСК) (Введено в действие приказом концерна "Росэнергоатом" от 13 августа 1996 г. № 150).

13). Положение о комиссии по чрезвычайным ситуациям концерна "Росэнергоатом" (Утверждено президентом концерна "Росэнергоатом" от 31 июля 1996 г.).

14). Кризисный Центр концерна "Росэнергоатом". Общие положения (Утверждены президентом концерна "Росэнергоатом" 8 июля 1996 г.).

15). Конвенция об оперативном оповещении о ядерной аварии, Вена: МАГАТЭ, 1986 г.

16). Конвенция о помощи в случае ядерной аварии или радиационной аварийной ситуации, Вена: МАГАТЭ, 1986 г.

17). Рекомендации МАГАТЭ по безопасности.

18). Готовность государственных органов на случай аварии на атомных электростанциях, № 50-SG-06, Вена: МАГАТЭ, 1982 г.

19). Готовность эксплуатирующей организации (лицензиата) на случай аварии на атомных станциях, № 50-SG-06, Вена: МАГАТЭ, 1982 г.

20). Планирование защитных мер за пределами площадки в случае радиационных аварий на ядерных установках, № 55, Вена: МАГАТЭ, 1981 г.

21). Организация безопасной эксплуатации атомных электростанций, № 50-SG-09, Вена: МАГАТЭ, 1986 г.

22). Системы информации о необычных событиях на атомных электростанциях, Вена: МАГАТЭ, 1990 г.

23). Положение о порядке объявления аварийной обстановки, оперативной передачи информации и организации экстренной помощи атомным станциям в случае радиационно опасных ситуаций, Москва, 1992 г. Утв. Госатомнадзором России,- Минатомом России, Минобороны России, МВД России, Минсвязи России, Минздравом России, Росгидрометом.

24). Положение о порядке расследования и учета нарушений в работе атомных станций (ПНАЭ Г-12-005-97).

ПРИЛОЖЕНИЯ

Приложение 1

Категории нарушений в работе АС

Условное обозначение категории

Признаки и последствия нарушений

Аварии А01

Выброс в окружающую среду радиоактивных веществ при тяжелой запроектной аварии, в результате которого возможны острые лучевые поражения лиц из персонала АС (работников) и лиц из населения, нанесение ущерба их здоровью, загрязнение радиоактивными веществами большой территории. Возможен трансграничный перенос радиоактивных веществ. Длительное воздействие на окружающую среду.

А02

Выброс в окружающую среду радиоактивных веществ, в результате которого за границей санитарно-защитной зоны АС достигнут или превышен уровень "Б" критериев для принятия неотложных решений в начальный период аварии: прогнозируемая доза облучения за первые 10 суток 500 мГр на все тело или 5000 мГр на щитовидную железу, легкие, кожу.

А03

Выброс в окружающую среду радиоактивных веществ, в результате которого за границей санитарно-защитной зоны АС превышен уровень "А" критериев для принятия неотложных решений в начальный период аварии: прогнозируемая доза облучения за первые 10 суток 50 мГр на все тело или 500 мГр на щитовидную железу, легкие, кожу.

Примечания.

1. Аварии категорий А01, А02, А03 характеризуются превышением максимального проектного предела повреждения твэл.

2. Уровни "А" и "Б" критериев для принятия неотложных решений в начальный период аварии соответствуют НРБ-99.

(Измененная редакция. Изм. № 1)

А04

Выброс в окружающую среду радиоактивных веществ, в результате которого в пределах санитарно-защитной зоны превышен основной дозовый предел облучения лиц из населения 1 мЗв в год. Однократное внешнее и/или внутреннее облучение отдельных лиц из персонала, доза которого превышает потенциально опасную (200 мЗв). Повреждение твэлов, при котором предел безопасной эксплуатации по количеству и размеру дефектов твэлов превышен, а максимальный проектный предел не превышен.

(Измененная редакция. Изм. № 1)

Происшествия

П01

Поступление в помещение (помещения) постоянного пребывания персонала, на площадку АС или в окружающую среду радиоактивных веществ, произошедшее из-за отказов систем (элементов), недостатков эксплуатационных процедур, неправильных действий персонала, в результате которого:

загрязнение помещения (помещений) постоянного пребывания персонала достигло бета-активными нуклидами 10000 част/(мин*см2) и/или альфа-активными нуклидами 200 част/(мин*см2);

загрязнение санитарно-защитной зоны привело к созданию дозы облучения, которая не превышает 1 мЗв в год.

Однократное внешнее и/или внутреннее облучение отдельных лиц из персонала, доза которого превышает основной дозовый предел, но не более потенциально опасной (200 мЗв)

(Измененная редакция. Изм. № 1)

П02

Нарушение пределов безопасной эксплуатации (кроме радиационных).

ПОЗ

Нарушение условий безопасной эксплуатации.

П04

Неработоспособность одного или нескольких каналов систем безопасности, выявленная при регламентном опробовании или осмотре при эксплуатации блока АС.

П05

Срабатывание системы безопасности, связанное с необходимостью выполнения функции безопасности при эксплуатации блока АС и сопровождающееся дополнительными по сравнению с учитываемыми при проектных авариях отказами элементов систем безопасности сверх единичного отказа и/или неправильными действиями персонала.

П06

Срабатывание системы безопасности, связанное с необходимостью выполнения функции безопасности при эксплуатации блока АС и не сопровождающееся дополнительными по сравнению с учитываемыми при проектных авариях отказами элементов систем безопасности сверх единичного отказа и/или неправильными действиями персонала

П07

Срабатывание системы безопасности или канала системы безопасности, не связанное с выполнением функции безопасности, в том числе той части системы пожаротушения, которая обеспечивает условия для функционирования систем безопасности.

П08

Останов реакторной установки или отключение блока от сети без срабатывания аварийной защиты при эксплуатации блока АС, вызванный отказом систем (элементов), и/или неправильными действиями персонала, или внешним воздействием.

П09

Снижение нагрузки блока АС на 25% и более от уровня мощности, непосредственно ей предшествовавшего, вызванное отказом систем (элементов), и/или неправильными действиями персонала, или внешним воздействием (за исключением событий, приведенных в п. 2.2 Положения о порядке расследования и учета нарушений в работе атомных станций (ПНАЭ Г-12-005-97).

П10

Падение и/или повреждение ТВС, твэл при операциях со свежим или отработавшим ядерным топливом, вызванные отказом систем, элементов (в том числе грузоподъемного оборудования АС, используемого при обращении с ядерным топливом) и/или неправильными действиями персонала.

П11

Повреждения или дефекты элементов АС 1-го и 2-го классов безопасности, произошедшие или выявленные при эксплуатации блока АС, но не приведшие к исходному событию.

(Приложение 2 Исключено. Изм. № 1)

(Приложение 3 Исключено. Изм. № 1)

Приложение 2

(Измененная редакция. Изм. № 1)

Схема оповещения и ввода в действие центров технической поддержки КЦ концерна "Росэнергоатом" и группы ОПАС в случае аварии или радиационно опасных ситуаций

(Измененная редакция. Изм. № 1)

Приложение 3

(Измененная редакция. Изм. № 1)

Перечень переносных приборов радиационной разведки и дозиметрического контроля, средств дезактивации и СИЗ, спецодежды и имущества группы ОПАС

№ п/п

Наименование

Единица измер.

Потребное кол-во

Примечания

Средства индивидуальной защиты

1.

Респиратор типа ШБ-1 "Лепесток-200"

шт.

1000

2.

Респиратор типа "Лепесток-Апан" (РМ-2, РУ-92СН)

шт.

1000

3.

Противогаз фильтрующий типа ГП-7

шт.

60

4.

Каска защитная "Труд"

шт.

60

5.

Перчатки резиновые технические

пара

1000

6.

Перчатки хлопчатобумажные (вкладыши)

пара

1000

7.

Одежда пластиковая защитная (полукомбинезоны, нарукавники, бахилы)

компл.

100

8.

Основная спецодежда (комбинезон, костюм, халат, шапочка)

компл.

100

9.

Спецобувь (ботинки с лавсановым верхом, сапоги резиновые)

компл.

100

10.

Очки защитные закрытого типа

шт.

100

11.

Комплект зимней теплой одежды и обуви

компл.

100

12.

Фильтрующая коробка, улавливающая йод

шт.

100

Приборы радиационной разведки и дозиметрического контроля

1.

Дозиметр ДРГ-01Т1

шт.

40

2.

Индивидуальный дозиметр ДКП-50 (в комплекте с ДП-22В)

шт.

50

Средства дезактивации и личной гигиены

1.

Препарат для чистки кожных покровов от радиоактивных загрязнений "Защита"

кг

20

2.

Аптечка индивидуальная АИ-2

шт.

60

3.

Аптечка индивидуальная противорадиационная АП

шт.

60

 

4.

Перевязочный пакет индивидуальный ППИ

шт.

60

5.

Пакет противохимический ИПП-10

шт.

60

6.

Таблетки йодистого калия

упак.

10

7.

Мыло туалетное

шт.

60

8.

Полотенце

шт.

100

Примечание: Указанное имущество и приборы группы ОПАС хранятся в специальном помещении концерна "Росэнергоатом" Минатома России (для каждого члена основной группы ОПАС имущество и приборы комплектуются в отдельном спецчемодане).

(Измененная редакция. Изм. № 1)

Приложение 4

(Измененная редакция. Изм. № 1)

Перечень имущества Гражданской обороны для группы ОПАС, хранящегося в специальном помещении вне территории атомной станции

№ п/п

Наименование

Единица измер.

Потребное кол-во

Примечание

1.

Костюм мужской зимний "Тайга"

компл.

60

2.

Утепленная обувь

пара

60

3.

Куртка на утепленной подкладке

шт.

60

4.

Валенки

пар

60

5.

Сапоги резиновые

пар

60

6.

Фонарь электрический аккумуляторный

шт.

20

Средства индивидуальной защиты

1.

Респиратор типа ШБ-1 "Лепесток-200"

шт.

200

2.

Респиратор типа "Лепесток-Апан" (РМ-2, РУ-92СН)

шт.

200

3.

Противогаз фильтрующий типа ГП-7

шт.

60

4.

Каска защитная "Труд"

шт.

60

5.

Перчатки резиновые технические

пар

200

6.

Перчатки хлопчатобумажные (вкладыши)

пар

200

7.

Одежда пластиковая защитная (полукомбинезоны, нарукавники, бахилы)

компл.

100

8.

Очки защитные закрытого типа

шт.

100

9.

Основная спецодежда (комбинезон или костюм)

шт.

60

10.

Спецобувь (ботинки с лавсановым верхом)

пара

60

Средства дезактивации и личной гигиены

1.

Препарат для чистки кожных покровов от радиоактивных загрязнений "Защита"

кг

20

2.

Аптечка индивидуальная АИ-2

шт.

60

3.

Аптечка индивидуальная противорадиационная АП

шт.

60

 

4.

Перевязочный пакет индивидуальный ППИ

шт.

60

5.

Пакет противохимический ИПП-10

шт.

60

6.

Таблетки йодистого калия

упак.

10

7.

Мыло туалетное

шт.

60

8.

Полотенце

шт.

60

9.

Мешок пластиковый с биркой для укладки одежды членов группы ОПАС

шт.

60

Приборы дозиметрического контроля и разведки

1.

Радиометр ДП-5В (ИМД-1р)

шт.

15

2.

Радиометр ДРГ-01Т

шт.

15

3.

Дозиметр ДКС-04

шт.

5

4.

Прибор контроля загрязненности УИМЧ-2

шт.

5

5.

Дозиметр КИД-6 с измерительным пультом

шт.

60

6.

Радиометр "Цна"

шт.

15

7.

Установка по определению радиоактивного йода в воздухе

шт.

2

8.

Измеритель мощности дозы ИМД-21Б

шт.

2

Средства связи

1.

Радиостанция носимая (типа Моторолла, RS, ФМ и др.) для работы в 5-километровой зоне вокруг АС (Радиосеть № 1)

шт.

10

2.

Радиостанция мобильная (Типа RS-210/М и др.) для работы в 30-километровой зоне вокруг АС (Радиосеть № 2)

шт.

2

Примечание:

Допускается замена приборов дозиметрического контроля и разведки другими приборами, имеющими метрологические характеристики не уступающие перечисленным приборам в приложении.

(Измененная редакция. Изм. № 1)

Приложение 5

Перечень
проектной и нормативной документации для группы оказания экстренной
помощи АС, хранящейся в Кризисном центре концерна "Росэнергоатом" и
ЗПУПД (на территории АС и в городе АС) на каждой АС.

1. Положение о порядке объявления аварийной обстановки, оперативной передачи информации и организации экстренной помощи атомным станциям в случае радиационно-опасных ситуаций.

2. Планы:

2.1. План мероприятий по защите персонала в случае аварии на атомной станции.

2.2. План пожаротушения на АС.

3. Схемы радиационного контроля для АС, СЗЗ, города АС и ЗН АС.

4. Проектно-техническая документация по АС.

4.1. Генплан площадки АС.

4.2. План подъездных путей в районе АС.

4.3. Планы отметок и разрезы главного корпуса АС.

5. Перечень эксплуатационно-технической документации.

5.1. АС с реакторами ВВЭР-440 и 1000 (по каждому блоку).

№ п/п

Вид документа

Принадлежность

Наименование документа

1.

Технологическая схема

Реакторный цех

 

1.1.

-"-

-"-

Технологическая схема системы 1 контура, включая подпитку-продувку, аварийное и плановое расхолаживание, СВО-1, СВО-2.

1.2.

-"-

-"-

Схема аварийной питательной воды.

1.3.

-"-

-"-

Схема аварийного ввода бора.

1.4.

-"-

-"-

Схемы САОЗ, СОС, гидроаккумуляторов.

1.5.

-"-

-"-

Схема локализации аварий.

1.6.

-"-

-"-

Схема технического водоснабжения.

1.7.

-"-

-"-

Схема охлаждения бассейна выдержки и перегрузки.

1.8.

-"-

-"-

Схема хранилища РАО.

1.9.

-"-

-"-

Чертежи (общий вид) оборудования РУ и ТВК.

1.10.

-"-

-"-

Компановочный чертеж (общий вид) РУ.

1.11.

-"-

-"-

Защиты и блокировки основного оборудования. Карты уставок.

2.

Техн-ая схема

Турбинный цех

 

2.1.

-"-

-"-

Схема главных паропроводов, включая БРУ-А, БРУ-К, БРУ-Д, БРУ-СН.

2.2.

-"-

-"-

Схема питательной воды, включая деаэраторы, их обвязку.

2.3.

-"-

-"-

Схема основного конденсата.

2.4.

-"-

-"-

Схема расхолаживания II контура.

2.5.

-"-

-"-

Схема аварийного питания парогенераторов.

2.6.

-"-

-"-

Схема продувки парогенераторов.

2.7.

-"-

-"-

Схема бакового хозяйства.

3.

Технологическая схема

Электрический цех

 

3.1.

-"-

-"-

Главная схема электрических соединений.

3.2.

-"-

-"-

Схема электрических соединений 6 кВ собственных нужд (СН).

3.3.

-"-

-"-

Схемы надежного питания СН 6 кВ и 0,4 кВ.

3.4.

-"-

-"-

Схема дизель-генераторной установки.

3.5.

-"-

-"-

Схема противоаварийной автоматики.

4.

Инструкция

Энергоблок АЭС

 

4.1.

-"-

-"-

Технологический регламент по эксплуатации энергоблока.

4.2.

-."-

-"-

Инструкция по эксплуатации РУ.

4.3.

-"-

-"-

Инструкция по ликвидации аварийных ситуаций и аварий на энергоблоке.

4.4.

-"-

-"-

Инструкция по эксплуатации систем безопасности РУ.

4.5.

-"-

-"-

Инструкция по ликвидации аварий в электрической части АС.

4.6.

-"-

-"-

Руководство по управлению запроектными авариями.

5.2. АС с реакторами РБМК-1000 (по каждому блоку).

№ п/п

Вид документа

Принадлежность

Наименование документа

1

Технологическая схема

Реакторный цех

 

1.1

-"-

-"-

Технологическая схема КМПЦ.

1.2

-"-

-"-

Схемы СЛА, СОС, САОР, СПИР.

1.3

-"-

-"-

Схема питательной воды.

1.4

-"-

-"-

Схема промконтура.

1.5

-"-

-"-

Схема газового контура.

1.6

-"-

-"-

Схема УПАК.

1.7

-"-

-"-

Контур охлаждения СУЗ.

1.8

-"-

-"-

Чертежи (общий вид) оборудования РУ и технологического канала (ТК).

1.9

-"-

-"-

Компановочный чертеж (общий вид) РУ.

1.10

-"-

-"-

Защиты и блокировки основного оборудования. Карты уставок.

2

Технологическая схема

Турбинный цех

 

2.1

-"-

-"-

Схема главных паропроводов и паропроводов СН.

2.2

-"-

-"-

Схемы основного конденсата.

2.3

-"-

-"-

Схема аварийного сброса пара.

3

Технологическая схема

Химический цех.

 

3.1

-"-

"-

Схемы СВО-1.

3.2

-"-

-"-

Схема бакового хозяйства.

3.3

-"-

-"-

Схема хранилищ РАО.

3.4

-"-

-"-

Схема конденсатоочистки.

4

Технологическая схема

Электрический цех

 

4.1

-"-

-"-

Главная схема электрических соединений.

4.2

-"-

-"-

Схема электрических соединений 6 кВ собственных нужд (СН).

4.3

-"-

-"-

Схемы надежного питания СН 6 кВ и 0,4 кВ.

4.4

-"-

-"-

Схемы дизель-генераторных установок.

4.5

-"-

-"-

Схема противоаварийной автоматики.

5

Инструкция

Энергоблок АЭС

 

5.1

-"-

-"-

Технологический регламент по эксплуатации энергоблока.

5.2

-"-

-"-

Инструкция по эксплуатации РУ, КМПЦ и контура охлаждения СУЗ.

5.3

 

 

Инструкция по ликвидации аварийных ситуаций и аварий на энергоблоке.

5.4

-"-

-"-

Инструкция по эксплуатации систем безопасности (САОР, СОС, СЛА)

5.5

-"-

-"-

Инструкция по ликвидации аварий в электрической части АС.

5.6

-"-

-"-

Руководство по управлению запроектными авариями.

5.3. Билибинская АС с реактором ЭГП-6.

№ п/п

Вид документа

Принадлежность

Наименование документа

1.

Технологическая схема

Реакторный цех

 

1.1.

-"-

-"-

Тепловая схема блоков.

1.2.

-"-

-"-

Схема питательной воды.

1.3.

-"-

-"-

Схемы СВО, хранилища РАО.

1.4.

-"-

-"-

Аварийная система подпитки охлаждающей водой (АСПОВ).

1.5.

-"-

-"-

Схема аварийного расхолаживания (САР).

1.6.

-"-

-"-

Чертежи (общий вид) оборудования (РУ) и ТК.

1.7.

-"-

-"-

Компоновочный чертеж (общий вид) РУ.

1.8.

-"-

-"-

Защиты и блокировки основного оборудования. Карты уставок.

2.

Технологическая схема

Турбинный цех

 

2.1.

-"-

-"-

Схемы паропроводов.

2.2.

-"-

-"-

Схемы основного конденсата.

2.3.

-"-

-"-

Система аварийного приема пара.

3.

Технологическая схема

Общестанц. схема

 

3.1.

-"-

-"-

Главная схема электрических соединений.

3.2.

-"-

-"-

Схема электрических соединений 6 кВ.

3.3.

-"-

-"-

Схемы собственных нужд (СН) 6 кВ и 0,4 кВ

3.4.

-"-

-"-

Схемы надежного питания СН 1 и 2 категории.

3.5.

-"-

-"-

Схема дизель-генераторной установки.

3.6.

-"-

-"-

Схема противоаварийной автоматики.

4.

Инструкция

Энергоблок АЭС

 

4.1.

-"-

-"-

Технологический регламент эксплуатации АС.

4.2.

-"-

-"-

Инструкция по эксплуатации реакторов ЭГП-6.

4.3.

-"-

-"-

Инструкции по предупреждению и ликвидации нарушений на блоках Билибинской АЭС.

4.4.

-"-

-"-

Инструкция по работе на реакторах ЭГП-6 при перегрузках ТВС, каналов СУЗ, ИК.

4.5.

-"-

""-

Инструкция по эксплуатации систем безопасности РУ.

4.6.

-"-

-"-

Инструкция по ликвидации аварий в электрической части АС.

4.7.

-"-

-"-

Руководство по управлению запроектными авариями.

5.4. Белоярская АС с реактором БН-600.

№ п/п

Вид. документа

Принадлежность

Наименование документа

1.

Технологическая схема

Реакторный цех

 

1.1.

-"-

-"-

Технологические схемы 1, 2, 3 контуров.

1.2.

-"-

-"-

Схема питательной воды энергоблока.

1.3.

-"-

-"-

Схема острого пара энергоблока.

1.4.

-"-

-"-

Схема хранилища РАО.

1.5.

-"-

-"-

Чертежи (общий вид) оборудования (РУ) и ТВК.

1.6.

 

-"-

Компоновочный чертеж (общий вид) РУ.

1.7.

-"-

-"-

Защиты и блокировки основного оборудования. Карты уставок.

2.

Технологическая схема

Турбинный цех

 

2.1.

-"-

-"-

Схема основного конденсата ТГ.

2.2.

-"-

-"-

Схема трубопроводов острого пара.

2.3.

-"-

-"-

Схема очистки теплоносителя 2 контура от окислов.

3.

Технологическая схема

Общестанц. схема

 

3.1.

-"-

-"-

Главная схема электрических соединений.

3.2.

-"-

-"-

Схема электрических соединений 6 кВ собственных нужд (СН)

3.3.

-"-

-"-

Схемы 6 кВ и 0,4 кВ надежного питания СН.

3.4.

-"-

-"-

Схема дизель-генераторной установки.

3.5.

-"-

-"-

Схема противоаварийной автоматики.

4.

Инструкция

Энергоблок АЭС

 

4.1.

-"-

-"-

Технологический регламент эксплуатации энергоблока № 3 Белоярской АС

4.2.

-"-

-"-

Техническое описание РУ БН-600.

4.3.

-"-

-"-

Инструкция по эксплуатации РУ.

4.4.

-"-

-"-

Инструкция по эксплуатации систем безопасности РУ.

4.5.

-"-

-"-

Инструкция по предупреждению и ликвидации аварий на РУ.

4.6.

-"-

-"-

Инструкция по ликвидации аварий в электрической части АС.

4.7.

-"-

-"-

Руководство по управлению запроектными авариями.

(Новая редакция. Изм. № 1)

Приложение 6

Перечень средств связи, необходимых для функционирования группы ОПАС

1.

Подвижной узел связи (ПУС) на базе шасси автомашины повышенной проходимости

1

2.

Радиостанция специальной подвижной связи системы "Роса"

1

3.

Мобильный аппарат подвижной спутниковой связи сети "Инмарсат Мини-М" и "Глобалстар"-4

4

4.

Носимая радиостанция для связи в 5-километровой зоне вокруг АС

10

5.

Приемник персонального радиовызова типа пейджер

60

6.

Комплекс технических средств автоматизированного оповещения

1

7.

Звукорегистрирующая аппаратура

1

8.

Светозвуковая установка для оперативных машин

3

9.

Носимый диктофон

3

10.

Радиотелефон сотовой связи

10

11.

Квартирные телефоны Московской городской телефонной сети

Для всех членов группы ОПАС

12.

Портативный множительный аппарат

2

13.

Телефонный аппарат для зала группы ОПАС

5

14.

Портативный факсимильный аппарат

2

15.

Мобильный комплект технических средств видеоконференцсвязи

2

(Измененная редакция. Изм. № 1)

(Приложение 9 Исключено. Изм. № 1)

СОДЕРЖАНИЕ

1. Принятые сокращения. 2

2. Введение. 4

3. Общая структура системы предупреждения и ликвидации чрезвычайных ситуаций на АС.. 5

3.1. Организационная структура. 5

3.2. Управление противоаварийной деятельностью.. 5

4. Группа оказания экстренной помощи атомным станциям в случае радиационно опасных ситуаций или аварий на АС.. 8

4.1. Место группы ОПАС в системе предупреждения и ликвидации ЧС.. 8

4.2. Основные задачи группы ОПАС.. 10

4.3. Обязанности членов группы ОПАС.. 11

4.4. Права членов группы ОПАС.. 11

4.5. Ответственность членов группы ОПАС.. 12

4.6. Финансирование группы ОПАС.. 12

5. Техническое и информационное обеспечение группы ОПАС.. 13

5.1. КЦ концерна "Росэнергоатом". 13

5.1.1. Режимы работы Кризисного центра. 14

5.1.2. Техническое обеспечение КЦ.. 16

5.2. Центры технической поддержки КЦ и группы ОПАС (ВНИИАЭС, НИКИЭТ, АЭП, ОКБ "Гидропресс", РНЦ "Курчатовский институт", ГНЦ ФЭИ, ОКБМ, г. Нижний Новгород, ИБРАЭ РАН, НПО "Тайфун", ВНИПИЭТ, АМРДЦ ФУ "Медбиоэкстрем") 16

5.2.1. Структура центров технической поддержки. 16

5.2.2 ЦТП ВНИИАЭС: 18

5.2.3. ЦТП главных конструкторов ядерных реакторов (НИКИЭТ, ОКБ "Гидропресс", ОКБМ) и генеральных проектировщиков (АЭП, ВНИПИЭТ) 18

5.2.4. ЦТП РНЦ "Курчатовский институт", ГНЦ ФЭИ.. 19

5.2.5. ЦТП ИБРАЭ РАН.. 19

5.2.6. ЦТП НПО "Тайфун". 19

5.2.7. АМРДЦ ФУ "Медбиоэкстрем". 19

5.3. АТЦ.. 20

5.4. Комплексная система связи группы ОПАС.. 20

5.4.1. Порядок оповещения группы ОПАС.. 21

5.4.2. Порядок обеспечения связью группы ОПАС.. 21

5.5. Транспортные средства группы ОПАС.. 22

5.5.1. Состав транспортных средств группы ОПАС.. 22

5.5.2. Порядок использования автотранспортных средств группы ОПАС в режиме нормальной эксплуатации АС и в режиме ЧС.. 23

6. Порядок объявления аварийной обстановки и оперативной передачи информациИ.. 24

6.1. Порядок объявления на АС состояния "Аварийная готовность". 24

6.2. Порядок объявления на АС состояния "Аварийная обстановка". 26

6.3. Порядок оповещения при радиационно опасных ситуациях или авариях на АС.. 27

6.4. Порядок оперативной передачи информации при радиационно опасных ситуациях или авариях на АС.. 28

7. Порядок организации экстренной помощи атомным станциям группой ОПАС в случае возникновения радиационно опасных ситуаций или аварий на этих станциях. 30

7.1. Порядок оповещения, сбора и доставки членов группы ОПАС на аварийную АС.. 30

7.2. Порядок работы группы ОПАС при определении необходимости и объема помощи аварийной АС.. 32

7.2.1. До выезда на аварийную АС.. 32

7.2.2. По прибытии на аварийную АС.. 33

7.3. Действия членов группы ОПАС при объявлении аварийной обстановки на АС.. 33

7.3.1. Действия руководителя группы ОПАС.. 33

7.3.2. Действия членов группы ОПАС.. 34

8. Имущество, документация и отчетность группы ОПАС.. 37

8.1. Имущество группы ОПАС.. 37

8.1.1. Перечень имущества группы ОПАС, хранящегося в КЦ концерна "Росэнергоатом". 37

8.1.2. Поддержание в постоянной готовности имущества ОПАС к использованию в чрезвычайных ситуациях. 37

8.1.3. Перечень имущества Гражданской обороны АС для группы ОПАС, хранящегося в специальном помещении вне территории АС.. 37

8.2. Документация группы ОПАС.. 38

8.2.1. НД группы ОПАС.. 38

8.2.2. Оперативная документация группы ОПАС.. 38

8.2.3. Спецпропуска членов группы ОПАС оформляются концерном "Росэнергоатом". 38

8.2.4. Отчетность группы ОПАС.. 38

9. Перечень документов, использованных при разработке настоящего Положения. 38

Приложение 1. Категории нарушений в работе АС.. 39

Приложение 2. Схема оповещения и ввода в действие центров технической поддержки КЦ концерна "Росэнергоатом" и группы ОПАС в случае аварии или радиационно опасных ситуаций. 41

Приложение 3. Перечень переносных приборов радиационной разведки и дозиметрического контроля, средств дезактивации и СИЗ, спецодежды и имущества группы ОПАС.. 41

Приложение 4. Перечень имущества Гражданской обороны для группы ОПАС, хранящегося в специальном помещении вне территории атомной станции. 42

Приложение 5. Перечень  проектной и нормативной документации для группы оказания экстренной  помощи АС, хранящейся в Кризисном центре концерна "Росэнергоатом" и ЗПУПД (на территории АС и в городе АС) на каждой АС. 43

Приложение 6. Перечень средств связи, необходимых для функционирования группы ОПАС.. 47

 

 



© 2013 Ёшкин Кот :-)