| |||||||||||||||||||||||||||||||||||||||||||||||||||||||||||||||||||||||||||||||||||||||||||||||||||||||||||||||||||||||||||||||||||||||||||||||||||||||||||||||||||||||||||||||||||||
|
ГОСУДАРСТВЕННЫЙ СТАНДАРТ СОЮЗА ССР СОСУДЫ И АППАРАТЫ НОРМЫ И МЕТОДЫ РАСЧЕТА НА ПРОЧНОСТЬ УКРЕПЛЕНИЯ ОТВЕРСТИЙ ГОСТ 24755-89 ГОСУДАРСТВЕННЫЙ КОМИТЕТ СССР ПО СТАНДАРТАМ ГОСУДАРСТВЕННЫЙ СТАНДАРТ СОЮЗА ССР
Дата введения 01.01.90 Несоблюдение стандарта преследуется по закону Настоящий стандарт устанавливает нормы и методы расчета на прочность укрепления отверстий в обечайках, переходах и выпуклых днищах сосудов и аппаратов, применяемых в химической нефтеперерабатывающей и смежных отраслях промышленности, работающих под действием внутреннего или наружного давления. Нормы и методы расчета применимы для определения размеров укрепляющих элементов, а также допускаемых давлений цилиндрических и конических обечаек, выпуклых и конических днищ с круглыми и овальными отверстиями при соблюдении «Правил устройства и безопасной эксплуатации сосудов, работающих под давлением», утвержденных Госгортехнадзором СССР, и при условии, что отклонения от геометрической формы и неточности изготовления рассчитываемых элементов сосудов и аппаратов не превышают допусков, установленных нормативно-технической документацией. Основные термины и их пояснения приведены в приложении. 1. УСЛОВИЯ ПРИМЕНЕНИЯ1.1. Стандарт действителен при условии выбора толщин стенок обечаек, переходов и днищ в соответствии с ГОСТ 14249. Приведенные ниже методы расчета применимы для определения размеров укрепляющих элементов, а также допускаемых давлений цилиндрических и конических обечаек, выпуклых и конических днищ с круглыми и овальными отверстиями. Расчетные схемы приведены в приложении. 1.2. Пределы применения расчетных формул и номограмм ограничиваются условиями, приведенными в табл. 1.
1.3. При значениях отношений, превышающих пределы, установленные в табл. 1, рекомендуется использовать специальные методы расчета на прочность укреплений отверстий, не охватываемые настоящим стандартом. 1.4. При
установке наклонных штуцеров с круговым поперечным сечением настоящий метод
применим, если угол
Эти
ограничения не распространяются на тангенциальные штуцера (черт. 9в), на наклонные штуцера, ось которых лежит в плоскости
поперечного сечения обечайки (черт. 9г). Для
смещенных (нецентральных) штуцеров на эллиптических днищах угол 1.5. Расстояние от края штуцера до края внешней поверхности сферического неотбортованного и торосферического днища, измеряемое по проекции образующей на плоскости основания днища, должно быть не менее
Малые отверстия, диаметр которых удовлетворяет условию
допускается размещать в краевой зоне выпуклых днищ без специальных расчетных или экспериментальных обоснований. При размещении отверстий в краевой зоне цилиндрических и конических обечаек необходим учет ограничений, указанных в п. 2.5.4. В краевой зоне эллиптических и полусферических днищ допускается размещение отверстий без ограничений. 2. ОСНОВНЫЕ ФОРМУЛЫ РАСЧЕТА2.1. Расчетные диаметры 2.1.1. Расчетные диаметры укрепляемых элементов определяют по формулам: 1) для цилиндрической обечайки Dp=D; (3) 2) для конической обечайки, перехода или днища
3) для эллиптических днищ
4) в случае эллиптических днищ при Н = 0,25 D
5) для сферических днищ, а также торосферических днищ вне зоны отбортовки
где R - для торосферических днищ определяют по ГОСТ 14249. 2.1.2. Расчетный диаметр отверстия в стенке обечайки, перехода или днища при наличии штуцера с круглым поперечным сечением, ось которого совпадает с нормалью к поверхности в центре отверстия (черт. 4, 6а, 6б, 11б) или кругового отверстия без штуцера определяют по формуле
Расчетный диаметр отверстия и штуцера, ось которого лежит в плоскости поперечного сечения цилиндрической или конической обечайки (черт. 9в и 9г), определяют по формуле Расчетный диаметр отверстия для смещенного штуцера на эллиптическом днище (черт. 11а) определяют по формуле
При наличии
наклонного штуцера с круглым поперечным сечением, когда большая ось овального
отверстия составляет угол
Для
цилиндрических и конических обечаек в случае, когда ось штуцера (черт. 9б) лежит в плоскости продольного сечения обечайки
Расчетный диаметр овального отверстия для перпендикулярно расположенного штуцера к поверхности обечайки определяют по формуле
Для выпуклых
днищ Расчетный диаметр отверстия для штуцера с круглым поперечным сечением, ось которого совпадает с нормалью к поверхности обечайки в центре отверстия, при наличии отбортовки или торообразной вставки, определяют по формуле
2.2. Коэффициент прочности сварных соединений Если ось
сварного шва обечайки (днища) удалена от наружной поверхности штуцера на
расстояние более чем три толщины укрепляемого элемента (3s,
черт. 6б), то коэффициент прочности этого
сварного соединения при расчете укрепления отверстий следует принимать Если
плоскость, проходящая через продольный шов вальцованного штуцера и ось этого
штуцера, образует угол 2.3. Расчетные толщины стенок 2.3.1. Расчетные толщины стенок укрепляемых элементов определяют в соответствии с ГОСТ 14249. Для эллиптических днищ, работающих под внутренним давлением, расчетную толщину стенки sp определяют по формуле
где
коэффициент 2.3.2. Расчетную толщину стенки штуцера, нагруженного как внутренним, так и наружным давлением, определяют по формуле
где
коэффициент Для овального штуцера в этой формуле d = d1. 2.4. Расчетные длины штуцеров Расчетные длины внешней и внутренней частей круглого штуцера, участвующие в укреплении отверстий и учитываемые при расчете (черт. 4), определяют по формулам: Для овального штуцера (черт. 10) в этих формулах d = d2. В случае проходящего штуцера (черт. 5) s3 = s1. 2.5. Расчетная ширина 2.5.1. Ширину зоны укрепления в обечайках, переходах и днищах определяют по формуле
2.5.2. Расчетную ширину зоны укрепления в стенке обечайки, перехода или днища в окрестности штуцера при наличии торообразной вставки или вварного кольца (черт. 8) определяют по формуле
В случае отбортовки (черт. 7), а также при отсутствии торообразной вставки или вварного кольца
2.5.3. Расчетную ширину накладного кольца определяют по формуле
2.5.4. Для отверстий, удаленных от других конструктивных элементов на расстояние Lк < Lo (черт. 6), расчетную ширину lp, l2p определяют следующим образом: для зоны соединения обечайки с кольцом жесткости, плоским днищем, трубной решеткой (черт. 6а) - по формулам (20) или (21) и (22); для зоны соединения конической обечайки с другой обечайкой и обечайки с коническим или выпуклым днищем (черт. 6б), а также с фланцем или седловой опорой сосуда по формулам:
2.6. Отношения допускаемых напряжений: 1) для внешней
части штуцера 2) для
накладного кольца 3) для
внутренней части штуцера 2.7. Расчетный диаметр определяют по формуле
3. ОДИНОЧНЫЕ ОТВЕРСТИЯ В СОСУДАХ И АППАРАТАХОтверстие считается одиночным, если ближайшее к нему отверстие не оказывает на него влияния, что имеет место, когда расстояние между наружными поверхностями соответствующих штуцеров (черт. 13) удовлетворяет условию 3.1. Расчетный диаметр одиночного отверстия, не требующего укрепления Расчетный диаметр одиночного отверстия, не требующего дополнительного укрепления, при наличии избыточной толщины стенки сосуда вычисляется по формуле Если расчетный диаметр одиночного отверстия удовлетворяет условию
то дальнейших расчетов укрепления отверстий не требуется. В случае невыполнения условия (27) расчет укрепления проводят по п.п. 3.2 3.2. Условие укрепления одиночных отверстий 3.2.1. В случае укрепления отверстия утолщением стенки сосуда или штуцера либо накладным кольцом, либо торообразной вставкой или отбортовкой должно выполняться условие Рекомендуемым вариантом укрепления является укрепление без использования накладного кольца. В этом случае расчет укрепления проводят с помощью условия укрепления (28), в котором принимается s2 = 0. При этом длина внешней части штуцера l1 отсчитывается от наружной поверхности аппарата. При отсутствии штуцера и укрепления отверстия накладным кольцом или утолщением стенки сосуда при расчете в условии укрепления l1p=l3p=0. При этом исполнительную ширину накладного кольца отсчитывают от края отверстия: Рекомендуемым вариантом укрепления является укрепление без использования накладного кольца. В этом случае расчет укрепления проводят с помощью условия укрепления (28), в котором принимается s2=0. При этом длина внешней части штуцера l1 отсчитывается от наружной поверхности аппарата. При отсутствии штуцера и укреплении отверстия накладным кольцом или утолщением стенки сосуда при расчете в условии укрепления l1p=l3p=0. При этом исполнительную ширину накладного кольца отсчитывают от края отверстия: 3.2.2. При укреплении отверстия штуцером произвольной формы (черт. 14) условие укрепления выражается в общем виде
Здесь площади А1 и А3 определяются без учета прибавок с, сs и расчетных толщин стенок штуцера s1p и сосуда sp. Расчетные длины штуцера, учитываемые при определении площадей А1 и А3 определяются следующим образом: l1p - по формуле (17), l3p - по формуле (18). 3.2.3. Расчет укрепления отверстия с помощью накладного кольца при необходимости определения площади этого кольца проводится по формуле
где Если s2>2s, то накладные кольца рекомендуется устанавливать снаружи и изнутри сосуда или аппарата, причем толщина наружного кольца принимается 0,5 s2, внутреннего - (0,5s2+c). 3.3. Графический расчет Расчет укрепления отверстия без использования накладного кольца и внутренней части штуцера можно производить с использованием номограмм по черт. 1-3 и табл. 2: 1) при известной толщине стенки штуцера по формуле
2) при известной толщине стенки обечайки, перехода или днища по формуле
где V и V1 определяются по номограммам черт. 1 - 3 и табл. 2. При расчете по номограммам должны быть выполнены условия
Для сферических обечаек и выпуклых днищ К1=2; К2=1,68. Для цилиндрических и конических обечаек К1=2; К2=1. Все исходные данные определяются по соответствующим пунктам настоящего стандарта.
Черт. 1
Черт. 2
Черт. 3 3.4. Допускаемое внутреннее избыточное давление Допускаемое внутреннее избыточное давление определяют по формуле где
Для овального штуцера в этой формуле d = d1. 4. УЧЕТ ВЗАИМНОГО
ВЛИЯНИЯ ОТВЕРСТИЙ В СОСУДАХ
| |||||||||||||||||||||||||||||||||||||||||||||||||||||||||||||||||||||||||||||||||||||||||||||||||||||||||||||||||||||||||||||||||||||||||||||||||||||||||||||||||||||||||||||||||||||
|
Термин |
Условное обозначение |
|
Расчетная площадь вырезанного сечения (черт. 14), мм2 |
A |
|
Площадь укрепляющего сечения внешней части штуцера, мм2 |
A1 |
|
Площадь поперечного сечения накладного кольца, мм2 |
A2 |
|
Площадь укрепляющего сечения внутренней части штуцера, мм2 |
A3 |
|
Минимальное расстояние между наружными поверхностями двух соседних штуцеров (черт.13 и 15), измеряемое по поверхности укрепляемого элемента, мм |
b |
|
Сумма прибавок к расчетной толщине стенки обечайки перехода или днища, мм |
c |
|
Сумма прибавок к расчетной толщине стенки, мм |
сs, |
|
Прибавка на коррозию к расчетной толщине стенки штуцера, мм |
|
|
Внутренний диаметр цилиндрической обечайки или выпуклого днища, мм |
D |
|
Внутренний диаметр конической обечайки (перехода или днища) по центру укрепляемого отверстия (черт. 6б), мм |
Dк |
|
Расчетные внутренние диаметры укрепляемого элемента, мм |
|
|
Внутренние диаметры штуцеров, мм |
|
|
Наибольший расчетный диаметр отверстия, не требующего дополнительного укрепления, мм |
d0 |
|
Расчетный диаметр, мм |
dop |
|
Большая или малая оси овального отверстия, мм |
d1, d2 |
|
Расчетный диаметр отверстия, мм |
dp |
|
Расстояние от края штуцера до внешнего края днища (черт. 11а, 11б), мм |
e |
|
Внутренняя высота эллиптической части днища, мм |
H |
|
Коэффициенты |
К1, К2, К3 |
|
Ширина зоны укрепления, прилегающей к штуцеру, при отсутствии накладного кольца (черт. 14), мм |
Lo |
|
Расстояние от наружной поверхности штуцера до ближайшего несущего конструктивного элемента (черт. 6), мм |
Lк |
|
Расчетная ширина зоны укрепления при использовании общего накладного кольца для двух отверстий, мм |
L2 |
|
Исполнительная ширина торообразной вставки или вварного кольца, мм |
l |
|
Расчетная ширина зоны укрепления в окрестности штуцера или торообразной вставки, мм |
lp |
|
Исполнительные длины штуцеров, мм |
|
|
Расчетные длины штуцеров, мм |
|
|
Исполнительная ширина накладного кольца, мм |
l2 |
|
Расчетная ширина накладного кольца, мм |
l2p |
|
Расчетное давление в сосуде или аппарате, МПа |
p |
|
Допускаемое давление в элементах сосудов и аппаратов, МПа |
|
|
Допускаемое давление в пределах пластичности, МПа |
|
|
Допускаемое давление в пределах упругости, МПа |
|
|
Наибольший внутренний радиус выпуклого днища, мм |
R |
|
Радиус кругового накладного кольца при совместимом укреплении отверстий (черт. 16), мм |
RH |
|
Радиус
несимметричного накладного кольца около отверстия диаметром |
|
|
Радиус
несимметричного накладного кольца около отверстия диаметром |
|
|
Радиус отбортовки или торовой части торообразной вставки (черт. 7 и 8а), мм |
r |
|
Исполнительная толщина стенки обечайки, перехода или днища, мм |
s |
|
Расчетная толщина стенки обечайки, перехода или днища, мм |
sp |
|
Исполнительные толщины стенок штуцеров, мм |
|
|
Расчетные толщины стенок штуцеров, мм |
|
|
Исполнительные толщины накладных колец, мм |
|
|
Исполнительные толщины внутренних частей штуцеров (черт. 4-6, 13), мм |
|
|
t |
|
|
Коэффициенты понижения прочности |
V, V1 |
|
Расстояние от центра укрепляемого отверстия до оси эллиптического днища, мм |
|
|
Половина угла при вершине конической обечайки, ...° |
|
|
Угол между линией, соединяющей центры двух взаимовлияющих, и образующей обечайки (черт. 15), ...° |
|
|
Угол между осью наклонного штуцера и нормалью к поверхности цилиндрической или конической обечайки, а также выпуклого днища (черт. 9б и 11), ...° |
|
|
Минимальные размеры сварных швов, соединяющих штуцеры и накладные кольца со стенкой обечайки, перехода или днища, мм |
|
|
Отношения допускаемых напряжений |
|
|
Допускаемое напряжение для материала обечайки, перехода или днища при расчетной температуре, МПа |
|
|
Допускаемое напряжение для материала внешней части штуцера при расчетной температуре, МПа |
|
|
Допускаемое напряжение для материала накладного кольца при расчетной температуре, МПа |
|
|
Допускаемое напряжение для материала внутренней части штуцера при расчетной температуре, МПа |
|
|
Коэффициент прочности сварных соединений обечаек и днищ |
|
|
Коэффициент прочности продольного сварного соединения штуцера |
|
|
Угол между плоскостью, проходящей через продольный шов и ось штуцера, и плоскостью продольного осевого сечения обечайки (черт. 12а), ...° |
|
|
Угол между плоскостью, проходящей через ось и продольный шов штуцера, и плоскостью, проходящей через линию, соединяющую центры отверстий (черт. 12б), ...° |
|
|
Угол между большой осью овального отверстия и плоскостью, проходящей через ось обечайки сосуда (черт. 15), ... ° |
|
Величины с, сs, p,
,
1,
2,
3,
,
1
определяются по ГОСТ 14249.
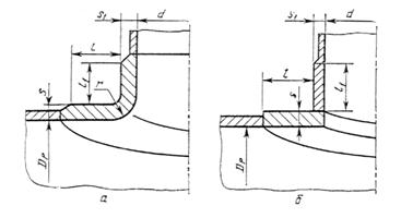
Основная расчетная схема соединения штуцера со стенкой сосуда

Укрепление отверстий при наличии проходящего штуцера

Укрепление отверстий
при наличии близко расположенных конструктивных
элементов (непроходящие штуцера)

Укрепление отверстий отбортовкой

Укрепление отверстия торообразной вставкой или вварным кольцом

Наклонные штуцера на обечайке

Отверстие для овального штуцера, перпендикулярного к поверхности обечайки

Смещенные штуцера на выпуклом днище

Учет влияния сварных швов

Укрепление взаимовлияющих отверстий

Компенсация вырезанного сечения штуцером произвольной формы

Общий случай расположения взаимовлияющих отверстий

Совместное укрепление взаимовлияющих отверстий

1 - укрепление круговым накладным кольцом;
2 - укрепление несимметричным кольцом
Ряды отверстий

Минимальные размеры сварных швов

ИНФОРМАЦИОННЫЕ ДАННЫЕ
1. РАЗРАБОТАН И ВНЕСЕН Министерством химического нефтяного машиностроения
ИСПОЛНИТЕЛИ
В.А. Фрейтаг, канд. техн. наук; В.И. Рачков, канд. техн. наук (руководители темы); О.С. Суворова, канд. техн. наук; В.Д. Бабанский; А.Р. Бащенко; Ю.Б. Яковлев, канд. техн. наук.
2. УТВЕРЖДЕН И ВВЕДЕН В ДЕЙСТВИЕ Постановлением Государственного комитета СССР по стандартам от 18.05.89 № 1263
3. Срок проверки - 1995 г.; периодичность проверки - 5 лет.
4. ВЗАМЕН ГОСТ 25755-81
5. Стандарт полностью соответствует СТ СЭВ 1639-88.
6. ССЫЛОЧНЫЕ НОРМАТИВНО-ТЕХНИЧЕСКИЕ ДОКУМЕНТЫ:
|
Обозначение НТД, на который дана ссылка |
Номер пункта, приложения |
|
1.1, 2.1.1; 2.3.1; 5 |