ОРДЕНА ТРУДОВОГО КРАСНОГО ЗНАМЕНИ 
АРЕНДНОЕ ПРЕДПРИЯТИЕ ПРОМСТРОЙПРОЕКТ
ПОСОБИЕ 7.91 к СНиП 2.04.05-91
Схемы прокладки воздуховодов в здании
Главный инженер института
И.Б. Львовский
Главный специалист Б.В.
Баркалов
Москва 1993 г.
Рекомендовано к изданию
решением секции Технического Совета арендного Предприятия Промстройпроект.
Пособие 7.91 к СНиП
2.04.05-91. Схемы прокладки воздуховодов в здании. /Промстройпроект - М.,
1993 г.
Пособие 7.91 разработано
Промстройпроектом (канд. техн. наук Б.В. Баркалов) при участии института
СантехНИИпроект (инж. Т.И. Садовская) в развитие требований пп. 4.109, 4.110, с
учетом пп. 4.120, 4.121 и пп. 4.24, 4.25, 4.26 СНиП 2.01.05-91. В предыдущих
изданиях СНиП по отоплению, вентиляции и кондиционированию схемы прокладки
воздуховодов являлись нормативными. При проектировании совместно с изложенными
в Пособии следует руководствоваться пунктами СНиП.
Пособие предназначено для
специалистов по проектированию отопления, вентиляции и кондиционирования
воздуха.
1.91. Расход и распределение
приточного воздуха
2.91. Расчет поступлений
теплоты солнечной радиации в помещения
3.91. Вентиляторные
установки
4.91. Противодымная защита
при пожаре
5.91. Размещение
вентиляционного оборудования
6.91. Огнестойкие
воздуховоды
7.91. Схемы прокладки
воздуховодов в зданиях
8.91. Численность персонала
по эксплуатации систем отопления, вентиляции и кондиционирования
9.91. Годовой расход энергии
системами отопления, вентиляции и кондиционирования
10.91. Проектирование антикоррозийной
защиты
11.91. Расчетные параметры
наружного воздуха для типовых проектов
12.91. Рекомендации по
расчету инфильтрации наружного воздуха в одноэтажных производственных зданиях.
1. Воздуховоды систем
вентиляции, кондиционирования воздуха и воздушного отопления (далее в пособии
«вентиляции») следует проектировать в соответствии с требованиями пунктов 1.1 г, д, 4.24, 4.25, 4.26, 4.109, 4.110 и 4.118 СНиП
2.04.05-91 (далее в пособии «СНиП»), предусматривая в
проектах технические решения, обеспечивающие ремонтопригодность,
взрывопожаробезопасность систем и нормативные требования:
а) по мерам и средствам
защиты систем от распространения огня и продуктов горения (дыма) по зданию;
б) по объединению общей
системой воздуховодов требуемого или допускаемого перечня помещений различной
врывопожаробезопасности или назначения.
2. К мерам и средствам
защиты от распространения огня и дыма по зданию относятся:
а) размещение воздуховодов
систем вентиляции в пределах одного противопожарного отсека здания;
б) ограничения соединения в
одну систему вентиляции помещений различной степени взрывопожарной опасности;
в) применение огнестойких
воздуховодов;
г) применение
огнезадерживающих клапанов, обратных клапанов и воздушных затворов в
воздуховодах.
3. Помещения одной категории
взрывопожарной опасности, не разделенные противопожарными преградами, а также
имеющие открытые проемы общей площадью более 1 м2 в другие
помещения, согласно п. 1.24. СНиП, абзац 2-ой, допускается рассматривать как
одно помещение. Следовательно, группу таких помещений, размещенных на одном
этаже можно присоединять к общему воздуховоду, не разделенному
огнезадерживающими клапанами, обратными клапанами или воздушными затворами. Если
такие помещения отделены от коридора пожарной преградой в соответствии с
требованиями СНиПов, то согласно п. 4.109 г СНиП присоединении группы таких
помещений ограничивается 300 м2 (см. п. 16 Пособия) или необходимо прикладывать отдельные
воздуховоды для помещений каждой из сторон коридора.
4. В
соответствии с пунктом 4.25 СНиП системы вентиляции предусматриваются общими
для следующих групп помещений, размещенных в пределах одного пожарного отсека:
а) жилых;
б) общественных,
административно-бытовых и производственных категорий Д (в любых сочетаниях);
в) производственных одной из
категории Г или Д;
г) производственных
категорий Г и Д и складов категорий Д.
5. В
соответствии с п.4.26 СНиП допускается во изменение основного требования п.
4.25 СНиП присоединять к одной группе помещений - помещения другой группы общей
площадью не более 200 м2, при условии обязательной установки
огнезадерживающего клапана на сборном воздуховоде присоединяемой группы
помещений.
Ниже приводятся варианты
некоторых из возможных соединений:
а) жилые помещения + 200 м2
административно-бытовых;
б) жилые помещения + 200 м2
общественных помещений;
в) общественные помещения +
200 м2 административно-бытовых;
г) производственные
помещения категории Д + 200 м2 административно-бытовых.
В каждом варианте первой
указана основная группа помещений, в которой через огнезадерживающий клапан на
сборном воздуховоде может быть присоединено 200 м2 «присоединяемой
группы». В каждой из соединяемых групп «основная группа» может быть
«присоединяемой» и «присоединяемая» - «основной», но «присоединяемая» должна
иметь общую площадь не более 200 м2 и присоединяться к воздуховодам
системы через огнезадерживающий клапан.
Помещения с массовым
постоянным или временным пребыванием людей не должны соединяться общим
воздуховодом с помещениями других групп, ни в качестве «основных», ни в
качестве «присоединяемых».
Примечание. Пункт 4.26 б
не содержит требования о применении огнезадерживающего клапана при соединении
воздуховодов группы производственных помещений категорий Г и Д с воздуховодами
административно-бытовых помещений. При соединении воздуховодов, обслуживающих
помещения категории Г, в которых применяются открытый огонь, с воздуховодами
обслуживающими конторские помещения - по пожарной опасности близкие к
помещениям категории В, Промстройпроект рекомендует устанавливать
огнезадерживающий клапан на воздуховодах помещений категории Г.
6. На рис. 1 и 2 Пособия
приведены принципиальные схимы воздуховодов для жилых, общественных,
административно-бытовых и производственных помещений категорий Г и Д,
перечисленные в п.п. 4 и 5 Пособия и соответствующие требованиям п. 4.109 а и
4.109 б СНиП по защите от проникания дыма во время пожара в помещения
вышерасположенных этажей.
Схемы воздуховодов по рис. 1 не допускается
применять в зданиях лечебно-профилактического назначения - см. примечание 5 к
п. 4.109 СНиП.
Для этих зданий и зданий
другого назначения, в которых допускается применять воздушные затворы на
ответвлениях от коллекторов, следует применять схемы с горизонтальными
коллекторами по рис. 2.
7. Схемы воздуховодов,
приведенные на рис. 1 б, в и 2 - с воздушными затворами на
ответвлениях от коллекторов в настоящее время наиболее дешевы и доступны, хотя
и менее совершенны по дымозащите зданий, чем схемы с огнезадерживающими
клапанами. Их следует применять во всех случаях разрешенных п. 4.25 а, б, г, ж
и п. 4.26 а, б СНиП, но допустимо применять и присоединение ответвлений через
огнезадерживающий клапан.
8. На рис. 1 в и 2 б
показано присоединение эжекционных кондиционеров-доводчиков через воздушные
затворы к вертикальному и горизонтальному коллекторам. Промстройпроект считает
возможным и прямое подсоединение подоконных доводчиков без воздушных затворов,
т.к. проникание дыма через отверстия сопел у пола нижележащего этажа в вышележащий
мало вероятно. Присоединение кондиционеров-доводчиков через огнезадерживающие
клапаны не применяется.
9. В
соответствии с п. 4.25 СНиП следует предусматривать общие системы вентиляции,
кондиционирования воздуха и воздушного отопления для группы помещений,
размещенных в пределах одного пожарного отсека.
а) производственных одной из
категорий А или Б, размещенных не более, чем на 3-х этажах;
б) производственных
категории В;
в) складов или кладовых
одной из категорий А, Б или В, размещенных не более, чем на 3-х этажах.
10.
Пунктом 4.26 СНиП допускается соединять в одну систему группу помещений
категорий А или Б или В с группой производственных помещений любой категории
общей площадью не более 200 м2, в том числе складов или кладовых или
помещений другого назначения (например, административно-бытовых или
общественных), кроме жилых помещений и помещений с массовым пребыванием людей.
11. На рис. 3 в
соответствии с п.п. 9 и 10 Пособия показана принципиальная схема
воздуховодов для помещений категорий А, Б или В и производственных помещений
любых категорий, в том числе складов и кладовых (или помещений другого
назначения, кроме жилых помещений и помещений с массовым пребыванием людей),
при применении:
а) огнезадерживающих
клапанов на воздуховодах, обслуживающих помещения категорий А, Б или В, в
местах пересечения воздуховодами ближайшей к обслуживаемому помещению
противопожарной преграды или перекрытия (4.109 в);
б) огнезадерживающих
клапанов на воздуховодах местных отсосов взрыво- или пожароопасных смесей (п.
4.109 примеч. 3).
Присоединение к этой системе
производственных помещений любых категорий, в том числе складов и кладовых (или
помещений другого назначения, кроме жилых помещений и помещений с массовым
пребыванием людей) общей площадью не более 200 м2 должно
производиться через огнезадерживающий клапан.
12. Для помещений категорий
А, Б или В, воздухообмен которых определен из условия ассимиляции вредных
веществ 1-го или 2-го классов опасности, в соответствии с п. 4.110. СНиП, на
приточных и вытяжных воздуховодах в дополнение к огнезадерживающему клапану
следует устанавливать обратный клапан для защиты от перетекания вредных веществ
в другие помещения при неработающей вентиляции (см. помещение 8' и клапаны 2 и
3). Огнезадерживающий и обратный клапаны можно заменить установкой обратного
огнезадерживающего клапана, закрывающегося при остановке вентилятора.
13. На рис. 4 в
соответствии с п.п. 9 - 10 Пособия показана принципиальная схема воздуховодов
для помещений категорий А, Б или В и производственных помещений любых
категорий, в том числе складов и кладовых или помещений другого назначения,
кроме жилых помещений и помещений с массовым пребыванием людей, при применении:
а) обратных клапанов - на отдельных
воздуховодах для каждого помещения категории А, Б или В в местах присоединения
их к сборному воздуховоду или коллектору;
б) обратных клапанов на
воздуховодах местных отсосов взрыво- или пожароопасных смесей;
Примечание. Присоединение
к системе, выполненной в соответствии с п. 4.26 б и в СНиП помещений категорий
Г или Д, в том число складов или кладовых или помещений другого назначения,
например, конторских, площадью не более 200 м2 их следует
присоединять через огнезадерживающий клапан, см. например, поз. 20 и 21.
14. Системы общеобменной
вытяжной вентиляции для помещений категорий В, Г и Д, удаляющие воздух из 5-ти
метровой зоны вокруг оборудования, содержащего горючие вещества, которые могут
образовывать взрывоопасные смеси, согласно п. 4.29 СНиП должны проектироваться
отдельными от других систем для этих помещений, но в соответствии с п. 4.26 в
они могут присоединяться к системам, указанным на рис. 3 и 4 в виде отдельного ответвления,
если площадь помещений, где установлено упомянутое оборудование, не превышает
200 м2.
15. Системы общеобменной
вентиляции для группы помещений категорий А, Б и В в любых сочетаниях и складов
категории А, Б и В в любых сочетаниях общей площадью не более 1100 м2
следует проектировать общими, если эти помещения, согласно п. 4.25 е, размещены
в отдельном одноэтажном здании и имеют двери с выходом только непосредственно
наружу.
На рис. 5
представлены два возможных варианта принципиальных схем воздуховодов систем
вентиляции этих помещений: а) с общим огнестойким воздуховодом для всех
помещений с установкой огнезадерживающих клапанов на противопожарных преградах
каждого помещения; б) с отдельными огнестойкими воздуховодами для каждого
помещения и обратными клапанами на них, устанавливаемыми в помещении для
вентиляционного оборудования. Решения взаимозаменяемы.
Обратные и огнезадерживающие
клапаны для помещений категории А и Б должны быть во взрывозащищенном
исполнении по п. 4.74 СНиП.
16. На рис. 6
представлены схемы воздуховодов для групп помещений (кроме складов) одной из
категорий А, Б или В общей площадью не более 300 м2 при условии
расположения их в пределах одного этажа с выходами в общий коридор.
Воздуховоды могут быть
проложены в коридоре или в помещениях.
Транзитные одиночные или
сборные воздуховоды должны иметь предел огнестойкости по пункту 4.118. На
каждом транзитном сборном воздуховоде согласно п. 4.109 г на расстоянии не
более 1 м от ближайшего к вентилятору ответвления должен быть установлен
огнезадерживающий клапан, выполненный во взрывозащитном исполнении согласно п.
4.74.
17. Системы вентиляции
лабораторных помещений следует проектировать в соответствии с требованиями,
установленными для производственных помещений, и обязательным приложением 18 к
СНиП по принципиальной схеме на рис. 7 общую приточную систему для
всех помещений категорий В, Г и Д и помещений административно-бытового
назначения лабораторного здания с числом этажей не более 11 (исключая
технические и подвальные этажи). К системе допускается подсоединять не более
двух (на разных этажах) кладовых категории А, площадью не более 36 м2
каждая, предназначенных для хранения оперативного запаса исследуемых веществ.
На воздуховодах этих кладовых следует устанавливать огнезадерживающие клапаны с
пределом огнестойкости 0,5 часа.
18. Общую вытяжную систему
общеобменной вентиляции и местных отсосов допускается проектировать (рис. 7):
а) для кладовой категории А
оперативного хранения исследуемых веществ;
б) для одного лабораторного
помещения категории В, Г и Д, если в оборудовании, снабженном местными
отсосами, не образуются взрывоопасные смеси.
Типовые серии для клапанов, принятых в пособии
1. Клапаны огнезадерживающие                                    серия
5.904-20
с пределом огнестойкости 1,2
ч
2. Клапаны обратные
огнезадерживающие                   серия
5.904-42
с пределом огнестойкости 0,5
ч
3. Клапаны обратные общего
назначения                     серия
5.904-41
4. Клапаны взрывозащищенные
для                               серия
5.904-58
вентиляционных систем
взрывоопасных
производств
Клапаны обратные
взрывозащищенные
5. Клапан огнезадерживающий
типа ОКЭ-ТМ с электромагнитным приводом фирмы «СовПлим» Санкт-Петербург, шоссе
Революции, 102, тел. (812) 227-29-98, (812) 227-78-53, телекс 121 284 LEIMA SU.
Основные
технические характеристики
 
  
   | № | Наименование
   параметра | Значение параметра | 
 
 
  | 1. | Типоразмерный
  ряд нормируемых внутренних размеров поперечного сечения Н×В, мм | 250×250 400×400 500×500 630×6301) 800×8001) 800×10001) | 
 
  | 2. | Предел
  огнестойкости, ч, не менее | 1,02) | 
 
  | 3. | Максимальная
  скорость во входном сечении, м/с, не более | 15 | 
 
  | 4. | Температура
  срабатывания легкоплавкого замка, °С | 72 | 
 
  | 5. | Номинальное
  напряжение переменного тока частотой 50 Гц, В | 220 и 24 | 
 
  | 6. | Срок службы
  до списания, лет | 12 | 
 
  | 7. | Масса в
  зависимости от типоразмера, кг, не более: |   | 
 
  |   | 250×250 | 15 | 
 
  |   | 400×400 | 22 | 
 
  |   | 500×500 | 27 | 
 
1)
Производство планируется позднее.
2) При поставке на экспорт - 1,5 ч.
ВЗРЫВООПАСНАЯ СМЕСЬ - смесь горючих
газов, паров, пыли, аэрозолей или волокон с воздухом при нормальных атмосферных
условиях (давление 760 мм рт.ст. и температура 20 °С), у которой при
воспламенении горение распространяется на весь объем несгоревшей смеси и
развивается давление взрыва, превышающее 5 кПа.
ВОЗДУШНЫЙ ЗАТВОР - вертикальный участок воздуховода, изменяющий направление движения дыма
(продуктов горения) на 180° и препятствующий при пожаре прониканию дыма из
нижерасположенных этажей в вышерасположенные.
МЕСТНЫЙ ОТСОС - устройство для улавливания вредных и взрывоопасных газов, пыли
аэрозолей и паров (зонт, бортовой отсос, вытяжной шкаф, кожух-воздухоприемник и
т.п.) у мест их образования (станок, аппарат, ванна, рабочий стол, камера, шкаф
и т.п.), присоединяемые к воздуховодам систем местных отсосов и являющиеся, как
правило, составной частью технологического оборудования.
КОЛЛЕКТОР - участок воздуховода, к которому присоединяются воздуховоды из двух
или большего числа этажей.
ОГНЕСТОЙКИЙ ВОЗДУХОВОД - плотный воздуховод со стенками, имеющими
нормируемый предел огнестойкости.
ОГНЕЗАДЕРЖИВАЮЩИЙ КЛАПАН - нормально открытый клапан с нормируемым пределом
огнестойкости, закрывающийся при пожаре автоматически или дистанционно по
сигналу датчика или пожарного извещателя.
ОГНЕЗАДЕРЖИВАЮЩИЙ ОБРАТНЫЙ КЛАПАН - огнезадерживающий клапан автоматически
закрывающийся действием силы тяжести при прекращении давления потока воздуха,
проходящего через клапан.
ОБРАТНЫЙ КЛАПАН - нормально закрытый клапан, открывающийся давлением воздуха,
поступающего на клапан.
ПОЖАРООПАСНАЯ СМЕСЬ - смесь горючих газов, паров, пыли, волокон с воздухом, если ее
горение развивает давление, не превышающее 5 кПа.
ПОМЕЩЕНИЕ с массовым пребыванием людей - помещение (залы и фойе
театров, кинотеатров, залы заседаний, совещаний, лекционные аудитории, торговые
залы, рестораны, вестибюли, кассовые залы, производственные и другие) с
постоянным или временным пребыванием людей (кроме аварийных ситуаций) числом
более 1 чел. на 1 м2 помещения площадью 50 м2 и более.
СБОРНЫЙ ВОЗДУХОВОД - участок воздуховода, к которому присоединяются воздуховоды,
проложенные на одном этаже.
ТРАНЗИТНЫЙ ВОЗДУХОВОД - участок воздуховода, прокладываемый за пределами
обслуживаемого им помещения.

Рис. 1. Схемы воздуховодов с вертикальными
коллекторами.
Защита
от проникания дыма при пожаре из помещений одного этажа в помещения других
этажей предусмотрена:
а) -
огнезащитными клапанами на поэтажных сборных воздуховодах;
б, в) - воздушными затворами на
поэтажных сборных воздуховодах.
1 -
огнезадерживающий клапанами по п. 4.123; 2 - поэтажный сборный воздуховод; 3 -
вертикальный коллектор с пределом огнестойкости по п. 4.118; 4 - воздушный
затвор; 5 - транзитный воздуховод с пределом огнестойкости по п. 4.118; 6 - воздухораспределитель;
7 - вытяжное устройство; 8 - вытяжное вентоборудование; 9 - приточное
вентоборудование; 10 - помещение для вентиляционного оборудования; 11 -
эжекционный доводчик; 12 - технический этаж, чердак; 13 - группа
«присоединяемых» помещений общей площадью более 200 м2 другого
назначения.

Рис. 2. Схемы воздуховодов с горизонтальными
коллекторами.
Защита от проникания дыма при пожаре из помещений
одного этажа в помещения других этажей предусмотрена воздушными затворами
1 - воздушный
затвор; 2 - воздушный затвор при присоединении сборного воздуховода первого
этажа - вертикальная длина его до присоединения к коллектору должна быть не
менее 2 м; 3 - горизонтальный коллектор; 4 - воздуховод в пределах
обслуживаемого помещения; 5 - воздуховод вне пределов обслуживаемого помещения;
6 - эжекционный доводчик; 7 - транзитный воздуховод по п. 4.118; 8 - вытяжное
вентоборудование; 9 - приточное вентоборудование; 10 - междуэтажное перекрытие;
11 - противопожарная стена или перегородка с нормируемым пределом огнестойкости
по п. 3.1 СНиП 2.01.02-85*;
12 - стена или перегородка с ненормируемым пределом огнестойкости; 13 - пол; 14
- помещение для вентиляционного оборудования; 15 - воздухоприемное
оборудование; 16 - огнезадерживающий клапан по п. 4.123; 17 - группа
«присоединяемых» помещений общей площадью более 200 м2 другого
назначения.

Рис. 3. Схемы воздуховодов для помещений категории
А, Б или В.
Защита от проникания дыма при пожаре из помещений
одного этажа в помещения других этажей предусмотрена огнезадерживающими
клапанами.
1 -
вентиляционное оборудование по пп. 4.74 и 4.75; 2 - огнезадерживающий клапан по
п. 4.123; 3 - обратный клапан по п. 4.110; 4 - обратный клапан в исполнении по
п. 4.74; 5 - коллектор или сборный транзитный воздуховод по п. 4.119; 6 -
транзитный воздуховод по п. 4.119; 7 - воздуховод в обслуживаемом им помещении
по пп. 4.113 - 4.116; 8 - помещение категории А, Б или В; 8’ - помещение
категории А, Б или В с воздухообменом, определенном из условия ассимиляции
вредных веществ 1 и 2 класса опасности по п. 4.110; 9 - помещение категории Г
или Д, общественное или административно-бытовое по п. 4.26 б, в; 10 - помещение
для вентиляционного оборудования по пп. 4.98 - 4.108; 11 - покрытие здания; 12
- междуэтажное перекрытие; 13 - противопожарная переграда с нормируемым
пределом огнестойкости по п. 3.1 СНиП
2.01.02-85*; 14 - стена или перегородка с ненормируемым пределом
огнестойкости или имеющая проем в другое помещение площадью 1 м2 и
более; 15 - проем в стене или перегородки; 16 - коридор, холл или технический
этаж; 17 - воздухораспределитель по пп. 4.78 - 4.80; 18 - вытяжное устройство;
19 - местный отсос; 20 - сварной воздуховод без разъемных соединений класса П
по п. 4.129 СНиП.

Рис. 4. Схемы воздуховодов для помещений категории
А, Б или В.
Защита от проникания дыма при пожаре из помещений
одного этажа в помещения других этажей предусмотрена самозакрывающимися
клапанами.
1 -
оборудование приточкой системы; 2 - оборудование вытяжных систем; 3 - обратный
клапан по п. 4.109 д для помещений категорий А и Б в исполнении по п. 4.74, для
помещений категория В в обычном исполнении; 4 - вертикальный коллектор в шахте;
5 - шахта с нормируемым пределом огнестойкости 0,5 часа по п. 4.120 б; 6 -
вертикальный коллектор снаружи здания по п. 4.121; 7 - горизонтальный коллектор
с нормируемым пределом огнестойкости по п. 4.118; 8 - горизонтальный коллектор
с нормируемым пределом огнестойкости по п.4.121; 9 - транзитный воздуховод с
нормируемым пределом огнестойкости по п. 4.118; 10 - воздуховод в обслуживаемом
им помещении по пп. 4.113 - 4.116; 11 - помещение категории А, Б или В; 12 -
помещение других категорий или назначений площадью не более 200 м2;
13 - помещение для вентиляционного оборудования; 14 - перекрытие; 15 -
противопожарная стена или перегородка с нормируемым пределом огнестойкости по
п. 3.1 СНиП 2.01.02-85*; 16
- стена или перегородка с ненормируемым пределом огнестойкости или имеющая
проем в другое помещение площадью 1 м2 и более; 17 - проем; 18 -
коридор, холл или технический этаж; 19 - местный отсос взрывоопасной смеси; 20
- огнезадерживающий клапан, закрывающийся при пожаре; 21 - транзитный воздуховод
из помещения 12 другого назначения площадью не более 200 м2; присоединяется к системе через
огнеудерживающий клапан 20, в соответствии с требованиями п. 4.26 в СНиП.

Рис. 5. Схемы воздуховодов
для изолированных производственных помещений категорий А, Б или В по п. 4.25 в.
1 -
оборудование приточной системы; 2 - оборудование вытяжной системы общеобменной
вентиляции; 3,4,5 - помещения или склады категории А, Б и В в любом сочетании с
выходами только наружу; 6 - помещение для вентиляционного оборудования; 7 -
пол; 8 - покрытие; 9 - коллектор; 10 - транзитный воздуховод с пределом огнестойкости по п. 4.118; 11
- обратный клапан в исполнении по п.4.74; 12 - огнезадерживающий клапан; 13 -
резервный вентилятор; 14 - клапан.
Примечание.
Воздуховоды
приточной вентиляции могут быть осуществлены по схеме, принятой для вытяжной
системы, и, наоборот, воздуховоды вытяжной системы могут быть осуществлены по
схеме приточной вентиляции.

Рис. 6. Схемы воздуховодов для помещений категории
А, Б или В с выходами в коридор.
1 - помещения
категории А или Б; 2- коридор; 3 - помещение категории В (без тамбуров-шлюзов
на выходе); 4 - транзитный сборный воздуховод вытяжной системы с нормируемым
пределом огнестойкости по п. 4.118; 5 - участок сборного воздуховода с
нормируемым пределом огнестойкости по п. 4.118 длиной не более 1 м от
ближайшего к вентилятору ответвления до места установки огнезадерживающего
клапана; 6 - огнезадерживающий клапан по п. 4.123 - для помещений категории А и
Б в исследовании по п. 4.74; 7 - транзитный воздуховод с пределом огнестойкости
по п. 4.118, далее присоединяемый к коллектору или вентилятору; 8 -
противопожарная преграда с нормируемым пределом огнестойкости по п. 3.1 СНиП 2.01.02-85*; 9 -
тамбур-шлюз для помещений категории А и Б; 10 - транзитный сборный воздуховод с
пределом огнестойкости 0,5 часа по п. 4.122 СНиП.

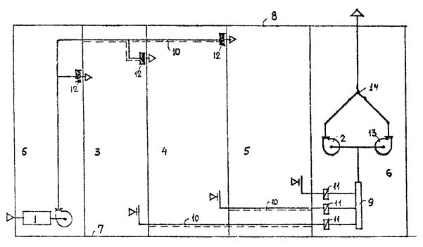
Рис. 7. Схемы воздуховодов
для лабораторных помещений.
1 - воздуховоды
приточной системы для групп помещений (расположены не более, чем на 11 этажах)
категорий В, Г или Д и административно-бытовых помещений с присоединением не
более двух на разных этажах кладовых категории А; 2 - помещения категории В,
разделенные противопожарными преградами; 3 - технический этаж; 4 - помещения
категории В, не разделенные противопожарными преградами; 5 - помещения
категории Г или Д, не разделенные противопожарными преградами; 6 - кладовая
категории А для хранения оперативного запаса исследуемых веществ; 7 -
административно-бытовые помещения; 8 - оборудование и воздуховоды общеобменной
системы для помещений 2, 3, 4, 5 и 7, проектируемой в соответствии с п. 4.26 б,
при условии, что общая площадь присоединяемых помещений к системе не превышает
200 м2 (ветвь П); 9 - общая вытяжная установка и воздуховоды для
общеобменной вентиляции помещения 6 и местного отсоса 10; 11 - вытяжная
установка и воздуховоды для общеобменной вентиляции помещения и местного отсоса
12 от оборудования, не образующего взрыво-пожарной смеси; 13 -
огнезадерживающий клапан, устанавливаемый по п. 4.123; 14 - коридор; 15 -
помещение для вентиляционного оборудования; 16 - обратный клапан по п. 4.91 в
исполнении по п. 4.74; 17 - помещение категории В; 18 - воздуховоды с нормируемым
пределом огнестойкости по п. 4.118.
Примечание.
Огнезадерживающий клапан 13, на воздуховодах помещения 6
- во взрывозащитном исполнении по п. 4.74.
СОДЕРЖАНИЕ