Информационная система
«Ёшкин Кот»

XXXecatmenu

ГОСТ Р 51248-99

ГОСУДАРСТВЕННЫЙ СТАНДАРТ РОССИЙСКОЙ ФЕДЕРАЦИИ

ПУТИ НАЗЕМНЫЕ РЕЛЬСОВЫЕ
КРАНОВЫЕ

Общие технические требования

ГОССТРОЙ РОССИИ

Москва

Предисловие

1 РАЗРАБОТАН АОЗТ «Центральный научно-исследовательский и проектно-экспериментальный институт организации, механизации и технической помощи строительству» и Техническим комитетом по стандартизации (ТК 376) «Эксплуатация строительно-дорожных машин и оборудования»

2 СОГЛАСОВАН с Госгортехнадзором России

3 ВНЕСЕН Управлением механизации, инженерного оборудования и лизинга Госстроя России

4 ПРИНЯТ И ВВЕДЕН В ДЕЙСТВИЕ ПОСТАНОВЛЕНИЕМ Госстроя России от 18 февраля 1999 г. № 8.

5 ВЗАМЕН СНиП 3.08.01-85

СОДЕРЖАНИЕ

Введение

Настоящий стандарт является основополагающим нормативным документом, обязательным для исполнения руководящими и инженерно-техническими работниками, связанными с проектированием, устройством и эксплуатацией наземных рельсовых крановых путей.

При разработке требований стандарта учитывались современные достижения науки и техники, передовой отечественный и зарубежный опыт, а также требования международных стандартов по рельсовым крановым путям.

Основными отличиями этого стандарта являются приоритетность требований, направленных на обеспечение безопасности работы людей, связанных с эксплуатацией, ремонтом и обслуживанием грузоподъемной техники.

В стандарте содержатся, в основном, требования к эксплуатационным характеристикам рельсовых путей, удовлетворяющие потребителя и обеспечивающие безопасную их эксплуатацию.

Средства и способы обеспечения этих требований, а также более подробное описание конструкции, методов расчета и применяемых материалов излагаются в разрабатываемых сводах правил по проектированию, устройству и эксплуатации наземных рельсовых крановых путей.

Настоящий стандарт разработан АОЗТ ЦНИИОМПТ (ответственный исполнитель - Ю.А. Корытов) и Техническим комитетом по стандартизации ТК 376 (ответственный исполнитель - Н.Д. Тимофеев) под руководством Управления механизации, инженерного оборудования и лизинга Госстроя России (Д.П. Добжинский).

ГОСУДАРСТВЕННЫЙ СТАНДАРТ РОССИЙСКОЙ ФЕДЕРАЦИИ

ПУТИ НАЗЕМНЫЕ РЕЛЬСОВЫЕ КРАНОВЫЕ

Общие технические требования

TRACKS OVERLAND RAIL CRANE

Principal specifications

Дата введения 1999-06-01

1 Область применения

Настоящий стандарт распространяется на наземные рельсовые пути, предназначенные для передвижения грузоподъемных кранов (башенных, козловых) и устанавливает требования по их проектированию, устройству и эксплуатации.

Требования стандарта являются обязательными, кроме 4.2.5; 4.3.1; 4.3.7; 4.7; 5.8 и таблицы 1, которые носят рекомендательный характер.

Стандарт может применяться для сертификации.

2 Нормативные ссылки

В настоящем стандарте использованы ссылки на следующие нормативные документы:

ГОСТ 12.3.009-76 ССБТ. Работы погрузочно-разгрузочные. Общие требования безопасности

ГОСТ 12.4.026-76 ССБТ. Цвета сигнальные и знаки безопасности

ГОСТ 23407-78 Ограждения инвентарные строительных площадок и участков производства строительно-монтажных работ. Технические условия

Международный стандарт ИСО 4310. Краны. Правила и методы испытаний

ПБ 10-14-92 Правила устройства и безопасной эксплуатации грузоподъемных кранов (Госгортехнадзор России)

Правила устройства электроустановок (Госэнергонадзор России)

Правила технической эксплуатации электроустановок (Госэнергонадзор России).

3 Общие положения

3.1 Устройство и эксплуатация рельсовых путей должны осуществляться по проектной и конструкторской документации, разрабатываемой в соответствии с требованиями настоящего стандарта и нормативно-технической документации на проектные работы.

3.2 Организации, разрабатывающие проектную и конструкторскую документацию и осуществляющие устройство и эксплуатацию рельсовых путей, должны иметь лицензии на соответствующие виды деятельности, выданные органами лицензирования Госстроя России и Госгортехнадзора России.

(Поправка)

3.3 Рельсовый путь включает: нижнее и верхнее строения, путевое оборудование.

3.3.1 В состав нижнего строения рельсового пути входят: земляное полотно и водоотводное устройство.

3.3.2 В состав верхнего строения рельсового пути входят: балластная призма, подрельсовые опорные элементы, рельсы, стыковые и промежуточные скрепления.

3.3.3 В состав путевого оборудования рельсового пути входят: тупиковые упоры, лотки для предотвращения износа кабеля, питающего электроэнергией кран, ограничители передвижения, ограждение, заземление и предупреждающие знаки.

3.4 Комплект документов должен содержать:

проектную и конструкторскую документацию;

паспорта и сертификаты на элементы (комплектующие изделия и материалы), входящие в состав рельсового пути;

акт сдачи-приемки кранового рельсового пути в эксплуатацию (акт комплексного обследования кранового пути);

разрешение на пуск в работу рельсового пути.

3.5 В составе проектной документации на рельсовый путь приводятся:

выкопировка из стройгенплана;

проект рельсового пути;

проект производства работ на устройство рельсового пути;

требования по эксплуатации рельсового пути.

3.5.1 Проект рельсового пути должен содержать:

план рельсового пути с указанием основных размеров и участка для стоянки крана в нерабочем положении;

конструкцию верхнего строения рельсового пути (тип рельса, подрельсовый опорный элемент, расстояния между ними, тип или конструкция стыковых скреплений, материал и размеры балластного слоя);

конструкцию земляного полотна (поперечный профиль с размерами, расположение и тип водоотводных устройств, степень уплотнения земляного полотна);

допуски, контролируемые при устройстве и эксплуатации;

конструкцию тупиковых упоров, схему заземления рельсового пути;

конструкцию переезда через рельсовые пути для автомобильного транспорта (при необходимости);

указания о месте монтажа крана и регламенте обкатки рельсового пути*;

__________

* Обкатку рельсового пути следует производить краном, башня которого смонтирована на минимальное исполнение, согласно паспортной характеристике.

(Поправка)

пояснительную записку с расчетами и обоснованиями проектных и конструкторских решений.

3.5.2 Проект производства работ (ППР) по устройству рельсового пути должен содержать:

состав и способы производства работ;

методы контроля;

браковочные требования на элементы рельсового пути;

способы устранения отклонений рельсового пути в плане и в вертикальной плоскости от нормативных значений;

периодичность обследования и технического обслуживания.

4 Требования к устройству рельсовых путей

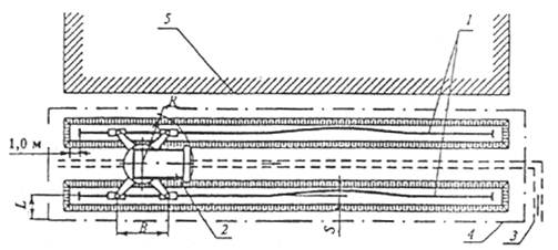
4.1 Общий вид и основные контролируемые параметры рельсовых путей указаны на рисунке 1.

1 - рельсовый путь; 2 - башенный кран; 3 - водоотводное устройство;
4 - ограждение; 5 - возводимое здание

Контролируемые параметры:

А - ширина земляного полотна;

Б = (R - 0,5 K) + 0,7 м - минимальное расстояние от выступающей части здания (штабеля) до оси рельса;

В - база крана;

К - колея пути;

R - наибольший радиус поворотной части крана;

I = (hу/К) - поперечный уклон пути;

hб - толщина балласта;

S - отклонение от прямолинейности рельсового пути;

L* - расстояние от оси (торца) рельса до ограждения (не менее размера «Б»).

Рисунок 1 - Общий вид и основные контролируемые параметры
наземных рельсовых крановых путей

(Поправка)

4.2 К нижнему строению рельсового пути предъявляются следующие требования:

4.2.1 Перед устройством земляного полотна под рельсовые пути должны быть выполнены все работы по прокладке инженерных сетей и коммуникаций.

Подземные коммуникации, расположенные в зоне крановых нагрузок, следует проверить расчетом на прочность и, при необходимости, защитить от деформации и разрушения.

(Поправка)

4.2.2 Продольный уклон земляного полотна должен быть не более 0,003;

поперечный уклон земляного полотна, сложенного из недренирующего грунта, должен быть в пределах 0,008 - 0,01 в сторону от обслуживаемого объекта;

земляное полотно, сложенное из дренирующего грунта, допускается выполнять горизонтальным.

4.2.3 Плотность грунта земляного полотна (выемки и нулевого места) должна быть в пределах 1,55 - 1,75 г/см3 коэффициент уплотнения насыпного грунта земляного полотна - не менее 0,95. Способы уплотнения грунта и методы контроля за его плотностью определяются проектом.

4.2.4 Земляное полотно должно иметь эффективное водоотводящее устройство.

(Поправка)

4.2.5 Устройство земляного полотна в зимний период должно осуществляться по отдельным требованиям к проекту кранового пути с учетом специфики климатических зон.

При устойчивой отрицательной температуре окружающего воздуха во время нахождения крана на объекте допускается укладывать балластный слой без предварительного уплотнения грунтового основания.

(Поправка)

4.3 К верхнему строению рельсового пути предъявляются следующие требования:

4.3.1 Верхнее строение рельсового пути может возводиться как из отдельных элементов, так и с использованием инвентарных секций.

В качестве подрельсовых опорных элементов могут применяться деревянные полушпалы, брусья или железобетонные балки.

4.3.2 Толщина балластного слоя определяется проектом на основании расчетов и зависит от нагрузки на колесо крана, вида грунтового основания, материала балласта и конструкции подрельсовых опорных элементов.

Ориентировочная толщина балласта (для составления технико-экономического обоснования проекта) приведена в таблице 1.

4.3.3 При устройстве рельсового пути с полушпалами стыки рельсов следует располагать между полушпалами, а с железобетонными продольными подрельсовыми элементами - над их стыками.

4.3.4 Конструкции болтовых соединений рельсов должны исключать ослабление затяжки (должны применяться пружинные шайбы, шплинты и т.п.).

4.3.5 Величина зазора в рельсовом стыке не должна превышать 12 мм. Смещение торцов стыкуемых рельсов не должно превышать в плане 2 мм и по высоте 3 мм.

4.3.6 Длина балластной призмы должна превышать длину рельсовой нитки на 1 м в каждую сторону.

4.3.7 При применении железобетонных подрельсовых опорных элементов (балки, плиты, шпалы) между рельсами и поверхностями этих опорных элементов должны устанавливаться прокладки соответствующей упругости.

(Поправка)

4.3.8 Допускаемые отклонения размеров рельсовых путей от проектного значения при их устройстве приведены в таблице 2.

4.4 Расстояния выступающих частей крана до зданий, сооружений, штабелей грузов должны соответствовать требованиям ст. 4.14.5 ПБ 10-14 и ГОСТ 12.3.009.

4.5 К путевому оборудованию рельсового пути предъявляют следующие требования:

4.5.1 На концах рельсового пути (на расстоянии не менее 0,5 м) должны быть установлены тупиковые упоры, предназначенные для гашения остаточной скорости крана и предотвращения его схода с концевых участков кранового пути в аварийных ситуациях, при отказе ограничителя передвижения или тормозов механизма передвижения крана.

Упоры должны быть установлены таким образом, чтобы наезд крана на упоры был одновременным.

Рельсовые пути должны иметь в поперечном направлении фиксирующие элементы (стяжки-распорки), которые устанавливаются в начале и конце рельсового пути, а в промежутке - не менее одного на инвентарную секцию или с шагом не более 6,25 м.

Таблица 1

В миллиметрах


Нагрузка от колеса на рельс, кН

Ориентировочная толщина балласта hб

щебеночного под железобетонными балками

песчаного под железобетонными балками

щебеночного под деревянными полушпалами

при земляном полотне из глинистого, суглинистого или супесчаного грунта и рельсах типов

при земляном полотне из песчаного грунта и рельсах типов

при земляном полотне из глинистого, суглинистого или супесчаного грунта и рельсах типов

при земляном полотне из песчаного грунта и рельсах типов

при земляном полотне из глинистого, суглинистого или супесчаного грунта и рельсах типов

при земляном полотне из песчаного грунта и рельсах типов

Р 50

Р 65

Р 50

Р 65

Р 50

Р 65

Р 50

Р 65

Р 50

Р 65

Р 50

Р 65

До 200

100

100

100

100

100

100

100

100

270

230

100

100

От 200 до 225

100

100

100

100

100

100

100

100

320

280

100

100

От 225 до 250

140

120

100

100

150

130

100

100

370

330

100

100

От 250 до 275

210

190

100

100

220

200

100

100

420

380

100

100

От 275 до 300

300

280

130

110

350

330

130

110

-

-

-

-

От 300 до 325

430

360

150

130

530

520

210

190

-

-

-

-

Примечания

1 При нагрузке на колесо более 275 кН рекомендуется применять железобетонные опорные подрельсовые элементы.

2 Расстояние между осями полушпал следует принимать 500 мм с допускаемыми отклонениями ± 50 мм.

3 В качестве щебеночного балласта следует применять щебень из естественного камня фракции 25 - 60 мм, гравий и гравийно-песчаную смесь фракции 3 - 60 мм (гравий) и 0,63 - 3 мм (песок) по массе не более 20 %.

4 Для изготовления подкрановых рельсовых путей должны применяться новые или старогодние рельсы I и II групп годности.


Таблица 2

Параметры

Предельная величина отклонения при

устройстве

эксплуатации

Продольный и поперечный уклоны рельсового пути*

Не более 0,004

Не более 0,01

Колея рельсового пути

± 10мм от номинального размера

± 15 мм от номинального размера

Прямолинейность рельсового пути на участке длиной 10 м для кранов:

 

 

с жесткими ходовыми рамами

Не более 15 мм

Не более 20 мм

с балансирными тележками

Не более 20 мм

Не более 25 мм

Упругая просадка рельсового пути при максимальной нагрузке на колесо крана и конструкции верхнего строения:

 

 

из деревянных полушпалах

Не более 7 мм

Не более 7 мм

на железобетонных балках

Не более 5 мм

Не более 5 мм

* На участке пути, равном по длине двум базам крана (2 В), поперечные знакопеременные уклоны в указанных значениях не допускаются.

4.5.2 Ограничители передвижения должны быть установлены таким образом, чтобы отключение двигателя механизма передвижения крана происходило на расстоянии не менее тормозного пути до тупикового упора.

4.5.3 Устройство заземления пути необходимо выполнять в соответствии с требованиями Правил устройства электроустановок.

4.5.4 Знаки безопасности выставляют в соответствии с требованиями ГОСТ 12.4.026.

Ограждение рельсового пути следует выполнять по ГОСТ 23407. На рельсовом пути участок стоянки крана в нерабочем состоянии должен быть обозначен табличкой «Место стоянки крана».

4.5.5 Ограничители передвижения и тупиковые упоры должны быть окрашены в соответствии с требованиями ГОСТ 12.4.026.

Металлические детали должны быть предохранены от коррозии.

4.6 Кроме общих требований к устройству рельсовых путей, изложенных в 4.3 и 4.5, следует руководствоваться также условиями на укладку рельсового пути, которые должны содержаться в паспорте крана, соответствующем требованиям международного стандарта ИСО 4310.

4.7 Рельсовый путь перед сдачей-приемкой подлежит обкатке. Обкатка пути производится не менее 10 раз краном без груза и не менее 5 раз с максимальным рабочим грузом. Просадка пути и выявленные дефекты устраняются.

4.8 Готовность рельсового пути к эксплуатации подтверждается актом сдачи-приемки пути по форме в соответствии с приложением 8 ПБ 10-14 или актом комплексного обследования крановых путей (5.3).

4.9 Разрешение на эксплуатацию рельсового пути выдается инженерно-техническим работником но надзору за безопасной эксплуатацией грузоподъемных машин, съемных грузозахватных приспособлений и тары, назначенным согласно требованиям ст. 7.4.2 ПБ 10-14, на основании акта сдачи-приемки или акта комплексного обследования крановых путей.

(Поправка)

5 Требования к эксплуатации

5.1 Рельсовые пути, находящиеся в эксплуатации, должны подвергаться постоянной проверке, периодическому комплексному обследованию, обслуживанию и ремонту.

5.2 Проверка состояния рельсового пути включает:

ежесменный осмотр;

плановую или внеочередную проверку.

5.2.1 Ежесменный осмотр рельсового пути осуществляется машинистом крана в объеме, предусмотренном производственной инструкцией.

В случае обнаружения неисправностей в известность ставится лицо, ответственное за безопасную эксплуатацию грузоподъемных машин.

5.2.2 Плановая проверка состояния рельсового пути проводится после каждых 24 смен работы крана и осуществляется под руководством инженерно-технического работника, ответственного по ст. 7.4.5 ПБ 10-14.

Плановая проверка устанавливает соответствие контролируемых параметров рельсовых путей требованиям настоящего стандарта, проектной и конструкторской документации, и подтверждает, что состояние верхнего строения и путевого оборудования обеспечивают безопасную работу крана.

Результаты плановых проверок заносятся в вахтенный журнал работы крановщика.

Внеочередную проверку рельсовых путей проводят после особо неблагоприятных эксплуатационных условий (ливни, продолжительные оттепели и т.д.), отрицательно влияющих на состояние земляного полотна и балластного слоя, а также при замечаниях машиниста крана.

(Поправка)

5.3 Периодическое комплексное обследование* рельсовых путей проводится специализированными организациями, имеющими государственную лицензию на этот вид деятельности, и включает выполнение следующего комплекса работ:

проверку наличия и состояния эксплуатационной службы и службы надзора за качеством рельсовых путей;

проверку наличия проектной и эксплуатационной документации;

поэлементное обследование рельсовых путей, включая оценку фактического состояния и остаточного ресурса основных элементов верхнего строения рельсового пути;

подготовку результатов комплексного обследования: инструментальные замеры, данные упругой просадки, ведомость дефектов и др.

Результаты комплексного обследования оформляются актом.

Периодичность комплексного обследования рельсовых путей определяется проектом, но должна проводиться не реже 1 раза в 3 года**.

_________

* Порядок и процедура комплексного обследования рельсовых путей регламентируются соответствующими нормативными документами.

** Допускается по согласованию с органами Госгортехнадзора периодичность комплексного обследования увеличивать до 5 лет для редко используемых кранов (не более 500 маш.-ч/год).

5.4 По результатам плановых или внеочередных проверок и комплексного обследования рельсовых путей проводятся работы по их техническому обслуживанию и устранению выявленных дефектов, включая:

восстановление земляного полотна и балластной призмы до проектных значений;

рихтовку и выправку пути по уровню;

подтяжку ослабленных болтовых и винтовых соединений, а также креплений с помощью костылей;

регулировку зазоров в стыках рельсов и выключающих линеек;

восстановление поврежденных участков верхнего строения и контуров заземления;

замену дефектных элементов верхнего строения и путевого оборудования рельсового пути;

очистку водоотводящего устройства.

5.5 Не допускается эксплуатация рельсового пути при следующих дефектах:

5.5.1 На рабочих поверхностях имеются вмятины, лыски и волнистость более 5 мм.

(Поправка)

5.5.2 В болтовых соединениях рельсового пути отсутствуют исправные стопорные детали (пружинные шайбы, шплинты и т.п.) или они затянуты с нарушением момента затяжки, указанного в конструкторской документации.

5.5.3 Наличие трещин в рельсах, в тупиковых упорах, в том числе в сварных швах.

5.5.4 Коррозия деталей рельсового пути в глубину более 4 мм.

5.5.5 Уменьшение площади опирания нижней поверхности подрельсовых опорных элементов - полушпал и балок рельсового пути на площади более 10 %.

5.5.6 В железобетонных подрельсовых элементах имеются обнажения и обрывы арматуры, сплошные опоясывающие и продольные длиной более 300 мм трещины с раскрытием более 0,3 мм, сколы бетона более 100 мм для полушпал и 250 мм для балок.

5.5.7 В деревянных полушпалах имеются: излом, поперечные трещины длиной по торцу более его половины, продольные трещины глубиной более 50 мм и длиной более 300 мм, поверхностная гниль более 20 мм под подкладками и более 60 мм на остальных поверхностях деревянных элементов.

5.6 Эксплуатация и контроль за устройствами заземления должны осуществляться в соответствии с Правилами технической эксплуатации электроустановок.

5.7 Предельные значения отклонений элементов верхнего строения и тупикового оборудования, при которых дальнейшая эксплуатация рельсового пути не допускается, указаны в таблице 2.

5.8 При установке на рельсовых путях грузоподъемных кранов, изготовленных за рубежом, представляется заключение специализированных организаций, имеющих право комплексного обследования крановых путей грузоподъемных машин.

Ключевые слова: крановый путь, нижнее и верхнее строение рельсового пути, путевое оборудование, тупиковые упоры, балластная призма, земляное полотно, контролируемые параметры, допуски, уклон, просадка

 



© 2013 Ёшкин Кот :-)