Информационная система
«Ёшкин Кот»

XXXecatmenu

МИНИСТЕРСТВО АВТОМОБИЛЬНЫХ ДОРОГ РСФСР

Утверждены
Минавтодором РСФСР
8 апреля 1987 г.

УКАЗАНИЯ
ПО ПРОИЗВОДСТВУ ИЗЫСКАНИЙ
И ПРОЕКТИРОВАНИЮ ЛЕСОНАСАЖДЕНИЙ
ВДОЛЬ АВТОМОБИЛЬНЫХ ДОРОГ

ВСН 33-87

Минавтодор РСФСР

МОСКВА "ТРАНСПОРТ" 1988

Указания по производству изысканий и проектированию лесонасаждений вдоль автомобильных дорог. ВСН 33-87. Министерство автомобильных дорог РСФСР. - М.: Транспорт, 1988.

В Указаниях подробно определены состав, содержание, порядок разработки, согласование и утверждение проектной документации, а также осуществления в натуре проектных решений по обустройству автомобильных дорог наиболее важными насаждениями - снегозащитными лесными полосами, а также декоративными и противоэрозионными насаждениями. Даны необходимые методические указания для выбора и обоснования проектных решений.

Предназначены для организаций, занимающихся проектированием насаждении вдоль существующих и запроектированных автомобильных дорог общей сети в равнинных условиях. Они могут быть использованы при обустройстве насаждениями подъездных дорог промышленных и сельскохозяйственных предприятий.

Ответственный за выпуск В.Д. Казанский

Заведующий редакцией В.Г. Пешков

Редактор Л.Н. Пустовалова

Выпущены по заказу Министерства автомобильных дорог РСФСР

Министерство автомобильных дорог РСФСР

Ведомственные строительные нормы

ВСН 33-87

Взамен ВСН 33-66

Указания по производству изысканий и проектированию лесонасаждений вдоль автомобильных дорог

1. ОБЩИЕ ПОЛОЖЕНИЯ

1.1. Проектно-изыскательские работы для создания снегозащитных и декоративных насаждений вдоль автомобильных дорог общегосударственного, республиканского и местного значения осуществляются на основании задания на проектирование, выдаваемого управлениями (объединениями) автомобильных дорог.

1.2. Задание па проектирование должно быть составлено в соответствии с утвержденной схемой размещения снегозащитных устройств и утверждено республиканским министерством, эксплуатирующим автомобильную дорогу, или в порядке, им установленном.

1.3. В заданиях на проектирование указываются:

основание для проектирования (схемы размещения снегозащитных устройств или постановление Совета Министров РСФСР);

технические условия проектирования (границы участков, совмещение функций посадок, перспектива строительства или реконструкции дороги, а также дорожных сооружений и объектов, размещаемых в придорожной полосе, другие данные);

состав проектно-изыскательских работ, масштабы материалов;

сроки выполнения проектных работ, намечаемые сроки создания насаждений;

наименование подрядной организации;

ориентировочный объем капитальных затрат.

1.4. Проектная документация на создание лесонасаждений разрабатывается в одну стадию - рабочий проект со сводным сметным расчетом стоимости.

1.5. Проектирование снегозащитных лесонасаждений должно быть подчинено решению основной задачи - защите дорог от приносимого снега.

Для этого они рассчитываются на задержание объема снегоприноса 10 %-ной обеспеченности1 при объеме его до 250 м3 на 1 м дороги. В отдельных регионах лесонасаждения могут проектироваться при объемах снегоприноса свыше 250 м3/м. В этих случаях следует руководствоваться Указаниями по изысканиям и проектированию защитных лесонасаждений вдоль линий железных дорог СССР (М.: Транспорт, 1974).

______________

1 Процент обеспеченности может быть уточнен в соответствии с методикой, изложенной в приложении 1.

Внесены Государственным дорожным проектно-изыскательским и научно-исследовательским институтом Министерства автомобильных дорог РСФСР (ГипродорНИИ)

Утверждены Министерством автомобильных дорог РСФСР

Срок введения
с 1 января 1988 г.

1.6. Снегозащитные лесонасаждения должны отвечать следующим требованиям, которые необходимо учитывать при проектировании:

вступать в работу по защите дорог от снегозаносов возможно быстрее после посадки;

задерживать и распределять снег (приносимый за зимний период) до дороги;

быть долговечными, устойчивыми против снеголома, пожаров, вредителей и болезней;

оказывать мелиоративное влияние на прилегающие сельскохозяйственные земли;

обладать достаточными декоративными качествами;

обеспечивать возможность применения комплексной механизации на всех этапах выращивания и содержания лесонасаждений;

быть экономически эффективными.

1.7. При разработке проектов необходимо строго выполнять требования Основ земельного законодательства Союза ССР и союзных республик по сохранению сельскохозяйственных угодий, защите почв от эрозии, рациональному отводу и использованию земель.

2. ИЗЫСКАТЕЛЬСКИЕ РАБОТЫ

В состав изыскательских работ входят подготовительные работы, рекогносцировочные обследования и детальные изыскания.

2.1. Подготовительные работы

В процессе подготовительных работ, выполняемых до выезда на объект изысканий, нередко продолжающихся и в полевых условиях, осуществляется сбор всех данных, которые могут быть использованы в ходе изысканий и проектирования:

инструктивно-методическая документация, справочная и научная литература, отчетные данные;

плановый материал землепользований (или части их), по территории которых проходит обустраиваемая лесными насаждениями дорога, выкопировки и выписка из проекта дороги с показом деталей, которые могут иметь существенное значение при проектировании;

выкопировки с почвенных карт полосы детальных изысканий и выписки из пояснительных записок к почвенным картам;

данные об объемах фактического снегоприноса на заносимых участках дороги в границах отдельных ДЭУ, ПДУ, ДРСУ и др., а также по возможности и на близлежащих железных дорогах;

материалы, характеризующие климатические, почвенные и лесорастительные условия в районе прохождения автомобильных дорог.

Из материалов метеостанций и климатических справочников выписывают сведения о температуре и относительной влажности воздуха, осадках, снежном покрове, продолжительности вегетационного периода и др.

При наличии лесопитомников должны быть собраны сведения по их характеристике: занимаемая площадь (общая и полезная), ассортимент древесных и кустарниковых пород, средний выход сеянцев и саженцев с 1 га, возможность и условия получения посадочного материала, условия транспортирования к местам озеленения дороги.

2.2. Рекогносцировочные изыскания

2.2.1. Рекогносцировочные изыскания проводятся в целях предварительного ознакомления с особенностями и условиями работ на обустраиваемом объекте, а также установления степени соответствия натуре плановых материалов, уточнения объема изысканий, разработки плана организации и проведения работ, выявления мест базирования изыскательских партий и т.д.

2.2.2. В процессе рекогносцировочных изысканий изучается существующая система защиты дороги от снежных заносов, оценивается ее эффективность и определяется влияние придорожных объектов, рельефа местности и других факторов на заносимость дороги.

Отбираются участки насаждений, представляющих интерес в отношении конструкций, схем смешения и размещения древесных пород, кустарников с тем, чтобы изучить их при детальных изысканиях и этот опыт учесть в проектировании.

2.2.3. На основных элементах рельефа снегозаносимых участков дорог закладываются почвенные разрезы и устанавливается полнота имеющихся материалов почвенной съемки с точки зрения оценки почв по лесорастительным свойствам и возможности использования материалов для проектирования снегозадерживающих лесных полос. При наличии материалов почвенной съемки, отвечающих требованиям проектирования, почвенные изыскания не проводят. В случае необходимости внесения дополнений и изменений материалы корректируются.

2.2.4. В проведении рекогносцировочных работ, помимо специалистов изыскательских партий, участвуют также представители дорожных организаций, хорошо знающие состояние автомобильных дорог в зимнее время.

2.2.5. При рекогносцировочном обследовании ведется абрис и маршрутный журнал, в котором дается описание участков автомобильной дороги с предложениями по выполнению детальных изысканий.

2.3. Детальные изыскания

2.3.1. Детальные изыскания проводятся с целью получения исходных материалов для составления проекта.

В состав их входят: а) определение годового расчетного снегоприноса заданной обеспеченности; б) общее обследование; в) топографо-геодезические работы; г) почвенные изыскания; д) лесомелиоративные изыскания.

Определение годового расчетного снегоприноса заданной обеспеченности

2.3.2. Для аналитических расчетов приносимого к дороге снега используются систематические наблюдения за ветровым режимом ближайших к автомобильной дороге и представительных1 по ветру метеостанций.

_____________

1 Представительность (репрезентативность) данных метеостанций выясняется запросом республиканских и территориальных управлений по гидрометеорологии и контролю природной среды.

В случаях когда поблизости от дороги расположено несколько метеостанций, трасса по их числу разбивается на отдельные участки, ветровой режим которых должен быть представлен определенной метеостанцией. Представительность метеостанции для участка дороги, кроме близости размещения, обосновывается однородностью рельефа и лесистости территории, близкими отметками над уровнем моря и другими факторами, влияющими на ветровой режим. В соответствии с этими условиями трасса делится на однородные участки и к каждому подбирается представительная для него метеостанция. Если указанные условия по всей трассе автомобильной дороги одинаковые, то граница зон представительства между соседними метеостанциями размещается посередине.

2.3.3. Годовой расчетный снегопринос заданной обеспеченности по направлениям автомобильной дороги относительно стран света определяется на основании методики, приведенной в приложении 2.

2.3.4. Если автодорожные, железнодорожные организации и метеостанции располагают материалами многолетних (не менее чем за 10 зим) натурных замером максимальных снегоотложений около линий защиты, собранных на удалении не более 100 км от объектов изысканий, то эти материалы могут быть использованы для расчетов снегоприноса. Объем снегоотложений, вычисленный по натурным замерам, должен быть выражен в кубических метрах на 1 м защиты и из него вычтен объем снега, который отложился при свободном выпадении из атмосферы. Последний определяется произведением длины сугроба на максимальную за зиму толщину снежного покрова, взятую по данным ближайшей метеостанции.

Для получения объемов снегоприноса вычисленные таким образом объемы задержанного снега перемножаются на повышающие коэффициенты, учитывающие пропущенный (не задержанный) защитами снег. Размер коэффициента принимается в соответствии с типом защиты на снегомерном пункте:

Снегозащитные лесополосы непродуваемой конструкции                                    1,0

Снегозадерживающие заборы, установленные в один ряд                                     1,09

Снегозадерживающие заборы, установленные в два ряда                                      1,03

Переписные щиты, установленные в один ряд                                                        1,14

Переносные щиты, установленные в два ряда                                                         1,03

Коэффициенты применимы только к снегоотложениям у защит, не полностью занесенных снегом.

По вычисленным объемам снегоприноса в порядке уменьшения их величин составляется вариационный ряд, который обрабатывается так же, как и при аналитическом методе расчета (см. приложение 2).

2.3.5. Расчетные объемы снегоприноса, полученные на основании натурных замеров снегоотложений, могут быть применены только к участкам дороги, имеющим одинаковое направление с линией защиты на снегомерных пунктах, аналогичные размеры, характер рельефа и состояние поверхности прилегающей снегосборной площади. В этих случаях аналитический метод расчета (по ветру) имеет только вспомогательное (контрольное) значение.

2.3.6. Общее обследование проводится с целью уточнения расположения снегозаносимых участков дороги, около которых необходимо проводить топографические работы, почвенные и лесомелиоративные изыскания, а также для сбора необходимых материалов для проектирования насаждений.

2.3.7. При общем натурном обследовании осматривают участки дорог, к которым поступает расчетный годовой снегопринос заданной обеспеченности в размере: а) не менее 25 м3 на 1 м дороги, если к ней примыкают орошаемые или осушаемые земли, пахотные угодья; б) не менее 10 м3 на 1 м дороги при примыкании к ней менее ценных сельскохозяйственных земель.

Следует иметь в виду, что на участках с особо ценными сельскохозяйственными землями (их экономическая оценка более 50 баллов) создание снегозащитных лесных полос может допускаться в исключительных случаях.

2.3.8. На плановом материале, собранном во время подготовительных работ и уточненном при рекогносцировочных работах, отмечаются границы заносимых участков дороги.

Категория и степень заносимости определяются по совокупности условий на примыкающих к дороге снегосборных площадях и особенностям трассы дороги (рельефу местности, характеру окружающей растительности, высоте земляного полотна дороги и положению ее в рельефе, наличию населенных пунктов, промышленных объектов и других препятствий на пути снегопереноса).

При прохождении дороги по открытой местности заносимые участки определяются по признакам, указанным в табл. 1.

К заносимым относят участки дорог, пересекающие косогоры, особенно в выемках. Причем наиболее подвержены заносам участки, проходящие по подветренным косогорам и в пределах нижней их части (5-10 м выше подошвы).

Кривые участки дорог принадлежат к более заносимым по сравнению с прямыми.

К заносимым относят также участки дорог с созданными около них снегозащитными лесонасаждениями, если последние не могут задерживать снегопринос заданной обеспеченности.

При прочих равных условиях наименее заносимыми участками являются те, где направление господствующих зимних ветров совпадает с направлением дороги или составляет с ними угол не более 30°.

Таблица 1

Категории и признаки заносимости дороги снегом при прохождении ее по открытой местности и очередность защиты заносимых участков

Категория заносимости участков

Краткая характеристика участка

Очередность защиты

I

Нераскрытые выемки глубиной до 6 м и больше, если их подветренный откос не может вместить весь приносимый в течение зимы снег

В первую очередь

II

Выемки с пологими откосами, разделанные под насыпь, или раскрытые. Нулевые места и невысокие насыпи ниже Нп*

Во вторую очередь

III

Насыпи высотой от Нп* до Нн**

В последнюю очередь

____________

* Нп - средняя многолетняя наибольшая в течение зимы толщина снежного покрова в данной местности.

** Нн - высота незаносимой насыпи в данной местности при толщине снежного покрова заданной обеспеченности.

2.3.9. Полотно дороги считается незаносимым при снегоприносе 10 %-ной обеспеченности1 (на задержание которого рассчитываются лесонасаждения), если высота насыпи обеспечивает условие

Нн = Нс + DН,

где Нн - высота незаносимой насыпи, м; Нс - расчетная максимальная высота снежного покрова в данной местности 10 %-ной обеспеченности2; DН - превышение насыпи над расчетной высотой снежного покрова (для увеличения скорости воздушного потока до величины, обеспечивающей отсутствие отложений на дорожном полотне и беспрепятственное размещение снега, который сбрасывается с дорожного полотна при снегоочистке); DН принимается для дорог IV и V категорий равным 0,5 м, для II и III категорий - 0,6 м, для I категории - 0,8 м.

_____________

1 Процент обеспеченности может быть уточнен в соответствии с методикой, изложенной в приложении 1.

2 Процент обеспеченности может быть уточнен путем расчета по аналогии с методикой в приложении 1.

К незаносимым (при любом профиле дорожного полотна) относят участки дорог: а) проходящие в выемках глубиной более 8,5 м при расчетном годовом снегоприносе до 100 м3 на 1 м дороги; б) пересекающие лесные массивы при ширине участков леса с каждой стороны дороги не менее 100 м и равномерной полноте насаждений не ниже 0,5 м; в) пересекающие сады с шириной их участков с каждой стороны дороги не менее 150 м, а также кустарники не ниже средней густоты, ягодники и виноградники при ширине участков с каждой стороны дороги не менее 250 м; г) пересекающие населенные пункты и промышленные объекты с размещением строений по обеим сторонам дороги.

2.3.10. Снегозаносимые участки автомобильных дорог уточняются по информации специалистов автодорожных организаций.

2.3.11. В процессе общего обследования выявляются (если это предусмотрено заданием на проектирование) участки, требующие: а) осушения, заравнивания, планировки примыкающих к дороге площадей; б) закрепления оврагов, оползней и т.п.; в) защиты от песчаных заносов.

2.3.12. Во время общего обследования ведется полевой журнал, в котором дается оценка участков по снегозаносимости с указанием всех признаков, способствующих и препятствующих отложению снега на полотне дороги, краткое обоснование необходимости декоративного озеленения, противоэрозионных и других мероприятий.

2.3.13. По результатам общего обследования намечаются участки дороги, где будут проводиться специальные топографо-геодезические, почвенные и лесомелиоративные изыскания с целью проектирования снегозащитных, декоративных и противоэрозионных насаждений.

2.3.14. По окончании общего обследования составляется акт, оформляемый подписями руководителя изыскательской партии и полномочного представителя дорожных организаций. В акте показываются все отрезки трассы дороги, на которых целесообразно проектирование обустройства ее насаждениями.

Топографические работы

2.3.15. Топографические работы проводятся с целью получения плановой основы масштаба 1:5000 для проведения почвенного и лесомелиоративного обследований, проектирования насаждений и других мероприятий (см. п. 2.3.11). Эти работы выполняются на основании разрешения, получаемого в установленном порядке.

2.3.16. Плановые материалы, имеющиеся у заказчиков, целесообразно использовать полностью, но в необходимых случаях они подлежат корректировке. При отсутствии планового материала нужного масштаба (1:5000) допускается изготовление его путем увеличения масштаба 1:10000 до масштаба 1:5000 с соответствующей корректировкой.

2.3.17. При отсутствии нужных плановых материалов изыскательские партии производят необходимые съемочные работы в пределах примыкающей придорожной полосы изысканий.

Ширина примыкающих с обеих сторон дороги полос детального обследования (почвенного и лесомелиоративного) устанавливается в зависимости от объема снегоприноса к дороге. При различном расчетном объеме снегоприноса к правой и левой стороне дороги ширина обследования может быть различной.

2.3.18. Для более точного определения объема снегоприноса, помимо детального обследования в пределах указанной выше полосы изысканий, проводится визуальное обследование территории, находящейся за пределами полосы детального обследования (табл. 2).

В полосе визуального обследования на плановом материале должны быть отражены все виды насаждений (леса, кустарниковые заросли, полезащитные и приовражно-балочные лесные полосы, сады, ягодники и т.д.), овраги и балки (с указанием их глубины, ширины поверху, крутизны берегов или откосов, ширимы понизу), населенные пункты, группы строений и все то, что оказывает влияние на снегозадержание. При визуальном обследовании используются планы внутрихозяйственного землеустройства.

Таблица 2

Ширина полосы визуального обследования

Объем снегоприноса, м3

Ширина полосы обследования с каждой стороны дороги, м

визуального

детального

До 100

400

100

» 200

400

100

» 400

350

150

» 600

300

200

2.3.19. В результате съемочно-геодезических работ составляются планы (планшеты) в масштабе 1:5000, на которые наносят ситуацию в полосах обследования (см. приложение 3): а) дороги с выделением полосы отвода и указанием вида покрытий (асфальтобетон, щебеночное и т.п.); б) все пересечения с автомобильными и железными дорогами; в) существующие насаждения, плодовые сады и ягодники; г) гари и вырубки; д) карьеры, отвалы, копани, насыпи, выемки и т.п.; е) реки, озера (пруды), ручьи, болота; ж) овраги и балки; з) населенные пункты, различного рода сооружения, мосты, путепроводы, акведуки, водосбросы и др.; и) границы областей, районов, землепользований; к) сельскохозяйственные угодья (пашня, выгон, луг, залежь и т.д.); л) линии связи и электропередачи.

2.3.20. Ситуация, ее контуры и местные предметы на планах (планшетах) изображаются в условных знаках ГУГКа. Указываются румбы направлений дороги.

2.3.21. Помимо планов (планшетов), составляется обзорная схема автомобильной дороги в масштабе 1:10000-1:50000 на весь обследованный участок дороги, с нанесением отрезков, соответствующих пронумерованным планам (планшетам).

Почвенные изыскания

2.3.22. Основное назначение почвенных изысканий заключается в изучении свойств почв с целью оценки их лесопригодности, правильного подбора древесных пород и кустарников, а также разработки наиболее рациональной агротехники их выращивания.

2.3.23. Почвенные изыскания проводятся в полном или сокращенном (в виде корректировки материалов) объеме в границах полосы детальных изысканий в масштабе 1:10000, а в условиях комплексно почвенного покрова - в масштабе 1:5000.

В полном объеме они выполняются на участках, земли которых нарушены, а также в условиях комплексного почвенного покрова, когда материалы почвенной съемки не отвечают требованиям проектирования насаждений (составлены с точностью масштаба мельче 1:25000). Корректировка материалов осуществляется в случаях, когда требуется внести дополнения и изменения, что было установлено в период рекогносцировочного обследования.

2.3.24. Величина наименьшего выдела, подлежащего нанесению на план при масштабе 1:10000, 100 м полосы обследования, при масштабе 1:5000 - 50 м.

2.3.25. При почвенных обследованиях (корректировке) в качестве планово-картографической основы используется план масштаба 1:5000, полученный в результате топографических работ, с нанесенным инструментальным ходом и уточненными элементами внутренней ситуации в полосе детальных изысканий.

2.3.26. Почвенная съемка должна выполняться в соответствии с требованиями Общесоюзной инструкции по почвенным обследованиям и составлению крупномасштабных почвенных карт землепользования (М.: Колос, 1973) и положений настоящих Указаний. На участках с почвогрунтами, нарушенными промышленными разработками, почвы классифицируются в соответствии с ГОСТ 17.5.1.03-78 «Классификация вскрышных и вмещающих пород для биологической рекультивации». Названия рекультивируемых почв устанавливаются с учетом их строения, наличия гумуса, содержания карбонатов, легко-растворимых солей, степени и характера оглеения, механического состава. Профиль рекультивируемых почв не может рассматриваться как профиль почв, сформированных на одно-, двух- или многочленных отложениях.

2.3.27. Количество разрезов, которое требуется заложить при обследовании, и их глубина заложения определяются по табл. 3.

Таблица 3

Количество почвенных разрезов, приходящихся на 100 га площади обследования, и глубина их заложения

Вид работ

Масштаб изысканий

Количество разрезов при глубине заложения, м, и категории сложности

до 0,75

1,25

2,25

I

II

III

I

II

III

I

II

III

Корректировка материалов почвенной съемки:

 

 

 

 

 

 

 

 

 

 

а) уточнение степени солонцеватости, глубины залегания плотного карбонатного горизонта, степени проявления водной и ветровой эрозии и т.д.

1:5000

1:10000

11

3

20

5

40

8

-

-

-

-

-

-

-

-

-

-

-

-

б) уточнение степени и характера засоления, глубины залегания почвообразующих (подстилающих) пород и др.

1:5000

1:10000

-

-

-

-

-

-

9

2

16

3,5

21

6

2

1

4

1,5

19

2

Почвенная съемка*

1:5000

5

12

25

6

8

15

3

5

10

 

1:10000

1

2

3,5

2

2,5

4

1

1,5

2,5

____________

1 При почвенной съемке прикопки средней глубиной 0,5 м закладываются по мере необходимости, во не менее 2-3 на каждый разрез или полуразрез.

При однообразном почвенном покрове и однотипных почвообразующих породах число закладываемых разрезов и полуразрезов может быть уменьшено.

2.3.28. Разрезы, полуразрезы и прикопки целесообразно закладывать в пределах полосы вероятного размещения будущих насаждений. Они должны быть привязаны к ходовым линиям или пикетам дороги. Нумерация разрезов и полуразрезов принимается общей в пределах всех обследуемых участков дороги.

Описание разрезов и полуразрезов производится по генетическим горизонтам в специальной форме (см. приложение 4).

2.3.29. Образцы почв для лабораторного анализа массой 0,5-0,7 кг отбирают при отсутствии необходимых для обоснования проектируемых мероприятий данных или при расхождении натурных показателей почв (солонцеватость, засоление, гумус, рН, резко влияющие па лесорастительные условия) с их характеристикой по существующим материалам.

В условиях распространения комплексного почвенного покрова в наиболее типичных разрезах отбирают образцы из солонцового, надсолонцового и подсолонцового горизонтов. Для уточнения степени солонцеватости в них определяются поглощенные кальций, магний и натрий - в некарбонатных почвах, емкость поглощения и натрий - в карбонатных. Из горизонтов, в которых качественными реакциями установлены легкорастворимые соли, отбирают образцы для определения водной вытяжки.

С целью выявления степени эродированности образцы берут из пахотного и подпахотного слоев (до 0,5 м) на определение содержания гумуса и реакции среды. В необходимых случаях отбирают образцы и определяют механический состав, содержание карбонатов, гипса и др.

2.3.30. Число разрезов, из которых отбирают образцы для лабораторного анализа, в районах с комплексными почвами (засолением, солонцеватостью) составляет не более 20 %, в остальных случаях - не более 10 % общего числа заложенных разрезов и полуразрезов.

2.3.31. Разрезы, полуразрезы, прикопки и границы почвенных выделов наносятся на план непосредственно в полевых условиях.

2.3.32. Одновременно с почвенным обследованием проводится учет почвенных вредителей (проволочников, хрущей, медведок и др.), для чего используются одни и те же почвенные разрезы.

2.3.33. Гидрометеорологические условия изучают при почвенных и лесомелиоративных изысканиях. Глубина залегания грунтовых вод и верховодки определяется в почвенных разрезах и водозаборных колодцах. Отмечаются места выклинивания грунтовых вод и выхода капиллярной каймы на дневную поверхность, дебит родников. При наличии признаков засоления воды степень и характер ее минерализации устанавливают по пробе, взятой для лабораторного анализа.

Собранные в полевых условиях гидрогеологические сведения приводятся в карточках описания почвенных разрезов и журнале полевых лесомелиоративных изысканий.

Лесомелиоративные изыскания

2.3.34. Цель лесомелиоративных изысканий - изучение в натуре опыта лесомелиоративных работ, сбор сведений об условиях применения лесомелиоративных мероприятий для защиты дорог от снежных заносов и выбора в соответствии с ними наиболее рациональных проектных решений.

2.3.35. Обследование проводится в полосе изысканий (см. пп. 2.3.17, 2.3.18) для выявления наиболее существенных деталей ситуации, оказывающих влияние на снегозаносимость дороги. Все виды преград на пути снегопереноса наносят на абрис и описывают под соответствующей литерой в журнале полевых лесомелиоративных изысканий (см. приложение 5) с указанием задерживаемого объема снега в пределах конкретного отрезка дороги каждым видом преград. Даются размеры всех прилегающих балок и оврагов в трех измерениях, показывают заложения берегов (откосов). Аналогичные показатели приводятся для значительных понижений и возвышений. Лесные насаждения и кустарниковые участки (независимо от их происхождения) характеризуются по длине и ширине занятой ими площади, по высоте древостоев, полноте и составу пород.

2.3.36. Существующий снегозадерживающий комплекс на прилегающей к дороге территории оценивается с целью введения на него поправок в расчетные объемы снегоприноса.

Поправочные коэффициенты на ширину снегосборной площади используются при проектировании снегозащитных насаждений в западной и центральной частях европейской территории РСФСР и принимаются следующими:

Ширина снегосборной площади, м                     100        200        300        400        500

Коэффициент редукции К                                   0,2         0,4         0,6         0,7         0,8

2.3.37. Объемы задерживаемого препятствиями снега в зоне детального и визуального обследований определяются в соответствии с табл. 4.

2.3.38. Объем снега, откладывающийся у неровностей рельефа (склонов холмов, откосов оврагов и т.п.) на 1 м их длины, устанавливается расчетом (табл. 5).

2.3.39. Лесомелиоративные выделы должны представлять собой участки, однородные по лесорастительным условиям, отличающиеся от соседних выделов по основным признакам (рельефу, почвенно-грунтовым особенностям, характеру хозяйственного использования и состоянию угодий, по намечаемой агротехнике обработки почвы, типу лесных культур и т.п.). Выделы должны иметь единую нумерацию в пределах планшета или более крупных участков дороги.

Таблица 4

Снегозадерживающая способность препятствий (по данным Союздорпроекта)

Характеристика растительности и рельефа снегосборного бассейна

Снегозадерживающая способность

Высокоствольный лес шириной более 100 м

Полное задержание на залесенной площади, увеличенной со всех сторон, с учетом ветровой тени, равной пятикратной высоте леса

Речные поймы, поросшие кустарником; овражные русла при ширине более 100 м, глубине более 8 м с крутизной откоса 1:1

Полное снегозадержание

Кустарники средней густоты при ширине массива, м:

 

более 250

менее 250

Полное снегозадержание

W = 0,5Sh1,

где W - объем задерживаемого снега, м3; S - ширина кустарникового массива, м; h1 - средняя высота кустарника, м

Таблица 5

Расчет объема снега, откладывающегося у неровностей рельефа

Заложение откосов

Формулы расчета объема и снега, м3/м, для склонов и откосов

наветренных

подветренных

1:0,5

2h2

10h2

1:1

1,25h2

3h2

1:2

0,75h2

2h2

1:3

0,25h2

1,25h2

1:4

0,1h2

0,5h2

1:5

0,025h2

0,1h2

1:6

0,0lh2

0,075h2

Примечания. 1. h - глубина понижений или высота возвышении рельефа, м.

2. Возвышенности и понижения с меньшими уклонами при редукции расчетного снегоприноса во внимание не принимаются.

2.3.40. При описании лесомелиоративных выделов необходимо осветить все вопросы, позволяющие обосновать агротехнику создания насаждений, их проектные параметры, определить другие необходимые мероприятия для решения тех или иных задач:

участки сельскохозяйственного пользования (пашни, сенокосы, луга и т.д.), которые характеризуются по засоренности корневищными и корнеотпрысковыми сорняками;

на площадях с легкими, развеваемыми почвами определяется необходимость и полнота проведения мероприятий по борьбе с ветровой эрозией, а также даются рекомендации о системе обработки почвы;

на оврагах и балках устанавливается степень развития процессов эрозии, необходимость и срочность проведения работ по закреплению размывов и оврагов с указанием вида этих работ - облесение, залужение, строительство водозадерживающих валов или водосборных сооружений и т.д.;

на участках с созданными снегозащитными лесонасаждениями определяется степень их полезности, а также определяется возможность включения в систему проектируемых защитных лесонасаждений. В необходимых случаях предусматриваются мероприятия по реконструкции, дополнению насаждений, проведению рубок ухода и т.д. При грубых нарушениях в закладке насаждений необходимо наметить мероприятия, предотвращающие вредные последствия неправильного обустройства;

участки леса, примыкающие к дороге и являющиеся естественной защитой от снежных заносов, подлежат таксационному описанию на всю ширину полосы детального обследования с указанием их санитарного состояния, степени захламленности, а также мероприятий по улучшению снегозащитных функций;

на прилегающих, не покрытых лесом землях государственного лесного фонда (вырубки, прогалины, гари и т.д.) определяется необходимость облесения этих площадей в целях защиты дороги, а при наличии самосева или подроста дается их описание с оценкой благонадежности и рекомендуются меры по улучшению состояния данной территории.

2.3.41. По завершении изыскательских работ вычерчивают планы (планшеты) с предварительным размещением запроектированных мероприятий. Планы служат основой для согласования с землепользователями вопросов отвода земель под снегозащитные лесонасаждения и для согласования размещения лесонасаждений с организациями, в чьем ведении находятся линии связи, электропередачи, нефте-, газопроводов и других коммуникаций, которые будут располагаться в непосредственной близости от этих насаждений.

2.4. Основные положения проекта

2.4.1. В заключение изысканий на основании всех собранных и подготовленных материалов разрабатывают Основные положения рабочего проекта, которые в краткой форме должны содержать все принципиальные вопросы, требующие обсуждения на техническом совещании у заказчика, а также спорные, по которым должны приниматься определенные решения.

В число вопросов, рассматриваемых Основными положениями рабочего проекта, входят: а) протяженность и характеристика снегозаносимых участков дороги; б) объемы мероприятий; в) площади земель по землепользователям и видам угодий, намеченные под снегозащитные лесонасаждения и другие мероприятия; г) результаты согласования вопросов землеотвода и размещения лесонасаждений с заинтересованными организациями, размеры возмещения убытков землепользователям и потерь сельскохозяйственного производства при отводе земель; д) схемы смешения и размещения древесных и кустарниковых пород в лесонасаждениях; е) посевной и посадочный материал, намеченный для создания лесонасаждений; ж) организация работ - исполнители, очередность выполнения мероприятий, технология производства работ, источники получения посевного и посадочного материала; з) охрана защитных лесонасаждений.

2.4.2. Основные положения рабочего проекта рассматриваются на технических совещаниях у заказчика, которому они передаются не позднее чем за 10 дней до совещания.

На техническое совещание приглашаются все заинтересованные стороны - представители подрядчика, которому предстоит осуществлять проект, представители сельскохозяйственных организаций, чьи земли намечены к отводу под лесонасаждения, представители других организаций (см. п. 2.3.41).

3. ПРОЕКТИРОВАНИЕ ЛЕСОНАСАЖДЕНИЙ

3.1. Размещение снегозащитных лесных полос вдоль дорог, их ширина, конструкция, ассортимент пород и типы смешения

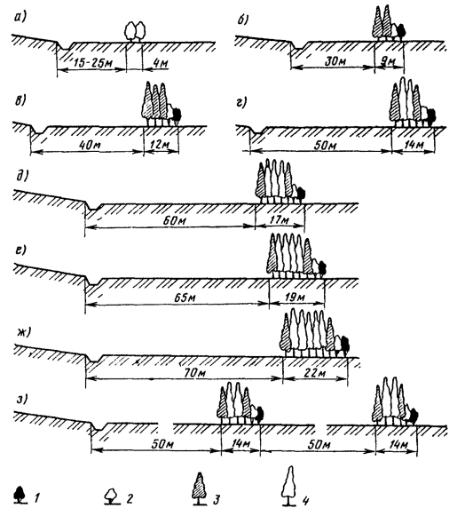
3.1.1. Снегозащитные лесные полосы размещаются на расстоянии 15-70 м от бровки дороги. Конкретное расстояние, ширина лесных полос с закрайками и величина разрывов между лесными полосами определяются в зависимости от объема снегоприноса (табл. 6 и рис. 3.1). Сокращать расстояния, указанные в табл. 6, не допускается.

3.1.2. В связи с возможностью переноса снега под углом по отношению к оси дороги, снегозащитные лесные полосы проектируются длиннее защищаемого участка дороги на 50-100 м. В условиях снегоприноса более 100 м3 эта величина должна быть обоснована расчетом для ветров под углом более 30° с учетом расстояния между лесными полосами и защищаемым участком дороги.

3.1.3. Для обеспечения видимости на пересечениях и примыканиях автомобильных дорог в одном уровне снегозащитные лесонасаждения размещаются в соответствии с рис. 3.2. Расчетные расстояния видимости поверхности дороги (La, Lд) должны соответствовать расчетным скоростям движений на пересекающихся дорогах и приниматься по табл. 7, а ширина примыкающей к дороге полосы, обеспечивающая боковую видимость (Lб), должна составлять 25 м (от кромки проезжей части) для дорог I-III категорий и 15 м для дорог IV и V категорий.

Таблица 6

Размещение лесных полос в зависимости от объема снегоприноса

Расчетный объем снегоприноса, м3

Расстояние от бровки земляного полотна до лесонасаждений, м

Ширина разрыва между лесонасаждениями, м

Ширина полос отвода земель для лесонасаждений, м

10-25

15-25

-

4

50

30

-

9

75

40

-

12

100

50

-

14

125

60

-

17

150

65

-

19

200

70

-

22

250

50

50

14

Рис. 3.1. Типовые схемы снегозащитных насаждений автомобильных дорог:

а - при объеме снегоприноса до 25 м3/м; б - до 50 м3/м; в - до 75 м3/м; г - до 100 м3/м; д - до 125 м3/м; е -до 150 м3/м; ж - до 200 м3/м; з - до 250 м3/м; 1 - кустарники низкие; 2 - кустарники высокие; 3 - деревья низкокронные; 4 - деревья высококронные

3.1.4. При большой длине снегозащитной лесной полосы, проектируемой на сельскохозяйственных угодьях, необходимо предусматривать технологические разрывы по 10-15 м через каждые 800-1000 м для прохода сельскохозяйственных машин.

Рис. 3.2. Схема обеспечения видимости на пересечениях и примыканиях автомобильных дорог

3.1.5. По согласованию с землепользователями на время ухода за почвой в междурядьях и закрайках лесных полос последние могут быть без отвода земель увеличены до ширины междурядий.

3.1.6. Снегозащитные лесные полосы должны иметь плотную (непродуваемую) конструкцию. С этой целью в лесные полосы включаются низкие кустарники высотой до 2 м, высокие кустарники высотой более 2 м, низкокронные и высококронные деревья.

Таблица 7

Расчетные расстояния видимости поверхности дороги

Расчетная скорость, км/ч

Lа, Lд, м, в зависимости от категории дороги

I-V

IIIп, IVп*

150

250

-

120

175

-

100

140

-

80

100

-

60

75

125

50

60

100

40

50

75

30

40

50

______________

* Для автомобилей особо большой грузоподъемности при высоте глаза водителя 2-3 м от полотна дороги.

Обязательным элементом каждой лесной полосы должна быть густая двухрядная кустарниковая опушка в сочетании с несколькими рядами низкокронных деревьев.

3.1.7. На основе типовых схем снегозащитных лесонасаждений (см. рис. 3.1) должны проектироваться рабочие схемы лесных полос для каждого конкретного участка. Их составляет проектная организация. В рабочей схеме определяются видовой состав древесных и кустарниковых пород, их размещение по рядам, а также число рядов, ширина междурядий и расстояния между растениями в рядах.

3.1.8. Расстояние между рядами деревьев и кустарников в лесной полосе должно быть одинаковым и в благоприятных лесорастительных условиях принимается в размере 2,5 м, а в тяжелых условиях - 3-3,5 м. Расстояние между древесными породами в ряду принимается 1-2 м, между кустарниками - 0,5-1 м.

3.1.9. Подбор древесных и кустарниковых пород для снегозащитных лесонасаждений производят с учетом лесорастительных условий каждого конкретного участка лесонасаждений, биологических и снегозадерживающих особенностей деревьев и кустарников, а также требований, указанных в п. 1.6.

3.1.10. Рекомендуемый ассортимент древесных и кустарниковых пород для снегозащитных лесных полос автомобильных дорог указан в табл. 8 и может быть расширен на основе изучения местного опыта.

3.1.11. Породы, используемые для живых изгородей, должны хорошо переносить систематическую стрижку.

Одной из лучших хвойных пород для устройства живых изгородей является ель. Еловые изгороди образуют плотную преграду для снеговетрового потока, причем ель наиболее устойчива против снеголома.

Из лиственных пород для устройства живых изгородей рекомендуются: ива белая, вяз обыкновенный, акация желтая, лещина, алыча, лох узколистный, сирень, боярышник, ирга, тамарикс. Для создания непроходимых колючих изгородей используют шиповник, боярышник, а в южных районах - гледичию.

Указанный ассортимент пород деревьев и кустарников для живых изгородей может быть расширен.

3.1.12. Живые изгороди создают из одной породы. При большой протяженности через некоторые промежутки меняют породу во избежание монотонного вида и массового повреждения грибковыми болезнями или насекомыми-вредителями.

В еловых изгородях через каждые 100-200 м следует включать перемычки длиной не менее 10 м из лиственных пород в противопожарных целях.

3.1.13. В насаждения не следует вводить березу, плодово-ягодные деревья и кустарники, а также породы, являющиеся очагом распространения грибковых болезней и насекомых-вредителей (например, барбарис - передатчик черной и линейной ржавчины зерновым культурам; крушина - передатчик корончатой ржавчины овсу).

3.1.14. Древесные и кустарниковые породы в лесных полосах должны размещаться «чистыми» рядами, т.е. каждый ряд лесной полосы должен состоять из одной породы деревьев или кустарников. Чередование разных пород в одном ряду как при посадке лесных полос, так и при дополнительных посадках не допускается.

3.1.15. При объемах снегоприноса 25-100 м3/м допускается проектировать насаждения с древесным ярусом из одной породы низкокронных деревьев во всех рядах с сохранением кустарниковой опушки.

3.1.16. В тех случаях, когда вдоль заносимых участков дорог имеются неудовлетворительные по конструкции, составу пород, размещению и другим признакам снегозащитные насаждения, которые нельзя исправить рубками ухода, проектом должны быть предусмотрены мероприятия по их усилению путем увеличения ширины таких насаждений или создания дополнительных лесных полос.

Таблица 8

Рекомендуемый ассортимент пород деревьев и кустарников

Древесные и кустарниковые породы

Зона

лесная

лесостепная

степная

сухостепная

Низкие кустарники

 

 

 

 

Смородина золотистая

+

+

+

+

Шиповник

+

+

+

+

Спирея средняя

+

+

+

+

» рябинолистная

+

+

+

+

Дерен сибирский

+

+

-

-

» красный

-

-

+

+

Жимолость татарская

+

+

+

+

Высокие кустарники

 

 

 

 

Акация желтая

+

+

+

+

Ива пурпурная

+

+

-

-

Ирга круглолистная

+

+

+

+

Вишня магалебская

-

-

+

+

Сирень обыкновенная

+

+

+

-

Скумпия

-

-

+

+

Гордовина

-

+

+

-

Клен татарский

+

+

+

+

Тамарикс

-

-

-

+

Лещина

+

+

-

-

Низкокронные деревья

 

 

 

 

Берест

-

+

+

+

Вяз обыкновенный

+

+

+

+

Ильм (е)

-

+

+

+

Клен ясенелистный

+

+

+

+

» полевой

-

-

+

+

Шелковица белая (е)

-

-

+

+

Высококронные деревья

 

 

 

 

Сосна обыкновенная

+

+

+

+

Тополь канадский

+

+

+

+

» бальзамический

+

+

+

+

» белый

-

-

+

+

Ива белая

+

+

+

+

Дуб черешчатый (е)

+

+

+

+

Вяз приземистый

-

-

+

+

Ясень ланцетный

-

-

+

+

Ель обыкновенная

+

+

-

-

Лиственница сибирская

+

+

+

-

Примечание. Знаком + указывается пригодность породы для дайной зоны, знаком - непригодность, буквой е пригодность только для Европейской части Советского Союза.

3.1.17. Увеличение ширины насаждений проектируется в следующих случаях: а) в насаждениях, расположенных на расстояниях от дороги, которые соответствуют объему снегоприноса, но имеющих недостаточную густоту по ярусам (насаждения без густой кустарниковой опушки или изреженные в древесном ярусе), когда рубками ухода невозможно повысить их защитные свойства; б) в насаждениях, имеющих плотную конструкцию, но расположенных на расстояниях от дороги, меньших, чем это необходимо для задержания соответствующих объемов снегоприноса.

3.1.18. Увеличение ширины насаждений производится путем посадки или посева с полевой стороны этих насаждений не более шести-семи дополнительных рядов деревьев и кустарников.

Их число определяется в зависимости от объема снегоприноса и работоспособности имеющихся насаждений. При этом исходят из необходимости обеспечить плотную конструкцию лесных полос и соответствующее объему снегоприноса расстояние от наветренной опушки насаждений до бровки земляного полотна. Расстояния между дополнительными рядами принимаются 2,5-3,5 м.

3.1.19. Плотная конструкция лесных полос создается посадкой с полевой стороны дополнительной двухрядной кустарниковой опушки, а при изреженности имеющихся насаждений в древесном ярусе - посадкой кустарниковой опушки в сочетании с несколькими рядами низкокронных и высококронных деревьев.

3.1.20. Расстояния от первого полевого ряда новой наветренной опушки насаждений до бровки земляного полотна дороги должны быть не менее указанных в табл. 9.

3.1.21. Дополнительные лесные полосы проектируются обычно при объемах снегоприноса 100 м3/м и более в тех случаях, когда имеющиеся насаждения, расположенные на недостаточном удалении от дороги, нецелесообразно усиливать путем увеличения их ширины в связи с необходимостью посадки более шести-семи рядов деревьев и кустарников.

3.1.22. При создании дополнительных лесных полос часто возникает необходимость одновременного усиления имеющихся придорожных насаждений путем увеличения их ширины.

Типовые схемы размещения дополнительных лесных полос в сочетании с усилением существующих придорожных насаждений принимаются в соответствии с объемом снегоприноса (рис. 3.3). Величина параметров l1, l2 и d зависит от ширины существующей лесной полосы с, ее расстояния до дороги l и ширины дополнительных лесных полос а.

3.1.23. Ассортимент древесных и кустарниковых пород и их размещение в дополнительных лесных полосах и при уширении существующих насаждений проектируется в соответствии с рекомендациями пп. 3.1.9-3.1.15.

Таблица 9

Расстояния между бровкой дороги и полевой опушкой дополнительных лесных полос

Объем снегоприноса, м3

Расстояние от новой полевой опушки насаждений до бровки земляного полотна дороги, м

для полевой лесополосы с закрайкой

для придорожной лесополосы в двухполосных насаждениях без закрайки

25

29

-

50

39

-

75

52

37,5

100

64

37,5

125

77

37,5

150

84

37,5

200

94

37,5

Рис. 3.3. Типовые схемы усиления существующих снегозащитных насаждений:

а - при объеме снегоприноса до 25 м3/м; б - до 50 м3/м; в - до 100 м3/м; г -до 150 м3/м; д - до 250 м3/м; 1 - кустарники низкие; 2 - кустарники высокие; 3 - деревья низкокронные; 4 - деревья высококронные

3.2. Технология создания новых и усиления существующих защитных лесонасаждений

3.2.1. Агротехника выращивания снегозащитных лесонасаждений вдоль автомобильных дорог разрабатывается с учетом почвенно-климатических условий, податливости почв дефляционным процессам, засоренности и задернованности угодий.

3.2.2. Почву под лесные полосы готовят в основном по системе черного пара, а на землях, подверженных дефляции, - по системе раннего пара. В лесной, лесостепной и северной части степной зоны (включая обыкновенные черноземы) допускается закладка лесных полос по ранней зяби с проведением основной вспашки на глубину 27-30 см, с углублением пахотного слоя почвоуглубителями до 35-40 см.

3.2.3. На подзолистых или смытых почвах основная вспашка с оборотом пласта должна производиться на глубину плодородного (гумусированного) слоя, а нижний слой рыхлится почвоуглубителями на глубину 35-40 см.

Основной вспашке предшествует лущение стерни или дискование дернины на глубину 6-8 см.

3.2.4. На южных черноземах и каштановых почвах обязательно применение плантажной вспашки с одно-, двухлетним парованием или специальной мелиоративной вспашки. При достаточно влажной почве плантажную вспашку проводят осенью в качестве основной подготовки на глубину 50- 60 см с рыхлением в последующую осень на глубину 27-30 см. При недостаточной влажности основную вспашку проводят на глубину 27-30 см, а плантажирование - осенью следующего года. На почвах, подверженных ветровой эрозии, плантажную вспашку осуществляют весной.

Плантаж поднимают плугами ППУ-50А и ППН-50 в агрегате с тракторами класса 60-100 кН, а вспашку комплексных почв с солонцами - ярусными плугами ПТН-40 и ПТН-3-40.

Глубокая мелиоративная вспашка ярусными плугами на солонцеватых и солончаковатых почвах должна быть направлена на создание мощного корнеобитаемого пахотного слоя вследствие разрушения уплотненного солонцового горизонта, вовлечение в пахотный слой кальциевых солей при глубине их залегания от поверхности до 40 см, улучшение водно-физических свойств почвы, что способствует удалению вредных солей, образовавшихся в результате реакции обмена.

Глубину и способы мелиоративной вспашки принимают в каждом конкретном случае в зависимости от мощности надсолонцового слоя, глубины залегания солей кальция (карбонатов и гипса), глубины залегания, качественного состава и количества легкорастворимых солей и т.д.

На почвах с близким залеганием к поверхности очень плотного карбонатного горизонта (50-70 см) проводят глубокое рыхление рыхлителями РТН-2-25, РН-60, РН-80, ОРН-2,5.

3.2.5. В целях сохранения влаги в черном пару ранней весной следующего после вспашки года проводят покровное боронование на глубину 6-8 см зубовыми боронами БЗСС-1,0 или БЗТС-1,0 со сцепкой С-11У в агрегате с трактором класса 14-30 кН. В течение вегетационного периода по мере прорастания сорняков осуществляют 4-5-кратную послойную культивацию пара культиваторами КПС-4, КРГ-3,6, КШ-3,6А и др., а в агрегате с зубовыми боронами БЗСС-1,0 - трактором класса 14 кН.

В лесной, лесостепной зонах и в северной степи осеннюю безотвальную перепашку пара производят плугами общего сельскохозяйственного назначения на глубину до 40 см, а в сухой степи - плантажными плугами на глубину 50-60 см.

3.2.6. На светло-каштановых почвах рекомендуется двухлетний черный пар.

3.2.7. На участках, податливых дефляции, почву готовят по системе раннего пара, начиная с весенней вспашки (после периода сильных ветров), на глубину 27-30 см плугом ПЛН-4-35 в агрегате с тракторами класса 30 кН. В течение лета культиваторами-плоскорезами КПЭ-3,8, КПУ-400 и др. с тракторами класса 14-30 кН культивируют пар 2-3 раза на глубину 10- 14 см, а осенью перепахивают на глубину 50-60 см.

3.2.8. В год закладки насаждений ранней весной проводят весеннее покровное боронование боронами БЗСС-1,0 и БЗТС-1,0, а на средних и тяжелых по механическому составу почвах, кроме того, предпосевную или предпосадочную культивацию. Предпосевное рыхление проводится на глубину заделки семян, а предпосадочное в лесной и лесостепной зонах - на глубину 12-14 см, в степи - на 14-16 см.;

3.2.9. При проектировании подготовки почвы необходимо соблюдать региональные требования, предъявляемые к выращиванию защитных лесонасаждений.

3.2.10. Посадка (посев) лесных полос предусматривается в проектах, как правило, рядовым способом весной. В европейской части РСФСР при наличии положительного местного опыта могут проектироваться и осенние посадочные (посевные) работы.

Посадка большинства древесных пород и кустарников производится одно-, двухлетними сеянцами. Ель лучше высаживать саженцами, тополя, иву и тамарикс - однолетними окорененными черенками, дуб высевать желудями. На лесопосадочных работах применяются машины ССН-1 в одно-, двух- и трехрядном вариантах, СЛЧ-1 в одно- и многорядном вариантах, могут использоваться также машины ЛМГ-2, МЛУ-1, МПП-1. Для посева желудей применяются сеялки СЖУ и СЖН-1. Навесные лесопосадочные машины и сеялки комплектуются в широкозахватные агрегаты с помощью сцепок СБ-9 и СН-75.

В условиях достаточного увлажнения могут использоваться крупномерные саженцы, для механизированной посадки которых применяются лесопосадочные машины МПС-1, МЛ-1, ЛПА, СЛНУ-1, ЛМБ-1. После посадки сеянцев междурядья лесных культур боронуют зубовыми боронами.

3.2.11. На почвах, подверженных сильной дефляции, для защиты корневой системы молодых растений от обнажения, а также для задержания в культурах снега, на наветренных закрайках будущих лесополос могут быть запроектированы кулисы из высокостебельных сельскохозяйственных растений (горчицы, подсолнуха и др.).

3.2.12. Дополнение культур предусматривается на следующий год после посадки. Расход посадочного материала на дополнение определяется природной зоной и его видом: при посадках сеянцами и лесной зоне 10 %, в лесостепной 15 %, в степной 20 %, в сухой степи 25 %; при посадке саженцами в лесной и лесостепной зонах дополнение устанавливается в размере 15 %.

3.2.13. Число уходов за почвой при создании защитных лесонасаждений вдоль автомобильных дорог устанавливается в зависимости от природной зоны (табл. 10).

Культивация междурядий и закраек лесополос выполняется культиваторами КЛ-2, 6, ПРВН-2,5, ПРВМ-3, КРТ-3 (для междурядий 2,5 и 3 м), а уход за почвой в рядах до достижения культурами высоты 1 м - культиватором КРЛ-1А. Эти культиваторы агрегатируются с тракторами класса 14-30 кН. В культурах высотой от 1 до 2 м обработку почвы в междурядьях и рядах рекомендуется проводить одновременно с использованием культиваторов КЛ-2,6 (ПРВН-2,5, ПРВМ-3) и КБЛ-1 в агрегате с трактором класса 14 кН.

Для ухода в междурядьях шириной 3,5 м могут применяться культиваторы КРТ-3, КРШС-2,8А, КСГ-5.

В посадках высотой более 2 м борьба с сорняками в рядах осуществляется вручную или с применением гербицидов.

3.2.14. Снегозащитные лесные полосы создаются также посевом семян древесных и кустарниковых пород или комбинированным способом (посевом и посадкой). Метод загущенного посева позволяет резко повысить плотность рядов молодых лесных полос, начиная с первых лет после их закладки. Посев семян производится применительно к установленным схемам посадки сплошной строчкой или лунками, равномерно распределенными в ряду.

3.2.15. Для создания снегозащитных лесных полос методом посева рекомендуются примерные нормы высева и глубина заделки семян (табл. 11).

3.2.16. Нормы высева семян устанавливают из расчета получения сеянцев в 2-4 раза больше, чем высаживается при посадке.

3.2.17. Лучшим сезоном для посева является осень, когда можно высевать семена следующих пород: без предварительной подготовки (стратификации и т.п.) - акации желтой, аморфы, бирючины, вяза обыкновенного и мелколистного, дуба (в южных и западных районах), клена остролистного и ясенелистного, лоха узколистного, явора, ясеня пушистого и зеленого; после стратификации (пескования) с момента сбора до посева - алычи, вишни, магалебки, скумпии, терна.

Таблица 10

Число уходов за почвой в молодых лесных полосах

Возраст полос

Лесная зона и лесостепь

Степь

Сухая степь

Уходы

в междурядьях и закрайках

в рядах

в междурядьях и закрайках

в рядах

в междурядьях и закрайках

в рядах

1

4

3-4

4-5

3-4

4-5

4-5

2

4

3-4

4-5

3-4

4-5

3-4

3

3-4

2-3

3-4

2-3

3-4

2-3

4

2-3

1-2

2-3

1-2

2-3

1-2

5

2

-

2

1

2

1

6

-

-

2

-

2

-

7

-

-

2

-

2

-

8

-

-

2

-

2

-

9

-

-

-

-

2

-

10

-

-

-

-

2

-

Всего

15-17

9-13

21-25

10-13

25-29

11-15

Примечания. 1. В отдельных случаях при имеющемся положительном местном опыте число уходов может быть уменьшено.

2. К числу уходов в междурядьях относится ежегодное осеннее рыхление на глубину до 16 см.

Таблица 11

Нормы высева и глубина заделки семян деревьев и кустарников

Древесные и кустарниковые породы

Количество семян 1-го сорта взамен одного сеянца при посадке

Глубина заделки семян, см

Дуб

4

6-10

Ясень (обыкновенный, пушистый, зеленый)

15-20

4-5

Клен (остролистный, ясенелистный, явор, татарский)

15-25

3-4

Вяз (обыкновенный, мелколистный)

50

1-2

Акация белая

20

4-5

Лох узколистный

20

4-5

Акация желтая

15

3-4

Лещина

5

5-6

3.2.18. Весной семена высеивают после соответствующего хранения или стратификации, как принято в лесопитомниках.

3.2.19. Посев семян выполняют сеялками или вручную в бороздки, подготовленные двухрядным сеяльным маркером или мотыгами. Бороздки с засеянными семенами заделывают мотыгами.

3.2.20. Осенние и весенние посадки и посевы подвергают весеннему покровному боронованию для сокращения испарения влаги из почвы, утоптанной в процессе посадки или посева.

3.2.21. Посевы и посадки дополняют осенью или весной после первого вегетационного периода при наличии значительного отпада.

3.2.22. Снегозащитные лесонасаждения, созданные подрядным способом, передаются в эксплуатацию автодорожным организациям в 3-5-летнем возрасте при сомкнутости крон (в облиственном состоянии) не ниже 90 %. В зоне комплексных каштановых почв сомкнутость крон определяется в рядах.

3.3. Охрана окружающей среды

3.3.1. Создание снегозащитных лесных полос вдоль автомобильных дорог может быть отнесено к мероприятиям, направленным на защиту окружающей среды, в том числе ее важнейших элементов - почвы и воздушного бассейна.

Созданные лесонасаждения будут способствовать естественной очистки загрязняемого выхлопными газами воздуха, а в малолесных и безлесных районах, кроме того, служить местом гнездовья птиц, уничтожающих вредителей леса и сельскохозяйственных растений.

В условиях пересеченного рельефа при размещении поперек склона насаждения будут выполнять наряду со снегозащитой и противоэрозионные функции.

3.3.2. При размещении снегозащитных лесных полос вдоль склона в результате таяния снежных сугробов может возникнуть опасность появления эрозионных процессов. Во избежание этого отрицательного явления в проектах должны быть предусмотрены (запроектированы и рекомендованы) профилактические противоэрозионные мероприятия: нарезка борозд для отвода талой воды в поле, строительство водоотводных валов - канав и распылителей стока, поделка водоудерживающих снежных валов, расчленение сугробов, прикатывание снега и т.п.

3.4. Методика определения целесообразности создания снегозащитных лесонасаждений вдоль автомобильных дорог в сопоставлении с другими способами защиты от снежных заносов

3.4.1. При определении целесообразности создания снегозащитных лесонасаждений вдоль автомобильных дорог в сопоставлении с другими способами защиты от снежных заносов производится расчет общей (абсолютной) и сравнительной экономической эффективности.

3.4.2. Сравнительная экономическая эффективность капитальных вложений для каждого из рассматриваемых способов защиты дороги от снежных заносов характеризуется величиной приведенных затрат. В качестве наиболее эффективного выбирают способ, имеющий минимум приведенных затрат. Приведенные затраты по каждому способу представляют собой сумму капитальных вложений (единовременных затрат) и эксплуатационных (текущих) издержек, приведенных к одинаковой размерности с помощью норматива эффективности (Ен = 0,12). При учете затрат за разные годы периода сравнения (одинакового для всех рассматриваемых способов) их приводят к базисному году с помощью коэффициентов приведения, исчисляемых на основе норматива для приведения разновременных затрат (Енп = 0,08).

3.4.3. Для выбранного в качестве наиболее экономичного (по минимуму приведенных затрат) способа защиты дороги от снежных заносов дается оценка общей экономической эффективности капитальных вложений на создание этого способа защиты. Народнохозяйственная целесообразность создания защиты считается доказанной в том случае, если показатель общей эффективности Ез, измеряемый отношением годового эффекта Э от применения данного способа защиты к капитальным вложениям на её создание Кн, превышает величину норматива или равен ему:

Ез = Э/Кн ³ 0,05.                                                         (1).

3.4.4. К способам, предотвращающим образование снежных заносов на дорогах, относятся: реконструкция участка дороги с приведением ее поперечного профиля к незаносимому (повышение насыпи, раскрытие выемки и др.) или с изменением трассы; установка постоянных снегозащитных ограждений; применение переносных снегозадерживающих щитов, устройство траншей; создание (восстановление, расширение) снегозащитных лесных полос; механизированная очистка заносимых участков дороги.

3.4.5. По степени надежности защиты дорог от снежных заносов из ограждающих устройств со снегозащитными насаждениями сопоставимы снегозадерживающие заборы и переносные щиты. Снежные траншеи ввиду их значительно более низкой эффективности сопоставлять со снегозадерживающими насаждениями не следует.

3.4.6. Помимо защиты дорог от заносов, лесонасаждения дают дополнительный эффект, выражающийся в увеличении урожайности сельскохозяйственных культур. Величина прибавки урожая на соседних с лесными полосами полях зависит от природных факторов, высоты лесных полос, их конструкции и др. Придорожные лесные полосы начинают оказывать свое защитное действие в зависимости от указанных выше эффектов на шестой-седьмой год после посадки.

3.4.7. Влияние снегозащитных насаждений вдоль автомобильных дорог на прибавку урожайности можно приравнять к влиянию полезащитных лесных полос непродуваемой конструкции в зоне влияния, равной 20-кратной высоте насаждения.

3.4.8. Для расчетов необходимо пользоваться нормативами, утвержденными Министерством сельского хозяйства СССР (см. приложение 6), или данными ВЛСХНИЛ, ВНИАЛМИ и других научных учреждений о средних прибавках урожая для конкретного региона.

3.4.9. Высота лесной полосы может быть ориентировочно определена по таблицам хода роста защитных лесонасаждений (Справочник по агролесомелиоративному устройству. М.: Лесная промышленность, 1977) и материалам, собранным во время изысканий.

3.4.10. Рекомендуются следующие условия сопоставления различных способов, предотвращающих образование снежных заносов, со способом защиты насаждениями при расчетах сравнительной эффективности защиты дорог от заносов (табл. 12).

3.4.11. При сопоставлении способов, предотвращающих снежные заносы на автомобильных дорогах, производятся расчеты их сравнительной экономической эффективности. Для этого необходимо определить приведенные затраты по каждому из способов.

Таблица 12

Условия сопоставления различных способов снегозащиты

Способы, предотвращающие снежные заносы на дорогах

Условия, при которых целесообразно сопоставление со способом защиты насаждениями

Снегозадерживающие заборы

В районах с объемом снегоприноса 150 м3/м и более

Переносные щиты, установленные в два ряда

То же

Переносные щиты, установленные в один ряд

В районах с объемом снегоприноса менее 150 м3

Незаносимые насыпи

При любом объеме снегоприноса, если рельеф местности позволяет проложить дорогу в насыпи

3.4.12. Приведенные затраты R представляют собой сумму текущих издержек (эксплуатационных расходов) С и единовременных затрат (капитальных вложений) К, вычисленную с учетом нормативного коэффициента эффективности Ен. Нормативный коэффициент принимается в размере 0,12, кроме районов Крайнего Севера и приравненных к ним местностей, для которых этот коэффициент принимается в размере 0,08:

R = С + ЕнК.                                                               (2)

3.4.13. Сравнение экономической эффективности способов, предотвращающих снежные заносы на автомобильных дорогах, следует производить из расчета на 1 км дороги, определяя затраты за 30-летний период.

3.4.14. Если по сравниваемым вариантам капитальные вложения осуществляются в разные сроки или текущие затраты изменяются во времени, то сравнение вариантов следует производить, приводя затраты более поздних лет к базисному году:

r = 1/(1 + Енп)t,                                                            (3)

где r - коэффициент приведения к базисному году; Енп - норматив для приведения разновременных затрат (принимается равным 0,08); t - период приведения затрат, лет (принимается равным разности между годом приведения и базисным годом).

Примечание. Затраты базисного года приведению не подлежат.

3.4.15. Стоимость зимнего содержания дорог слагается из стоимостей входящих в него элементов: мероприятий по уменьшению снегозаносимости дорог; устройству и эксплуатации средств снегозащиты; очистке дорог от снега; борьбе с лавинами, зимней скользкостью и наледями (включать следует только элементы, встречающиеся в районе, для которого производится расчет).

3.4.16. Порядок определения стоимости зимнего содержания следующий:

1) составляется перечень элементов зимнего содержания, которые должны быть включены в расчет исходя из местных условий;

2) для каждого элемента зимнего содержания намечаются все способы, которые могут быть применены в данных условиях;

3) по каждому элементу зимнего содержания дорог, включенному в перечень, производится экономическое сравнение всех способов, которые считается возможным применять в данных условиях (например, сравнивается стоимость защиты дорог щитами, заборами и насаждениями);

4) устанавливается окончательный состав мероприятий по зимнему содержанию дороги, для которой выполняется расчет и суммируются приведенные затраты по всем выбранным способам.

3.4.17. При определении приведенных затрат на снегозащитные насаждения нужно также учитывать следующее:

а) в состав капиталовложений, затрачиваемых на создание насаждений и заборов, необходимо включать возмещение потерь, вызнанных изъятием земельных угодий из сельскохозяйственного производства для размещения на них средств снегозащиты;

б) поскольку посадки не сразу вступают в работу, то в течение нескольких лет после начала работ по созданию насаждений приходится на тех же участках ставить дополнительные средства защиты. Стоимость изготовления и эксплуатации их в течение периода, пока посадки не вступили в работу, необходимо включать в приведенные затраты на снегозащитные насаждения;

в) в связи с тем что лесные полосы способствуют повышению урожайности сельскохозяйственных культур на прилегающих полях, прибавка урожайности должна рассматриваться как прибыль, даваемая лесными полосами. В этом случае затраты следует уменьшать на величину получаемой прибыли.

3.4.18. С учетом вышеизложенного расчет суммарных приведенных затрат при сравнении различных способов защиты дорог от снежных заносов (на 1 км дороги или на 1 км комплекса снегозащитных линий) производят следующим образом:

1. Определяют по каждому способу защиты суммы капиталовложений за 30-летний срок сравнения с учетом разновременности затрат:

,                              (4)

где Кно и Кн доп - капиталовложения начального года соответственно в основную и дополнительную защиту, руб.; Кt и Кt доп - капиталовложения соответственно в основную и дополнительную защиту в последующие годы, руб.; Енп - нормативный коэффициент для приведения разновременных затрат (Енп = 0,08); t1 - период, в течение которого необходимы дополнительные средства защиты, т.е. период формирования основного средства защиты, лет.

2. Определяют суммарные эксплуатационные затраты на основную и дополнительную защиту с учетом их отдаленности по времени, а также прибыль от повышения урожайности сельскохозяйственных культур (для насаждений, размещаемых вдоль пахотных земель):

,                                          (5)

где Ct - годовые эксплуатационные расходы при данном способе защиты дорог от заносов на год t; Cпр t - годовая прибыль, полученная в результате применения данного способа защиты (снегозащитных насаждений с учетом повышения урожайности на прилегающих полях), на год t; Сдоп t - эксплуатационные затраты на дополнительную защиту.

3. Определяют суммарные приведенные затраты (сумму эксплуатационных затрат и капиталовложений с учетом нормативного коэффициента эффективности Ен = 0,12) по формуле (2):

.                                                      (6)

Подсчитав суммарные приведенные затраты по каждому способу предотвращения снежных заносов, сравнивают их между собой. Вариант с наименьшими приведенными затратами является наиболее эффективным.

3.4.19. При расчетах необходимо учитывать следующее. Капиталовложения включают все затраты по посадке и выращиванию насаждений, изготовлению щитов, постройке заборов, возведению незаносимых насыпей. В состав капиталовложений необходимо включать возмещение потерь, вызванных изъятием земельных угодий из сельскохозяйственного производства для размещения на них снегозащитных устройств и насаждений. Указанные потери определяют в соответствии с действующими нормативными документами (см. приложение 7).

3.4.20. Эксплуатационные расходы включают все затраты на ремонт и содержание насыпей, снегозадерживающих устройств и насаждений, а для переносных щитов также затраты на их установку, перестановку и снятие.

Примерная номенклатура затрат, входящих в капиталовложения и эксплуатационные расходы, для различных способов предотвращения снежных заносов на дорогах приводится в приложении 8.

В зависимости от вида защиты устанавливаются следующие межремонтные сроки их службы (лет): планочные щиты - 7, колья - 4, снегозадерживающие заборы - 30, незаносимые насыпи - 50, насаждения - 50-80.

Суммарные приведенные затраты на создание незаносимого земляного полотна дороги указаны в приложении 9.

3.4.21. При вычислении приведенных затрат для снегозащитных насаждений годовая прибыль от увеличения урожайности сельскохозяйственных культур на прилегающих полях определяется для каждого года службы лесных полос:

,                                                      (7)

где F - площадь земельных угодий, находящихся под защитой лесонасаждений, в зоне шириной, равной 20-кратной высоте насаждений, где достигается увеличение урожайности, га; а - цена сельскохозяйственной продукции по данным местных сельскохозяйственных организаций, руб/ц; Dа - затраты на сбор, обработку и транспортировку дополнительной продукции сельского хозяйства, руб.; DУt - прибавка урожайности в t-м году, ц/га.

3.4.22. Суммарные народнохозяйственные потери, вызываемые снежными заносами на какой-либо дороге или на сети дорог,

,                                           (8)

где SПск - потери, вызванные снижением скорости автомобилей при проезде по дороге, на которой образовались снежные заносы, тыс. руб.; SПпер - потери, вызванные полным перерывом движения по занесенной снегом дороге, тыс. руб.; SПпр - прочие потери, связанные с ухудшением движения по дороге из-за снежных заносов (например, потери предприятий, тяготеющих к дороге, вследствие невозможности вывезти продукцию или завезти сырье и т.д.), тыс. руб.

В связи с тем что определение потерь народного хозяйства, вызываемых снежными заносами, производится с целью сопоставления с расходами на защиту дорог насаждениями, оба эти вида затрат необходимо привести к сопоставимому виду, производя подсчет за один и тот же период времени. Народнохозяйственные потери устанавливают исходя из перспективной интенсивности движения.

С учетом указанного выше формула (8) будет выглядеть следующим образом:

,                                              (9)

где Пск t, Ппер t, Ппр t - годовые размеры потерь по каждому из членов формулы.

3.4.23. Годовые потери от снижения скорости

,                         (10)

где tз - продолжительность движения по дороге, на которой образовались снежные заносы, сут; L - протяженность дороги (перегона), км; uз - средняя скорость автомобилей по дороге, на которой образовались снежные заносы, км/ч; u0 - то же по очищенной от снега дороге, км/ч; Тагод - продолжительность работы одного списочного автомобиля в течение года, ч; a - коэффициент выпуска автомобилей на линию (принимается по приложению 1 табл. 8 «Указаний по определению экономической эффективности капитальных вложений в строительство и реконструкцию автомобильных дорог» ВСН 21-75 (Минавтодор РСФСР); m - число автомобилей разной грузоподъемности в потоке; Nj - интенсивность движения автомобилей данной грузоподъемности, авт./сут; Сjпост - стоимость 1 машино-ч работы автомобилей данной грузоподъемности (ставка постоянных расходов), руб. (см. приложение 10); Кaj - удельные капитальные вложения в расчете на один списочный автомобиль, включая затраты на создание автотранспортных и авторемонтных предприятий, тыс. руб. (берется как сумма данных, помещенных в приложениях 11 и 12).

3.4.24. Интенсивность движения по дороге определяют с учетом перспективного ее роста на тот год, для которого определяют Пск t:

,                                                               (11)

где N1 - исходная интенсивность движения, от которой ведут расчет перспективной интенсивности; Р - коэффициент годового роста интенсивности (может быть принят 1,06).

3.4.25. Для определения годовых потерь от перерывов движения, вызванных снежными заносами, пользуются формулой

,                                                     (12)

где gн - годовой объем перевозок по дороге, тонно-нетто; tпер t - продолжительность перерывов движения по дороге в связи со снежными заносами, сут;  - средняя цена 1 т груза (по данным ЦНИИ МПС в среднем для СССР Ц = 190 руб/т); Т - годовой фонд рабочего времени автотранспорта, сут; Ен = 0,12 - нормативный коэффициент эффективности капиталовложений.

При отсутствии данных о годовом объеме перевозок по дороге его определяют по формуле

,                                                   (13)

где g - коэффициент использования грузоподъемности; b - коэффициент использования пробега; Гj - грузоподъемность автомобилей, обращающихся по дороге, j марок, т.

3.4.26. Величина прочих потерь Ппр t зависит от местных условий и представляет собой сумму потерь предприятий, сельскохозяйственных, лесозаготовительных и прочих организаций, на деятельность которых влияет состояние проезда по дорогам. Целесообразно, чтобы величину потерь, которые следует учитывать при определении Ппр t, рассчитывали сами предприятия и сообщали дорожной организации, ведущей учет ущерба.

Примерный состав данных, которые рекомендуется запрашивать: простой производства за счет снежных заносов на автомобильных дорогах; несвоевременная доставка топлива и основных видов сырья; срыв выпуска основных видов продукции; отвлечение материальных ресурсов (рабочие, машины, транспортные средства) и денежных средств на расчистку дорог. Желательно, чтобы сведения давались в физическом и стоимостном выражениях.

3.4.27. Снегозащитные насаждения обеспечивают высокую надежность защиты дороги от снежных заносов. На участках дорог, огражденных правильно заложенными и хорошо выращенными насаждениями, снежных заносов практически не бывает, благодаря чему полностью устраняются народнохозяйственные потери, вызываемые заносами. На таких участках приходится убирать только снегопадные отложения, для чего достаточно в основном патрульной очистки. При интенсивных снегопадах образуются также небольшие снежные валы, которые можно сдвигать и разравнивать автогрейдерами.

На заносимых участках дорог, не имеющих защиты, систематически образуются снежные заносы, которые могут иметь значительную толщину. Для расчистки снежных заносов на таких участках применяется весь комплекс снегоочистительных машин: двухотвальные плужные снегоочистители, бульдозеры, роторные снегоочистители, автогрейдеры. Помимо расчистки снежных заносов, на участках, не имеющих защиты, приходится также вести патрульную очистку и убирать снежные валы (роторными снегоочистителями и автогрейдерами).

Для определения затрат на снегоборьбу при защите дороги насаждениями и при отсутствии защиты необходимо делать расчет капиталовложений и эксплуатационных расходов для обоих вариантов.

3.4.28. Если дорога защищается насаждениями, в состав капиталовложений следует включать затраты на создание насаждений, изготовление дополнительных защит, приобретение машин для патрульной очистки и разравнивания валов. В эксплуатационные расходы входят затраты на уход за насаждениями и стоимость работы снегоочистительных машин.

Если дорога не имеет защиты, то в состав капиталовложений входят затраты на приобретение машин для выполнения всего комплекса снегоочистительных работ. В эксплуатационные расходы входит стоимость работы снегоочистительных машин.

3.4.29. Определение капиталовложений и эксплуатационных расходов на снегозащитные насаждения изложено выше. Расчет нужно вести на 30-летний период, предварительно подсчитав потребность в снегоочистительных машинах по формулам:

а) для машин, выполняющих объемные работы,

,                                                            (14)

где N0 - требующееся число снегоочистительных машин; Wуб - объем снега, подлежащего уборке за один цикл снегоочистки (за одну метель) на рассматриваемом участке дороги, м3; Пэ - эксплуатационная производительность одной машины, м3/ч (см. приложение 14); Тд - директивный срок очистки дороги от заносов (или срок уборки снежных валов), ч.

Примечания. 1. Измерения объемов снега, подлежащего уборке, должны производиться дорожной службой. При отсутствии данных можно приблизительно определить Wуб расчетным путем (см. приложение 13).

2. Величина Тд устанавливается для линейных подразделений дорожной службы распоряжением вышестоящей организации (упродора, автодора);

б) для автомобильных плужных снегоочистителей, выполняющих патрульную очистку (безобъемные работы):

,                                                        (15)

где Nб - требующееся количество снегоочистителей; l - длина обслуживаемого участка дороги, км; n - число проходов снегоочистителей, необходимое для уборки снега с половины ширины дорожного полотна; u - средняя рабочая скорость снегоочистителя (может быть принята 25 км/ч); Ки - коэффициент использования машины в течение смены (может быть принят 0,7); tс - время между проходами снегоочистителей, ч.

Значение tс рекомендуется принимать в зависимости от объема снегоприноса:

Wуб, м3/м                                                   до 50                   до 150                 более 150

tс, ч                                                                7,3                       4,8                              4,1

3.4.30. При расчете капиталовложений необходимо учитывать, что приобретение снегоочистительных машин будет производиться в течение срока сравнения неоднократно. Число приобретений определяется исходя из срока амортизации машин ta:

.                                                           (16)

В соответствии с этим капиталовложения за 30 лет по каждому из типов машин, используемых для снегоочистки, можно определить с учетом коэффициента приведения затрат:

,                                              (17)

где a - коэффициент, характеризующий долю стоимости данной машины, отнесенную на снегоборьбу (если машина используется также и для выполнения других работ); коэффициент a можно принять равным для роторных снегоочистителей 1,0, для автогрейдеров и бульдозеров - 0,3, для тракторных снегоочистителей на К-701 - 0,2; N - количество машин; b - покупная стоимость машины, руб.

3.4.31. Полные капиталовложения на приобретение машин представляют собой сумму затрат по каждому типу машин, используемых для снегоочистки.

3.4.32. Эксплуатационные расходы на снегоочистку для каждого типа машин, выполняющих объемные работы,

,                                               (18)

где Wiуб - годовой объем снегоуборочных работ, для которых применяются машины данного типа, м3; Ni - число машин данного типа; Пэс - эксплуатационная производительность одной машины, м3/смена; Ai - стоимость машино-смены, руб.

Для определения Wiуб подсчитывается сначала полный годовой объем снегоуборочных работ SWiуб, выполняемый всеми снегоочистительными машинами. Он представляет собой сумму объемов снегоуборки при всех метелях и снегопадах и подсчитывается на основе непосредственных измерений, выполняемых дорожной службой, или определяется расчетным путем (см. приложение 13). Из полного объема снегоуборочных работ выделяется объем работ Wiуб, которые целесообразно выполнять снегоочистительными машинами данного типа (эти виды работ указаны для каждой машины в приложении 14).

3.4.33. Для каждой группы однотипных машин, выполняющей безобъемные работы, эксплуатационные расходы

,                                                 (19)

где Nб - удельное количество машин данного типа, определенное по формуле (15); Тк - расчетное количество часов метелей и снегопадов, во время которых производится патрульная очистка, ч; Ai - стоимость машино-смены, руб.; 6,82 - продолжительность машино-смены, ч.

3.4.34. Полные эксплуатационные расходы на снегоочистку по всем группам снегоочистительных машин подсчитываются за 30-летний период. С учетом изложенного определение эксплуатационных затрат на снегоочистку можно производить по формулам:

а) при защите дорог насаждениями

,                               (20)

где С1 - суммарные эксплуатационные расходы за 30 лет по всем типам машин, выполняющим патрульную очистку, тыс. руб.; С2 - суммарные эксплуатационные расходы по всем типам машин, выполняющим уборку снежных валов, тыс. руб.;

б) при отсутствии защиты

Cоз = C1 + C2 + Cз,                                                         (21)

где Сз - суммарные эксплуатационные расходы за 30 лет по всем типам машин, выполняющим расчистку дорог от снежных заносов, тыс. руб.

3.4.35. Общая экономическая эффективность создания снегозащитных насаждений характеризуется отношением эффекта, получаемого от защиты дорог насаждениями, к капиталовложениям, связанным с созданием насаждений. Эффект от создания насаждений выражается в устранении народнохозяйственных потерь, вызываемых снежными заносами (образующимися при отсутствии насаждений), в уменьшении эксплуатационных затрат. Общая экономическая эффективность

,                                              (22)

где Ез - показатель общей экономической эффективности; Пнх - народнохозяйственные потери, вызываемые снежными заносами при отсутствии защиты; определяются по формуле (8); Соз - эксплуатационные затраты на снегоочистку при отсутствии защиты; рассчитываются по формуле (21); Сн - сумма эксплуатационных затрат на уход за насаждениями и снегоочистку дороги, огражденной защитой; подсчитывается по формуле (20); Кн - капиталовложения на создание защитных лесонасаждений и приобретение снегоочистительных машин для очистки дороги, огражденной защитой.

3.4.36. При сравнении экономической эффективности вариантов борьбы со снежными заносами (с помощью насаждений и без них) наиболее эффективным следует считать тот, который имеет минимум приведенных затрат. Пример оценки эффективности создания снегозащитных насаждений вдоль автомобильных дорог приведен в приложении 15.

3.5. Декоративное озеленение

3.5.1. Декоративные насаждения создаются для архитектурно-художественного оформления автомобильных дорог. Кроме того, они могут выполнять регулирующую роль в движении транспортных средств.

3.5.2. По выполняемой роли и расположению декоративные посадки на автомобильных дорогах разделяются на следующие виды: основные посадки вдоль дорог; у развилок, пересечений и примыканий; у искусственных сооружений, автобусных станций, площадок отдыха; на разделительных полосах; на участках у комплексов дорожных зданий.

3.5.3. Размещение декоративных насаждений проектируют так, чтобы древесно-кустарниковые посадки не вызывали заносов на дороге, с учетом длины возможных снежных шлейфов от плотных групп и живых изгородей.

3.5.4. В соответствии с существующими садово-парковыми стилями и местными условиями при декоративном озеленении применяют три основных приема: регулярный, ландшафтно-групповой (или свободный) и смешанный.

3.5.5. Регулярный прием предусматривает строго определенное размещение деревьев, кустарников пли групп однообразного построения по прямым или правильным кривым линиям. Расстояние в рядах между отдельными растениями или их группами остается постоянным на протяжении данного участка оформления.

Этот прием применяется на участках дорог, проходящих в равнинной местности, или при оформлении особо ответственных отрезков дорог, подъездов к городам и населенным пунктам, в самих населенных пунктах.

Для создания приятных контрастов, избежания однообразия и монотонности в регулярные посадки через строго определенные промежутки следует включать отдельные декоративные растения (или группы их), выделяющиеся ростом, формой или расцветкой (стволов, ветвей, листвы, хвои, цветов).

Примерами образования сильных и художественных контрастов может служить: сочетание посадок березы (светло-зеленая листва, ажурная крона, белоствольность) с елью (темно-зеленая плотная крона с резко выделяющейся конической формой); сочетание посадок с шарообразной или яйцевидной формой кроны с деревьями, обладающими пирамидальной формой кроны.

Такие пункты усилений (акценты) создаются непосредственно в линии регулярной посадки или вне ее, ближе к дороге.

3.5.6. Ландшафтно-групповой, или свободный, прием размещения декоративных посадок предусматривает свободное (живописное) размещение деревьев и кустарников в виде отдельных элементов и групп различного размера. Расстояния между группами, отдельными растениями и от дороги до них бывают самыми разнообразными (ограничиваются лишь полосой отвода).

Ландшафтно-групповой прием применяется главным образом на участках дорог, проходящих по территории с холмистым или волнистым рельефом.

При ландшафтно-групповом, или свободном, размещении деревьев и кустарников должны соблюдаться следующие важнейшие положения:

а) древесно-кустарниковые группы вдоль дороги создают: крупные протяженностью 15-20 м, средние - 10-15 м и мелкие - до 8-10 м;

б) мелкие и средние группы размещают на переднем плане, т.е. ближе к дороге, а крупные - на заднем плане; группы с темной окраской листвы или хвои размещают ближе к дороге, т.е. на фоне групп с менее темной и светлой окраской;

в) крупные группы размещают не ближе 80 м одна от другой, а средние и мелкие группируют около крупных; расстояния между группами должны быть разными;

г) в ландшафтных группах деревья по прямым линиям не размещаются;

д) ландшафтные группы могут быть кустарниковые, древесные и древесно-кустарниковые. Мелкие группы формируют их трех, пяти и семи растений; при этом группы из трех-пяти деревьев создают из одного вида растений, группы средних и крупных размеров - соответственно из большего количества растений с применением нескольких видов, взаимно обеспечивающих необходимые контрасты;

е) растения, достигающие большей высоты, размещают в середине групп, а меньшей - по периферии; растения, обладающие красивой формой, эффектным цветением, яркими плодами и другими выделяющимися достоинствами, также размещают по периферии групп со стороны дороги;

ж) расстояния между деревьями в группах назначают от 2 до 7 м, а при очень плотной посадке - от 1 до 2 м; расстояние между кустарниками в группах зависит от размера кустарников: для крупных - 1,2-2,0 м, для средних - 0,8-1,2 м, для мелких - 0,4-0,8 м.

3.5.7. Смешанный прием декоративного озеленения дорог является сочетанием регулярных и ландшафтно-групповых посадок растений. Его применяют в районах с относительно спокойным рельефом. При этом в основном применяются следующие сочетания: неравномерное размещение ландшафтных групп в рядах регулярных посадок; неравномерное размещение ландшафтных групп и отдельных экземпляров на свободной полосе между регулярными посадками и дорогой (на фоне рядовых посадок); размещение ландшафтных групп у пересечений регулярных посадок с дорогами, съездами, реками, оврагами и т.д.

3.5.8. Для декоративного эффекта и свободного развития крон в зависимости от величины высаживаемых деревьев расстояния между деревьями в рядах принимаются от 5 до 20 м. При посадке молодых саженцев для получения скорейшего декоративного эффекта принимают наименьшее расстояние между деревьями в рядах (в 2-4 раза меньше максимального).

3.5.9. Размещение декоративных посадок должно увязываться с дорогами, проходящими в полосе отвода (летние пути и пешеходные дорожки). Посадки размещают между дорогой и летним путем; пешеходные дорожки окаймляют рядовыми древесно-кустарниковыми посадками. Живые изгороди из кустарников не размещают ближе 2,5 м от рядовых древесных посадок.

3.5.10. Для декоративного оформления дорог, проходящих по увлажненным местам с активным пучинообразованием, следует подбирать древесные породы, сильно испаряющие влагу, способствующие осушению почвы и понижению уровня грунтовых вод (тополя, ивы, эвкалипты в соответствии с почвенно-климатическими условиями). Это уменьшает влажность земляного полотна и вероятность образования пучин.

3.5.11. При подъездах к крупным населенным пунктам и в других местах проектируют цветочное оформление в виде рабаток (грядок или полосок), клумб и свободных цветочных пятен, а также участков цветущего газона. При этом отдается предпочтение многолетним и неприхотливым цветам, не требующим систематического ухода.

3.5.12. При наличии красивого примыкающего ландшафта или отдельных интересных элементов местности (участок водной поверхности, выделяющиеся здания или их группы) для сохранения обзора и отдельных видовых точек не создают сплошных декоративных посадок. Отдельные некрасивые и обозреваемые с дороги участки маскируют декоративными посадками.

3.5.13. Недопустим один и тот же характер декоративного озеленения на большой протяженности автомобильной дороги. Декоративное озеленение сменяется обоснованно в архитектурном отношении и привязывается к элементам трассы.

Частая смена декоративного озеленения также недопустима, так как это создает пестроту в оформлении дороги и при быстром передвижении не дает нужного впечатления. Характер озеленения должен меняться не чаще чем через 2-3 км и не реже чем через 10 км.

3.5.14. Для предотвращения помех при снегоочистке и во избежание пересадок при уширении и подъеме земляного полотна на снегозаносимых участках декоративные посадки, особенно древесные, размещают не ближе 0-7 м от бровки земляного полотна.

На участках, где намечаются существенные изменения плана и профиля дороги, декоративные и особенно рядовые древесные посадки до выполнения указанных работ создавать не рекомендуется.

3.5.15. В местах, не подверженных снежным заносам, допускаются различные приемы размещения деревьев и кустарников, в том числе и сплошные посадки.

3.5.16. Озеленение разделительных полос проводится не только с целью архитектурно-художественного оформления, но и для повышения безопасности движения, устранения вредного воздействия на водителей света фар встречных автомобилей.

Тип озеленения разделительной полосы зависит от заносимости дороги. Там, где могут быть снежные заносы, при озеленении разделительных полос применяются в основном цветущие и не цветущие газоны и в исключительных случаях группы из штамбовых деревьев и кустарников свободного размещения, рядовые посадки штамбовых деревьев и отдельные деревья.

3.5.17. С целью защиты от света фар встречных автомобилей применяются поперечные посадки кустарников в виде живых одно-, двухрядных изгородей, которые размещаются через 20-30 м.

3.5.18. Для обеспечения видимости у пересечения дорог на концах отрезков разделительной полосы не допускается сплошная посадка высокой растительности.

3.5.19. Пересечения, примыкания, съезды и развилки озеленяют низкой растительностью (газоны, цветы, кустарники) с учетом обеспечения видимости.

Особое внимание уделяется цветам, высеваемым на месте, цветам-многолетникам, не нуждающимся в серьезном уходе, а также низкорослым, красиво цветущим кустарникам. Цветы и кустарники подбирают с расчетом получения растительных сочетаний с наиболее длительным периодом цветения.

3.5.20. На участках при различных дорожных зданиях создают защитные посадки по периферии. Здесь же широко применяется озеленение оград, стен и балконов вьющимися растениями.

3.5.21. Декоративное озеленение создают также у площадок отдыха на перегонах дорог, устраиваемых для остановок автомобилей.

3.5.22. Участки леса низкого ландшафтно-художественного качества, видимые с дороги (лужайки, поляны, редины, опушки), рекомендуется улучшать по согласованию с органами лесного хозяйства.

3.5.23. Для декоративного озеленения автомобильных дорог применяют саженцы деревьев в возрасте 4-6 лет и кустарников в возрасте 2-3 лет. В наиболее парадных местах дорожного озеленения рекомендуется применять более крупный посадочный материал в возрасте до 30 лет.

3.5.24. На участках, предназначенных для декоративного озеленения, полностью убирают все посторонние предметы, удаляют сухостойные деревья, корчуют пни и засыпают ямы, участки планируют с последующим засевом культурными травами.

3.5.25. Подготовка почвы под декоративные посадки проектируется сплошной или частичной.

При сплошной подготовке весь участок подвергают глубокой вспашке, боронованию, после чего подготавливают посадочные места - копают ямы и траншеи небольших размеров, позволяющие размещать корневую систему деревьев или кустарников под посадку.

При частичной подготовке почвы вспашка не производится, а посадочные места (ямы и траншеи) готовят значительно больших размеров, чтобы при посадке между корневой системой и стенками ямок и под корневой системой оставалось место для заполнения питательной землей.

Сплошная подготовка почвы создает более благоприятные условия для растений.

При отсутствии или бедности почвенного слоя на участке и при возможности завоза питательной земли следует отдавать предпочтение частичной подготовке почвы.

3.5.26. Посадочные ямы и траншеи готовят по намеченным точкам и линиям посадки деревьев и кустарников. Размер их зависит от почвенных условий и размера посадочного материала. Ямы делают круглой формы с отвесными стенками.

Для посадки древесных саженцев ямы готовят диаметром 0,8-1,2 м при глубине 0,5-0,6 м, для посадки одиночных кустарниковых саженцев - диаметром 0,5-0,6 м при глубине 0,4-0,5 м.

Для посадки деревьев и кустарников малыми компактными группами с небольшими расстояниями между растениями роют общие посадочные ямы шириной в соответствии с размерами групп (из расчета 0,6-0,8 м на каждое растение) и такой же глубиной, как для одиночных посадок.

Посадочные траншеи для живых изгородей делают глубиной 0,4-0,5 м, шириной для однорядных посадок 0,4-0,6 м, для двухрядных - 0,7-1,0 м.

3.5.27. Посадочные ямы и траншеи для весенних посадок подготавливают с осени, а для осенних - за 2-3 недели до посадок. При отсутствии заблаговременно подготовленных ям и траншей допускается рытье их перед посадкой, но размеры ям и траншей должны быть несколько большими для добавок растительной земли.

3.5.28. Ямы для посадки деревьев роют ямокопателями, гидробурами или вручную. При рытье вручную верхний питательный слой складывают с одной стороны, а нижний - с другой, чтобы во время посадки можно было питательную землю разместить ближе к корневой системе растений.

Дно ямы и траншей рыхлят лопатой на глубину 10-15 см. Около центра каждой ямы со стороны преобладающих ветров или с северной стороны вертикально забивают ошкуренный посадочный кол толщиной 4-5 см.

Посадку древесных саженцев выше 1 м без кола не допускают. На дно ямы за 2-3 дня до посадки насыпают землю (верхнего почвенного слоя или привозную) в виде холмика, которую уплотняют для предупреждения большой осадки. Вершина холмика должна быть в центре ямы.

3.5.29. Декоративные деревья и кустарники высаживают в сроки, установленные для закладки снегозащитных лесных полос. Крупные деревья можно пересаживать зимой с замороженным комом. Хвойные деревья и кустарники высаживают в самые ранние сроки весной или в конце августа и начале сентября.

3.5.30. После посадки саженцы независимо от погоды поливают водой в объеме минимально 24-36 л на дерево, 17-18 л на кустарник и 18-24 л на 1 м каждого ряда изгороди.

Приствольные круги после впитывания воды присыпают (мульчируют) перегноем, торфом или растительной землей.

3.6. Противоэрозионное озеленение

3.6.1. Противоэрозионное озеленение проводят с целью защиты от разрушительного действия растущих оврагов, размыва непосредственно водными потоками, размыва и разрушения селевыми потоками, а также с целью борьбы с оползнями.

Противоэрозионные и противооползневые насаждения создают в каждом случае по специально разработанному проекту.

3.6.2. Приовражные лесные полосы размещают вдоль бровок оврагов и выше вершины на 30-50 м.

3.6.3. Ширину приовражных полос принимают от 20 до 50 м в зависимости от изрезанности ложбинами и промоинами прилегающих склонов, а также с учетом общего характера рельефа местности в отношении направления и концентрации поверхностного стока.

3.6.4. Противоэрозионное озеленение оврагов следует проектировать в сочетании с простейшими гидротехническими сооружениями: обвалованием с целью отвода стока от размываемых вершин, устройством водосборных лотков, запруд и т.п.

3.6.5. Для защиты от размыва откосов дамб и насыпей на затопляемых поймах рек проектируют посадки из местных кустарников и древовидных ив, размещая их полосами вдоль откосов в пределах высшего и низшего уровней воды. Посадки проводят весной, начиная от линии высшего уровня воды и продолжая по мере ее спада.

3.6.6. Для защиты дорог от размыва и разрушения селевыми потоками применяют посадку массивных насаждений на селеопасных склонах гор в сочетании с техническими укрепительными мероприятиями.

4. СОСТАВ ПРОЕКТНОЙ ДОКУМЕНТАЦИИ

4.1. Рабочий проект создания насаждений должен состоять из пояснительной записки и графических материалов.

4.2. Примерный состав пояснительной записки:

общая часть, включающая копии документов о согласовании принятых решений, технические условия проектирования;

характеристика природных условий - климат, природные зоны, рельеф, гидрологические условия, почвенный покров (приводится номенклатурный список почв с почвообразующими и подстилающими породами, объединенными в группы по лесопригодности; дается распределение их по площади запроектированных мероприятий; более подробно характеризуется почва, требующая особой агротехники);

характеристика дороги по техническим параметрам (размещение, протяженность, класс дороги, ширина полотна и существующей полосы отвода, характеристика продольного и поперечного профиля, покрытие, интенсивность движения по участкам дороги, наличие защитных и декоративных насаждений) и по снегозаносимости (степень заносимости отдельных участков, влияние заносов на движение автомобилей, причиняемый ущерб народному хозяйству, объемы и способы расчисток, стоимость работ, характеристика имеющихся защитных насаждений и оценка их снегозадерживающей роли), данные по снегоприносу (фактические и расчетные);

характеристика участков, для которых требуется противоэрозионная защита;

технические сведения о запроектированных лесонасаждениях с соответствующим обоснованием (размещение посадок, ширина и конструкция полос, рабочие схемы лесонасаждений);

ведомость лесомелиоративных выделов и объемов проектируемых мероприятий;

объем работ по очередям осуществления и эксплуатационным участкам;

организация работ, очередность их проведения, технология создания лесных полос;

расчетно-технологические карты по видам снегозадерживающих полос;

потребность в машинах, механизмах, рабочей силе, материалах;

согласованные источники получения посадочного материала;

предложения по отводу земель, использованию полосы отвода дороги, размеры компенсаций по землепользователям;

состав, сроки и организация работ по послепосадочному уходу;

экономическая эффективность мероприятий и основные технико-экономические показатели.

4.3. Сметная документация составляется в соответствии с требованиями «Инструкции о составе, порядке разработки, согласования и утверждения проектно-сметной документации на строительство предприятий, зданий и сооружений» (СН 202-81) и может быть включена в состав пояснительной записки.

4.4. Примерный перечень графических материалов: схема автомобильной дороги в масштабе 1:10000-1:50000 с указанием участков, на которые разрабатывается проект; планы участков дороги, обустраиваемых лесопосадками, в масштабе 1:5000; рабочие схемы смешения культур по участкам.

4.5. На схеме автомобильной дороги обозначают населенные пункты, реки, озера, железные дороги, леса, болота и другие существенные детали ситуации. Указывается километраж дороги (при небольшой протяженности километраж показывается через 2-3 км, при большой - через 5 км). Схематически показывают запроектированные снегозащитные насаждения, места декоративного оформления и другие проектируемые мероприятия, а также границы областей, районов, дорожных участков.

4.6. На планы участков дороги наносят ситуацию в пределах детального обследования и местоположения запроектированных мероприятий. Целесообразно на планах совмещать геодезическое, почвенное и лесомелиоративное содержание с расшифровкой его в условных знаках. Планы участков дорог изготовляют одноформативными и брошюруют в жесткий переплет.

4.7. В рабочих схемах смешения культур графически изображается размещение древесных и кустарниковых пород с указанием расстояний между рядами и в рядах. В условном изображении показывается состав машин и орудий, их агрегатирование по видам работ (посев, посадка, уход за культурами и т.д.).

4.8. Расчетно-технологические карты разрабатываются на отдельные виды снегозащитных насаждений, различающиеся по составу пород, способам создания, ширине и другим признакам, влияющим на технологию работ, затраты труда, средств и материалов.

5. ВОПРОСЫ СОГЛАСОВАНИЯ И ПРЕДОСТАВЛЕНИЯ ЗЕМЕЛЬНЫХ УЧАСТКОВ

5.1. Под защитные и декоративные насаждения отводится непосредственно занимаемая насаждениями площадь, определенная проектом. Земли, расположенные между снегозащитными лесными полосами и дорогой, а также между лесными полосами при многополосном размещении снегозащитных насаждений, остаются в пользовании землепользователя, на территории которого проходит дорога.

5.2. Оформление предоставления земель для создания насаждений проводится в соответствии с Положениями о порядке возбуждения и рассмотрения ходатайств о предоставлении земельных участков, утвержденными постановлениями Совета Министров РСФСР.

5.3. Для решения вопроса об отводе земельных участков заинтересованные в этом дорожные организации направляют в Совет Министров автономной республики, крайисполком, облисполком ходатайство о предварительном согласовании места расположения лесных полос и примерных размеров намечаемой к изъятию площади.

5.4. Совет Министров автономной республики, крайисполком, облисполком рассматривают заявку и принимают решение о начале работ по выбору земельных участков для создания насаждений с проведением предварительных изысканий.

5.5. Заказчик с участием проектной организации после завершения изыскательских работ и предварительного плана размещения насаждений согласовывает с землепользователями, организациями, в ведении которых находятся землепользователи, у которых намечается изъятие земель, с государственными районными инспекторами по использованию и охране земель и архитектурной службой района расположение и площади земельных участков, необходимых для создания насаждений.

К выполнению предварительных согласований могут привлекаться на договорных началах организации системы «Гипрозем» или специальные группы землеустроителей при производственных управлениях сельского хозяйства райисполкомов (горисполкомов).

Согласование с землепользователями оформляется в виде выписки из решения общего собрания членов колхоза (собрания уполномоченных) либо заключения руководителя совхоза или другого землепользователя.

К согласованию прикладывается план землепользования и масштабе 1:10000-1:25000 с нанесенными полосами отвода земель для размещения насаждений. На плане землепользования приводится экспликация испрашиваемых к изъятию земель и другие необходимые сведения для решения вопросов об отводе земель. Оформление согласований допускается непосредственно на плановом материале. План землепользования подписывается главным (старшим) инженером-землеустроителем, руководителями колхозов, совхозов или других хозяйств и представителем заинтересованной в отводе организации.

5.6. На стадии предварительного согласования места расположения насаждений в соответствии с «Инструкцией о порядке возмещения землепользователям убытков, причиненных изъятием или временным занятием земельных участков, а также потерь сельскохозяйственного производства, связанных с изъятием земель для несельскохозяйственных нужд», утвержденной Минсельхозом СССР, Минфином СССР и Минюстом СССР 14 мая I975 г., определяются убытки землепользователей и потери сельскохозяйственного производства.

Возмещению подлежат стоимость незавершенного производства (вспашки, внесения удобрений, посева и других работ), стоимость урожая сельскохозяйственных культур, а также другие убытки землепользователей, связанные с изъятием земельных участков.

Стоимость незавершенного производства определяется фактическими затратами на выполнение землепользователем работы по нормам выработки и расценкам на отдельные виды этих сельскохозяйственных работ, а также стоимостью высеянных семян, органических и минеральных удобрений, внесенных в почву, но не использованных в связи с изъятием земельного участка.

Земельные участки, занятые сельскохозяйственными культурами, отводятся дорожным организациям, как правило, после уборки урожая.

В исключительных случаях при отводе земельного участка до уборки урожая возмещается его стоимость при условии выполнения к моменту отвода (занятия) на этом участке основного комплекса агротехнических мероприятий по возделыванию соответствующей сельскохозяйственной культуры, которая определяется исходя из средней за последние 5 лет урожайности этой культуры в хозяйстве и закупочных цен, действующих в данной зоне. По кормовым культурам, не имеющим закупочных цен, урожай переводится на кормовые единицы, и его стоимость определяется по закупочной цене овса. В этом случае стоимость незавершенного производства не возмещается.

Затраты, связанные с возмещением убытков, причиненных землепользователям, предусматриваются в смете на создание насаждений.

В целях сохранения сельскохозяйственных угодий, а также обеспечения необходимого уровня сельскохозяйственного производства и в соответствии со ст. 19 Основ земельного законодательства Союза ССР и союзных республик при изъятии сельскохозяйственных угодий для несельскохозяйственных нужд предприятия, организации и учреждения возмещают (помимо возмещения убытков землепользователям) потери сельскохозяйственного производства в размере стоимости освоения равновеликой площади земель с учетом проведения на вновь осваиваемых землях мероприятий по их окультуриванию и повышению плодородия почв.

Стоимость освоения новых земель взамен изымаемых для несельскохозяйственных нужд определяется исходя из нормативов, установленных Советом Министров РСФСР по согласованию с Госпланом СССР, Госагропромом СССР и Министерством финансов СССР (см. приложение 7).

Для определения убытков землепользователей и потерь сельскохозяйственного производства, связанных с изъятием земельных участков, исполнительным комитетом районного (городского) Совета народных депутатов образуется оценочная комиссия в составе члена районного (городского) Совета народных депутатов - председатель, государственного районного инспектора по использованию и охране земель, представителей финансового и коммунального отделов райисполкома (горисполкома), сельского (поселкового) Совета народных депутатов, землепользователя, из земель которого производится изъятие участка, представителя организации, заинтересованной в отводе земельного участка, а также представителей других органов по усмотрению исполкома районного (городского) Совета народных депутатов.

5.7. Материалы по предварительному согласованию места расположения насаждений объединяются в землеустроительное дело, которое направляется в райисполком (горисполком) для рассмотрения. Землеустроительное дело заводится в целом на объект независимо от количества землепользователей, у которых изымается земля. Райисполком рассматривает представленные материалы и принимает решение о согласовании места расположения насаждений и примерных размеров намечаемой к изъятию площади.

5.8. Материалы о согласовании места расположения насаждений, указанные в п. 5.7, направляются на заключение архитектурных и сельскохозяйственных органов автономной республики, края, области, а также главного государственного инспектора по использованию и охране земель.

5.9. Советы Министров автономных республик, крайисполкомы, облисполкомы с учетом полученных заключений рассматривают материалы предварительного согласования и принимают решение по этому вопросу.

Решение о согласовании места расположения насаждений является основанием для разработки проекта.

5.10. После утверждения средств на его финансирование заинтересованная дорожная организация направляет в райисполком (горисполком) заявку о предоставлении земельных участков.

К ходатайству о предоставлении земельных участков прилагаются следующие документы: материалы предварительного согласования места расположения насаждений, соответствующие документы о финансировании строительства, рабочий проект (предложения по отводу земель для создания насаждений).

Предложения по отводу земель для создания насаждений должны содержать сведения о народнохозяйственном значении автомобильной дороги, ущербе от снежных заносов, обоснование создания насаждений и эффективности их устройства, схемы проектируемых насаждений, расчеты площадей изъятия земель, экспликацию изымаемых под лесонасаждения земель как в целом по автомобильной дороге, так и в пределах каждого землепользователя, рекомендации по использованию земель, заключенных между дорогой и насаждениями, сборный план дороги в масштабе 1:10000-1:50000 с запроектированными насаждениями.

5.11. Оформление предоставления земель осуществляется главными (старшими) инженерами-землеустроителями производственных управлений сельского хозяйства рай(гор)исполкомов или государственными проектными институтами по землеустройству (гипроземами) системы Госагропрома СССР по договорам с дорожными организациями.

5.12. По заключенным договорам перечисленные в п. 5.11 организации обеспечивают подготовку землеустроительного дела на предоставление земельных участков. Проводятся согласования с землепользователями и с соответствующими организациями, в ведении которых находятся землепользователи. Изъятие участков из земель, находящихся в пользовании колхозов, может производиться только с согласия общих собраний членов колхозов или собраний уполномоченных. Уточняются убытки землепользователей и потери сельскохозяйственного производства, связанные с изъятием земельных участков, в порядке, изложенном в п. 5.6.

По материалам о предоставлении земельных участков должны быть получены заключения государственного районного инспектора по использованию и охране земель и главного архитектора города (районного архитектора) о целесообразности предоставления земельного участка. В землеустроительное дело, помимо материалов, указанных в п. 5.10, следует включать план земель колхоза, совхоза или другого землепользователя с нанесенными на него границами земельных угодий, полей севооборотов, земельных участков, намеченных к предоставлению, и эксплуатацию земельных угодий хозяйства, из земель которого изымается участок, и предоставляемого участка (участков). По подготовленным материалам райисполком (горисполком) принимает решение о необходимости предоставления земельных участков и условиях их отвода.

5.13. Организация, занимающаяся подготовкой землеустроительного дела, направляет его на заключение республиканским (АССР), краевым, областным органам строительства и архитектуры сельского хозяйства. С учетом полученных заключений готовится проект решения Совета Министров автономной республики, крайисполкома, облисполкома.

5.14. Совет Министров автономной республики, крайисполком, облисполком рассматривают землеустроительное дело и принимают решение о предоставлении земельных участков.

При предоставлении земельных участков, связанных с изъятием орошаемых и осушенных земель, пашни, земельных участков, занятых многолетними плодовыми насаждениями и виноградниками, решение о предоставлении земельных участков должно приниматься Советом Министров РСФСР.

В этих случаях Совет Министров автономной республики, крайисполком, облисполком докладную записку Совету Министров РСФСР, свое решение и землеустроительное дело направляют на заключение в Госагропром РСФСР.

Госагропром РСФСР рассматривает материалы об отводе земельных участков, согласовывает с заинтересованными министерствами и ведомствами, из земель хозяйств которых производится изъятие земельных участков, вопросы отвода земель и со своим заключением направляет их в Совет Министров РСФСР.

5.15. Приступать к созданию насаждений на представленных распоряжением Совета Министров РСФСР или решением Совета Министров автономной республики, крайисполкома, облисполкома в пользование земельных участков можно лишь после установления соответствующими землеустроительными органами (см. п. 5.11) границ этих участков на местности и выдачи государственных актов на право пользования землей.

Составление и выдача государственных актов на право пользования землей производятся в соответствии с «Инструкцией о порядке составления, выдачи (замены) и хранения государственных актов на право пользования землей», утвержденной Министерством сельского хозяйства СССР 7 сентября 1976 г. на основании распоряжения Совета Министров СССР от 26 марта 1975 г. № 657р.

Государственные акты на право пользования землей, предоставленной в бессрочное пользование, выдаются исполнительными комитетами районных (городских) Советов народных депутатов в пределах каждого района.

5.16. Отвод земельных участков под насаждения на местности и выдача государственных актов производятся по мере фактической необходимости после уборки выращенного на них урожая. В автономных республиках, краях, областях и административных районах, приведенных в приложении 16, земельные участки выделяются не позднее чем за год до посадки с целью качественного проведения подготовки почвы. На южных черноземах и в зоне каштановых почв земли отводятся с учетом необходимости подготовки почвы в течение 2 лет. В автономных республиках, краях, областях и административных районах, не указанных в приложении 16, земельные участки под посадку будущего года отводятся до 1 сентября текущего года.

6. ПОРЯДОК УТВЕРЖДЕНИЯ ПРОЕКТОВ

6.1. Проекты снегозащитного, декоративного и противоэрозионного озеленения строящихся и реконструируемых дорог, входящие в проект строительства (реконструкции), рассматриваются и утверждаются в установленном порядке.

6.2. Проекты озеленения существующих автомобильных дорог рассматриваются и утверждаются управлениями автомобильных дорог, а также производственными управлениями по строительству и эксплуатации автомобильных дорог автономных республик, краев и областей.

6.3. Рабочие проекты озеленения подвергаются ведомственной экспертизе и подлежат утверждению в порядке, предусмотренном постановлением ЦК КПСС и Совета Министров СССР «О мерах по дальнейшему улучшению проектно-сметного дела» от 30 марта 1981, г.

ПРИЛОЖЕНИЕ 1

Обоснование наивыгоднейшего расчетного объема снегоприноса для проектирования снегозащитных насаждений автомобильных дорог

Способ определения наивыгоднейшего расчетного объема снегоприноса разработан ЦНИИ МПС (Д.М. Мельник1) и ЦНИИС Минтрансстроя (В.Н. Ляховский2) в конце 50-х годов. Заключается он в следующем.

_____________

1 Мельник Д.М. Предупреждение снежных заносов на железных дорогах: М.: Транспорт, 1966, с. 243. (Труды ЦНИИ МПС; Вып. 313).

2 Ляховский В.Н. Методика определения максимального и расчетного расходов снега при проектировании защиты пути от снежных заносов. М.: ЦНИИС, 1958 (сообщение 140).

В случае когда мероприятия запроектированы на задержание максимального объема приносимого снега, затраты на создание и эксплуатацию их достигают максимальной величины. Если мероприятия запроектированы на задержание сравнительно небольшого расхода снега, эти затраты будут незначительными, но зато при превышении расчетного объема снегоприноса потребуются большие затраты на задержание избыточного объема снега другими средствами.

Варианты с более мощной основной защитой характеризуются большими ежегодными затратами R1 по содержанию основной защиты и меньшими ежегодными затратами R2 по задержанию избыточного объема снега дополнительными средствами защиты.

Варианты с менее мощной основной защитой, наоборот, характеризуются меньшими ежегодными затратами R1 и большими R2.

Эти условия определяют характер изменения приведенных к начальному году затрат Е1 и Е2 и их суммы Э = Е1 + Е2 в зависимости от годовых расходов снега различной вероятности превышения, что схематически показано на рис. 1. Наиболее выгодным является такое значение расчетного расхода Wрасч3/м) и вероятности его превышения Р %, при которых сумма приведенных строительно-эксплуатационных затрат Э будет минимальной:

Э = Е1 + Е2 = min.

Примечание. Как показано на рис. 1, этому минимуму соответствует ордината Эmin.

Определение наивыгоднейшего расчетного объема снегоприноса производится в следующем порядке:

1. По данным гидрометеослужбы строят кривую обеспеченности объемов снегоприноса (кривая вероятности превышения максимального расхода снега) для района, в котором определяют наивыгоднейший расчетный объем снегоприноса (см. приложение 2).

2. Выбирают схемы снегозащитных насаждений для различных объемов снегоприноса, наблюдающихся в районе.

Для каждой схемы насаждений с учетом местных условий определяют суммарные приведенные затраты Rн на создание и выращивание 1 км насаждений и уход за ними в течение 30-летнего периода в соответствии с разделом 3.4 данных Указаний.

Пользуясь полученными данными о суммарных приведенных затратах для каждой схемы насаждений (соответствующей определенному объему снегоприноса) и построенной ранее кривой обеспеченности снегоприноса, строят график зависимости между стоимостью насаждений и вероятностью превышения объемов снегоприноса.

3. Для тех же объемов снегоприноса, для которых были выбраны схемы снегозащитных насаждений, намечают способы дополнительной защиты (щиты, заборы), которые могут быть использованы для усиления снегозащитных насаждений в те зимы, когда фактический объем снегоприноса будет больше расчетного.

Рис. 1. Изменение затрат при годовых расходах снега различной вероятности превышения:

1 - приведенные к начальному голу затраты Е1; 2 - приведенные к начальному году затраты Е2; 3 - суммарные затраты Э = Е1 + Е2

Для каждого из намеченных способов дополнительной защиты подсчитывают суммарные приведенные затраты (за тот же период, что и для насаждений) на 1 км снегозащитной линии. Пользуясь полученными стоимостными данными, строят кривую стоимости дополнительной защиты Rд.зР = f(P). Учитывая, что затраты на дополнительную защиту, предназначенную для задержания избыточного над расчетным приноса снега, имеют не достоверный, а вероятный характер, значения Rд.з умножают на величину Р, так как в этом случае принимается, что ежегодные расходы по дополнительной защите производятся не полностью, а частично.

4. Кривая стоимости дополнительной защиты наносится на тот же график, что и кривая стоимости насаждений. Затем в том же масштабе строится суммарная кривая затрат на основную и дополнительную защиту, ординаты которой получают, суммируя ординаты первых двух кривых.

В качестве наиболее выгодного расчетного объема снегоприноса принимается объем, соответствующий минимуму суммы затрат на насаждения и дополнительную защиту. Минимум суммы затрат соответствует также определенному проценту превышения Р, устанавливаемому по тому же графику, на который нанесены упомянутые выше кривые.

Указанная вероятность превышения Р и должна приниматься в основу расчетов при проектировании снегозащитных насаждений автомобильных дорог.

При определении наивыгоднейшего расчетного объема снегоприноса необходимо иметь в виду следующее. Поскольку в расчетах используется большое количество разнохарактерных данных, зависящих от местных природных условий (размеры и характер метелевого переноса, лесорастительные условия и т.д.), а также от экономических факторов (цены на материалы, стоимость возмещения затрат и связи с изъятием земель из сельскохозяйственного пользования и др.), которые могут быть весьма различными в разных зонах республики, не следует производить единый расчет для очень крупных районов. Например, не следует делать общий расчет для всей территории РСФСР. Расчет следует выполнять отдельно для каждого района, отличающегося от других применяемыми конструкциями насаждений, ценами на материалы для снегозащитных устройств, величиной возмещаемых потерь, вызванных изъятием земель из сельскохозяйственного производства, урожайностью сельскохозяйственных культур на полях, прилегающих к насаждениям, ценам на сельскохозяйственную продукцию и т.д.

Определение наивыгоднейшего расчетного объема снегоприноса для района с интенсивной метелевой деятельностью приведено ниже.

Пример. Требуется определить наивыгоднейший расчетный объем снегоприноса для проектирования снегозащитных насаждений с наиболее заносимой стороны автомобильной дороги, проложенной в юго-западной части Алтайского края в районе г. Рубцовска. Задача сводится к определению вероятности превышения объемов снегоприноса %), которую нужно принимать в расчет при проектировании насаждений, чтобы обеспечить наиболее выгодное в экономическом отношении решение.

Для вычислений используются данные об объемах переноса снега в районе метеостанции г. Рубцовска за 15 зим для четырех румбов (СВ, В, ЮВ, Ю) с наибольшим суммарным объемом снегоприноса к той стороне дороги, для которой надо запроектировать насаждения (табл. 1)*.

______________

* Данные взяты из Указаний по изысканию и проектированию защитных лесонасаждений вдоль линий железных дорог СССР. М.: Транспорт, 1974.

Таблица 1

Зимы, годы

Объемы переноса снега по румбам, м3

Суммарный объем, м3

СВ

В

ЮВ

Ю

1953/54

-

56,3

5,3

433,5

495,1

1954/55

42,6

-

0,7

453,6

496,9

1955/56

56,8

-

6,1

494,6

557,5

1956/57

36,3

-

52,6

495,7

616,4

1957/58

-

4,2

15,4

596,8

584,2

1958/59

-

-

7,7

57,5

65,2

1959/60

13,4

-

-

208,8

222,2

1960/61

6,9

-

-

108,4

115,2

1961/62

9,8

-

-

33,7

43,5

1962/63

79,4

-

-

149,0

228,4

1963/64

6,4

-

-

230,1

236,5

1964/65

2,6

-

-

73,5

76,1

1965/66

5,2

-

-

44,6

49,8

1966/67

4,3

-

-

292,1

296,4

1967/68

21,7

-

0,7

83,1

105,5

Рис. 2. Кривая обеспеченности объемов снегоприноса по данным метеостанции г. Рубцовск Алтайского края

Рис. 3. Кривые затрат:

1 - на основную защиту (лесонасаждения); 2 - на дополнительную защиту (заборы и щиты); 3 - суммарная кривая на оба вида защиты

Таблица 2

Объем снегоприноса, W, м3

Превышение Р, соответствующее данному W на кривой обеспеченности (см. рис. 3), %

Принятая схема снегозащитных насаждений (основная защита)

Приведенные затраты Rн, руб. (с учетом платы за занятие земли и пребыли за счет повышения урожайности)

Принятая схема защиты с помощью щитов и заборов (дополнительная защита)

Приведенные затраты Rд.з руб., умноженные на процент превышения

Суммарные приведенные затраты Э, руб., на основную и дополнительную защиту Rн +

50

90

Четырехрядная лесная полоса

237

Один ряд щитов. Одна перестановка

8525

8762

150

70

Восьмирядная лесная полоса

770

Один ряд щитов. Три перестановки

7431

8201

300

40

Две полосы: первая - семирядная, вторая - пятирядная

1874

Один ряд щитов. Шесть перестановок

5980

7854

600

8

Четыре полосы: первая, вторая и третья - семирядные, четвертая - пятирядная

4734

Два ряда щитов. Шесть перестановок

2988

7722

935

1

Пять полос: первая, вторая, третья, четвертая - семирядные, пятая - пятирядная

7279

Шесть рядов щитов. Одна перестановка

632

7911

Затем подсчитываются суммарные объемы снегоприноса по указанным румбам, которые используются для вычисления статистических показателей и построения кривой обеспеченности снегоприносов в соответствии с методикой, изложенной в приложении 2 (рис. 2).

Данные о приведенных затратах на насаждения и снегозащитные устройства (на 1 км снегозащитной линии), выбранные для условий настоящего примера, сведены в табл. 2. В этой же таблице приведены суммарные затраты на оба вида защиты.

На основании данных табл. 2 построены кривые затрат для основной защиты (насаждения) и дополнительной защиты (снегозащитные устройства), а также кривая суммарных затрат (рис. 3). Минимум суммарных затрат соответствует 8 % вероятности превышения.

ПРИЛОЖЕНИЕ 2

Методика определения расчетного снегоприноса заданной обеспеченности

В основу аналитического метода расчета годового снегоприноса к линии защиты положены труды Всесоюзного научно-исследовательского института железнодорожного транспорта (Д.М. Мельник), Всесоюзного научно-исследовательского института транспортного строительства (В.И. Ляховский) и накопленный опыт проектно-изыскательских работ института «Союзгипролесхоз» по защите автомобильных дорог от снежных заносов.

Сведения метеостанций по ветровому режиму преобразовывают в объемы переносимого снега на основании установленной Д.М. Мельником зависимости между осредненной интенсивностью горизонтального переноса снега и скоростью ветра на высоте флюгера:

,

где i - интенсивность горизонтального переноса снега, м3/м-ч; С - коэффициент пропорциональности, величина которого зависит от плотности снега в метелевых сугробах; u - скорость ветра на высоте флюгера, м/с.

Для большей части европейской территории СССР (кроме восточных и юго-восточных районов), где плотность снега равна 0,25 т/м3, коэффициент пропорциональности С принимается в размере 0,00031; для районов Сибири, востока и юго-востока европейской части СССР - в размере 0,00026.

Количество переносимого снега W за время действия t метелевого ветра определенного направления можно вычислить по формуле

W = it.

Практически для расчета снегоприноса из журналов наблюдений метеостанции выбирают сведения по скорости и продолжительности ветров не менее чем за 10 подряд идущих зим при определенных погодных условиях (температура воздуха ниже 0 °С, скорость ветра на высоте флюгера более 6 м/с, высота снежного покрова не менее 10 см). Принятая в расчетах продолжительность периода наблюдений (не менее 10 зим) позволяет избежать экстраполяции при определении годового расчетного снегоприноса принятой обеспеченности.

Выбранные из журналов наблюдений метеоданные записывают в форму, приведенную в табл. 1 (приложение 2), а затем случаи ветра группируют по направлениям и скоростям (табл. 2 приложения 2).

При заполнении формы (см. табл. 2) разноску следует производить по восьми основным румбам. Случаи ветра, приходящиеся на промежуточные румбы, делят примерно пополам и относят к соседним основным направлениям. Это упрощение облегчает последующие расчеты и не имеет практического значения для конечных результатов1.

______________

1 Определение расчетного объема снегоприноса можно осуществлять с помощью ЭВМ по специально разрабатываемым программам.

На основании таблиц повторяемости метелевых ветров, составленных на каждую зиму, и таблиц расчетных объемов снегоприноса в зависимости от скорости ветра на высоте флюгера и повторяемости метелевых ветров (см. приложение 18) рассчитывают объемы переноса снега за каждую зиму по всем основным направлениям ветра (табл. 3). Для этого из табл. 2 данного приложения в форму ведомости объемов переноса снега (см. табл. 3) переписывают значения повторяемости t соответствующих скоростей ветра, а по таблицам приложения 18 определяют расчетный снегоперенос W. Следует иметь в виду, что таблицы расчетных объемов снегопереноса составлены для снега плотностью 0,25 и 0,30 т/м3 при восьми срочных наблюдениях за ветром на метеостанциях. Если на метеостанции имеются многолетние данные (не менее чем за 5-7 лет) по плотности снежных отложений в предвесенний (февральский) период и средние их значения не совпадают с принятыми в таблицах, в расчеты вводится поправка на фактическую плотность снега. Для этого табличные значения снегопереноса умножаются на коэффициент, равный отношению плотности снега, принятого в таблице, к средней плотности по данным метеостанции. В случае использования для расчетов сведений метеостанций по ветру при четырех срочных наблюдениях в сутки продолжительность каждого случая принимается равной 6 ч, поэтому табличные значения снегопереноса следует увеличить в 2 раза.

Таблица 1

Метеорологические элементы зимы 198 /8 г.
по наблюдениям метеостанции ______________________________________________

Ноябрь 198__г.

(месяц)

Числа месяца

Среднесуточная температура, °С

Направление и скорость ветра, м/с, в часы наблюдений

Высота снежного покрова,

см

0

3

6

9

12

15

18

21

8

-1,7

-

-

-

ЮЗ-6

З-8

З-7

-

-

10

9

-4,9

-

-

ЮЮЗ-6

ЮЮЗ-7

ЮЗ-12

ЮЗ-9

ЮЮЗ-6

-

10

12

-6,8

-

-

ЮЗ-7

ЮЗ-8

З-12

ЮЗ-9

ЮЗ-7

-

12

14

-6,2

З-6

ЮЗ-7

ЮЗ-6

ЮЮВ-6

ЮВ-8

ЮЮВ-10

ЮЮВ-7

-

12

27

-10,1

-

-

ЮЗ-6

ЮЗ-7

ЮЗ-9

Ю-10

Ю-8

ЮЗ-6

19

28

-7,0

ЮЗ-6

ЮЗ-7

ЮЮВ-7

ЮЮВ-9

ЮВ-13

ЮВ-12

ЮЮВ-10

Ю-8

19

Таблица 2

Повторяемость метелевых ветров по направлениям и скоростям в зиму 1986/87 г. (метеостанция _______________________________)

Скорость ветра, м/с

Повторяемость ветров по направлениям (в случаях)

С

СВ

В

юв

ю

юз

З

СЗ

6

1

-

1

3

3

3

-

-

7

-

-

4

6

4

4

-

-

8

-

-

2

4

3

4

-

-

9

-

-

3

1

4

2

-

-

10

-

-

-

1

1

1

-

-

11

-

-

-

-

1

1

-

-

12

-

-

2

1

1

1

-

-

13

-

-

-

-

-

-

-

-

14

-

-

1

-

-

-

-

-

15

-

-

-

1

-

-

-

-

16

-

-

1

-

-

-

-

-

17

-

-

-

-

-

-

-

-

18

-

-

-

-

-

-

-

-

19

-

-

-

-

-

-

-

-

20

-

-

-

-

-

-

-

-

Расчетные объемы снегопереноса за сезон SW по направлениям ветра определяются суммированием снегопереноса при всех скоростях метелевого ветра данного направления и указываются в итоге ведомости (см. табл. 3). Они служат основой для вычисления объемов снегоприноса с каждой стороны участка автомобильной дороги, которые представляют собой геометрическую сумму расчетных объемов снегоприноса по всем румбам, относящихся к определенной стороне дороги данного направления. Например, для участка дороги с направлением С-Ю объем снегоприноса с левой стороны дороги выразится уравнением

,

а с правой

.

Практически итоговые объемы переноса снега по направлениям ветра, указанные в табл. 4, умножаются на коэффициенты, равные величине синуса угла подхода метелевых ветров к линии автомобильной дороги. Полученные результаты суммируются отдельно с левой и правой стороны дороги. При изменении направления дороги на обратное левая и правая стороны дороги меняются местами. Это учитывается в табл. 4.

Таблица 3

Ведомость объемов переноса снега W за зиму 1986/87 г.
по основным направлениям ветра (метеостанция_________________________)

Скорость ветра u, м/с

Объемы переноса снега, м3/м, по направлениям ветра

С

СВ

В

юв

ю

юз

З

сз

t

WС

t

WСВ

t

WВ

t

WЮВ

t

WЮ

t

WЮЗ

t

WЗ

t

WС

6

1

0,2

-

-

1

0,2

3

0,6

3

0,6

3

0,6

-

-

-

-

7

-

-

-

-

4

1,3

6

1,9

4

1,3

4

1,3

-

-

-

-

8

-

-

-

-

2

1,0

4

1,9

3

1,4

4

1,9

-

-

-

-

9

-

-

-

-

1

0,7

1

0,7

4

2,7

2

1,4

-

-

-

-

10

-

-

-

-

-

-

1

0,9

1

0,9

1

0,9

-

-

-

-

11

-

-

-

-

-

-

-

-

1

1,2

1

1,2

-

-

-

-

12

-

-

-

-

2

-

1

1,6

1

1,6

1

1,6

-

-

1

1,6

13

-

-

-

-

-

-

-

-

-

-

-

-

-

-

-

-

14

-

-

-

-

1

2,6

-

-

-

-

-

-

-

-

-

-

15

-

-

-

-

-

-

1

3,1

-

-

-

-

-

-

-

-

16

-

-

-

-

1

3,8

-

-

-

-

-

-

-

-

-

-

17

-

-

-

-

-

-

-

-

-

-

-

-

-

-

-

-

Итого:

-

0,2

-

-

-

9,6

-

10,7

-

9,7

-

8,9

-

-

-

1,6


Таблица 4

Расчет объемов снегоприноса за зиму 1986/87 г. с левой и правой сторон дороги при различном ее направлении относительно стран света (метеостанция___________________________)

WС

WСВ

WВ

WЮВ

WЮ

WЮЗ

WЗ

WСЗ

0,2

-

9,6

10,7

9,7

8,9

-

1,6

 

Направление дороги

С-Ю

СВ-ЮЗ

В-З

ЮВ-СЗ

 

Сторона снегоприноса

левая

правая

левая

правая

левая

правая

левая

правая

 

sin W

0,7WСВ

 

0,7WЮЗ

 

0,7WВ

6,7

0,7WЗ

0

0,7WЮВ

7,5

0,7WСЗ

1,1

0,7WЮ

 

0,7WС

 

 

 

WВ

 

WЗ

 

WЮВ

10,7

WСЗ

1,6

WЮ

9,7

WС

0,2

WЮЗ

 

WСВ

 

 

 

0,7WЮВ

 

0,7WСЗ

 

0,7WЮ

6,8

0,7WС

0,1

0,7WЮЗ

6,2

0,7WСВ

0

0,7WЗ

 

0,7WВ

 

 

S

S

 

S

 

S

24,2

S

1,7

S

23,4

S

1,3

S

 

S

 

Сторона снегоприноса

правая

левая

правая

левая

правая

левая

правая

левая

 

Направление дороги

Ю-С

ЮЗ-СВ

3-В

СЗ-ЮЗ

 

Продолжение табл. 4

Направление дороги

сСв-ююз

ВСВ-ЗЮЗ

вюв-вСз

ЮЮВ-ССЗ

Сторона снегоприноса

левая

правая

левая

правая

левая

правая

левая

правая

sin W

0,4WСВ

0

0,4WЮЗ

3,6

0,4WВ

3,8

0,4WЗ

0

0,4WЮВ

 

0,4WСЗ

 

0,4WЮ

 

0,4WС

 

 

0,9WВ

8,6

0,9WЗ

0

0,9WЮВ

9,6

0,9WСЗ

1,4

0,9WЮ

 

0,9WС

 

0,9WЮЗ

 

0,9WСВ

 

 

0,9WЮВ

9,6

0,9WСЗ

1,4

0,9WЮ

8,7

0,9WС

0,2

0,9WЮЗ

 

0,9WСВ

 

0,9WЗ

 

0,9WВ

 

 

0,4WЮ

3,9

0,4WС

0,1

0,4WЮЗ

3,6

0,4WСВ

0

0,4WЗ

 

0,4WВ

 

0,4WСЗ

 

0,4WЮВ

 

S

S

22,1

S

5,1

S

25,7

S

1,6

S

 

S

 

S

 

S

 

Сторона снегоприноса

правая

левая

правая

левая

правая

левая

правая

левая

Направление дороги

ююз-сСв

ЗЮЗ-ВСВ

ЗСЗ-ВЮВ

ССЗ-ЮЮВ

Таблица 5

Расчет статистических показателей снегоприноса за ряд зим и параметров для построения биномиальной асимметричной кривой обеспеченности (метеостанция_________________________).

Направление дороги ЮЗ-СВ (снегопринос с левой стороны)

зим, ранжированных по снегоприносу

Годы по зимам

Объем снегоприноса, м3

Обеспеченность Р, %

Кm - 1

(Кm - 1)2

(Кm - 1)3

Расчет ординат биномиальной кривой

Р, %

Ф

ФСv

ФСv + 1

Wp, м3

1

1969/70

84

6,7

2,15

1,15

1,32

1,52

1

2,68

1,77

2,77

108

2

1969/70

79

16,3

2,02

1,02

1,04

1,06

3

2,08

1,37

2,37

93

3

1967/68

46

26,0

1,18

0,18

0,03

0,01

5

1,77

1,17

2,17

85

4

1970/71

45

35,6

1,15

0,15

0,02

0,00

10

1,32

0,87

1,87

73

5

1965/66

37

45,2

0,95

-0,05

0,00

0,00

20

0,81

0,53

1,53

60

6

1964/65

32

54,8

0,82

-0,18

0,03

-0,01

30

0,46

0,30

1,30

51

7

1968/69

27

64,4

0,69

-0,31

0,10

-0,03

40

0,17

0,11

1,11

43

8

1972/73

22

74,0

0,56

-0,44

0,19

-0,09

50

-0,08

-0,05

0,95

37

9

1963/64

15

83,6

0,38

-0,62

0,38

-0,24

60

-0,33

-0,22

0,78

30

10

1971/72

4

93,3

0,10

-0,90

0,81

-0,73

70

-0,58

-0,38

0,62

24

 

 

 

 

 

 

 

 

80

-0,85

-0,56

0,44

17

 

 

 

 

 

 

 

 

90

-1,22

-0,80

0,20

8

n = 10

S = 391

 

 

 

 

3,92

1,49

95

-1,49

-0,98

0,02

1

;

97

-1,66

1,10

-0,10

 


Расчеты объемов снегоприноса рекомендуется выполнять только для тех направлений дороги, на которых будут производиться изыскания с целью разработки проекта мероприятий (по каждой зиме отдельно).

Снегозащитные насаждения автомобильных дорог принято рассчитывать на задержание объемов переносимого снега заданной обеспеченности. Для этого строятся кривые вероятности превышения (обеспеченности) снегоприноса с левой и правой сторон дороги на основе применения методов математической статистики, используемых в гидрологических расчетах.

С целью построения этих кривых рассчитанные объемы снегоприноса за ряд последовательно идущих зим округляют до целых величин и группируют по направлениям отдельно по каждой стороне дороги. Для вычислений цифровой материал в статистических рядах располагают в убывающем порядке (табл. 5), а обеспеченность вычисленных по метеоданным величин снегоприноса определяют по таблице (см. приложение 19), составленной на основании формулы Н.Н. Чегодаева:

,

где Р - обеспеченность величины снегоприноса, %; m - порядковый номер члена ряда величин снегоприноса, расположенных в убывающем порядке; n - общее число членов ряда.

Объемы снегоприноса наносятся на клетчатку вероятностей (см. приложение 17) в соответствии с вычисленной обеспеченностью (см. табл. 5) в принятом масштабе оси ординат. Сглаживание нанесенных точек достигается биномиальной кривой обеспеченности, положение которой на графике определяется тремя параметрами: среднеарифметическим значением объема снегоприноса за ряд зим W0, коэффициентом вариации объемов Cv и коэффициентом асимметрии Cs.

Средняя величина снегоприноса за ряд зим

,

где Wm - объем снегоприноса за зиму с порядковым номером m в статистическом ряду; n - общее число зим, включенное в расчеты.

Коэффициент вариации Cv и коэффициент асимметрии Сs вычисляют методом моментов:

;

,

где Кm - модульный коэффициент, равный отношению снегоприноса за зиму с порядковым номером m к средней величине снегоприноса за весь ряд зим:

.

Включенный в расчеты ряд зим считается достаточным для установления средней расчетной величины снегоприноса в том случае, когда величина средней относительной средней квадратичной ошибки ее ev0 не превышает 25-30 %.

В случае если относительная средняя квадратичная ошибка превышает указанные пределы, величина среднего снегоприноса, коэффициенты изменчивости и асимметрии приводятся к более длительному периоду, для чего в расчеты вводятся метеоданные по ветровому режиму за следующие зимы.

Если метеостанция не располагает достаточным числом лет наблюдений за ветром и при этом в расчетах не обеспечивается выполнение условия ev0 £ 25 (30) %, расчетная величина снегоприноса определяется на основании данных, имеющихся на метеостанции.

Относительная средняя квадратичная ошибка среднего снегоприноса за ряд зим

.

Ординаты кривой обеспеченности определяют по известным параметрам W0, Сv, Cs с использованием формулы

,

где Wp - ординаты для обеспеченности Р; Ф - относительные отклонения ординат биномиальной кривой обеспеченности от середины (единицы) при Cv = l,0 к заданном значении Cs.

При этом значения Ф берутся в соответствии с вычисленным коэффициентом асимметрии Cs по таблице (см. приложение 20).

Вычисленные значения Wp наносят на клетчатку вероятностей и соединяют кривой, которая должна пройти в соответствии с общим расположением ранее нанесенных на график точек снегоприноса, рассчитанных по данным метеостанции. Из-за возможных больших ошибок вычисления коэффициента асимметрии Cs это условие может быть нарушено. В таких случаях рекомендуется путем изменения соотношения параметров Сs:Сv за счет коэффициента асимметрии подобрать кривую, удовлетворяющую указанному условию. Допустимо любое соотношение Cs и Cv, лишь бы кривая обеспеченности соответствовала точкам снегоприноса, рассчитанным по данным метеостанции.

По кривой в соответствии с заданной обеспеченностью определяют годовой расчетный снегопринос, на задержание которого проектируются насаждения. На каждом графике, составленном по направлениям автомобильной дороги, показывают кривые обеспеченности с левой и правой сторон.

ПРИЛОЖЕНИЕ 3

План размещения снегозащитных насаждений

ПРИЛОЖЕНИЕ 4

Форма описания почвенного разреза

Наименование проектной организации

Описание почвенного разреза № __________

1. Управление дороги (автодор) _______________________________________________

2. ДРСУ ___________________________________________________________________

3. Наименование дороги _____________________________________________________

4. Привязка разреза _________________________________________________________

(км, ПК, сторона дороги)

5. Общий рельеф ___________________________________________________________

(в горах - высота над уровнем моря)

6. Элемент мезорельефа, на котором заложен разрез _____________________________

__________________________________________________________________________

(склон, вершина, гребень, седловина, равнина, пойма и т.д.)

7. Экспозиция ____________________________, крутизна ________________________

8. Микрорельеф ____________________________________________________________

9. Угодье и его культурное состояние _________________________________________

10. Состояние поверхности __________________________________________________

(каменистость, задернение, проявление эрозии и т.д.)

11. Растительный покров _____________________________________________________

(тип условий местопроизрастания, ассоция, сорняки, степень засоренности и т.д.)

12. Глубина верхней и нижней границы, см _____________________________________

Вскипания

Скоплений

Легкорастворимых солей

Железистых выделений

Пятен оглеения

Глеевого горизонта

Очень плотного и плотного горизонтов

слабое

сильное

СаСО3

гипса

форма образования

 

 

 

 

 

 

 

 

 

13. Уровень грунтовых вод и их минерализация _________________________________

14. Капиллярная кайма ______________________________________________________

15. Почвообразующая и подстилающая порода _________________________________

 

Схема почвенного разреза (мазки)

Горизонт, мощность, см

Глубина взятия образца, см

Влажность

Цвет

Механический состав

Структура

Сложение, плотность

Новообразования, включения

Распространение корней

Наличие вредителей

Характер перехода в следующий горизонт

10

 

 

 

 

 

 

 

 

 

 

 

 

 

 

20

 

 

 

 

 

 

 

 

 

 

 

 

 

 

30

 

 

 

 

 

 

 

 

 

 

 

 

 

 

40

 

 

 

 

 

 

 

 

 

 

 

 

 

 

50

 

 

 

 

 

 

 

 

 

 

 

 

 

 

60

 

 

 

 

 

 

 

 

 

 

 

 

 

 

70

 

 

 

 

 

 

 

 

 

 

 

 

 

 

80

 

 

 

 

 

 

 

 

 

 

 

 

 

 

90

 

 

 

 

 

 

 

 

 

 

 

 

 

 

100

 

 

 

 

 

 

 

 

 

 

 

 

 

 

110

 

 

 

 

 

 

 

 

 

 

 

 

 

 

120

 

 

 

 

 

 

 

 

 

 

 

 

 

 

130

 

 

 

 

 

 

 

 

 

 

 

 

 

 

140

 

 

 

 

 

 

 

 

 

 

 

 

 

 

150

 

 

 

 

 

 

 

 

 

 

 

 

 

 

160

 

 

 

 

 

 

 

 

 

 

 

 

 

 

170

 

 

 

 

 

 

 

 

 

 

 

 

 

 

180

 

 

 

 

 

 

 

 

 

 

 

 

 

 

 

16. Полевое название почвы __________________________________________________

17. Процент площади, занимаемой описываемой почвой в выделе __________________

___________________________________________________________________________

18. Название компонентов комплекса или сочетания и занимаемый ими процент площади ___________________________________________________________________

19. Общая производительная характеристика почвы, рекомендация по использованию ___________________________________________________________________________

20. Окончательное определение почвы _________________________________________

___________________________________________________________________________

___________________________________________________________________________

21. Описание прикопок ______________________________________________________

(привязка, №, полное название почвы, генетические

___________________________________________________________________________

горизонты, их мощность, краткая характеристика признаков, подтверждающих

___________________________________________________________________________

название почвы)

___________________________________________________________________________

___________________________________________________________________________

22. Схема-чертеж положения разреза

Почвовед ________________________                             «___» _________________198 г.

(подпись разборчиво)

ПРИЛОЖЕНИЕ 5

Форма полевого журнала лесомелиоративного обследования

Наименование проектной организации

Филиал (отдел) _____________________________________________________________

№ партии __________________________________________________________________

Управление дороги (автодор) _________________________________________________

ДРСУ _____________________________________________________________________

Наименование дороги _______________________________________________________

Полевой журнал лесомелиоративного обследования

Начальник партии ________________________

Инженер ________________________________

_______________________.19 г.

№ планшета

Литера выдела

Начало и конец выдела, привязанные к километражу дороги

Наименование угодий, категорий неиспользуемых земель

Площадь, га

Характеристика участка: местоположение, рельеф, экспозиция, крутизна, характеристика эрозионных явлении и форм, травостоя, лесонасаждений с указанием таксационных показателей. Описание снегосборной площади, имеющегося снегоудерживающего комплекса и защищаемого участка дороги. Объем снегоприноса: расчетный и редуцированный на снегозадерживающий комплекс

Наименование почвенной разности, механический состав, степень и характер засоленности, уровень грунтовых вод и т.п.

Проектируемые мероприятия

Наименование

Технология выполнения

Очередность (I, II, III очереди)

1

2

3

4

5

6

7

8

9

10

 

 

 

 

 

 

 

 

 

 

 

 

 

 

 

 

 

 

 

 

ПРИЛОЖЕНИЕ 6

Временные нормативы прибавок урожая важнейших сельскохозяйственных культур на полях, защищенных лесными полосами, в сравнении с открытыми полями (утверждены Министерством сельского хозяйства СССР 23 мая 1974 г.)

Экономический район

Культура

Норматив прибавки урожая

ц/га

%

РСФСР (в среднем)

Зерновые культуры:

 

 

 

пшеница озимая

2,4

12

 

» яровая

1,5

11

 

рожь озимая

1,8

16

 

ячмень яровой

1,9

12

 

кукуруза на зерно

3,4

17

 

Технические культуры:

 

 

 

подсолнечник

1,6

14

 

Кормовые культуры:

 

 

 

кукуруза на силос

15,0

13

 

многолетние травы на сено

2,7

16

Центральный (для юго-восточной

Зерновые культуры:

 

 

части Тульской и южной части

пшеница озимая

2,0

12

Рязанской областей)

рожь озимая

1,1

10

 

Кормовые культуры:

 

 

 

многолетние травы на сено

2,5

14

Волго-Вятский (для Мордовской

Зерновые культуры:

 

 

и Чувашской АССР)

пшеница озимая

1,6

11

 

рожь озимая

0,9

9

 

ячмень

2,3

13

 

Кормовые культуры:

 

 

 

кукуруза на силос

22,0

24

 

многолетние травы на сено

2,3

12

Центрально-черноземный

Зерновые культуры:

 

 

 

пшеница озимая

2,3

11

 

» яровая

2,0

11

 

рожь озимая

2,0

13

 

ячмень

2,1

11

 

Технические культуры:

 

 

 

подсолнечник

1,4

11

 

Кормовые культуры:

 

 

 

кукуруза на силос

22,0

20

 

многолетние травы на сено

2,3

15

Поволжский

Зерновые культуры:

 

 

 

пшеница озимая

2,0

11

 

» яровая

1,4

11

 

рожь озимая

1,5

11

 

ячмень

1,3

10

 

Технические культуры:

 

 

 

подсолнечник

1,3

14

 

Кормовые культуры:

 

 

 

кукуруза на силос

19,0

25

 

многолетние травы на сено

2,2

15

Северо-Кавказский

Зерновые культуры:

 

 

 

пшеница озимая

2,9

13

 

ячмень

1,9

12

 

кукуруза на зерно

3,2

13

 

Технические культуры:

 

 

 

подсолнечник

1,6

12

 

Кормовые культуры:

 

 

 

кукуруза на силос

15,0

14

 

многолетние травы на сено

3,0

14

Западно-Сибирский

Зерновые культуры:

 

 

 

пшеница яровая

0,9

8

 

ячмень

1,1

8

 

Кормовые культуры:

 

 

 

кукуруза на силос

22,6

17

 

многолетние травы на сено

2,0

20

ПРИЛОЖЕНИЕ 7

Нормативы стоимости освоения новых земель взамен изымаемых для несельскохозяйственных нужд, руб./га*

_____________

* Утверждены постановлением Совета Министров РСФСР от 6 апреля 1978 г.

Экономический район

Под пашню

Под высокопродуктивные кормовые угодья (сенокосы и пастбища)

Норматив стоимости

В том числе

Норматив стоимости

В том числе

капитальные вложения

из них строительно-монтажные работы

капитальные вложения

из них строительно-монтажные работы

РСФСР (в среднем)

6960

5380

3740

3740

2450

1250

Северо-Западный

5420

4180

3090

3780

2450

1070

Центральный

5790

4500

3400

3120

2000

1310

Волго-Вятский

5160

4100

3050

3250

2230

1210

Центрально-Черноземный

7060

5660

4010

3610

2540

1510

Поволжский

7020

5680

4070

4770

3260

1700

Северо-Кавказский

9160

7260

5270

4990

3450

1820

Уральский

4650

4410

2950

3290

2170

1270

Западно-Сибирский

5060

5490

3590

3340

2060

1250

Восточно-Сибирский

6390

4480

2860

3840

2380

1140

Дальневосточный

7190

5090

2800

4090

2570

1140

Примечание. При конкретных расчетах необходимо использовать нормативы, действующие на год проектирования.

ПРИЛОЖЕНИЕ 8

Примерная номенклатура затрат для различных способов предотвращения снежных заносов

Таблица 1

I. Снегозащитные насаждения

а) Капиталовложения на обработку почвы при посадке и послепосадочном уходе

Номенклатура затрат по годам

Число уходов по зонам

Лесная

Лесостепная

Степная

Сухостепная

1

2

3

4

5

1-й год

 

 

 

 

Предпосадочная культивация

1

1

1

1

Сплошное послепосадочное боронование

1

1

1

1

Культивация в междурядьях и закрайках

3

3

4

5

Механизированный уход в рядах

3

3

4

4

Осенняя перепашка или глубокое (до 16 см) рыхление в междурядьях и закрайках

1

1

1

1

2-й год

 

 

 

 

Культивация в междурядьях и закрайках

3

3

4

5

Механизированный или ручной уход в рядах

2-3

2-3

3-4

4-5

Осенняя перепашка или глубокое (до 16 см) рыхление в междурядьях и закрайках

1

1

1

1

3-й год

 

 

 

 

Культивация в междурядьях и закрайках

3

3

3

4

Ручной или механизированный уход в рядах

1-2

1-2

2-3

3

Осенняя перепашка или глубокое (до 16 см) рыхление в междурядьях и закрайках

1

1

1

1

4-й год

 

 

 

 

Культивация в междурядьях и закрайках

2

2

2

2

Ручной или механизированный уход в рядах

1

1

2

2

Осенняя перепашка или глубокое (до 16 см) рыхление в междурядьях и закрайках

-

-

1

1

5-й год

 

 

 

 

Культивация в междурядьях и закрайках

1

1

1

1

Ручной или механизированный уход в рядах

-

-

1

1

Осенняя перепашка или глубокое (до 16 см) рыхление в междурядьях и закрайках

1

1

1

1

6-й, 7-й и последующие годы

 

 

 

 

Культивация в междурядьях

-

-

1

1

Глубокое рыхление в междурядьях и закрайках

-

-

1

1

Примечание. Обработка почвы после ввода молодых лесонасаждений в самостоятельную работу (в зависимости от почвенно-климатических условий и средней высоты верхнего яруса насаждения на 6-12-й год после посадки) должна включаться в ежегодные эксплуатационные затраты (табл. 3 настоящего приложения).

Таблица 2

б) Капиталовложения при посадке лесных культур и устройстве дополнительной защиты

Номенклатура затрат

Годы производства затрат

Дополнение лесных культур

3-й или 4-й

Посадка лесных культур с подвозкой посадочного материала

2-й или 3-й

Изготовление щитов и кольев (дополнительная защита)

1-й

Затраты на возмещение потерь, вызванных изъятием земли из сельскохозяйственного производства

1-й

Таблица 3

в) Эксплуатационные затраты

Номенклатура затрат

Годы производства затрат

Срезка кустарников для омолаживания

10, 18, 26-й

Установка и перестановка щитов в первые годы создания насаждений (дополнительная защита)

1-5-й или 1-6-й

Таблица 4

II. Снегозадерживающие заборы

Номенклатура затрат

Годы производства затрат

а) Капиталовложения

 

Постройка забора

1-й

Затраты на возмещение потерь, вызванных изъятием земли из сельскохозяйственного производства

1-й

б) Эксплуатационные затраты

 

Ремонт забора через каждые 5 лет

6, 11, 16, 21, 26-й

Таблица 5

III. Переносные щиты

Номенклатура затрат

Годы производства затрат

а) Капиталовложения

 

Изготовление щитов (через каждые 7 лет)

8, 15, 22, 29-й

Заготовки кольев (через каждые 4 года)

5, 9, 13, 17, 21, 25, 29-й

б) Эксплуатационные затраты

 

Установка и перестановка щитов и кольев

Ремонт щитов

Ежегодно

Таблица 6

IV. Незаносимые насыпи

Номенклатура затрат

Годы производства затрат

а) Капиталовложения

 

Устройство незаносимой насыпи

1-й

Укрепление откосов посевом трав

1-й

Устройство дорожной одежды (в случае если подъем насыпи до незаносимой отметки производится на существующей дороге, имеющей дорожную одежду)

1-й

б) Эксплуатационные затраты

 

Подсев трав на откосах через 5 лет

6, 11, 16, 21, 26-й

Скашивание травы на откосах

Ежегодно

ПРИЛОЖЕНИЕ 9

Суммарные приведенные затраты, руб., за 30 лет при создании незаносимого поперечного профиля земляного полотна на 1 км дороги (для нового строительства)

Категория дороги

Высота насыпи, м

Затраты, руб., в зависимости от категории дороги, района строительства и высоты насыпи

Московская обл.

Тамбовская обл.

Куйбышевская обл.

К

Сэ

К + Сэ

К

Сэ

К + Сэ

К

Сэ

К + Сэ

1

2

3

4

5

6

7

8

9

10

11

 

1,0

48212

2330

50542

49659

2356

52015

48694

2339

51033

 

1,5

72318

2771

75089

74488

2810

77299

73041

2784

75825

I

2,0

96425

3211

99636

99318

3264

102582

97389

3229

100618

 

2,5

120531

3652

124183

124147

3718

127865

121736

3674

125410

 

3,0

144637

4093

148730

148977

4172

153149

146083

4120

150203

 

 

 

 

 

 

 

 

 

 

 

 

1,0

27431

1950

29381

28254

1965

30219

27705

1955

29660

 

1,5

41147

2201

43348

42382

2223

44605

41558

2208

43766

II

2,0

54863

2451

47314

56508

2482

58990

55411

2462

57873

 

2,5

68578

2702

71280

70635

2740

73374

69264

2715

71979

 

3,0

82294

2953

85247

84762

2998

87760

83116

2968

86084

 

 

 

 

 

 

 

 

 

 

 

 

1,0

22444

1858

24302

23117

1871

24988

22668

1863

24531

 

1,5

33666

2064

35730

34676

2082

36758

34002

2070

36072

III

2,0

44888

2269

47157

46234

2294

48528

45336

2277

47613

 

2,5

56109

2475

58584

57793

2505

60298

56670

2485

59155

 

3,0

67332

2679

70011

69351

2716

72067

68004

2692

70696

 

 

 

 

 

 

 

 

 

 

 

IV

1,0

19119

1798

20917

19692

1808

21500

19300

1801

21111

 

1,5

28678

1973

30651

29539

1988

31527

28964

1978

30943

 

2,0

38237

2148

40385

39385

2168

41553

38619

2155

40774

 

2,5

47797

2322

50119

49230

4517

53748

48275

2331

50606

 

3,0

57356

2397

59853

59076

2529

61605

57929

2508

60437

 

 

 

 

 

 

 

 

 

 

 

 

1,0

15794

1737

17531

16267

1746

18013

15952

1740

17692

 

1,5

23690

1882

25572

24401

1895

26296

23927

1886

25813

V

2,0

31587

2026

33613

32535

2043

35478

31903

2032

33935

 

2,5

39485

2170

41655

40669

2192

42861

39879

2178

42057

 

3,0

47381

2315

49696

48802

2341

51143

47855

2323

50158

Примечание. К - капитальные затраты; Сэ - часть эксплуатационных затрат за 30 лет, увеличившаяся за счет повышения бровки насыпи; К + Сэ - суммарные приведенные затраты.

ПРИЛОЖЕНИЕ 10

Расчетные нормативы затрат на пробег автомобилей по дорогам с покрытием капитального типа

Марка автомобиля

Грузоподъемность, т

Норматив, коп., постоянные затраты на 1 машино-ч работы

1

2

3

УАЗ-451Д

0,8

36,8

УАЗ-451ДА

1,0

39,5

ГАЗ-51А

2,5

37,9

ГАЗ-52-03

2,5

39,8

ГАЗ-53А

4,0

57,1

ЗИЛ-164А

4,0

51,0

ЗИЛ-164А с прицепом

4,0 + 4,0

61,7

ИАПЗ-754В

 

 

ЗИЛ-164А с прицепом

4,0 + 5,0

65,1

ГКБ-817

 

 

ЗИЛ-130В или Б

5,0

62,3

ЗИЛ-130 с прицепом

5,0 + 4,0

73,5

ИАПЗ-754В

 

 

3ИЛ-130 с прицепом

5,0 + 5,0

76,9

ГКБ-817

 

 

ЗИЛ-130Г

5,0 + 5,0

62,9

ЗИЛ-130Г с прицепом

5,0 + 4,0

74,1

ИАПЗ-754В

 

 

ЗИЛ-130Г с прицепом

5,0 + 5,0

76,9

ГКБ-817

 

 

МАЗ-200

7,0

65,7

МАЗ-200 с прицепом

7,0 + 6,8

82,2

МАЗ-5243

 

 

МАЗ-500 с прицепом

7,5 + 6,8

96,0

МАЗ-5243

 

 

МАЗ-500

7,5

79,5

МАЗ-500 с прицепом

7,5 + 8,5

96,9

МАЗ-886

 

 

Урал-377 с прицепом

7,5 + 6,8

107,5

МАЗ-5243

 

 

КрАЗ-257

12,0

95,3

КрАЗ-257 с прицепом

12,0 + 6,8

112,1

МАЗ-5243

 

 

КрАЗ-257 с прицепом

12,0 + 8,5

113,0

МАЗ-886

 

 

Примечания. 1. Заработная плата водителей дана с учетом надбавки за классность: на автомобилях грузоподъемностью 5 т и выше без прицепа и при наличии прицепа грузоподъемностью 4 т - в размере 10 % тарифной ставки; на автомобилях с прицепом грузоподъемностью 5 т и выше - в размере 25 %.

2. Расчетные нормативы постоянных затрат установлены на 1 машино-ч нахождения на линии независимо от условий использования автомобилей.

Данные таблицы соответствуют значениям Сiпост в формуле (10).

ПРИЛОЖЕНИЕ 11

Капитальные вложения в подвижной состав автомобильного транспорта

№ п/п

Тип или марка

Полная восстановительная стоимость, руб.

 

Бортовые автомобили

 

1

УАЗ-451ДМ

1640

2

УАЗ-451Д

1340

3

ГАЗ-51А

1240

4

ГАЗ-52-03

1540

5

ГАЗ-53А

2700

6

ЗИЛ-164 (ЗИЛ-164Р, ЗИЛ-164АД)

1740

7

ЗИЛ-130-66

3140

8

ЗИЛ-130Г

3260

9

Урал-377

8650

10

МАЗ-200 (МАЗ-200М)

3350

11

МАЗ-500

5860

12

КрАЗ-257

8320

 

Прицепы бортовые

 

13

ИАПЗ-754В (АСП-4)

1060

14

МАЗ-5243

1870

15

ГКБ-817

1640

16

МАЗ-886

2000

 

Автобусы

 

17

КАВЗ-651А

2600

18

ПАЗ-625В

4000

19

ЗИЛ-155

4450

20

ЗИЛ-158В

6090

21

ЛАЗ-695Е

5660

22

ЛАЗ-697 «Турист»

7950

 

Легковые автомобили

 

23

ГАЗ-21Т «Волга» (такси)

1690

24

«Москвич-408» (такси)

1440

ПРИЛОЖЕНИЕ 12

Нормативы удельных капитальных вложений в предприятия автомобильного транспорта на один среднесписочный автомобиль, тыс. руб.

Предприятия

Норматив на один автомобиль

грузовой

автобус

легковой

ведомственный

такси

Гаражи

7,08

16,30

6,84

4,73

Базы и станции централизованного технического обслуживания

0,30

0,39

1,32

1,68

Предприятия по капитальному ремонту автомобилей и агрегатов

0,45

0,67

0,48

1,44

Итого по всем видам предприятий

7,89

17,36

8,64

7,85

Примечания. 1. Нормативы по гаражам приведены: для грузовых автомобилей - на 300 машин при открытой стоянке; дли автобусов - на 100 машин при закрытой стоянке; для легковых ведомственных - на 300 машин; для легковых такси - на 800 машин при закрытой стоянке.

2. Нормативы по базам и станциям технического обслуживания установлены из условия выполнения на них ТО-2 в расчете на один грузовой автомобиль 4 раза в год; на автобус - 6 раз в год. Принято при этом, что работы ТО-1 выполняются в гаражах.

3. Нормативы по предприятиям капитального ремонта учитывают сроки работы до капитального ремонта: грузового автомобиля - 3,3 года; автобуса - 5 лет; легкового автомобиля - 5 лет; легкового такси - 1,6 года.

ПРИЛОЖЕНИЕ 13

Определение объемов снегоуборки

Данные об объемах снегоуборки необходимы для установления потребности в снегоочистительных машинах и расчета затрат на снегоочистку. Правильное определение объемов снегоуборки возможно только на основе соответствующих измерений, которые должна проводить дорожная служба после метели или снегопада.

Объем снегоуборки получают умножением толщины снежных отложений на площадь, занятую ими на дороге.

Все измерения проводятся до начала работ по расчистке дорог от снега. Результаты измерений заносятся в журнал.

Определение объемов снегоуборки путем непосредственных измерений возможно только для существующих дорог.

Если оценивается эффективность создания снегозащитных насаждений для проектируемой или строящейся дороги, то ожидаемый объем снегоуборки определяют приближенно расчетным путем. Для этого предварительно подсчитывают объем приносимого к дороге снега с правой и левой ее стороны за каждую метель. Зная объем снегопереноса, определяют объем снегоотложений на дороге, который соответствует объему снегоуборки:

,

где W - объемы снегопереноса, м3/м; f - коэффициент задержания снега дорогой (принимается равным для выемок 0,9, для нулевых мест и малых насыпей - 0,4); L - протяженность участка, для которого определяется объем снегоуборки, м.

При подсчете нужно иметь в виду, что толщина снежных отложений, образующихся на дороге при метелях, не может превышать некоторой предельной величины Нпред, которая составляет для нулевых мест и малых насыпей при условии своевременной уборки снежных валов после патрульной очистки 1,0-1,2, для выемок - 0,9 глубины выемки по ее продольной оси.

В соответствии с этим и объем снегоуборки после каждой метели имеет предельную величину, которую следует подсчитывать исходя из указанных выше значений Нпред и геометрических размеров земляного полотна дороги.

В связи с большим количеством допущений, которые приходится делать, если объем снегоуборки определяют расчетным путем, результаты получаются грубо приближенными. Поэтому данный метод можно использовать только в случае невозможности натурных измерений.

Дата

Характер метелевого явления и его продолжительность, дни

Характеристика занесенных участков

Толщина отложений, м

Объем снежных отложений, м3

От км, пк

До км, пк

Протяженность, м

Ширина земляного полотна, м

Ось дороги

Правая обочина

Левая обочина

Средняя толщина

1

2

3

4

5

6

7

8

9

10

11

15-16

Общая метель, 22

21 + 200

24 + 800

3600

12

2,2

3,4

1,4

2,3

99360

 

 

 

 

 

 

 

 

 

 

 

Примечание. Объем отложений (гр. 11) вычисляется как произведение данных, помещенных в графах 5, 6 и 10.

ПРИЛОЖЕНИЕ 14

Производительность снегоочистительных машин

Машины

Выполняемая работа

Эксплуатационная производительность

м3

м3/смену

Роторные снегоочистители ДЭ-211

Расчистка снежных заносов при толщине отложений 0,4-1,2 м

2700

18400

 

Уборка снежных валов (самостоятельно или вместе с автогрейдерами)

1400

9500

Бульдозеры1 на тракторе Т-100

Расчистка снежных заносов при толщине отложений 0,4-0,8 м

600

4100

 

Уширение полосы расчистки

400

2700

Автогрейдеры средние (ДЗ-31-1 или ДЗ-99-1-4)

Расчистка снежных заносов при толщине отложений 0,3-0,4 м

800

5460

 

Уширение полосы расчистки и разравнивание снежных валов (одиночное)

420

2860

 

Уборка снежных валов (совместно с роторным снегоочистителем)

250

1700

Двухотвальные плужные снегоочистители2 ДЭ-223 на тракторе К-701)

Пробивка первоначального прохода в снежных заносах при толщине отложений до 0,7 м

2,0

13,6

______________

1 При применении бульдозера на тракторе Т-130 производительность увеличивается на 15 %.

2 Для двухотвальных снегоочистителей производительность - га/ч.

ПРИЛОЖЕНИЕ 15

Пример оценки эффективности создания снегозащитных насаждений

Условия. Требуется дать оценку эффективности создания снегозащитных насаждений вдоль автомобильной дороги III категории протяженностью 52 км, проходящем в Московской обл. Ширина земляного полотна 12 м. Интенсивность движения грузовых автомобилей 1000 авт/сут, из них 35 % ГАЗ-51А до 3 т; 45 % ЗИЛ-130 до 5 т; 20 % МАЗ-200 более 5 т. Коэффициент грузоподъемности 0,95, коэффициент выпуска автомобилей на линию 0,6, средняя продолжительность работы одного автомобиля в год 1890 ч (288 сут).

Вся дорога заносима с правой стороны по ходу километража (с левой стороны дорога защищена лесом, справа на 50 % дорога продолжена по лугам и на 50 % по пашням). Из общей протяженности дороги 7 км проложено в выемках глубиной до 2,5 м, остальная часть дороги проходит по заносимым насыпям высотой 0,3 м. Объем снегоприноса 50 м3/м, максимальная высота снежного покрова в районе проложения дороги 0,7 м. Число часов метелей и снегопадов, во время которых производится патрульная очистка, составляет 260 за зиму. Скорость ветра при метелях не превышает 20 м/с.

По данным измерений, проведенных дорожной службой объемы снегоуборочных работ Wуб, при расчистке заносов составляют: за одну сильную метель 454 тыс. м3, из них 32 % при толщине отложений h до 1,2 м; 12 % при h до 0,4 м; 56 % при h до 0,7 м.

Половину образующихся отложений необходимо убрать в течение директивного срока очистки (Тд = 6 ч). Уборка остального количества снега выполняется на протяжении 3 сут после окончания работ, производимых в течение директивного срока очистки.

Длительность полного перерыва проезда по дороге, вызванного снежными заносами, составляет в течение зимы 1 сут, длительность движения со сниженной скоростью до 10 км/ч - 8 сут. Величина потерь предприятий, тяготеющих к дороге, в периоды снежных заносов составляет 60 тыс. руб. в год.

Решение примера. Исходя из объема снегоприноса для защиты дороги от снежных заносов достаточно однополосной 4-рядной посадки из двух рядов деревьев и двух рядов кустарников.

Пользуясь табл. 14, выбираем для сравнения со снегозадерживающими насаждениями другие меры защиты дороги от снежных заносов.

Для участков, проходящих в выемках, такой мерой являются переносные щиты, установленные в один ряд (с учетом скоростей ветров при метелях и объема снегоприноса принимаются переносные щиты IV типа). На остальных участках можно применить, кроме переносных щитов, подъем насыпи до незаносимой отметки (1,3 м).

Таким образом сравнивают три варианта защиты дороги от снега: снегозащитными насаждениями, переносными щитами и незаносимыми насыпями.

Для выявления наиболее экономичного снегозащитного мероприятия производим расчет приведенных затрат на 1 год по каждому варианту для 1 км дороги. Расчет сведен в табл. 1.

При расчете принято:

насаждения вступают в работу по защите дороги на 6-й год. В течение первых 5 лет дорога ограждается с заносимой стороны дополнительной защитной линией переносных щитов;

создание насаждений производится в следующие сроки (см. приложение 8): 1-й год - подготовка почвы; 2-й год - посадка лесных культур и уход за почвой; 3-й год - дополнение лесных культур и продолжение ухода за почвой; 4-й и 5-й годы - продолжение ухода за почвой. В последующие годы (на 10, 18 и 26-й) производится срезка кустарников на пень для омолаживания;

возмещение потерь, вызванных изъятием земельных угодий из сельскохозяйственного производства для размещения насаждений, включено в состав капиталовложений Кно в размере 3120 руб. за 1 га для Центрального района РСФСР (см. приложение 7);

годовая прибыль, получаемая за счет увеличения урожайности сельскохозяйственных культур, рассчитана для пшеницы. Стоимость 1 ц пшеницы для Московской обл. принята 9,2 руб. Учитывая производственные расходы на сбор, обработку, транспортировку дополнительной продукции (1,1 руб.), стоимость 1 ц будет равна 8,1 руб. [см. формулу (7)];

для определения приведенных затрат для переносных щитов принято, что они в течение 30-летнего срока будут изготавливаться 4 раза в соответствии со сроком их службы;

приведенные затраты на подъем насыпи (на 1 м) с доведением ее высоты до незаносимой отметки (1,3 м) определяем по приложению 9 для заданных условий.

Таблица 1

Наименование

Обозначение

Затраты по сравниваемым вариантам, руб.

Снегозащитные насаждения

Переносные щиты

Незаносимая насыпь

Капиталовложения начального года в основную защиту

Кно

2815,1

1934,0

22444,0

Капиталовложения в основную защиту в последующие годы

Кt

271,4

2242,4

-

Капиталовложения начального года и дополнительную защиту

Кн.доп

1934,0

-

-

Капиталовложения за 30-летний срок

К

5020,5

4176,4

22444,0

Эксплуатационные затраты на основную защиту

Сt

45,8

527,0

1858,0

Эксплуатационные затраты на дополнительную защиту

Сдоп t

420,3

-

-

Годовая прибыль за счет повышения урожайности на прилегающих полях

Спр t

246,9

-

-

Суммарные эксплуатационные затраты за 30 лет

Сэ

219,2

5902,5

1858,0

Эксплуатационные затраты, приведенные к одному году

С

19,7

527,0

166,5

Приведенные затраты на год (R = С + 0,12К)

R

626,8

1028,2

2693,3

Сравнение приведенных затрат в табл. 1 показывает, что наиболее экономичным способом предотвращения снежных заносов на данной дороге является создание снегозащитных насаждений.

Расчет затрат для сравниваемых вариантов приведен ниже.

1. Снегозащитные насаждения.

1.1. Расчет капиталовложений.

Расчет капиталовложений производим по формуле (4)

.

Капиталовложения начального года в основную защиту Кно складываются из затрат на подготовку почвы (принимаются для лущения стерни на глубину 4-6 см 1,3 руб., для зяблевой вспашки - 6,6 руб.) и стоимости освоения новых земель взамен изымаемых (по приложению 7 стоимость 1 га составляет 3120 руб. на 1-й год).

В пересчете на 1 км дороги (1 км 4-рядной полосы занимает 0,9 га) капиталовложения составят

Кно = 1,2 + 5,9 - 2808 = 2815,1 руб.

Капиталовложения начального года в дополнительную защиту Кн.доп на 1 км дороги складываются из стоимости работ по изготовлению щитов (1545 руб.) и кольев (17 руб.), а также их перевозки (соответственно 187 и 25 руб.) и установки (160 руб.).

Таким образом, затраты на дополнительную защиту по данным ЦНИИС МПС составят

Кн.доп = 1545 + 17 + 187 + 25 + 160 = 1934 руб.

Капиталовложения Кt в основную защиту в последующие годы (2-5 лет) производим до начала работы молодых посадок. Пользуясь табл. 1 приложения 8 и расчетно-технологическими картами для данной области, разработанными Союзгипролесхозом, определяем величину Кt по годам. Так, капиталовложения Кt во 2-м году на 1 км дороги состоят из затрат на: покровное боронование (0,504 руб.), предпосадочную культивацию (1,65 руб.), обозначение направления ряда полосы провешиванием (1,79 руб.), временную прикопку сеянцев и подготовку их к посадке (3,57 руб.), механизированную посадку саженцев (7,02 руб.), включая стоимость двухлетних сеянцев (34,79 руб.), трехкратную культивацию междурядий и закраек (10,82 руб.), трехкратное ручное рыхление почвы и прополку сорняков в рядах полосами шириной 30 см (33,34 руб.), осеннюю безотвальную перепашку междурядий и закраек (29,52 руб.). Тогда

Кt2 = 0,504 + 1,65 + 1,79 + 3,57 + 7,02 + 34,79 + 10,82 + 33,34 + 29,52 = 123 руб.

В 3-й год затраты состоят из стоимости: посадочного материала для дополнения (7,34 руб.) и дополнения культур (5,22 руб.), трехкратной культивации (10,82 руб.), ручного рыхления почвы и прополки сорняков (33,34 руб.), осенней перепашки (29,52 руб.):

Кt3 = 7,34 + 5,22 + 10,82 + 33,34 + 29,52 = 86,24 руб.

В 4-й год производится трехкратная культивация междурядий и закраек (10,82 руб.), а также ручное рыхление и осенняя перепашка. Исходя из этого

Кt4 = 10,82 + 33,34 + 29,52 = 73,68 руб.

В 5-й год предусматриваются только два вида работ: двухкратная культивация и осенняя перепашка:

Кt5 = 7,22 + 29,52 = 36,74 руб.

Тогда

Примечание. Для упрощения расчетов числовые значения t/(1 + 0,08)t на любой год можно принимать по табл. 1 приложения «Указаний по определению экономической эффективности капитальных вложений в строительство и реконструкцию автомобильных дорог» (ВСН 21-75) Минавтодора РСФСР.

Член  по формуле (4) в данном примере не учитывается, так как дополнительные капитальные затраты для щитов в течение 5 лет не производятся (см. табл. 2 приложения 8).

Таким образом, сумма капиталовложений К = 2815,1 + 271,42 + 1934 = 5020,5 руб.

1.2. Расчет эксплуатационных затрат.

Расчет эксплуатационных затрат производим по формуле (5):

,

В соответствии с табл. 3 приложения 8 эксплуатационные затраты Сt, связанные со срезкой кустарников, принимают на 10, 18, 26-й год в размере 50 руб. (см. расчетно-технологические карты Союзгипролесхоза).

Эксплуатационные ежегодные затраты на дополнительную защиту Сдоп t, заключающиеся в установке щитов в течение 5 лет (см. табл. 3 приложения 8), равны 127 руб.

Годовую прибыль Спр t за счет повышения урожайности на прилегающих полях и результате влияния насаждений на 10, 18, 26-й год определяем по формуле (7):

,

где а = 9,2 руб.; Dа = 1,1 руб. (из условия задачи); У = 2 ц с 1 га (по приложению 6 для озимой пшеницы в Центральном районе).

С возрастом высота полосы меняется, а в связи с этим изменяется и площадь пашни F, находящаяся под защитой лесонасаждений, в зоне, равной 20-кратной высоте древостоя, где достигается увеличение урожайности. По данным «Справочника по агролесомелиоративному устройству»1 для березовых насаждений 1 бонитета высота древостоя на 10-й год равна 5,7 м, на 18-й - 10,2 м, на 26-й - 13,8 м. Исходя из принятых высот площадь земельных угодий на 1 км дороги будет

F10 = 5,7×20×1000 = 114000 м2 = 11,4 га;

F18 = 10,2×20×1000 = 204000 м2 = 20,4 га;

F26 = 13,81×20×1000 = 276000 м2 = 27,6 га.

Тогда:

Спр 10 = 11,4×2(9,2 - 1,1) = 184,7 руб.;

Спр 18 = 20,4×2(9,2 - 1,1) = 330,5 руб.;

Спр 26 = 27,6×2(9,2 - 1,1) = 447,1 руб.

Таким образом:

______________

1 Павловский Е.С., Карган А.В. Справочник по агролесомелиоративному устройству. М.: Лесная промышленность, 1977.

 руб.;

Суммарные эксплуатационные затраты за 30 лет составят

С30 = 45,8 - 246,9 + 420,3 = 219,2 руб.

Приведенные к базисному году эксплуатационные затраты, определенные по формуле (6), будут

 руб.

1.3. Расчет суммарных приведенных затрат на 1-й год.

По формуле (2) рассчитываем приведенные затраты

R = 19,7 + 0,12×5020,5 = 19,7 + 602,46 = 622,2 руб.

Аналогичным образом определяем приведенные затраты по сравниваемым вариантам (переносные щиты, незаносимая насыпь).

2. Переносные щиты.

2.1. Расчет капиталовложений.

Капиталовложения

.

В этом случае Кн.доп и Кдоп [см. формулу (4)] не учитываются. Капиталовложения Кно складываются из стоимости работ, связанных с изготовлением, перевозкой, установкой щитов и кольев, и составляют 1934 руб. на 1 км дороги (см. расчет Кн.доп для снегозащитных насаждений, п. 1.1).

В соответствии с табл. 5 приложения 8 капиталовложения в последующие годы будут состоять из затрат на изготовление щитов - 1732 руб. (1545 + 187) (см. расчет Кн.доп для снегозащитных насаждений) в 8, 15, 22, 29-й годы и кольев - 42 руб. (17 + 25) (см. расчет Кн.доп) в 5, 9, 13, 17, 21, 25-й годы:

,

где Кщt и Ккt - капиталовложения на изготовление соответственно щитов и кольев:

 руб.

2.2. Расчет эксплуатационных затрат.

Суммарные эксплуатационные затраты определяем по формуле (5)

.

В этом случае Спр t и Сдоп t не учитываются [см. формулу (5)].

В соответствии с табл. 5 приложения 8 эксплуатационные затраты производятся ежегодно и складываются из затрат на установку щитов и кольев (160 руб.), перестановку щитов (135 руб.), ремонт щитов (232 руб.). Годовые затраты, принятые по данным ЦНИС МПС, составят Сt = 160 + 135 + 232 = 527 руб.

По формуле (6) рассчитываем эксплуатационные затраты на 1-й год

 руб.

2.3. Расчет суммарных приведенных затрат на 1-й год.

По формуле (2) определяем приведенные затраты

R = 527 + 0,12×4176,4 + 501,2 = 1028,2 руб.

3. Незаносимая насыпь.

По условиям задачи дорога в основном проходит в насыпи h = 0,3 м, поэтому для создания незаносимой насыпи необходимо произвести подъем земляного полотна до отметки 1,3 м, т.е. на 1 м.

По приложению 9 для создания незаносимого поперечного профиля высотой 1 м для дороги III категории за 30 лет капитальные затраты равны 22444 руб., эксплуатационные - 1858 руб.

Эксплуатационные затраты приводим к 1-му году по формуле (6)

 руб.

Тогда

R = С + 0,12К = 166,5 + 0,12×22444 = 2693,3 руб.

4. Расчет народнохозяйственных потерь от снежных заносов при отсутствии снегозащитных насаждений.

Народнохозяйственные потери от снежных заносов на автомобильной дороге определяем по формуле (9), которые складываются из потерь от снижения скорости Пск t, перерыва движения Ппер t и потерь предприятий, тяготеющих к этой дороге Ппр t.

4.1. Потерн от снижения скорости автомобилей Пск t в год при движении по занесенной снегом дороге определяем по формуле (10). В соответствии с заданием t3 = 8 сут; L = 52 км; u0 =55 км/ч; u3 = 10 км/ч; Тгод = 1890 ч; a = 0,6; стоимость 1 машино-ч работы автомобилей Cjпост принимаем по приложению 10 для отдельных типов автомобилей; удельные капитальные вложения Кjа на один автомобиль принимаем по приложению 12.

Для упрощения расчета NjКja и NjCjпост приводятся данные для отдельных типов автомобилей в табл. 2.

 руб.

4.2. Потери от перерывов движения Ппер t, вызванные снежными заносами, определяем по формуле (12)

Таблица 2

Обозначение

ГАЗ-51А

ЗИЛ-130

МАЗ-200

Гj

2,5 т

5 т

7 т

Nj

350 авт/сут

450 авт/сут

200 авт/сут

Cjпост

0,38 руб.

0,62 руб.

0,66 руб.

Кjа

1240 »

3140 »

3350 »

NjКj

434000

1413000

670000

NjCj

133

279

132

Для расчета годового объема перевозок gн по дороге используем формулу (13). По условиям задачи g = 0,95; b = 0,5; tпер t = 1 сут; Т - 288 сут, a Nj и Гj принимаем по табл. 2 (см. п. 4.1 данного приложения).

Тогда

.

Отсюда

 руб.

4.3. Величина потерь предприятий и сельскохозяйственных организаций, тяготеющих к дороге Ппр t, по условиям задачи принята 60 тыс. руб.

4.4. Определяем потери народного хозяйства, приведенные к сопоставимому виду, по формуле (9)

 тыс. руб.

5. Определение затрат на снегоборьбу при защите дороги насаждениями и при отсутствии защиты.

А. При защите дорог насаждениями.

5.1. В соответствии с заданием возможный объем снегоотложений Wуб на всей дороге за одну метель составляет 454 тыс. м3. Однако при снегозащитных насаждениях на дороге может отложиться только 40-50 % (227 тыс. м3). Половину этого объема необходимо убрать в директивный срок очистки за 6 ч (патрульная очистка). Уборка остального количества снега (образовавшихся валов) выполняется на протяжении 3-4 сут при двухсменной работе (4×2×6,82 = 54,56).

5.2 Определяем необходимое количество снегоочистителей для патрульной очистки по формуле (15) при l =52 км; n = 3; u = 25 км/ч; Ки = 0,7; tс = 7,3.

5.3. В соответствии с формулой (14) количество машин, применяемых для уборки снежных валов после патрульной очистки, составит (при Пэ = 1400 м3/ч по приложению 14)

 шт.

5.4. Расчет капиталовложений за 30 лет по каждому типу машин, используемых для очистки, производим по формуле (17).

Число приобретений машин за указанный срок определится:

для плужных снегоочистителей

;

для роторных снегоочистителей

.

Суммарные капиталовложения Кim на приобретение плужных снегоочистителей будут (при b = 3930 руб.; a = 0,3; Nб = 3):

Суммарные капиталовложения на приобретение роторных снегоочистителей (при a = l; Nб = 2; b = 12000 руб.) составят

Кim = 1×2×12000×2,686 = 64464 руб.

Общая сумма капиталовложений на приобретение снегоочистительных машин Км = 9500 + 64464 = 73964 руб.

Так как дорога, около которой созданы насаждения, в первые 5 лет защищается от снега щитами, к рассчитанным капиталовложениям добавляются капиталовложения на указанные мероприятия, которые равны 5020,5 руб. (см. табл. 1 данного приложения) на 1 км дороги, а на 52 км составят 261066 руб. Полные капитальные вложения по данному варианту Кн = Кэм = 73964 + 261066 = 335030 » 335 тыс. руб.

5.5. Расчет эксплуатационных расходов Сi0 производим отдельно для каждого типа машин.

Эксплуатационные расходы на плужные снегоочистители определяем по формуле (19) при Nб = 3 шт.; Тк = 260 ч (из условий примера); Аi = 16,6 руб. (по ценнику № 2 изд. 1968 г.)

Эксплуатационные расходы на шнекороторные машины определяем по формуле (18) при Пэс = 9500 м3/смену (см. приложение 14), Nj = 3 шт.; Аj =19,1 руб./машино-смена (по Ценнику № 2 изд. 1968 г.)*. Годовой объем снегоуборочных работ Wiуб, выполняемый шнекороторными снегоочистителями, рассчитывается по формуле (см. приложение 13) при W = 50 м3/м; f = 0,4; L = 52000 м: Wiуб = WfL = 50×0,4×5200 = 1040000 м3, а при устройстве снегозащитных полос принимаем, что 50 % приносимого снега будет задерживаться ими. Отсюда

_____________

* При конкретных расчетах должен использоваться Ценник или СНиП, действующий на год проектирования.

К полученным затратам прибавляем эксплуатационные затраты на снегозащитные насаждения (с учетом дополнительной защиты щитами в течение 5 лет), которые равны за 30-летний период на 1 км 219,2 руб. (см. табл. 1 данного приложения), или 11398,4 руб. на 52 км.

Полные эксплуатационные затраты при защите дорог насаждениями составят

Сн = 21183,5 + 23330 + 11398,4 = 59911,9 » 55,9 тыс. руб.

Б. При отсутствии защиты.

5.6. При отсутствии снегозащитных насаждений весь приносимый объем снега к дороге 454 тыс. м3 будет откладываться на дороге: 145 тыс. м3 - при глубине до 1,2 м; 254 м3 - при глубине до 0,7 м и 55 тыс. м3 - при глубине до 0,4 м. Согласно заданию половина этих объемов должна быть убрана в течение директивного срока (Тд = 6 ч). Для расчистки эффективно применять соответственно указанным объемам роторные снегоочистители, двухотвальные плужные снегоочистители и автогрейдеры (см. приложение 14).

5.7. Исходя из полученных объемов снегоотложений и выбранных машин для их уборки проводим расчет необходимого количества машин по формуле (14)

 шт.;

 шт.;

 шт.

5.8. Расчет капиталовложений за 30 лет производим по формуле (17). Число приобретений машин m = 5, как и в варианте А (см. п. 5.4).

Капиталовложения на приобретение снегоочистительных машин составят:

Кмрот = 1×4×12000×2,686 = 75208 руб.;

Кмдвухотв = 0,3×2×6200×2,686 = 9991,9 руб.;

Кмавт = 0,3×6×13390×2,686 = 64737,9 руб.

Для патрульной снегоочистки принимаем Кпм = 9500 руб. (см. п. 5.4).

Таким образом, капиталовложения на приобретение снегоочистительных машин составят Км = 75208 + 9991,9 + 64737,9 + 950 = 159,4 тыс. руб.

5.9. Эксплуатационные расходы определяем по формуле (18) для каждого типа машин отдельно. В этом случае объем уборки снега будет Wiуб = WfL = 50×0,4×5200 = 1040000 м3, из которого 32 % (332800 м3) снегоотложений будет убираться роторными снегоочистителями, 56 % (582400 м3) - двухотвальными и 12 % (124800 м3) - автогрейдерами.

Эксплуатационные затраты по типам машин будут:

 руб.;

 руб.

При патрульной снегоочистке принимаем Сб = 21,2 тыс. руб., как для варианта А (см. п. 5.5).

Таким образом, полные эксплуатационные затраты

Соз = 40,9 + 21,2 = 62,1 тыс. руб.

6. Определение общей экономической эффективности.

Общая экономическая эффективность определяется по формуле (22):

.

Подставляя числовые значения (из данного приложения) в эту формулу: Пнх = 1674 тыс. руб. (см. п. 4.4); Cоз = 62,1 тыс. руб. (см. п. 5.9); Сн = 55,9 тыс. руб. (см. п. 5.5); Кн = 335 тыс. руб. (см. п. 5.4), получаем показатель экономической эффективности

.

ПРИЛОЖЕНИЕ 16

Список автономных республик, краев, областей и административных районов, в которых земли под снегозащитные насаждения отводятся за год или два до посадки

Центрально-Черноземный район

Белгородская обл. (все районы).

Воронежская обл. (Богучарский, Бутурлиновский, Калачеевский, Кантемировский, Ольховатский, Петропавловский, Подгоревский районы).

Поволжский район

Астраханская обл. (все районы).

Волгоградская обл. (Алексеевский, Безенчукский, Бонатовский, Большеглушицкий, Борский, Волжский, Кинельский, Кинель-Черкасский, Красноармейский, Нефтегорский, Пестравский, Приволжский, Ставропольский, Сызранский, Хворостянский, Шигонский районы).

Саратовская обл. (все районы)

Башкирская АССР (Абзелиловский, Альшеевский, Баймакский, Бижбулякский, Давлекановский, Кумертауский, Старлибашевский, Федоровский, Хайбуллинский районы).

Калмыцкая АССР (все районы).

Ceвepo-Кавказский район

Ставропольский край (все районы, в Карачаево-Черкесский автономной обл. - Адыге-Хабльский и Прикубанский районы).

Ростовская обл. (все районы, за исключением Азовского, Аксайского, Мясниковского и Неклиновского районов).

Дагестанская АССР (Бабаюртовский, Буйнакский, Дербентский, Кайтагский, Каякентский, Кизлярский, Кизилюртовский, Ленинский, Ногайский, Тарямовский, Хасавюртовский районы).

Северо-Осетинская АССР (Кировский, Моздокский, Правобережный районы).

Чечено-Ингушская АССР (Грозненский, Гудермесский, Малгобекский, Надтеречный, Наурский, Казрановский, Шелковский районы).

Уральский район

Оренбургская обл. (все районы).

Курганская обл. (Альменевский, Куртамышский, Лебяжьевский, Макушинский, Петуховский, Половинский, Притобольский, Сафакулевский, Целинный районы).

Челябинская обл. (Агаповский, Брединский, Варненский, Етеульский, Карталинский, Кизильский, Нагайбакский, Октябрьский, Троицкий, Увельский, Чесменский районы).

Западно-Сибирский район

Алтайский край (Алейский, Баевский, Благовещенский, Бурлинский, Быстроистокский, Волчихинский, Егорьевский, Завьяловский, Змеиногорский, Калманский, Каменский, Ключевский, Краснощековский, Крутихинский, Кулундинский, Курьинский, Локтевский, Мамонтовский, Михайловский, Новчихинский, Павловский, Панкрушихинский, Поспелихинский, Ребрихинский, Родинский, Романовский, Рубцовский, Славгородский, Табунский, Топчихинский, Угловский, Усть-Калманский, Усть-Пристанский, Хабарский, Шипуновский районы).

Новосибирская обл. (Боганский, Барабинский, Доволенский, Здвинский, Карасукский, Каргатский, Кокчовский, Краснозерский, Купинский, Ордынский, Сузинский, Татарский, Убинский, Чановский, Чистоозерский, Чулымский районы).

Кабардино-Балкарская АССР (Майский, Прохладненский, Терский районы).

Омская обл. (Калачинский, Кормиловский, Нововаршавский, Одесский, Оконешниковский, Омский, Павлоградский, Полтавский, Русско-Полянский, Таврический, Черлакский, Щербакульский районы).

Восточно-Сибирский район

Красноярский край (Алтайский, Аскизский, Балахтинский, Бейский, Боградский, Минусинский Новоселовский, Ужурский, Усть-Абаканский, Шарыповский, Ширинский, Шушенский районы).

Читинская обл. (Борзинский, Забайкальский, Красноключевский, Приаргунский районы).

Бурятская АССР (Бичурский, Джидинский, Курумканский, Кяхтинский, Мухоршибирский, Селенгинский, Улан-Удэнский, Хоринский районы).

Тувинская АССР (во всех районах агролесомелиоративной зоны).

ПРИЛОЖЕНИЕ 17

Клетчатка вероятностей для кривых с умеренной асимметричностью


ПРИЛОЖЕНИЕ 18

Расчетный объем снегопереноса в зависимости от скорости ветра на высоте флюгера и повторяемости метелевых ветров при плотности снега 0,25 и 0,30 т/м3

Таблица 1

Плотность снега 0,25 т/м3

Формула расчета: W = Cu3t,

где С = 0,00031

Повторяемость ветров (в случаях)

Продолжительность, ч, при 8-срочных наблюдениях

Расчетный объем снегопереноса W, м3/м, при скорости ветра v, м/с

6

7

8

9

10

11

12

13

14

15

16

17

18

19

20

21

22

23

24

25

1

2

3

4

5

6

7

8

9

10

11

12

13

14

15

16

17

18

19

20

21

22

1

3

0,2

0,3

0,5

0,7

0,9

1,2

1,6

2,0

2,6

3,1

3,8

4,6

5,4

6,4

7,4

8,6

9,9

11,3

12,8

14,5

2

6

0,4

0,6

1,0

1,4

1,8

2,5

3,2

4,1

5,1

6,3

7,6

9,1

10,8

12,8

14,9

17,2

19,8

22,6

25,7

29,1

3

9

0,6

1,0

1,4

2,0

2,8

3,7

4,8

6,1

7,6

9,4

11,4

13,7

16,3

19,1

22,3

25,8

29,7

33,9

38,6

43,6

4

12

0,8

1,3

1,9

2,7

3,7

5,0

6,4

8,2

10,2

12,6

15,2

18,3

21,7

25,5

29,8

34,4

39,6

45,3

51,4

58,1

5

15

1,0

1,6

2,4

3,4

4,6

6,2

8,0

10,2

12,8

15,7

19,0

22,8

27,1

31,9

37,2

43,1

49,5

56,6

64,3

72,6

6

18

1,2

1,9

2,8

4,1

5,6

7,4

9,6

12,2

15,3

18,8

22,8

27,4

32,5

38,3

44,6

51,7

59,4

67,9

77,1

87,2

7

21

1,4

2,2

3,3

4,7

6,5

8,7

11,2

14,3

17,9

22,0

26,7

32,0

38,0

44,6

52,1

60,3

69,3

79,2

90,0

101,7

8

24

1,6

2,6

3,8

5,4

7,4

8,9

12,8

16,3

20,4

25,1

30,5

36,6

43,4

51,0

59,5

68,9

79,2

90,5

102,8

116,2

9

27

1,8

2,9

4,3

6,1

8,4

11,1

14,5

18,4

23,0

28,2

34,3

41,1

48,8

57,4

67,0

77,5

89,1

101,8

115,7

130,8

10

30

2,0

3,2

4,8

6,8

9,3

12,4

16,1

20,4

25,5

31,4

38,1

45,7

54,2

63,8

74,4

86,1

99,0

113,2

128,6

145,3

11

33

2,2

3,5

5,2

7,4

10,2

13,6

17,7

22,5

28,1

34,5

41,9

50,2

59,7

70,2

81,8

94,7

108,9

124,5

141,4

159,6

12

36

2,4

3,8

5,7

8,1

11,2

14,8

19,3

24,5

30,6

37,7

45,7

54,8

70,5

76,5

89,3

103,4

118,8

135,8

154,3

174,4

13

39

2,6

4,1

6,2

8,8

12,1

16,1

20,9

26,6

33,2

40,8

49,5

59,4

65,1

82,9

96,7

112,0

128,7

147,1

167,1

188,9

14

42

2,8

4,5

6,7

9,5

13,0

17,3

22,5

28,6

35,7

43,9

53,3

64,0

75,9

89,3

104,2

120,6

138,6

158,4

180,0

203,4

15

45

3,0

4,8

7,1

10,2

14,0

18,6

24,1

30,6

38,3

47,1

57,1

68,5

81,4

95,7

111,6

129,2

148,5

169,7

192,8

218,0

16

48

3,2

5,1

7,6

10,8

14,9

19,8

25,7

32,7

40,8

50,2

60,9

73,1

86,8

102,1

119,0

137,8

158,4

181,0

205,7

232,5

17

51

3,4

5,4

8,1

11,5

15,8

21,0

27,3

34,7

43,4

53,4

64,8

77,7

92,2

108,4

126,5

146,4

168,3

192,4

218,6

247,0

18

54

3,6

5,7

8,6

12,2

16,7

22,3

28,9

36,8

45,9

56,5

68,5

82,2

97,6

114,8

133,9

155,0

178,2

203,7

231,4

261,6

19

57

3,8

6,1

9,0

12,9

17,7

23,5

30,5

38,8

48,5

59,6

72,4

86,8

103,0

121,2

141,4

163,6

188,2

215,0

244,3

276,1

20

60

4,0

6,4

9,5

13,6

18,6

24,8

32,1

40,9

51,0

62,8

76,2

91,4

108,5

127,6

148,8

172,2

198,0

226,3

257,1

250,6

21

63

4,2

6,7

10,0

14,2

19,5

26,0

33,7

42,9

53,6

65,9

80,0

96,0

113,9

134,0

156,2

180,9

208,0

237,6

270,0

305,2

22

66

4,4

7,0

10,5

14,9

20,5

27,2

35,4

45,0

56,1

69,0

83,8

100,5

119,3

140,3

163,7

189,5

217,8

248,9

282,8

319,7

23

69

4,6

7,3

11,0

15,6

21,4

28,5

37,0

47,0

58,7

72,2

87,6

105,1

124,7

146,7

171,1

198,1

227,8

260,2

295,7

334,2

24

72

4,8

7,6

11,4

16,3

22,3

29,7

38,6

49,0

61,2

75,3

91,4

109,6

130,2

153,1

178,6

206,7

237,7

271,6

308,6

348,8

25

75

5,0

8,0

11,9

16,9

23,2

30,9

40,2

51,1

63,8

78,5

95,2

114,2

135,6

159,5

186,0

215,3

247,6

282,9

321,4

363,3

26

78

5,2

8,3

12,4

17,6

24,2

32,2

41,8

53,1

66,3

81,6

99,0

118,8

141,0

165,8

193,4

223,9

-

-

-

-

27

84

5,6

8,9

13,3

19,0

26,0

34,6

45,0

57,2

71,4

87,9

102,8

123,4

146,4

172,2

200,9

232,5

-

-

-

-

28

84

5,6

8,9

13,3

19,0

26,0

34,6

45,0

57,2

71,4

87,9

106,6

127,9

151,9

178,6

208,3

241,2

-

-

-

-

29

87

5,8

9,2

13,8

19,7

27,0

35,9

46,6

59,2

74,0

91,0

110,5

132,5

157,3

185,0

215,8

249,8

-

-

-

-

30

90

6,0

9,6

14,3

20,3

27,9

37,1

48,2

61,3

76,6

94,2

114,3

137,1

166,7

191,4

223,2

258,4

-

-

-

-

31

93

6,2

9,9

14,8

21,0

28,8

38,4

49,8

63,3

79,1

97,3

118,1

141,6

168,1

197,7

-

-

-

-

-

-

32

96

6,4

10,2

15,2

21,7

29,8

39,6

51,4

65,4

81,7

100,4

121,9

146,2

173,6

204,1

-

-

-

-

-

-

33

99

6,6

10,5

15,7

22,4

30,7

40,8

53,0

67,4

84,2

103,6

125,7

150,8

179,0

210,5

-

-

-

-

-

-

34

102

6,8

10,8

16,2

23,0

31,6

42,1

54,6

69,5

86,8

106,7

129,5

155,3

184,4

216,9

-

-

-

-

-

-

35

105

7,0

11,2

16,7

23,7

32,6

43,3

56,2

71,5

89,3

109,8

133,3

159,9

189,9

223,3

-

-

-

-

-

-

36

108

7,2

11,5

17,1

24,4

33,5

44,6

57,8

73,6

91,9

113,0

137,1

164,5

-

-

-

-

-

-

-

-

37

111

7,4

11,8

17,6

25,1

34,4

45,8

59,5

75,6

94,4

116,1

140,9

169,0

-

-

-

-

-

-

-

-

38

114

7,6

12,1

18,1

25,8

35,3

47,0

61,1

77,6

97,0

119,3

144,8

173,6

-

-

-

-

-

-

-

-

39

117

7,8

12,4

18,6

26,4

36,3

48,3

62,7

79,7

99,5

122,4

148,6

178,2

-

-

-

-

-

-

-

-

40

120

8,0

12,8

19,0

27,1

37,2

49,5

64,3

81,7

102,1

125,5

152,4

182,8

-

-

-

-

-

-

-

-

Таблица 2

Плотность снега 0,30 т/м3

Формула расчета: W = Cu3t,

где С = 0,00026

Повторяемость ветров (в случаях)

Продолжительность, ч, при 8-срочных наблюдениях

Расчетный объем снегопереноса W, м3/м, при скорости ветра v, м/с

6

7

8

9

10

11

12

13

14

15

16

17

18

19

20

21

22

23

24

25

1

2

3

4

5

6

7

8

9

10

11

12

13

14

15

16

17

18

19

20

21

22

1

3

0,2

0,3

0,4

0,6

0,8

1,0

1,3

1,7

2,1

2,6

3,2

3,8

4,5

5,4

6,2

7,2

8,3

9,5

10,8

12,4

2

6

0,3

0,5

0,8

1,1

1,6

2,1

2,7

3,4

4,3

5,3

6,4

7,7

9,1

10,7

12,5

14,4

16,6

19,0

21,6

24,2

3

9

0,5

0,8

1,2

1,7

2,3

3,1

4,0

5,1

6,4

7,9

9,6

11,5

13,6

16,0

18,7

21,7

24,9

28,5

32,3

36,6

4

12

0,7

1,1

1,6

2,3

3,1

4,2

5,4

6,8

8,6

10,5

12,8

15,3

18,2

21,4

25,0

28,9

33,2

38,0

43,1

48,7

5

15

0,8

1,3

2,0

2,8

3,9

5,2

6,7

8,6

10,7

13,2

16,0

19,0

22,7

26,8

31,2

36,1

41,5

47,4

53,9

60,9

6

18

1,0

1,6

2,4

3,4

4,7

6,2

8,1

10,3

12,8

15,8

19,2

23,0

27,3

32,1

37,4

43,3

49,8

56,9

64,7

73,1

7

21

1,2

1,9

2,8

4,0

5,4

7,3

9,4

12,0

15,0

18,4

22,4

26,8

31,8

37,4

43,7

50,6

58,1

66,4

75,5

85,3

8

24

1,3

2,1

3,2

4,5

6,2

8,3

10,8

13,7

17,1

21,0

25,6

30,6

36,4

42,8

49,9

57,8

66,4

75,9

86,3

97,5

9

27

1,5

2,4

3,6

5,1

7,0

9,3

12,1

15,4

19,3

23,7

28,8

34,5

40,9

48,2

5,2

65,0

74,7

85,4

97,0

109,7

10

30

1,7

2,7

4,0

5,7

7,8

10,4

13,5

17,1

21,4

26,3

31,9

38,3

45,5

53,5

62,4

72,2

83,0

94,9

107,8

121,9

11

33

1,8

2,9

4,4

6,2

8,6

11,4

14,8

18,8

23,5

29,0

35,1

42,2

50,0

58,8

68,6

79,4

91,4

104,4

118,6

134,1

12

36

2,0

3,2

4,8

6,8

9,4

12,4

16,2

20,6

25,7

31,6

38,3

46,0

54,6

64,2

74,9

86,7

99,7

113,9

129,4

146,2

13

39

2,2

3,5

5,2

7,4

10,1

13,5

17,5

22,3

27,8

34,2

41,5

49,8

59,1

69,6

81,1

93,9

108,0

123,4

140,2

158,4

14

42

2,4

3,7

5,6

8,0

10,9

14,5

18,9

24,0

30,0

36,8

44,7

53,6

63,7

74,9

87,4

101,1

116,3

132,9

151,0

170,6

15

45

2,5

4,0

6,0

8,5

11,7

15,6

20,2

25,7

32,1

39,5

47,9

57,5

68,2

80,2

93,6

108,4

124,6

142,4

161,7

182,8

16

48

2,7

4,3

6,4

9,1

12,5

16,6

21,6

27,4

34,2

42,1

51,1

61,3

72,8

85,6

99,8

115,6

132,9

151,8

172,5

195,0

17

51

2,9

4,5

6,8

9,7

13,2

17,6

22,9

29,1

36,4

44,8

94,3

65,1

77,3

91,0

106,1

122,8

141,2

161,3

183,3

207,2

18

54

3,0

4,8

7,2

10,2

14,0

18,7

24,3

30,8

38,5

47,4

57,5

69,0

81,9

96,3

112,3

130,0

149,5

170,8

194,1

219,4

19

57

3,2

5,1

7,6

10,8

14,8

19,7

25,6

32,6

40,7

50,0

60,7

72,8

86,4

101,6

118,6

137,2

157,8

180,3

204,9

231,6

20

60

3,4

5,4

8,0

11,4

15,6

20,8

27,0

34,3

42,8

52,6

63,9

76,6

91,0

107,0

124,8

144,5

166,1

189,8

216,6

243,7

21

63

3,5

5,6

8,4

11,9

16,4

21,8

28,3

36,0

44,9

55,3

67,1

80,5

95,5

112,4

131,0

151,7

174,4

199,3

226,4

255,9

22

66

3,7

5,9

8,8

12,5

17,2

22,8

29,6

37,7

47,1

57,9

70,3

84,3

100,1

117,7

137,3

158,9

182,7

208,8

237,2

268,1

23

69

3,9

6,2

9,2

13,1

17,9

23,9

31,0

39,4

49,2

60,5

73,5

88,1

104,6

123,0

143,5

166,1

191,0

218,3

248,0

280,3

24

72

4,0

6,4

9,6

13,6

18,7

24,9

32,3

41,1

51,4

63,2

76,7

92,0

109,2

128,4

149,8

173,4

199,3

227,8

258,8

292,5

25

75

4,2

6,7

10,0

14,2

19,5

26,0

33,7

42,8

53,5

65,8

79,9

95,8

113,7

133,8

156,0

180,6

207,6

237,2

269,6

304,7

26

78

4,4

7,0

10,4

14,8

20,3

27,0

35,0

44,6

55,6

68,4

83,1

99,6

118,3

139,3

162,2

187,8

-

-

-

-

27

81

4,5

7,2

10,8

15,4

21,0

28,0

36,4

46,3

57,8

71,1

86,3

103,5

122,8

144,4

168,5

195,0

-

-

-

-

28

84

4,7

7,5

11,2

15,9

21,8

29,1

37,7

48,0

59,9

73,7

89,4

107,3

127,4

149,8

174,7

202,3

-

-

-

-

29

87

4,9

7,8

11,6

16,5

22,6

30,1

39,1

49,7

62,1

76,3

92,6

111,1

131,9

155,2

181,0

209,5

-

-

-

-

30

90

5,0

8,0

12,0

17,0

23,4

31,1

40,4

51,4

64,2

79,0

95,6

115,0

136,5

160,5

187,2

216,7

-

-

-

-

31

93

5,2

8,3

12,4

17,6

24,2

32,2

41,8

53,1

66,3

81,6

99,0

118,8

141,0

165,8

-

-

-

-

-

-

32

96

5,4

8,6

12,9

18,2

25,0

33,2

43,1

54,8

68,5

84,2

102,2

122,6

145,6

171,2

-

-

-

-

-

-

33

99

5,6

8,8

13,2

18,8

25,7

34,2

44,5

56,6

70,6

86,9

105,4

126,5

150,1

176,6

-

-

-

-

-

-

34

102

5,7

9,1

13,6

19,3

26,5

35,3

45,8

58,3

72,8

89,5

108,6

130,3

154,7

181,9

-

-

-

-

-

-

35

105

5,9

9,4

14,0

19,9

27,3

36,3

47,2

60,0

74,9

92,1

111,8

134,1

159,2

187,2

-

-

-

-

-

-

36

108

6,1

9,6

14,4

20,5

28,1

37,4

48,5

61,7

77,0

94,8

115,0

138,0

-

-

-

-

-

-

-

-

37

111

6,2

9,9

14,8

21,0

28,8

38,4

49,9

63,4

79,2

97,4

118,2

141,8

-

-

-

-

-

-

-

-

38

114

6,4

10,2

15,2

21,6

29,6

39,4

51,2

65,1

81,3

100,0

121,4

145,6

-

-

-

-

-

-

-

-

39

117

6,6

10,4

15,6

22,2

30,4

40,5

52,6

66,8

83,5

102,7

124,6

149,4

-

-

-

-

-

-

-

-

40

120

6,7

10,7

16,0

22,7

31,2

41,5

53,9

68,5

85,6

105,3

127,8

153,3

-

-

-

-

-

-

-

-

ПРИЛОЖЕНИЕ 19

Значения обеспеченности, вычисленные по формуле

Число членов в ряду, n

Обеспеченность, %, при порядковых номерах членов ряда m

1

2

3

4

5

6

7

8

9

10

11

12

13

14

15

16

17

18

19

20

 

10

6,7

16,3

26,0

35,6

45,2

54,8

64,4

74,0

83,6

93,3

-

-

-

-

-

-

-

-

-

-

 

11

6,1

14,9

23,7

32,5

41,2

50,0

58,8

67,5

76,3

85,1

93,9

-

-

-

-

-

-

-

-

-

 

12

5,6

13,7

21,8

29,8

37,9

46,0

54,0

62,1

70,2

78,2

86,3

94,3

-

-

-

-

-

-

-

-

 

13

5,2

12,7

20,1

27,6

35,1

42,5

50,1

57,5

64,9

72,4

79,8

87,3

94,8

-

-

-

-

-

-

-

 

14

4,9

11,8

18,7

25,7

32,6

39,6

46,5

53,5

60,4

67,4

74,3

81,3

88,2

95,1

-

-

-

-

-

-

 

15

4,5

11,0

17,5

24,0

30,5

37,0

43,5

50,0

56,5

63,0

69,4

76,0

82,5

90,0

95,5

-

-

-

-

-

 

16

4,3

10,4

16,5

22,6

28,7

34,8

40,8

46,9

53,0

59,1

65,2

71,3

77,4

83,6

89,6

95,7

-

-

-

-

 

17

4,0

9,8

15,5

21,3

27,0

32,8

38,5

44,2

50,0

55,7

61,5

67,2

73,0

78,7

85,5

90,2

96,0

-

-

-

 

18

3,8

9,2

14,7

20,1

25,5

31,0

36,4

41,8

47,3

52,7

58,1

63,6

69,0

74,5

79,9

85,3

90,8

96,2

-

-

 

19

3,6

8,8

13,9

19,1

24,2

29,4

34,5

39,7

44,8

50,0

55,1

60,3

65,5

70,6

75,8

80,9

86,1

91,2

96,4

-

 

20

3,4

8,3

13,2

18,1

23,0

27,9

32,8

37,7

42,6

47,5

52,4

57,3

62,2

67,2

72,1

77,0

81,9

86,8

91,7

96,6

 

ПРИЛОЖЕНИЕ 20

Отклонение ординат Ф (Р, Сs) биномиальной кривой обеспеченности от среднего значения при Cv = 1

 

Коэффициент

Отклонение ординат Ф при обеспеченности P, %

асимметрии, Сs

1

3

5

10

20

30

40

50

60

70

80

90

95

97

0,0

2,33

1,88

1,64

1,28

0,84

0,52

0,25

0,00

-0,25

-0,52

-0,84

-1,28

-1,64

-1,88

0,1

2,40

1,92

1,67

1,29

0,84

0,51

0,24

-0,02

-0,27

-0,53

-0,85

-1,27

-1,61

-1,84

0,2

2,47

1,96

1,70

1,30

0,83

0,50

0,22

-0,03

-0,28

-0,55

-0,85

-1,26

-1,58

-1,79

0,3

2,54

2,00

1,72

1,31

0,82

0,48

0,20

-0,05

-0,30

-0,56

-0,85

-1,24

-1,55

-1,75

0,4

2,61

2,04

1,75

1,32

0,82

0,47

0,19

-0,07

-0,31

-0,57

-0,85

-1,23

-1,52

-1,70

0,5

2,68

2,08

1,77

1,32

0,81

0,46

0,17

-0,08

-0,33

-0,58

-0,85

-1,22

-1,49

-1,66

0,6

2,75

2,12

1,80

1,33

0,80

0,44

0,16

-0,10

-0,34

-0,59

-0,85

-1,20

-1,45

-1,61

0,7

2,82

2,15

1,82

1,33

0,79

0,43

0,14

-0,12

-0,36

-0,60

-0,85

-1,18

-1,42

-1,57

0,8

2,89

2,18

1,84

1,34

0,78

0,41

0,12

-0,13

-0,37

-0,60

-0,85

-1,17

-1,38

-1,52

0,9

2,96

2,22

1,86

1,34

0,77

0,40

0,11

-0,15

-0,38

-0,61

-0,85

-1,15

-1,35

-1,47

1,0

3,02

2,25

1,88

1,34

0,76

0,38

0,09

-0,16

-0,39

-0,63

-0,85

-1,13

-1,32

-1,42

1,1

3,09

2,28

1,89

1,34

0,74

0,36

0,07

-0,18

-0,41

-0,62

-0,85

-1,10

-1,28

-1,38

1,2

3,15

2,31

1,91

1,34

0,73

0,35

0,05

-0,19

-0,42

-0,63

-0,84

-1,08

-1,24

-1,33

1,3

3,21

2,34

1,92

1,34

0,72

0,33

0,04

-0,21

-0,43

-0,63

-0,84

-1,06

-1,20

-1,28

1,4

3,27

2,37

1,94

1,34

0,71

0,31

0,02

-0,22

-0,44

-0,63

-0,83

-1,04

-1,77

-1,23

1,5

3,33

2,39

1,95

1,33

0,69

0,30

0,00

-0,24

-0,45

-0,64

-0,82

-1,02

-1,13

-1,19

1,6

3,39

2,42

1,96

1,33

0,68

0,28

-0,02

-0,25

-0,46

-0,64

-0,81

-0,99

-1,10

-1,14

1,7

3,44

2,44

1,97

1,32

0,66

0,28

-0,03

-0,27

-0,47

-0,64

-0,81

-0,97

-1,06

-1,10

1,8

3,50

2,46

1,98

1,32

0,64

0,24

-0,05

-0,28

-0,48

-0,64

-0,80

-0,94

-1,02

-1,06

1,9

3,55

2,49

1,99

1,31

0,63

0,22

-0,07

-0,29

-0,48

-0,64

-0,79

-0,92

-0,98

-1,01

2,0

3,60

2,51

2,00

1,30

0,61

0,20

-0,08

-0,31

-0,49

-0,64

-0,78

-0,90

-0,95

-0,97

2,1

3,65

2,53

2,01

1,29

0,59

0,18

-0,10

-0,32

-0,50

-0,64

-0,76

-0,867

-0,914

-0,930

2,2

3,68

2,54

2,02

1,27

0,57

0,16

-0,12

-0,33

-0,50

-0,64

-0,76

-0,842

-0,882

-0,895

2,3

3,73

2,57

2,01

1,26

0,55

0,14

-0,13

-0,34

-0,50

-0,63

-0,74

-0,816

-0,850

-0,859

2,4

3,78

2,60

2,00

1,25

0,52

0,12

-0,14

-0,35

-0,51

-0,62

-0,72

-0,792

-0,820

-0,827

2,5

3,82

2,62

2,00

1,23

0,50

0,10

-0,16

-0,36

-0,51

-0,62

-0,71

-0,768

-0,790

-0,795

2,6

3,86

2,63

2,00

1,21

0,48

0,085

-0,17

-0,37

-0,51

-0,61

-0,70

-0,746

-0,763

-0,766

2,7

3,92

2,64

2,00

1,19

0,46

0,070

-0,18

-0,38

-0,51

-0,61

-0,68

-0,724

-0,736

-0,739

2,8

3,96

2,65

2,00

1,18

0,44

0,057

-0,20

-0,39

-0,51

-0,60

-0,67

-0,703

-0,711

-0,713

2,9

4,01

2,66

1,99

1,15

0,41

0,041

-0,21

-0,39

-0,51

-0,60

-0,65

-0,681

-0,688

-0,689

3,0

4,05

2,66

1,97

1,13

0,39

0,027

-0,22

-0,40

-0,51

-0,59

-0,64

-0,661

-0,665

-0,667

3,1

4,09

2,66

1,97

1,11

0,37

0,010

-0,23

-0,40

-0,51

-0,58

-0,62

-0,641

-0,644

-0,645

3,2

4,11

2,66

1,96

1,09

0,35

-0,006

-0,25

-0,41

-0,51

-0,57

-0,61

-0,622

-0,625

-0,625

3,3

4,15

2,66

1,95

1,08

0,33

-0,022

-0,26

-0,41

-0,50

-0,56

-0,59

-0,604

-0,606

-0,606

3,4

4,18

2,66

1,94

1,06

0,31

-0,036

-0,27

-0,41

-0,50

-0,55

-0,58

-0,587

-0,588

-0,588

3,5

4,21

2,66

1,93

1,04

0,29

-0,049

-0,28

-0,41

-0,50

-0,54

-0,56

-0,570

-0,571

-0,571

3,6

4,24

2,66

1,93

1,03

0,28

-0,072

-0,28

-0,42

-0,49

-0,54

-0,55

-0,555

-0,556

-0,556

3,7

4,26

2,66

1,91

1,01

0,26

-0,084

-0,29

-0,42

-0,48

-0,52

-0,54

-0,540

-0,541

-0,541

3,8

4,29

2,65

1,90

1,00

0,24

-0,095

-0,30

-0,42

-0,48

-0,51

-0,52

-0,526

-0,526

-0,526

3,9

4,32

2,65

1,90

0,98

0,23

-0,11

-0,30

-0,41

-0,47

-0,50

-0,51

-0,513

-0,513

-0,513

4,0

4,34

2,65

1,90

0,96

0,21

-0,12

-0,31

-0,41

-0,46

-0,49

-0,50

-0,500

-0,500

-0,500

4,1

4,36

2,65

1,89

0,95

0,20

-0,13

-0,31

-0,41

-0,46

-0,48

-0,487

-0,488

-0,488

-0,488

4,2

4,39

2,64

1,88

0,93

0,19

-0,13

-0,31

-0,41

-0,45

-0,47

-0,475

-0,476

-0,476

-0,476

4,3

4,40

2,64

1,87

0,92

0,17

-0,14

-0,32

-0,40

-0,44

-0,46

-0,465

-0,465

-0,465

-0,465

4,4

4,42

2,63

1,86

0,91

0,15

-0,15

-0,32

-0,40

-0,44

-0,450

-0,455

-0,455

-0,455

-0,455

4,5

4,44

2,62

1,85

0,89

0,14

-0,16

-0,32

-0,40

-0,43

-0,441

-0,444

-0,444

-0,444

-0,444

4,6

4,46

2,62

1,84

0,87

0,13

-0,17

-0,32

-0,40

-0,42

-0,432

-0,435

-0,435

-0,435

-0,435

4,7

4,49

2,61

1,83

0,85

0,11

-0,18

-0,32

-0,40

-0,41

-0,424

-0,426

-0,426

-0,426

-0,426

4,8

4,50

2,60

1,81

0,82

0,10

-0,19

-0,32

-0,39

-0,41

-0,415

-0,417

-0,417

-0,417

-0,417

4,9

4,51

2,60

1,80

0,80

0,034

-0,19

-0,33

-0,386

-0,402

-0,407

-0,408

-0,408

-0,408

-0,408

5,0

4,54

2,60

1,78

0,78

0,068

-0,20

-0,33

-0,380

-0,395

-0,399

-0,400

-0,400

-0,400

-0,400

5,1

4,57

2,60

1,76

0,76

0,051

-0,21

-0,33

-0,376

-0,388

-0,392

-0,392

-0,392

-0,392

-0,392

5,2

4,59

2,60

1,74

0,73

0,035

-0,21

-0,33

-0,369

-0,382

-0,384

-0,385

-0,385

-0,385

-0,385


СОДЕРЖАНИЕ

1. Общие положения. 1

2. Изыскательские работы.. 2

2.1. Подготовительные работы. 2

2.2. Рекогносцировочные изыскания. 3

2.3. Детальные изыскания. 3

2.4. Основные положения проекта. 10

3. Проектирование лесонасаждений. 10

3.1. Размещение снегозащитных лесных полос вдоль дорог, их ширина, конструкция, ассортимент пород и типы смешения. 10

3.2. Технология создания новых и усиления существующих защитных лесонасаждений. 15

3.3. Охрана окружающей среды.. 17

3.4. Методика определения целесообразности создания снегозащитных лесонасаждений вдоль автомобильных дорог в сопоставлении с другими способами защиты от снежных заносов. 17

3.5. Декоративное озеленение. 24

3.6. Противоэрозионное озеленение. 27

4. Состав проектной документации. 28

5. Вопросы согласования и предоставления земельных участков. 29

6. Порядок утверждения проектов. 32

Приложение 1 Обоснование наивыгоднейшего расчетного объема снегоприноса для проектирования снегозащитных насаждений автомобильных дорог. 32

Приложение 2 Методика определения расчетного снегоприноса заданной обеспеченности. 36

Приложение 3 План размещения снегозащитных насаждений. 42

Приложение 4 Форма описания почвенного разреза. 42

Приложение 5 Форма полевого журнала лесомелиоративного обследования. 43

Приложение 6 Временные нормативы прибавок урожая важнейших сельскохозяйственных культур на полях, защищенных лесными полосами, в сравнении с открытыми полями (утверждены Министерством сельского хозяйства СССР 23 мая 1974 г.) 44

Приложение 7 Нормативы стоимости освоения новых земель взамен изымаемых для несельскохозяйственных нужд, руб./га*. 45

Приложение 8 Примерная номенклатура затрат для различных способов предотвращения снежных заносов. 45

Приложение 9 Суммарные приведенные затраты, руб., за 30 лет при создании незаносимого поперечного профиля земляного полотна на 1 км дороги (для нового строительства) 46

Приложение 10 Расчетные нормативы затрат на пробег автомобилей по дорогам с покрытием капитального типа. 47

Приложение 11 Капитальные вложения в подвижной состав автомобильного транспорта. 48

Приложение 12 Нормативы удельных капитальных вложений в предприятия автомобильного транспорта на один среднесписочный автомобиль, тыс. руб. 48

Приложение 13 Определение объемов снегоуборки. 49

Приложение 14 Производительность снегоочистительных машин. 49

Приложение 15 Пример оценки эффективности создания снегозащитных насаждений. 50

Приложение 16 Список автономных республик, краев, областей и административных районов, в которых земли под снегозащитные насаждения отводятся за год или два до посадки. 58

Приложение 17 Клетчатка вероятностей для кривых с умеренной асимметричностью.. 59

Приложение 18 Расчетный объем снегопереноса в зависимости от скорости ветра на высоте флюгера и повторяемости метелевых ветров при плотности снега 0,25 и 0,30 т/м3 60

Приложение 19 Значения обеспеченности, вычисленные по формуле ......................... 61

Приложение 20 Отклонение ординат Ф (Р, Сs) биномиальной кривой обеспеченности от среднего значения при Cv = 1. 61

 



© 2013 Ёшкин Кот :-)