| |||||||||||||||||||||||||||||||||||||||||||||||||||||||||||||||||||||||||||||||||||||||||||||||||||||||||||||||||||||||||||||||||||||||||||||||||||||||||||||||||||||||||||||||||||||||||||||||||||||||||||||||||||||||||||||||||||||||||||||||||||||||||||||||||||||||||||||||||||||||||||||||||||||||||||||||||||||||||||||||||||||||||||||||||||||||||||||||||||||||||||||||||||||||||||||||||||||||||||||||||||||||||||||||||||||||||||||||||||||||||||||||||||||||||||||||||||||||||||||||||||||||||||||||||||||||||||||||||||||||||||||||||||||||||||||||||||||||||||||||||||||||||||||||||||||||||||||||||||||||||||||||||||||||||||||||||||||||||||||||||||||||||||||||||||||||||||||||||||||||||||||||||||||||||||||||||||||||||||||||||||||||||||||||||||||||||||||||||||||||||||||||||||||||||||||||||||||||||||||||||||||||||||||||||||||||||||||||||||||||||||||||||||||||||||||||||||||||||||||||||||||||||||||||||||||||||||||||||||||||||||||||||||||||||||||||||||||||||||||||||||||||||||||||||||||||||||||||||||||||
|
МИНИСТЕРСТВО СВЯЗИ СССР ГЛАВНОЕ УПРАВЛЕНИЕ ЛИНЕЙНО-КАБЕЛЬНЫХ И РАДИОРЕЛЕЙНЫХ СООРУЖЕНИЙ СВЯЗИ ГЛАВНОЕ УПРАВЛЕНИЕ ВНУТРИЗОНОВОЙ МЕЖДУГОРОДНОЙ ТЕЛЕФОННОЙ СВЯЗИ ГЛАВНОЕ УПРАВЛЕНИЕ ГОРОДСКОЙ ТЕЛЕФОННОЙ СВЯЗИ ГЛАВНОЕ УПРАВЛЕНИЕ СЕЛЬСКОЙ ТЕЛЕФОННОЙ СВЯЗИ РУКОВОДСТВО
МОСКВА «СВЯЗЬ» 1978 Приводятся сведения о повреждениях кабелей связи и других подземных металлических сооружений связи; рассматриваются вопросы коррозионных измерений, проектирования защиты от коррозии строящихся и существующих подземных металлических сооружений связи, эксплуатации защитных устройств, даются основные характеристики средств защиты. Предназначено для инженерно-технических работников проектных, строительных и эксплуатационных организаций, занимающихся защитой подземных металлических сооружений связи от коррозии. Предисловие Одним из важнейших факторов обеспечения бесперебойной работы подземных металлических сооружений связи является своевременная и правильная защита их от коррозии в процессе проектирования, строительства и эксплуатации. В настоящем Руководстве приведены основные рекомендации по защите от коррозии магистральных, зоновых и местных (городских и сельских) кабельных сетей связи, которые в тексте с целью сокращения называются подземными металлическими сооружениями связи. При разработке Руководства учтены положения ГОСТ 9.015-74 «Единая система защиты от коррозии и старения. Подземные сооружения. Общие технические требования», «Инструкции по разработке проектов и смет для промышленного строительства СН-202-76» (M.: Стройиздат, 1976), имеющие отношение к подземным металлическим сооружениям связи; результаты научно-исследовательских и опытно-конструкторских работ, выполненных ЦНИИС и КОНИИС; опыт проектных, строительных и эксплуатационных организаций Министерства связи СССР и других министерств и ведомств. Руководство состоит из семи глав и приложений. В первой главе приведены краткие сведения о повреждениях кабелей связи и других подземных металлических сооружений связи вследствие действия процессов коррозии. Во второй главе рассмотрены вопросы коррозионных измерений и исследований, связанные с оценкой опасности коррозии и защищенности от нее тех или иных сооружений связи. Третья глава посвящена вопросам проектирования защиты от коррозии вновь строящихся и существующих подземных металлических сооружений связи, которые подвергаются действию процессов почвенной коррозии и коррозии блуждающими токами. В четвертой главе содержатся основные сведения, касающиеся осуществления защиты от коррозии, применения различных средств защиты и выполнения их монтажа. Пятая глава посвящена вопросам эксплуатации защитных устройств и методам оценки эффективности действия защиты. В шестой главе приводятся основные характеристики средств защиты, которые находят применение при осуществлении защиты подземный металлических сооружений связи от коррозии. В седьмой главе даются характеристики и описания измерительных приборов и вспомогательного оборудования, используемых при выполнении работ по защите от коррозии. Приложения, приведенные в конце Руководства, содержат справочные данные и другие материалы, необходимые при проектировании, осуществлении и эксплуатации защиты подземных металлических сооружений связи от коррозии. С выходом настоящего Руководства ранее изданные «Руководство по защите подземных сооружений связи от коррозии» (М.: Связь, 1970) и «Временное руководство по проектированию защиты от коррозии подземных металлических сооружений связи» (М.: Связь, 1972) отменяются. Руководство составлено работниками: ЦНИИС - Ю. Ф. Березкиной, А. В. Жуковой, А. Д. Паниным, М. А. Протасовым, Л, И. Силантьевой, К. М. Третьяковой и О. В. Чайкиной; КОНИИС - О. А. Луневым, Р. Р. Скрицким; Гипросвязи - В. Н. Абрамовым, А. Д. Исаевичем и Е. М. Черниковой под общей редакцией канд. техн. наук К. K. Никольского. Все замечания по данному Руководству следует направлять в Техническое управление Министерства связи СССР (103375, Москва, К. - 375, ул. Горького, 7). Техническое управление Министерства связи СССР Глава 1.
| |||||||||||||||||||||||||||||||||||||||||||||||||||||||||||||||||||||||||||||||||||||||||||||||||||||||||||||||||||||||||||||||||||||||||||||||||||||||||||||||||||||||||||||||||||||||||||||||||||||||||||||||||||||||||||||||||||||||||||||||||||||||||||||||||||||||||||||||||||||||||||||||||||||||||||||||||||||||||||||||||||||||||||||||||||||||||||||||||||||||||||||||||||||||||||||||||||||||||||||||||||||||||||||||||||||||||||||||||||||||||||||||||||||||||||||||||||||||||||||||||||||||||||||||||||||||||||||||||||||||||||||||||||||||||||||||||||||||||||||||||||||||||||||||||||||||||||||||||||||||||||||||||||||||||||||||||||||||||||||||||||||||||||||||||||||||||||||||||||||||||||||||||||||||||||||||||||||||||||||||||||||||||||||||||||||||||||||||||||||||||||||||||||||||||||||||||||||||||||||||||||||||||||||||||||||||||||||||||||||||||||||||||||||||||||||||||||||||||||||||||||||||||||||||||||||||||||||||||||||||||||||||||||||||||||||||||||||||||||||||||||||||||||||||||||||||||||||||||||||||
|
Объем раствора, мл |
|
|
Слабая (опалесценция) |
50 |
|
Средняя |
25 |
|
Сильная (отдельные хлопья) |
10 |
Определенный качественной пробой объем анализируемого раствора переносят в ионическую колбу вместимостью 250 мл и доводят его до 50 мл дистиллированной водой.
Если раствор щелочной, его нейтрализуют 0,01 н. раствором серной кислоты по метилоранжу до появления розовой окраски.
К анализируемому раствору прибавляют 1 мл 10%-ного раствора хромовокислого калия.
Анализируемую пробу титруют 0,01 н. раствором азотнокислого серебра до изменения желтой окраски на красно-бурую.
Обработка результатов. Содержание хлор-ионов (Сl-) в грунте в процентах вычисляют по формуле
Cl - = VHa×35,5×10/V1m = VH×17,75/V1
Содержание хлор - ионов (Сl-) в воде в мг/л вычисляют по формуле
Cl - =VH×35,5×1000/V1,
где V - объем азотнокислого серебра, пошедший для титрования пробы, мл;
H - нормальность раствора азотнокислого серебра; V1 - объем вытяжки, взятый для титрования, мл; a - общий объем вытяжной, мл; m - навеска грунта, взятая для приготовления водной вытяжки, г; 0,0355 - мг×экв хлор - иона; 35,5 - г×экв хлор-иона.
2.14. Определение общей жесткости. Общая жесткость определяется комплексно-метрическим методом. В основе этого метода лежит способность трилона Б (двунатриевая соль этилендиаминтетрауксусной кислоты C10H14N2Na2O8×2H2O) давать прочные комплексные соединения с ионами кальция и магния.
Определению общей жесткости мешает присутствие в воде ионов меди, марганца, железа и алюминия. В присутствии меди окраска индикатора не меняется, так как ионы меди образуют с ним соединения, которые не разрушаются трилоном Б. В присутствии ионов марганца в щелочной среде выделяется MnO(OH)2, который адсорбирует индикатор, а окраска раствора становится серой. Для устранения вредного влияния ионов меди, небольших количеств железа и алюминия их следует перевести в труднорастворимую форму. В отмеренную для титрования пробу воды прибавляют 1 мл 5 - 10%-ного раствора сульфида натрия (Na2S - 9H2О).
Для устранения вредного влияния ионов марганца в отмеренную для титрования пробу воды прибавляют пять капель 1%-ного раствора солянокислого гидроксиламина.
Применяемые аппаратура и реактивы:
мерные колбы;
конические колбы вместимостью 250 мл;
пипетки калиброванные;
магний сернокислый (MgSO4), ч.д.а. - 2 .г;
кальций углекислый (СаСО3), х.ч. - 4 г;
аммоний хлористый (NH4Cl), х.ч. - 250 г;
аммиак водный 25%-ный (NH4OH), ч.д.а. - 1,3 л;
натрий хлористый (NCl), ч.д.а. - 400 г;
эриохром черный (специальный ЕТ-00), инд. - 4 г, можно заменить кислотным хромом синим К, кислотным хромом темно - синим;
соляная кислота (HCl), d201,19 х.ч. - 0,02 л;
трилон Б, ч.д.а. - 94 г;
натрий сернистый (Na2S - 9H2O), ч.д.а. - 100 г;
гидроксиламин солянокислый (NH2OH - HCl); ч.д.а. - 3 г;
дистиллированная вода - по потребности.
Примечание. Количество реактивов дано из расчета на 1000 проб.
Подготовка к проведению анализа по определению общей жесткости.
Приготовление стандартного раствора солей кальция и магния.
Раствор готовят из смеси 0,1 и. растворов солей кальция и магния в соотношении 3:1. Растворяют 3,0090 г безводного сернокислого магния (получаемого высушиванием при температуре 240°С семиводного гидрата) в мерной колбе с дистиллированной водой н объем доводят до 500 мл. В другую мерную колбу вместимостью 1 л вносят 6,0050 г химически чистого углекислого кальция, приливают 10 мл дистиллированной воды и по кашлям вводят соляную кислоту (1:1), избегая ее избытка, до полного растворения карбоната. Затем добавляют дистиллированную воду до метки.
Для приготовления 0,05 н. стандартного раствора в мерную колбу вместимостью 200 мл отмеряют 75 мл 0,1 н. раствора хлористого кальция и 25 мл 0,1 и. раствора сернокислого магния, после чего доливают дистиллированной водой до метки.
Приготовление смеси индикатора. 0,5 г индикатора растирают с 50 г химически чистого хлорида натрия или калия.
Приготовление 0,05 н. раствора трилона Б. Готовится из фиксанала или из навески трилона Б. Для приготовления из трилона Б берут навеску 9,31 г, растворяют в мерной колбе дистиллированной водой и доводят объем до 1 л.
Установление нормальности раствора трилона Б. В коническую колбу вместимостью 250 мл отмеряют пипеткой 20 мл 0,05 н. стандартного раствора Са+2 и Mg+2, добавляют мензуркой 30 мл дистиллированной воды и 5 мл буферного раствора. Жидкость перемешивают и к ней добавляют 0,1 г смеси индикатора, после чего титруют раствором трилона Б так же, как и пря определении жесткости. Нормальность раствора (Н) трилона Б вычисляют по формуле
H = H1V1/V,
где H1 - нормальность стандартного раствора, V1 - объем стандартного раствора, взятый на определение, мл; V - объем раствора трилона Б, израсходованный на титрование, мл.
Приготовление буферного раствора. 50 г химически чистого хлористого аммония растворяют в дистиллированной воде, добавляют 250 мл 20%-ного раствора аммиака и доводят объем раствора дистиллированной водой до 1 л.
Приготовление 5 - 10%-ного водного раствора натрия сернистого.
Приготовление 1%-ного водного раствора гидроксиламина солянокислого.
Проведение анализа. Анализируемую пробу титруют трилоном Б в присутствии одного из индикаторов по табл. 2.2 при рН=10, что достигается прибавлением аммиачного буфера. В эквивалентной точке цвет раствора меняется зависимости от типа индикатора.
В конические колбы вместимостью 250 мл отмеряют пипеткой по 100 мл исследуемой воды. К взятому на анализ объему воды прибавляют 5 мл буферного раствора и около 0,1 г смеси индикатора ЕТ-00, применяемого для анализа.
ТАБЛИЦА 2.2
Индикаторы для определения ионов кальция (Са+2) и магния (Mg+2)
|
Цвет |
||
|
В присутствии Са+2, Mg+2 |
При отсутствии Са+2, Mg+2 |
|
|
Эриохром черный ЕТ-00 |
Винно-красный |
Синий с зеленоватым оттенком |
|
Хром синий К |
Розово-красный |
Сиреневый |
|
Хром темно - синий |
Розово-красный |
Синевато сиреневый |
Раствор перемешивают и медленно титруют 0,05 н. раствором трилона Б до изменения окраски, свойственной данному индикатору в присутствии ионов кальция и магния. Конец титрования лучше всего наблюдать, если рядом поставить оттитрованную пробу, до цвета которой и следует титровать анализируемую пробу.
Обработка результатов. Общую жесткость (X) в мг×экв вычисляют по формуле
X = V1H1×1000/V.
где V1 - объем раствора трилона Б, используемый для титрования, мл; V - объем исследуемой воды, мл; H1 - нормальность раствора трилона Б.
На титрование контрольного опыта (100 мл дистиллированной воды) должно идти не более двух капель 0,01 н. трилона Б. Ионы кальция и магния из дистиллированной воды устраняются повторной ее перегонкой.
2.15. Определение общего содержания ионов железа. Метод основан на образовании окрашенных железороданидных комплексов по реакции
Fe+3 + n SCN - ® [Fe(SCN) n] - m.
С увеличением координационного числа n интенсивность окраски увеличивается.
Растворы железороданидных комплексов медленно обесцвечиваются и чувствительны к интенсивной освещенности, поэтому при определении содержания ионов железа к анализируемому объему пробы следует прибавлять совершенно одинаковый избыток реактива.
Не допускается проводить определение на прямом солнечном свету.
Применяемые аппаратура и реактивы:
мерные колбы;
пипетки калиброванные;
фотоэлектроколориметp;
стаканы, цилиндры;
часовое стекло;
штатив, бюретка;
железоаммонийные квасцы (Fe2(SO4)3×(NH4)2SO4×24H2O), х.ч. - 60 г;
аммоний роданистый (NH4SON), ч.д.а. - 600 г; можно заменить калием роданистым (KSON);
азотная кислота (HNO3), d201,51, х.ч. - 0,5 л;
серная кислота (H2SO4), d201,84, х.ч. - 0,7 л;
аммоний персульфат (NH4)2S2O8, х.ч. - 100 г;
соляная кислота (НСl), d201,19;
дистиллированная вода;
красная кровяная соль (К3[Fе(СN)6]).
Примечание. Количество реактивов дано из расчета на 1000 проб.
Подготовка к проведению анализа по определению общего содержания ионов железа. Приготовление образцовых растворов соли трехвалентного железа. Раствор А - 0,8640 г, х.ч., перекристаллизованных из слабокислого раствора железоаммонийных квасцов Fe2(SO4)3(NH4)2SO4×24H2O растворяют в литровой мерной колбе в дистиллированной воде, добавляют несколько капель НСl и доводят раствор в колбе до метки.
Раствор Б - 50 мл образцового раствора А разбавляют до метки дистиллированной водой в мерной колбе вместимостью 600 мл. Такой раствор содержит 0,01 мг железа в 1 мл.
Приготовление 10%-ного водного раствора роданистого аммония или калия. Перед анализом необходимо провести качественную пробу красной кровяной солью на ион двухвалентного железа.
Проведение анализа. Определение содержания ионов железа в воде и водных вытяжках с рН меньше семи проводят фотометрическим методом.
Для построения калибровочной кривой готовят серию растворов с различным содержанием железа. В колбы вместимостью 50 мл пипеткой вносят от 0,1 до 10 мл стандартного раствора А, содержащего от 0,01 до 1 мг железа, и разбавляют дистиллированной водой до 26 мл. Bo все колбы приливают по 1 мл азотной кислоты (1:1) и по 6 мл 10%-ного раствора роданистого калия или аммония, доводят дистиллированной водой до метки и тщательно перемешивают.
Одновременно с приготовлением стандартных растворов приготавливают раствор для контрольного опыта.
Для этого в мерную колбу вместимостью 50 мл наливают 25 мл дистиллированной воды, l мл азотной кислоты (1:1), 6 мл 10%-ного раствора роданистого аммония или калия, доводят раствор до метки и тщательно перемешивают.
На фотоэлектроколориметре устанавливают нуль по контрольному раствору при синем светофильтре с длиной волны А=400 - 500 нм и измеряют оптическую плотность растворов во всех колбах.
По полученным данным строят калибровочную кривую (оптическая плотность - ось ординат; содержание ионов трехвалентного железа в анализируемом объеме - ось абсцисс).
Для определения ионов железа при совместном присутствии Fe+3 и Fe+2 отбирают пипеткой 25 мл воды или водной вытяжки в стакан вместимостью 50 - 100 мл, добавляют 1 мл азотной кислоты (1:1) и два - три кристалла персульфата аммония, затем покрывают стакан часовым - стеклом и ставят на кипящую водяную баню на 10 мин, после чего охлаждают и содержимое стакана переносят в мерную колбу вместимостью 50 мл. В каждую колбу добавляют 5 мл 10%-ного роданистого калия или аммония, доводят раствор в колбе до метки, и тщательно взбалтывают.
При отсутствии иона двухвалентного железа определение проводят без добавления персульфата аммония и без нагревания.
Определяют оптическую плотность анализируемых вытяжек и по калибровочной кривой находят содержание железа в объеме, взятом для анализа.
Обработка результатов. Содержание ионов трехвалентного железа (Fe+) в процентах вычисляют по формуле
Fe+3 = a×500/V×1000 = a/2V,
где a - содержание железа в объеме, взятом для анализа, мг (отсчет по оcи абсцисс калибровочной кривой); V - объем воды или вытяжки, взятый для анализа, мл; 600 - объем всей вытяжки, мл.
2.16. Определение водорастворимых органических веществ. Метод основан на окислении органических веществ в кислой среде марганцовокислым калием, взятым в избытке:
MnO4 - + 8Н+ + 5e ® Mn+2 + 4Н2O.
Содержание водорастворимых органических веществ устанавливается по окисляемости вод или водных вытяжек грунтов.
Затем избыток КMnO4 восстанавливают щавелевой кислотой, после чего остаток щавелевой кислоты определяют обратным титрованием КMnO4:
5С2О4 - 2 + 2МnO4 - + 16Н+ = 2Мn+2 + 8H2O + 10CO2;
Применяемые аппаратура и реактивы:
конические колбы с приблизительно одинаковым диаметром дна;
воронки;
электроплитка с закрытой спиралью;
бюретки;
пипетка калиброванная;
песочные часы;
калий марганцовокислый (KMnO4), ч.д.а. - 100 г;
щавелевая кислота (Н2С2 × 2Н2О), ч.д.а. - 100 г;
серная кислота (H2SO4), d201,84, х.ч. - 1 л;
пемза - 100 г, можно заменить прокаленным песком.
Примечание. Количество реактивов дано из расчета на 1000 проб.
Подготовка к проведению анализа по определению водорастворимых органических веществ. Чистые конические колбы, предварительно вымытые хромовой смесью, подвергаются дополнительной обработке для окисления органических веществ, сорбированных стенками колбы. Для этого в колбы заливают 100 мл подкисленного раствора KMnO4, кипятят, а затем моют дистиллированной водой.
Приготовление 25%-ного раствора серной кислоты (1:3).
Приготовление 0,05 н. раствора марганцовокислого калия. Для приготовления 0,05 и раствора марганцовокислого калия следует растворить фиксанал или 1,60 г марганцовокислого калия в мерной колбе вместимостью 1 л в 100 - 150 мл дистиллированной воды, и объем раствора доводят до метки. Определение нормальности раствора КMnO4 проводят непосредственно после определения окисляемости следующим образом.
К 100 мл дистиллированной воды добавляют 10 мл раствора H2SO4 (1:3), 1 мл 0,05 и раствора щавелевой кислоты, нагревают до кипения и титруют 0,05 раствором КМnO4 до появления слабо - розовой окраски. Добавляют в воду 10 мл 0,05 н. раствора щавелевой кислоты и вновь титруют 0,05 н. раствором KMnO4 до появления бледно - розового окрашивания. Нормальность (Н) раствора КМnO4 рассчитывают по формуле
![]()
где V - объем КМnO4, пошедший на титрование, мл; V1 - объем раствора щавелевой кислоты, мл; H1 - нормальность раствора щавелевой кислоты.
Для приготовления 0,05 н. раствора щавелевой кислоты используют фиксанал или 3,15 г х.ч. H2C2O4 - 2H2O растворяют в дистиллированной воде и доводят в мерной колбе до 1 л.
Подготовка песка и пемзы. Песок или пемзу измельчают в фарфоровой ступке и прокаливают в муфельной печи при красном калении в течение 1 - 1,5 ч при периодическом перемешивании.
Проведение анализа. В коническую колбу вместимостью 250 мл помещают 25 - 50 мл воды или вытяжки и разбавляют дистиллированной водой до объема 100 мл.
В колбу приливают 10 мл 25%-ного раствора H2SO4 и титруют 0,05 н. раствором КМnO4 до слабо-розовой окраски, не исчезающей 1 мин. Титрованием на холоду определяют содержание в вытяжке минеральных восстановителей: ионов закисного железа, нитрит-ионов, сероводорода и др. Далее к раствору прибавляют из бюретки 10 мл 0,05 н. раствора КМnO4 и приблизительно 0,2 г песка или пемзы и прикрывают воронкой, кипятят на электроплитке 10 мин, отсчитывая время с момента начала кипения.
Кипение должно быть спокойным, без перегрева. Раствор после кипячения должен остаться окрашенным (если раствор обесцветится или приобретет желтоватую окраску, определение следует повторить с меньшим количеством вытяжки).
Бюреткой или пипеткой приливают в анализируемую вытяжку 10 мл. 0,05 н. раствора Н2С2O4 и взбалтывают, при этом раствор обесцвечивается. Горячий раствор титруют 0,05 н. раствором КМnO4 до слабо - розовой окраски.
Для установления величины саморазложения перманганата при кипячении в кислой среде проводят контрольный опыт:
к 100 мл дистиллированной воды приливают все необходимые реактивы и проводят окисление.
Количество КМnO4 контрольного опыта вычитают из общего количества КМnO4 затраченного для окисления органических веществ в водной вытяжке.
Обработка результатов. Содержание органических веществ (гумуса) в воде в мг/л вычисляют по формуле
[(а + a1 - ¶)H1 - bH2]×3×1,724×1000/V1.
Содержание органических веществ (гумуса) в водной вытяжке, в процентах вычисляют по формуле
[a - a1 - ¶)×H1 - bH2]×V×0,003×1,724×100/V1m
где а - количество КМnO4, прибавленное до кипячения, мл; a1 - количество того же раствора, прибавленное после кипячения, мл; ¶ - количество КМnO4, израсходованное для контрольного опыта, мл; b - количество H2C2O4, израсходованное для обесцвечивания КМnO4, мл; H1 - нормальность раствора КМnO4; H2 - нормальность раствора Н2С2O4; V - общий объем водной вытяжки, мл; V1 - объем пробы водной вытяжки, взятый на анализ, мл; m - навеска грунта, взятая для приготовления вытяжки, г; 1,724 - коэффициент перевода углерода в органическое вещество (гумус); 0,003 и 3 - соответственно миллиграмм - эквивалент и грамм - эквивалент углерода.
2.17. Определение содержания нитрат - ионов. Метод основан на учете интенсивности желтой окраски, образующейся при взаимодействии нитратов с дисульфофеноловой кислотой с последующей обработкой этой смеси раствором щелочи или аммиака:
3HNO3 + C6H3OH(HSO3)2 = C6H2OH(NO2)3 + 2H2SO4 + H2O
дисульфофеноловая кислота тринитрофенол
C6H2OH(NO2)3 + KOH = C6H2(NO2)3OK + H2O
тринитрофенол желтый нитропродукт
Применяемые аппаратура и реактивы:
фарфоровые чашки вместимостью 50 мл;
мерные колбы;
бюретки;
пипетки калиброванные;
стеклянные палочки с оплавленными концами;
корковые пробки;
обратный холодильник (длинная стеклянная трубка);
фотоэлектроколориметр;
универсальный индикатор;
фенол (C6H5OH), х.ч. - 130 г:
серная кислота (H2SO4), d201,84, х.ч. - 1 л;
аммиак водный 25%-ный (NH4OH), ч.д.а. - 10 л, можно заменить калием едким;
калий азотнокислый (KNO3), х.ч. - 4 г;
серебро сернокислое (Ag2SO4), х.ч. - 14 г;
алюминий сернокислый (Аl2(SO4)3×18Н2О), ч.д.а. - 130 г;
калий едкий (КОН), ч.д.а. - 70 г;
дисульфофеноловая кислота - 1 л;
дистиллированная вода.
Примечание. Количество реактивов дано из расчета на 1000 проб.
Подготовка к проведению анализа по определению содержания нитрат - ионов. Приготовление дисульфофеноловой кислоты. К 30 г чистого кристаллического фенола приливают 201 мл серной кислоты, закрывают корковой пробкой с обратным холодильником и нагревают в течение 6 ч на кипящей водяной бане.
Приготовленный реактив должен иметь слабо-сиреневый цвет. Другие цвета не допускаются.
Приготовление 10%-ного водного раствора аммиака или 20%-ного водного раствора едкого калия.
Приготовление образцовых растворов нитратов. Раствор А - 0,163 г химически чистого перекристаллизованного сухого азотнокислого калия растворяют в мерной колбе вместимостью 1 л в небольшом количестве дистиллированной воды, и затем объем раствора доводят до метки. 1 мл раствора содержит 0,1 мг NО3 - .
Раствор Б - 100 мл образцового раствора А разбавляют водой в мерной колбе до 1 л; 1 - мл такого раствора содержит 0,01 мг NO3 - .
Приготовление раствора сернокислого серебра. 4,4 г сернокислого серебра, не содержащего нитратов, растворяют в 1 л дистиллированной воды.
Приготовление раствора сернокислого алюминия. 13 г Al2(SO4)3 - 18Н20 растворяют в дистиллированной воде и доводят объем в мерной колбе до 100 мл.
Приготовление 7%-ного водного раствора едкого калия.
При анализе засоленных грунтов необходимо предварительно удалить из вытяжек избыток хлоридов прибавлением раствора сернокислого серебра исходя из расчета, что 1 мл сернокислого серебра осаждает 0,8 мг хлор-иона.
Если вытяжки окрашены или мутны, необходимо их предварительно обесцветить добавлением к вытяжке раствора сульфата алюминия и 7%-ного раствора едкого калия (3:2). Осадок отфильтровывают и из фильтрата отбирают объем, необходимый для анализа.
Проведение анализа. Интенсивность окраски воды и водных вытяжек определяют фотоэлектроколориметром с зеленым фильтром.
При фотометрическом определении содержание нитрат-ионов определяют по калибровочной кривой, которую периодически проверяют, а при замене одного из реактивов реактивом другой фасовки строят заново.
Для построения калибровочной кривой отбирают с помощью бюретки или пипетки в фарфоровые чашки вместимостью 50 мл от 1 до 20 мл образцового раствора Б и выпаривают на водяной бане досуха.
Одновременно с растворами отбирают пипеткой около 50 мл каждой анализируемой пробы (в зависимости от содержания нитратов в почве) в отдельные фарфоровые чашки и тоже выпаривают досуха на водяной бане. В одной из чашек выпаривают 50 мл дистиллированной воды для «холостого» опыта.
После выпаривания растворов дальнейшее нагревание сухих остатков на водяной бане проводить не допускается.
В охлажденную чашку с сухим остатком добавляют 1 мл дисульфофеноловой кислоты и тщательно растирают содержимое стеклянной палочкой, смачивая весь остаток.
По истечении 10 мин в каждую чашку наливают 15 мл дистиллированной воды.
Растворы доводят до щелочной реакции прибавлением по каплям 20%-ного раствора щелочи или 10%-ного раствора аммиака. Конец прибавления щелочи или аммиака устанавливают по появлению устойчивой желтой окраски, которая не меняется при дальнейшем приливании раствора щелочи или аммиака.
Окрашенные в желтый цвет растворы переносят из чашек в мерные колбы вместимостью 60 мл.
Содержимое колб доводят до метки водой и перемешивают. Устанавливают нуль на фотоэлектроколориметре при зеленом светофильтре с длиной волны l=410 нм по «холостому» раствору и измеряют оптическую плотность полученных растворов.
По полученным данным строят калибровочную кривую (оптическая плотность - ось ординат; содержание нитрат - ионов в 50 мл - ось абсцисс).
Определяют оптическую плотность исследуемых растворов, до калибровочной кривой находят содержание нитрат - ионов в объеме, взятом для анализа.
При необходимости допускается анализ по определению нитратов прерывать после окончания выпаривания раствора.
Обработка результатов анализа. Содержание нитрат-ионов (NO3-) в грунте в процентах вычисляют по формуле
NО3 - = а × 100/m или NO3 - = a/2V
Содержание нитрат - ионов (NO3 -), в воде в мг/л вычисляют по формуле
NO3 - = a × 1000/V1,
где а - содержание нитрат-ионов в объеме, взятом для анализа (отсчет по оси абсцисс калибровочной кривой), мг; m - навеска грунта, соответствующая количеству миллилитров испытуемого раствора, взятого для анализа, мг; V - объем водной вытяжки, взятый для анализа, мл; V1 - объем воды, взятый для анализа, мл.
2.18. Результаты химических анализов грунтов, грунтовых и других вод оцениваются то данным табл. 2.1 - 3.4.
2.19. При этом методе используются электроды, представляющие собой стальные прямоугольные пластины 25х25 мм с припаянными контактными проводниками. Со стороны контакта пластины изолируют битумом. Обратная сторона тщательно зачищается корундовой шкуркой и обезжиривается ацетоном.
Пробу помещают в фарфоровый стакан вместимостью 1 л. Два стальных электрода закладывают в стакан с грунтом не изолированными сторонами друг к другу. Один из образцов подключается к положительному полюсу, а другой к отрицательному полюсу источника постоянного тока.
Измерения разности потенциалов между электродами производят в момент разрыва поляризующей цепи при различных плотностях тока.
На основании полученных данных строят диаграмму в координатах: разность потенциалов - плотность поляризующего тока.
По диаграмме определяют плотность тока, соответствующую разности потенциалов DU=0,5 В, по которой в соответствии с данными табл. 3.6 определяется коррозионная активность грунта.
2.20. Образец представляет собой стальную трубку длиной 100 мм и внутренним диаметром 19 мм.
Перед испытанием поверхность образца очищают от ржавчины и окалины корундовой шкуркой, обезжиривают ацетоном, высушивают фильтровальной бумагой, выдерживают сутки в эксикаторе с хлористым кальцием и взвешивают с погрешностью не более 0,1 г.
Образец помещают в жестяную банку высотой 110 мм и внутренним диаметром 80 мм. Для изоляции образца от дна банки в один из его торцов вставляют резиновую тройку так, чтобы она выступала на 10 - 12 мм. Банка заполняется грунтом на 5 мм ниже верхнего конца трубки. Грунт трамбуется до плотного прилегания к образцу и банке.
Грунт увлажняют до появления на его поверхности непоглощенной влаги. Не допускается проводить увлажнение грунта после начала испытаний.
К банке с помощью зажимного приспособления подключается отрицательный полюс, а к образцу - положительный полюс источника постоянного тока напряжением 6 В.
Образец находится под током в течение 24 ч.
После отключения тока образец тщательно очищается от продуктов коррозии катодным травлением в 8%-ном гидрате окиси натрия при плотности тока 3 - 5 А/дм2, промывается дистиллированной водой, высушивается и взвешивается с погрешностью не более 0,1 г.
Коррозионная активность грунта определяется в соответствии с данными табл. 3.7
2.22. Удельное сопротивление грунта при оценке коррозионной активности и для расчетов электрохимической защиты измеряется через каждые 500 - 1000 м при однородном характере грунта, через 200 м - при неоднородном характере грунта и через 50 - 100 м - в местах с сосредоточением агрессивных минеральных и органических веществ (свалки строительного мусора, овраги, места стока отработанных вод химических заводов, коммунальных предприятий и др.). Для расчета контуров заземлений удельное сопротивление грунта определяется на выбранных площадках на требуемую глубину.
2.23. Определение удельного сопротивления грунта производится с помощью симметричной четырехэлектродной установки (рис. 2.1), электроды которой размещаются в одну линию, которая для проектируемого сооружения должна совпадать с осью трассы, а для уложенного в землю сооружения должна проходить параллельно последнему в 2 - 4 м от него.
Расстояние между питающими электродами (АВ) должно находиться в следующих пределах:
2h£AВ£4h,
где h - глубина прокладки подземного сооружения, м.
Величина удельного сопротивления грунта rг Ом×м, в общем случае определяется по формуле
rг = k×DU/I,
где DU - разность потенциалов, измеряемая между приемными электродами MN, В; I - величина тока, протекающего через цепь питающих электродов АВ, А, k - коэффициент, величина которого определяется по формуле
![]()
где
,
,
- расстояния между электродами,
м
Рис. 2.1 Схема измерения удельного сопротивления грунта
2.24. При измерениях четырехэлектродной установкой могут быть использованы измерители заземления МС-08, Ф-416 и М-416, полевой электроразведочный потенциометр ЭП-ПМЭ, электронный стрелочный компенсатор ЭСК-1 или прибор АЭ-72.
При измерении удельного сопротивления грунта по трассе кабеля приборами МС 08 и М-416 расстояние между электродами а (рис. 2.2) принимается одинаковым и равным двойной глубине закопки кабеля.
Величина удельного сопротивления rг, Ом м, подсчитывается по формуле
rг =2pRa,
где R - показания прибора, Ом, а - расстояние между двумя соседними электродами, м
Глубина забивки l электродов в грунт не должна быть более 1/20 a
2.25. Удельное сопротивление грунта при измерении прибором М-416 с использованием специального измерительного электрода (трубы) подсчитывается по формуле
,
где R - сопротивление, измеренное измерителем заземления, Ом, L - глубина забивки электрода (трубы), м, d - диаметр электрода (трубы), м
Рис. 2.2
Схема измерения удельного сопротивления грунта прибором МС-08:
a - расстояние между электродами
2.26. Схема измерения удельного сопротивления грунта методом амперметра - вольтметра приведена на рис. 2.3. Величина удельного сопротивления определяется из выражения
,
где U - среднее значение показаний милливольтметра, измеренное при двух направлениях тока, В, I - среднее значение показаний амперметра, А.
При определении удельного сопротивления методом амперметра - вольтметра предпочтительно пользоваться медными или латунными электродами.
Рис. 2.3 Схема измерения удельного сопротивления грунта по методу «амперметра - вольтметра»
2.27. Расчетное максимальное значение удельного сопротивления грунта при проектировании заземлений, которое может иметь место в течение года, определяется по формуле
,
где
-
измеренное значение удельного сопротивления грунта, Ом×м, k - коэффициент,
учитывающий сезонное изменение влажности грунта (табл. 2.3)
Приведенные в таблице значения коэффициента k применяются в следующих случаях
k1-1 - если измеренная величина удельного сопротивления грунта соответствует минимальному значению (грунт влажный, перед измерением выпадало много осадков),
ТАБЛИЦА 2.3
Значение коэффициента k, учитывающего сезонное изменение влажности грунта
|
Глубина заложения, м |
Поправочные коэффициенты |
|||
|
k1-1 |
k2-2 |
k3-3 |
||
|
Поверхностные (протяженные) |
0,5 |
6,5 |
5,0 |
4,5 |
|
То же |
0,8 |
3,0 |
2,0 |
1,6 |
|
Заглубленные вертикальные (трубы уголки, стержни) |
Верхний конец на глубине около 0,8м от поверхности земли |
2,0 |
1,5 |
1,6 |
k2-2 - если измеренная величина удельного сопротивления соответствует среднему значению (грунт средней влажности, перед измерением выпадало немного осадков);
k3-3 - если измеренная величина удельного сопротивления грунта соответствует наибольшему значению (грунт сухой, перед измерением выпадало совсем мало осадков)
2.28. При оценке коррозионной активности грунта по отношению к стальным сооружениям связи по величине удельного сопротивления измеренные значения должны быть пересчитаны к минимально возможным значениям по формуле
![]()
где k - коэффициент, соответствующий времени измерения (табл. 2.4)
ТАБЛИЦА 2.4
Изменение коэффициента k в зависимости от времени измерения
|
Значения k |
||||||||||||
|
Месяц измерений |
||||||||||||
|
январь |
февраль |
март |
апрель |
май |
июнь |
июль |
август |
сентябрь |
октябрь |
ноябрь |
декабрь |
|
|
Европейская часть СССР (кроме южных областей) и Сибирь |
0,833 |
0,91 |
1,0 |
0,833 |
0,770 |
0,645 |
0,572 |
0,645 |
0,588 |
0,667 |
0,770 |
0,740 |
|
Южные области СССР |
0,870 |
1,00 |
0,91 |
0.807 |
0,575 |
0,578 |
0,645 |
0,671 |
0,637 |
0,625 |
0,625 |
0,770 |
2.29. Наличие блуждающих токов в земле на трассе проектируемого подземного металлического сооружения связи рекомендуется определять по результатам измерений разности потенциалов между проложенными в данном районе подземными металлическими сооружениями и землей.
2.30. При отсутствии подземных металлических сооружений блуждающие токи в земле на трассе проектируемого подземного металлического сооружения связи целесообразно определять измерением разности потенциалов между двумя точками земли через каждые 1000 м по двум взаимно перпендикулярным направлениям при разносе измерительных электродов на 100 - 200 м (рис. 2.4).
2.31. При проведении измерений в обоих приведенных выше случаях должны применяться вольтметры с нулем посередине шкалы, имеющие внутреннее сопротивление не менее 20000 Ом на 1 В шкалы, с пределами измерений 75 - 0 - 75 MB, 0,5 - 0 - 0,5 В, l,0 - 0 - l,0 В, 5,0 - 0 - 5,0 В или с другими близкими к указанным пределами.
Контакт измерительных проводников с землей осуществляется при помощи неполяризующихся медносульфатных электродов, латунных, медных или стальных электродов.
Показания вольтметра рекомендуется отмечать через каждые 5 - 10 с в течение 10 - 15 мин при измерении по каждому из направлений.
2.32. Если измеряемая разность потенциалов изменяется по величине и знаку или только по величине, то это указывает на наличие в земле блуждающих токов электрифицированного транспорта. Если измеряемая разность потенциалов имеет устойчивый характер, то это указывает на наличие в земле токов почвенного происхождения либо токов от линий передач постоянного тока или установок дистанционного питания усилителей, работающих по системе «провод - земля», если таковые имеются в данном районе.
Рис. 2.4. Схема определения наличия блуждающих токов в земле
При наличии в обследуемом районе установок дистанционного питания или линий передачи энергии постоянного тока системы «провод - земля» необходимо выяснить места расположения рабочих заземлений этих установок.
Общие сведения
2.34. Измерение разности потенциалов между подземными металлическими сооружениями связи и землей производится контактным методом с применением самопишущих и интегрирующих приборов. Допускается производить измерения доказывающими приборами с входным сопротивлением не менее 20000 Ом на 1 В шкалы.
Характеристики приборов, рекомендуемых для использования, приведены в табл. 7.3.
2.35. При измерении разностей потенциалов между подземным металлическим сооружением связи и землей следует применять только неполяризующиеся электроды сравнения.
Измерение разности потенциалов подземного сооружения связи относительно земли
2.36. Под разностью потенциалов подземного сооружения относительно земли понимается: разность потенциалов между кабелем связи (броня и оболочка перепаяны) и землей, между броней и землей, между оболочкой и землей, между корпусом НУП и землей и т.д.
2.37. Измерения разности потенциалов подземного кабеля связи относительно земли могут быть (рис. 2.5) выполнены в колодцах, КИП или в специально отрываемых шурфах.
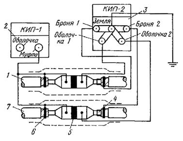
Рис. 2.5.
Схема измерения разности потенциалов кабеля относительно земли:
a - в колодце; б - в контрольно-измерительном пункте; в
- в шурфе; 1 - штанга со свинцовым электродом; 2 - кабель; 3 - неполяризующийся
электрод; 4 - штанга с зубчатым электродом
При этих измерениях положительная клемма прибора подключается к кабелю, а отрицательная - к электроду сравнения. Если стрелка прибора отклоняется влево, потенциал сооружения имеет отрицательное значение, если вправо - положительное.
При использовании медносульфатного неполяризующегося электрода сравнения величина разности потенциалов между сооружением и землей может быть определена по формуле
Uс - з = ±Uизм + |Uc|,
где Uизм - измеренная величина потенциала, В; Uc - стационарный потенциал металла в грунте (без внешней поляризации), В.
Среднее значение Uc может быть принято: для стали - 0,55 В; для свинца - 0,48 B; для алюминия - 0,7 В.
2.38. При необходимости измерения разности потенциалов кабеля относительно земли на участках между контрольно-измерительными пунктами используется метод выноса заземляющего электрода. Этот метод заключается в том, что в контрольно-измерительном пункте (колодце или шурфе) измерительный прибор подключается к кабелю, а электрод сравнения располагается или на поверхности земли над кабелем при измерениях на кабелях, проложенных в траншеях (рис. 2.6а), или в свободном канале при измерениях на кабелях, проложенных в канализации (рис. 2.6б). Электрод сравнения располагается в тех местах, где необходимо определить потенциал. Расстояние от точки подключения прибора к кабелю до точки выноса электрода сравнения не должно превышать 250 м.
Рис. 2.6. Схема измерения разности потенциалов кабелей относительно
земли по методу выноса электрода:
а - в грунте; б - в канализации; 1 -
контрольно-измерительный пункт; 2 - электрод сравнения, 3 - кабель; 4 - катушка
с проводом, 5 - свободный канал
2.39. При измерениях электроды сравнения устанавливаются на дно колодца в случае измерений на кабелях, проложенных в канализации, и на поверхности земли над кабелем при измерениях на кабелях, проложенных непосредственно в земле.
Примечание. Если дно колодца (или земля), с которым осуществляется контакт через электрод сравнения, окажется сухим, то перед измерением его необходимо увлажнить.
2.40. В зонах отсутствия блуждающих токов время измерения в каждой точке может быть ограничено 3 - 5 мин. Отсчеты должны производиться через каждые 15 - 20 с.
В зонах влияния блуждающих токов трамвая отсчеты необходимо производить через 10 - 20 с в течение 5 - 10 мин, а при частом движении вагонов - через каждые 5 - 10 с.
В зонах влияния блуждающих токов электрифицированных железных дорог отсчеты необходимо производить через каждые 10 с в течение 10 - 5 мин.
Необходимо, чтобы за период измерений мимо пункта наблюдения прошло не менее чем по два электропоезда (трамвая) в разных направлениях.
При необходимости выполнения длительных измерений разностей потенциалов оболочек кабелей связи относительно земли целесообразно применять регистрирующие приборы типов Н-373, Н-39, Н-899 и. др. (см. табл. 7.4).
2.41. Результаты измерений разностей потенциалов оформляются в виде протоколов по ф. 1 приведенной в приложении 1.
2.42. При измерении разности потенциалов между камерой НУП и землей положительный полюс прибора присоединяется к камере НУП (или к выводу от нее на специальный щиток), отрицательный - к электроду сравнения. Электрод сравнения устанавливается в землю вблизи НУП.
Измерение разности потенциалов между сооружением связи и рельсами электрифицированного транспорта
2.43. Разность потенциалов между сооружением связи и рельсами измеряют в колодцах, контрольно-измерительных пунктах или шурфах, отрываемых на расстоянии 10 - 30 м от рельс, на участках пересечений и сближений сооружений связи с рельсами для определения наиболее рациональных мест подключения электродренажной защиты.
Рис. 2.7. Схема измерения разности потенциалов между кабелей и рельсом
на участке пересечения:
1 - колодец или КИП; 2 - кабель; 3 - рельсовые
пути
2.44. Как правило, измерение разности потенциалов «сооружение связи - рельс» производят одновременно с измерением разности потенциалов сооружения связи относительно земли на тех участках, где положительные потенциалы сооружения связи по отношению к земле максимальны, а также на участках пересечения сооружений связи с рельсами.
2.45. Необходимо, чтобы за период измерений мимо пункта наблюдений прошло не менее чем по два электропоезда (трамвая) в разных направлениях.
2.46. Схема измерения разности потенциалов между кабелем и рельсами на участке пересечения показана на рис. 2.7.
Измерение разности потенциалов между подземным сооружением связи и соседним подземным металлическим сооружением
2.47. Измерение разности потенциалов между подземными сооружениями связи и другими подземными металлическими сооружениями (трубопроводами, силовыми кабелями и т.д.) производят в колодцах, контрольно-измерительных пунктах или шурфах, в местах пересечений и наибольший сближений между ними (рис. 2.8). На основе этих измерений устанавливают возможность осуществления совместной защиты.
Рис. 2.8 Схема измерения разности потенциалов между кабелем и соседним
сооружением в колодцах:
1 - трубопровод; 2 - кабель; 3 - электрод
сравнения со стальным наконечником; 4 - электрод сравнения со свинцовым
наконечником
При проведении измерений на силовых кабелях следует пользоваться оборудованными для них контрольно-измерительными пунктами и соблюдать действующие правила по технике безопасности.
Измерения должны проводиться в присутствии представителей организаций, в ведении которых находятся соседние подземные металлические сооружения.
2.48. Измерения разности потенциалов «подземное сооружение связи - соседнее сооружение» целесообразно проводить одновременно с измерением разности потенциалов сооружения связи относительно земли.
2.49. Для создания контакта с подземными металлическими сооружениями, проложенными в канализации, используют электроды из того же металла, из которого сделано само сооружение.
Измерение потенциалов гальванокоррозии
2.50. Определение потенциала гальванокоррозии бронированных кабелей типов МКСБ, КМБ, ТЗБ и других рекомендуется производить на участках, где были отмечены коррозионные повреждения кабеля, в местах пересечения кабелей свалок мусора, промышленных отходов, ручьев и болот, при сильно пересеченной местности - на впадинах, ложбинах и т.д. при отсутствии блуждающих токов в земле.
2.51. Измерение потенциалов гальванокоррозии кабелей производится методом поперечного градиента, который состоит в последовательном перемещении измерительной установки - вольтметра и измерительных электродов параллельно оси кабеля (рис. 2.9).
Расстояние между измерительными электродами рекомендуется применять равным 20 м, но не менее 10h, где h - глубина прокладки кабеля связи.
Расстояние между точками измерений потенциала гальванокоррозии следует принимать равным: при детальных исследованиях - 1 - 5 м; при рекогносцировочных исследованиях - 20 - 30 м.
2.52. Измерение потенциалов гальванокоррозии рекомендуется производить вольтметрами с входным сопротивлением не менее 100 кОм на 1 В шкалы и нижним пределом по напряжению не менее 30 мВ (например, коррозионный вольтметр, приборы АЭ-72, ЭСК-l и др.). Контакт измерительной схемы с землей должен осуществляться с помощью медносульфатных электродов сравнения. Разность потенциалов между двумя неполяризующимися электродами сравнения не должна превышать 2 мВ.
Рис. 2.9 Схема измерения потенциалов гальванокоррозии по методу
поперечного градиента.
А и В - неполяризующиеся электроды; lш - расстояние между
точками измерения; d - расстояние
между измерительными электродами; T1, T2, T3 и т.д. - точки измерения
Выбор неполяризующихся электродов для измерений производится путем попарного измерения разности потенциалов двух электродов, установленных в стеклянный или эмалированный сосуд с концентрированным раствором медного купороса. Из комплекта электродов выбирают такие пары, разность потенциалов между которыми не превышает 1 мВ.
Для обеспечения устойчивой разности потенциалов между двумя неполяризующимися электродами необходимо соблюдать следующие условия:
а) перед заливкой электродов медные стержни должны быть хорошо очищены от окислов;
б) заливка электродов должна производиться насыщенным раствором химически чистого медного купороса. Заливать электроды следует за день до начала измерений;
в) после заливки все электроды необходимо установить в один сосуд (стеклянный или эмалированный) с насыщенным раствором медного купороса. Выводы медных стержней соединяются между собой проводом.
Неполяризующийся электрод А, подключаемый к положительной клемме измерительного прибора, должен устанавливаться непосредственно над кабелем. Точное местоположение трассы кабеля определяется с помощью кабелеискателей.
Неполяризующийся электрод В, подключенный к отрицательной клемме измерительного прибора, должен устанавливаться в стороне от подземных металлических конструкций. Расстояние между местом установки электрода В и ближайшей металлической конструкцией должно быть не менее 20 м.
При рыхлой и влажной почве неполяризующиеся электроды устанавливаются непосредственно в почву. При твердой почве в месте установки электрода почва разрыхляется и электрод устанавливается (вдавливается) в разрыхленный слой. Если при этом почва сухая, то место установки электрода предварительно поливается водой. Поливку водой следует производить обязательно, если сопротивление измерительной цели RMN между двумя медносульфатными электродами превышает 10 кОм.
2.54. При наблюдениях в сухих и песчаных грунтах необходимо производить контроль сопротивления измерительной цепи RMN. Сопротивление измерительной цепи RMN может быть рассчитано по следующей приближенной формуле:
,
где RMN - дополнительное сопротивление, шунтирующее вход прибора, принимаемое равным 10 - 16 кОм; DU1 и DU2 - разность потенциалов, измеренная соответственно без шунтирующего и с шунтирующим вход прибора сопротивлением RMN, В.
2.55. В полевых условиях контроль сопротивления измерительной цепи может производиться путем измерения разности потенциалов между двумя неполяризующимися электродами с шунтирующим и без шунтирующего сопротивления. При этом, если разность отсчетов, т.е. DU1 - DU2 < DU2, то сопротивление измерительной цепи находится в пределах нормы. Если DU1 - DU2 > DU2, то сопротивление измерительной цепи превышает норму и необходимо принимать меры по уменьшению сопротивления растеканию наполяризующихся электродов (полив водой, разрыхление почвы и т.п.).
2.56. В процессе измерений необходимо производить контрольные замеры градиента потенциала гальванокоррозии в количестве не менее 5% от общего числа замеров, произведенных на исследуемой трассе кабеля. Контрольные измерения следует производить на участках с высокими и повышенными значениями градиента потенциала, при резком чередовании его полярности, при изменении условий залегания кабеля, наличии смежных подземных сооружений, пересечений ручьев и болот и т.д.
2.57. На основе данных измерения потенциалов гальванокоррозии рассчитывается плотность тока гальванокоррозии и (определяются участки кабеля, опасные в отношении коррозии (см. пп. 2.64 - 2.67).
Измерение тока, протекающего по оболочке и броне кабеля
2.58. Величину тока, протекающего по оболочке и броне кабеля связи, можно измерить тремя методами: непосредственным включением амперметра, по методу компенсации и по методу падения напряжения.
2.59. Измерение путем непосредственного включения амперметра в разрыв оболочек и брони (рис. 2.10) может быть осуществлено только в редких случаях, например, при проведении строительных работ, монтаже новых и ремонте старых муфт.
2.60. Измерение величины тока по методу компенсации проводится по схеме рис. 2.11.
Метод компенсации является точным, но он не может быть применен при частых изменениях величины и направления тока в кабеле. Порядок проведения измерения следующий:
по милливольтметру определяют направление тока l1 в оболочке кабеля;
подключают источник постоянного тока Е, который создает ток l2, направленный навстречу току l1, проходящему по оболочке кабеля;
реостатом R изменяют величину тока l1 до тех пор, пока стрелка милливольтметра не станет на нуль;
в момент компенсации по шкале амперметра отсчитывают величину тока, проходящего по оболочке кабеля (l1= l2).
Рис. 2.10. Схема измерения тока в оболочке и броне кабеля по методу
непосредственного включения амперметров:
l - броня; 2 - оболочка
Рис. 2.11.
Схема измерения величины тока по методу компенсации:
1 - кабель
Если измеряемый ток не изменяется по величине и знаку, а источник тока Е не может обеспечить полную компенсацию тока, проходящего по кабелю, то величина тока может быть определена из выражения
I = (DU1 + DU2)Iизм/(DU1 - DU2),
где DU1, DU2 - падения напряжений на кабеле в том случае, когда токи l1 и l2 соответственно направлены в одну сторону и навстречу друг другу, В; Iизм = I2 - величина тока в измерительной схеме, А.
2.61. Определение величины тока по методу падения напряжения заключается в измерении падения напряжения между двумя находящимися на некотором расстоянии друг от друга точками брони (оболочки) кабеля и в определении сопротивления брони (оболочки) между этими точками. Средняя величина тока, протекающего по оболочке голого освинцованного кабеля, определяется как результат деления среднего измеренного падения напряжения на сопротивление оболочки на участке измерения.
Средняя величина тока, протекающего по кабелю (оболочке и броне), определяется как результат деления среднего измеренного значения падения напряжения на сопротивление этого участка кабеля:
Icp = DUср/Rl,
где DUср - среднее значение падения напряжения на соединенных между собой броне и оболочке (на голой свинцовой оболочке), В; R – сопротивление 1 м свинцовой оболочки или соединенных между собой свинцовой оболочки и брони, Ом/м; l - расстояние между точками измерения, м.
Величины продольных сопротивлений одного метра некоторых типов кабелей приведены в приложении 2 или могут быть определены по формулам п. 3.134.
Измерение средней величины поверхностной плотности тока утечки
2.62. Средняя величина поверхностной плотности тока утечки с участка кабеля может быть приблизительно определена по измеренным величинам тока, проходящего по этой оболочке.
2.63. В зависимости от направления и величины токов в оболочке кабеля плотность тока утечки определяется следующим образом.
Если токи проводят в одном направлении, причем ток в точке A больше, чем в точке Б (рис. 2.12а), то плотность тока утечки, мА/дм2, определяется по формуле
J = k(IA - IБ)/qS,
где S - общая площадь поверхности сооружения связи на длине между точками А и Б, дм2; q - коэффициент касания, равный в среднем 0,5 для бронированных кабелей, проложенных в грунте, и 0,25 для голых свинцовых кабелей, проложенных в канализации; k - коэффициент часовой нагрузки ближайшей тяговой подстанции; IA, IБ - токи, измеряемые соответственно в точках А и Б.
Если токи в подземном сооружении связи текут навстречу друг другу (рис. 2.12б), то
J = k(IA + IБ)/qS,
Если в точке А ток равен IA, а в точке Б - нулю, (рис. 2.12в), то
J = kIA/qS,
Рис. 2.12. К расчету поверхностной плотности тока утечки
Определение величины поверхностной плотности тока гальванокоррозии
3.64. Величина поверхностной плотности тока, мА/м2, гальванокоррозии рассчитывается по формуле
,
где Dk - наружный диаметр кабеля по броне, м; DUk - потенциал гальванокоррозии, мВ; rг - удельное электрическое сопротивление грунта, Ом×м; d - расстояние между измерительными электродами, м; h - глубина прокладки кабеля, м.
Удельное электрическое сопротивление грунта определяется в каждой точке одновременно с измерением DUk.
При h=0,8¸l,2 м величина поверхностной плотности тока, мА/м2 может быть рассчитана по формуле
,
где k - постоянный коэффициент, определяемый по графикам k=f(d) для соответствующих типов и конструкций кабелей связи (рис. 2.13). В полевых условиях плотность тока гальванокоррозии jг.к. может быть определена по номограммам jг.к.=f(rг,DUk) (рис. 2.14 - 2.17).
Рис. 2.13 Графики зависимости h - f(d) для кабелей различные марок
Значение поверхностной плотности определяется как точка пересечения шкалы jг.к. с прямой, соединяющей соответствующие измеренные значения ρг и DUk.
Результаты измерений электрического поля гальванокоррозии и удельного электрического сопротивления грунтов обрабатываются и представляются по форме 11 приложения 1.
2.65. Оценка опасности коррозии бронированных кабелей со свинцовой оболочкой без специальных изолирующих покровов типов КМБ, МКСБ, ТЗБ и других производится по величине и интенсивности электрического поля гальванокоррозии с учетом удельного электрического сопротивления грунта.
2.66. Результаты измерений представляются в виде совмещенных графиков удельного электрического сопротивления грунта и поверхностной плотности токов гальванокоррозии. По оси абсцисс этих графиков откладываются расстояния между точками измерений, а по оси ординат - поверхностная плотность тока jг.к. с учетом знака измерений величины потенциала гальванокоррозии и удельное электрическое сопротивление грунта rг.
2.67. Коррозионно-опасными следует считать участки кабеля, проложенные в грунтах с низким удельным электрическим сопротивлением и с повышенными, по сравнению со смежными участками, значениями поверхностной плотности тока гальванокоррозии.
Рис. 2.14. Номограмма для определения плотности тока гальванокоррозии для кабеля марки МКСБ 4´4´1,2 (d = 20 м, h = 0,8 ¸ 1,2 м)

Рис. 2.15. Номограмма для определения плотности тока гальванокоррозии для кабеля марки МКСБ 7´4´1,2 (d = 20 м, h = 0,8 ¸ 1,2 м)

Рис. 2.16. Номограмма для определения плотности тока гальванокоррозии для кабеля марки КМБ - 4 (d = 20 м, h = 0,8¸1,2 м)

Рис. 2.17 Номограмма для определения плотности тока гальванокоррозии кабеля марки КМБ 8/6 (d = 20 м, h = 0,8 ¸ 1,2 м)
Измерение переходных сопротивлений
2.68. Измерение переходных сопротивлений между кабелем связи и землей производят с целью получения исходных данных, необходимых при проектировании защиты от коррозии.
2.69. Переходные сопротивления между оболочкой кабеля и землей могут быть измерены: при помощи приборов МС-08, Ф-416; по методу К. К Никольского и Л. Я. Цикермана.
Рис. 2.18.
Схемы измерения переходных сопротивлений прибором МС-08
а - при значительном удалении точки измерения от конца кабеля; б - при
измерении с конца кабеля; 1 - кабель; 2 - вспомогательные заземлители
2.70. Измерение переходного сопротивления между оболочкой кабеля и землей приборами МС-08, Ф-416, производится по схеме рис. 2.18а при значительном удалении точки, в которой производится измерение, от концов кабеля (не менее 3 км) и по схеме рис. 2.18б - при измерении с конца кабеля.
Каждое из этих измерений следует выполнить два раза: сначала при включении вспомогательных заземлителей, как показано на рис. 2.18, а затем при переключении концов соединительных проводников от этих заземлителей на приборе (дальний заземлитель подключается к зажиму E2, а ближний - к зажиму I2). Если измеренные величины отличаются друг от друга больше, чем на 20%, то вспомогательные заземлители следует отнести на большее расстояние от кабеля и повторить измерение. Если измеренные величины отличаются друг от друга меньше, чем на 20%, то берется среднее арифметическое значение из полученных результатов измерения.
Величину переходного сопротивления, Ом×м, между оболочкой кабеля и землей, Rпер измеренную по схеме рис. 2.18а, можно приблизительно определить по формуле
Rпер = 4R2изм/r,
где Rизм - показание приборов МС-08, Ф-416, Ом; r - продольное сопротивление оболочек кабеля, Ом/м.
Величина переходного сопротивления, Ом×м, между оболочкой кабеля и землей, измеренная по схеме рис. 2.18б, определяется по формуле
Rпер = R2изм/r.
2.71. Схема измерения переходного сопротивления строительной длины кабеля по методу К.К. Никольского и Л.Я. Цикермана показана на рис. 2.19. В начале и конце исследуемого участка кабеля оборудуют два временных заземления З1 и З2 по возможности малого сопротивления, которые должны располагаться не ближе 25 - 30 м, от концов кабеля в направлении, перпендикулярном трассе. Сопротивление заземления З1 определяют заранее, так как оно совместно с сопротивлениями соединительных проводов и амперметра составляет сопротивление нагрузки Rн.
Рис. 2.19.
Схема измерения переходного сопротивления строительной длины кабеля, уложенного
в земле:
1 - строительная длина кабеля
Измерение переходного сопротивления может быть выполнено как на постоянном, так и переменном токе. При этом величина тока I2 должна быть не менее 1 А. Для исключения ошибка за счет поляризации величины токов отсчитываются при измерении на постоянном токе при двух его направлениях. Для расчета берется среднее арифметическое значение.
При наличии в земле блуждающих токов измерение следует производить на переменном токе, подводя питание к измерительной схеме через разделительный трансформатор. Для каждого из обследуемых участков проводят три - пять измерений при различных значениях тока I2, после чего для каждого из результатов измерений вычисляют коэффициент утечки j, а затем его среднюю величину, по которой определяют среднее значение переходного сопротивления. Величина переходного сопротивления, Ом×м, рассчитывается по формуле
![]()
где L - длина обследуемого участка, м; Rк - продольное сопротивление 1 м металлической оболочки (для голых кабелей) или металлической оболочки и брони, соединенных параллельно (для бронированных кабелей), Ом/м; Rн - нагрузочное сопротивление, состоящее из сопротивлений заземления З1, соединительных проводов и амперметра, Ом; j = I1/(I2 - I1) - коэффициент утечки; I1 - I2 - соответственно величины тока в конце и в начале участка, А.
2.72. Схема измерения переходного сопротивления на участке трассы кабеля показана на рис. 2.20. Особенностью методики измерения в данном случае является то, что, кроме определения величин токов I’1 и I’2, необходимо также знать величины транзитных токов iт и i’т ответвляющихся влево от точки 1 на участке x1 и вправо от точки 2 на участке x2.
Величины токов iт и i’т могут быть определены по методу падения напряжения. В остальном измерение остается таким же, как и в первом случае. Величина переходного сопротивления, Ом×м, подсчитывается по формуле
,
где j’ = I’1/[(I’2 - I’1) - (iт + i’т)]; iт = DU2/R2; i’т = DU2/R2;и г - соответственно сопротивления участков x1 и x2 кабеля, на которых производится измерение падения напряжения, Ом.
Рис. 2.20.
Схема измерения переходного сопротивления на участке трассы кабеля:
1 - участок трассы кабеля
Измерение сопротивления изоляции металлических оболочек, брони кабелей связи и камер НУП
Перед началом измерений каждый обследуемый участок должен быть изолирован по концам. Броня и оболочка кабеля на обследуемом участке не должны соединяться между собой и со специально устраиваемыми заземлениями, НУП, аппаратурой и другими устройствами.
Измерение сопротивления изоляции оболочек бронированных кабелей должно производиться по отношению к их броне. Сопротивление изоляций оболочек кабелей без брони, а также сопротивление изоляции брони должны измеряться по отношению к заземлителю, расположенному на расстоянии 700 - 1000 м в направлении, перпендикулярном трассе кабеля. При таком расстоянии измеренные значения сопротивления изоляции наиболее точны. В случае уменьшения расстояния по отношению к заземлителю точность измерения снижается.
2.75. Измерение сопротивления изоляции камер НУП по отношению к земле может быть выполнено приборами типов МС-08, Ф-416, М-416 при сопротивлении изоляции менее 1000 Ом или мегомметром на 500 В, например типов М-1101, М-4100 при сопротивлении изоляции более 1000 Ом по схеме рис. 2.21.
Перед началом измерения следует убедиться, что камера НУП изолирована от рабочих заземлений и от оболочек и брони входящих в него кабелей при помощи изолирующих муфт. Защитные заземления и протекторы на период измерений должны быть отключены.
Рис. 2.21.
Схема измерения сопротивления изоляции корпусов НУП:
а - прибором МС-08; б - мегомметром;
1 - корпус НУП; 2 - вспомогательные заземлители
Измерение сопротивления заземлений
Рис. 2.22. Схема измерения сопротивления заземления прибором МС-08
2.77. Сопротивление заземления измеряют прибором МС-08 по схеме, изображенной на рис. 2.22.
Для сложных заземлений, выполненных в виде контура, расстояние между контуром и вспомогательными заземлителями R1 и R2 должно быть не менее величин, указанных на рис. 2.23a.
При измерении сопротивлений одиночных заземлителей расстояние между заземлителями Rx, R1 и R2 должно быть не менее величин, указанных на рис. 2.23б.
2.78. Измерение сопротивления заземлений при помощи кабельного моста Р-334 производится на переменном токе по методу трех сумм в схеме одинарного моста.
Рис. 2.23.
Расположение вспомогательных заземлителей при измерении сопротивлений
заземлений
а - для сложных конструкций заземлений, б - для одиночных
заземлителей
Для того чтобы измерить сопротивление заземления по методу трех сумм, необходимо иметь три заземления (рис. 2.24).
Рис. 2.24. Схема измерения сопротивления заземления по методу трех сумм.
Вначале производят измерение суммы сопротивлений R1 = Rx1+Rx2 и вычисляют искомое сопротивление, Ом, по формуле
Rx1,2,3 = nR,
где n = r1 / r2 - множитель, устанавливаемый на декаде соотношения плеч; R - сопротивление сравнительного плеча.
Затем подключают вторую пару сопротивлений и находят R2 = Rx1+Rx2 и, наконец, - третью пару Rx2 и Rx2, и находят R3 = Rx2+Rx3.
Сопротивление, Ом, каждого заземлителя вычисляют по формулам
Rx1 = 1/2×(R1+R2-R3); Rx2 = 1/2×(R2+R3-R1); Rx1 = 1/2×(R3+R1-R2).
2.79. Сущность метода амперметра - вольтметра заключается в измерении падения напряжения между измеряемым заземлением и вспомогательным заземлителем, а также в измерении величины тока, проходящего через измеряемое заземление.
Измерение сопротивления по данному методу может быть проведено как на переменном, так и на постоянном токе.
Схема измерения сопротивления заземления на переменном токе изображена на рис. 2.25. Измерительная схема получает питание через разделительный трансформатор с напряжением на вторичной обмотке 110 - 127 В и мощностью, отдаваемой в измерительную цепь, 100 - 500 Вт. При измерениях на постоянном токе вместо разделительного трансформатора включают аккумуляторную батарею и выполняют два измерения (с переменой полюсов батареи), чтобы исключить ошибку за счет влияния поляризации и блуждающих токов.
Рис. 2.25. Схема измерения сопротивления заземления по методу “амперметра - вольтметра”
При выполнении измерений после включения источника тока отмечают по вольтметру и амперметру их показания и определяют сопротивление заземления, Ом, по формуле
Rx»Ux/I,
где Ux - показание вольтметра, В; I - показание амперметра, А.
При измерении применяются амперметр со шкалой до 5 - 6 А и вольтметр со шкалой до 50 В. Оба прибора должны иметь класс точности не ниже 1,5.
2.80. В сухих грунтах для уменьшения сопротивлений вспомогательных заземлителей место их забивки необходимо увлажнить насыщенным раствором поваренной соли
Измерение сопротивления в цепи электрохимической защиты
Сопротивление в цепи электрохимической защиты зависит от сопротивления анодного заземления катодной станции или протектора, сопротивления изоляции оболочки и брони кабеля и удельного сопротивления грунта.
Сопротивление цепи может быть измерено измерителем заземления типа МС - 08 или другим равноценным прибором.
Схемы измерений указанных сопротивлений показаны на рис. 2.26. Значительные изменения измеряемых величин сопротивлений цепи электрохимической защиты (за исключением сезонных колебаний) свидетельствуют о неисправности отдельных элементов цепи.
Рис. 2.26.
Схема измерения сопротивления цепи прибором МС-08:
а - катодной станции; б - протекторной установки;
1 - катодная станция; 2 - анодное заземление; 3 - кабель; 4
- протектор
2.82. Места повреждения защитных покровов могут быть определены специальными приборами - искателями мест повреждения изоляции (ИМПИ). Принцип действия приборов ИМПИ основан на методе измерения разности потенциалов, создаваемой в земле токами утечки вдоль подземного сооружения связи в случае наличия на обследуемом участке мест с поврежденным защитным покровом.
Прибор состоит из генератора импульсов постоянного тока, индикатора импульсов и блока питания.
Приборы ИМПИ не обеспечивают возможности обнаружения мест повреждения изолирующего шланга, находящегося под броней кабеля.
2.84. Средние величины разностей потенциалов или токов определяют по формулам

где Ncp(+) и Ncp(-) -
соответственно средние положительные в средине отрицательные значения
измеренных величин (потенциалов или токов);
- сумма мгновенных значений
измеренный величин положительного знака;
- сумма мгновенных значений измеренных
величин отрицательного знака; п - общее число отсчетов; l,
т - числа отсчетов соответственно положительного или отрицательного
знака.
2.85. Пересчет измеренных по отношению к медносульфатному электроду значений потенциалов на величины потенциалов по отношению к водородному электроду сравнения производится по формуле j = ±jизм + 0,30 В, где + 0,30 В - потенциал медносульфатного электрода по отношению к водородному электроду сравнения.
Средние величины потенциалов Ucp, В, измеренных с помощью неполяризующихся электродов, подсчитывают:
для всех мгновенных значений измеренных величин положительного знака и мгновенных значений отрицательного знака, меньших по абсолютной величине, чем значение стационарного потенциала сооружения Uс, по формуле

где Ucp(+) -
среднее положительное значение потенциала по отношению к земле, В;
- сумма всех
мгновенных значений положительного или отрицательного знака, меньших по
абсолютной величине, чем Uc; l - число отсчетов положительного или
отрицательного знака, меньших по абсолютной величине, чем Uс; п - общее количество отсчетов;
для всех мгновенных значений измеренных величин отрицательного знака, превышающих по абсолютной величине значения стационарного потенциала Uc, среднее отрицательное значение потенциала Uср(-) определяется по формуле

где
, - сумма мгновенных значений
отрицательного знака, превышающих по абсолютной величине значение Uc
т - число отсчетов отрицательного знака, превышающих по абсолютной величине
значение Uc., п - общее количество отсчетов.
2.86. После обработки результатов измерений по средним значениям разности потенциалов строят потенциальные диаграммы. С этой целью указанные величины откладывают в масштабе на схеме трассы подземного сооружения связи в тех точках, в которых производились измерения.
Пример потенциальной диаграммы кабеля приведен на рис. 2.27.
По диаграмме можно судить о потенциальном состоянии кабеля, характеризующем опасность электрокоррозии, и действии средств защиты. Участки диаграммы, имеющие отрицательный потенциал, называются катодными (1 - 2); участки диаграммы, имеющие положительный потенциал, называются анодными (6 - 8); участки диаграммы, имеющие знакопеременный потенциал, называются знакопеременными (2 - 6 и 8 - 11).
2.87. Аналогично потенциальным диаграммам строят диаграммы изменения удельного сопротивления грунтов вдоль трассы. По оси абсцисс в масштабе откладывают расстояние между точками измерений, по оси ординат - измеренные значения удельного сопротивления. Полученные точки соединяют прямыми линиями, после чего оценивают участки по степени коррозионной активности грунта.
Рис. 2 27. Пример потенциальной диаграммы кабеля
Общие положения
3.1. Проектирование подземных металлических сооружений связи осуществляется на основе технико-экономических обоснований (ТЭО) или другой предпроектной документации, заменяющей ТЭО, подтверждающей экономическую целесообразность и хозяйственную необходимость их проектирования и строительства.
3.2. Разработка ТЭО выполняется в соответствии с указаниями о составе, порядке разработки и утверждения ТЭО проектирования и строительства предприятий и сооружений.
3.3. ТЭО являются предпроектной документацией, обосновывающей место размещения намечаемого к проектированию и строительству сооружения и его технико-экономические показатели.
3.4. ТЭО по защите от коррозии проектируемых сооружений являются составной частью общих ТЭО на строительство объекта в целом.
3.5. При разработке ТЭО должны учитываться последние достижения науки и техники по защите от коррозии проектируемых к строительству сооружений с тем, чтобы ко времени ввода их в эксплуатацию они были на высоком техническом уровне и имели высокую экономическую эффективность.
3.6. ТЭО разрабатываются с широким использованием передового опыта по защите аналогичных действующих сооружений и наиболее эффективных проектных решений.
Предварительные изыскания
3.7. Основанием для предварительных изысканий к ТЭО являются задание, выданное заказчиком проектируемого объекта или сооружения, и договор на выполнение этих работ, заключенный между заказчиком и проектной организацией.
3.8. По комплексным объектам нового строительства предварительные изыскания к ТЭО на защиту от коррозии выполняются, как правило, одновременно с другими видами линейных изысканий по выбору местоположения объекта трассы. При выборе трассы линии и определении ее оптимального варианта, принимаемого для проектирования, наряду с общими требованиями, предъявляемыми к трассе, должны учитываться также требования по защите сооружений от всех видов коррозии.
3.9. Данные и материалы, полученные в процессе выполнения предварительных изысканий, должны быть представлены в объеме, позволяющем принимать при разработке ТЭО принципиальные технические решения и определять сметную стоимость сооружения.
3.10. Перед началом предварительных изысканий следует:
получить и проанализировать картографические материалы, изготовить по ним выкопировки возможных вариантов трассы линии связи;
изучить имеющиеся у проектной организации и у заказчика материалы паспортизации существующих сооружений связи, проходящих в заданном направлении, и средств их защиты от коррозии;
изучить по трассе рассматриваемых вариантов природные условия по картографическим материалам, технической литературе, архивным материалам, хранящимся в соответствующих организациях, а также по проектным материалам строительства шоссейных и железных дорог, линий электропередачи постоянного и переменного тока, трубопроводов и других инженерных сооружений, трассы которых совпадают с направлением проектируемой линии. При этом следует выявить наличие болот, озер, рек, затапливаемых мест; установить глубины промерзания грунтов и наличие мерзлотно-грунтовых деформаций; установить требования заинтересованных организаций к намечаемому строительству; получить в соответствующих организациях данные о наличии вблизи рассматриваемых вариантов трассы проектируемой кабельной линии связи электрических железных дорог постоянного и переменного тока, трамваев и других возможных источников блуждающих токов;
определить требования и условия местных организаций по защите проектируемых сооружений.
получить у эксплуатационных организаций данные о коррозионном состоянии и средствах защиты от коррозии, находящихся в эксплуатации сооружения на проектируемом направлении.
3.11. В процессе предварительных изысканий подлежат выполнению следующие виды основных работ:
обследование комиссией, создаваемой заказчиком, рассматриваемых вариантов трассы в натуре с цепью определения оптимального варианта. При обследовании и определении местоположения трассы проектируемой линии необходимо по возможности выявлять коррозионно-опасные участки, избегать сближения ее с электрическими железными дорогами постоянного тока, трубопроводами. Особое внимание должно выть обращено на болота, сбросы сточных вод промышленных предприятий с содержанием солей, кислот, щелочей и т.п. Такие участки желательно обходить. Следует избегать также прокладки кабелей в свинцовой оболочке по металлическим мостам и путепроводам;
сбор данных для составления плана взаимного расположения проектируемой линии и соседних существующих металлических сооружений, а также рельсовых путей электрифицированного транспорта и электросетей постоянного тока;
сбор сведений о количестве коррозионных повреждений на соседних подземных сооружениях и о причинах этих повреждений;
сбор данных о защитных мероприятиях на соседних подземных сооружениях, расположенных вдоль рассматриваемых вариантов трассы проектируемой линии;
получение схем расположения дренажных установок и катодных станций, а также предварительных согласований о возможности совместной защиты проектируемых и существующих подземных металлических сооружений, расположенных в направлении рассматриваемой трассы;
получение схемы размещения рабочих заземлений ЛЭП постоянного тока, работающих по схеме «провод - земля», относительно рассматриваемого направления трассы.
Технико-экономические обоснования
3.12. Основанием для разработки ТЭО является задание главного инженера проекта, проектируемого к строительству объекта или сооружения.
3.13. ТЭО на защиту от коррозии вновь проектируемых подземных металлических сооружений связи являются разделом ТЭО по линейным сооружениям на строительство объекта в целом. ТЭО по защите существующих сооружений, как правило, являются самостоятельными обоснованиями.
3.14. ТЭО на защиту от коррозии излагаются в разделе «Линейные сооружения» общей пояснительной записки, в котором указываются:
характеристика состояния с точки зрения защиты от коррозии существующих сооружений в направлении предусматриваемой к проектированию и строительству подземной кабельной линии связи;
технико-экономическое сравнение возможных вариантов местоположения трассы линии связи с оценкой защиты от коррозии оптимального варианта;
примерные размеры изымаемых земельных площадей для устройства защиты от коррозии;
основные принципиальные технические решения по защите проектируемых линейных сооружений от коррозии, обеспечивающие эксплуатационную надежность линии;
объемы строительно-монтажных работ по защите от коррозии линии связи.
3.15. Прикладываемые к ТЭО на защиту расчеты должны содержать:
определение количества изымаемых земельных ресурсов для прокладки дренажных кабелей и установки оборудования защиты от коррозии. Возможность использования земель должна быть подтверждена согласованиями с землепользователями и решениями соответствующих исполкомов Советов народных депутатов;
сравнение сметной стоимости защиты от коррозии рассматриваемых вариантов трасс;
обоснование принятых технических решений по защите линии связи от коррозии.
3.16. Прикладываемые к ТЭО на защиту графические материалы должны содержать ситуационные схемы вариантов трасс линий связи с нанесенными на них участками сближения с ЛЭП, электрифицированными железными дорогами, существующими и проектируемыми к прокладке трубопроводами, а также участками наиболее агрессивных грунтов.
3.17. Прикладываемые к пояснительной записке ТЭО расчеты должны содержать:
определение количества изымаемых земельных ресурсов в постоянное и временное (на период строительства) пользование. Возможность использования земель должна быть подтверждена согласованиями с землепользователями и решениями соответствующих исполкомов Советов народных депутатов;
сравнение сметной стоимости рассматриваемых вариантов;
обоснование принятых технических решений
3.18. Прикладываемые к пояснительной записке ТЭО графические материалы должны содержать:
выкопировки из географических карт масштаба не менее 1:100000 рассматриваемых вариантов трассы с указанием оптимального варианта;
схемы размещения промежуточных усилительных пунктов;
чертежи отдельных технических решений.
3.19. Предполагаемая стоимость строительства комплексного объекта в ТЭО определяется по сравнению с аналоговыми расценками, и поэтому защита от коррозии отдельно не рассматривается.
Общие положения
3.21. Проектно-сметная документация на защиту от коррозии подземных металлических сооружений связи должна разрабатываться в соответствии с действующими директивными и нормативными документами, утвержденными в установленном порядке.
3.22. Основными документами, которыми следует руководствоваться при проектировании защиты от коррозии, являются:
Инструкция по разработке проектов и смет для промышленного строительства СН-202-76;
Инструкция по разработке проектов и смет по строительству предприятий и сооружений связи, радиовещания и телевидения ВСН-106-73;
ГОСТ 9.015-74 «Единая система защиты от коррозии и старения. Подземные сооружения. Общие технические требования»;
Инструкция по проектированию и расчету катодной защиты трубопроводов. ВНИИСТ;
Указания по строительству междугородных кабельных линий связи;
настоящее Руководство;
нормы технологического проектирования;
эталоны технорабочих проектов, технических проектов и рабочих чертежей;
действующие сметные нормы.
3.23. При проектировании должны учитываться результаты научно-исследовательских разработок и последние достижения техники защиты подземных металлических сооружений связи от коррозии, обеспечивающие высокий технический уровень и экономическую эффективность проектируемой защиты.
3.24. Раздел защиты от коррозии сооружений связи, как правило, является составной частью проектно-сметной документации на строительство объекта в целом.
Стадия проектирования, сроки и порядок выполнения проектно-изыскательских работ определяются исходя из возможности выполнения комплекса проектных работ, относящийся к проектируемому объекту, с учетом требований к проектированию как основных сооружений, так и защиты от коррозии.
3.25. Стадийность проектирования защиты от коррозии, как правило, соответствует стадийности проектирования основных сооружений объекта. Проектирование может осуществляться: в одну стадию - технорабочий проект; в две стадии - технический проект и рабочие чертежи.
Для строительства кабельных линий связи, как правило, разрабатывается технорабочий проект. Проектирование в две стадии допускается для крупных и технически сложных комплексов с внедрением новой неосвоенной технологии и при особо сложных условиях строительства.
Решение о стадийности проектирования принимается инстанцией, утверждающей ТЭО, и указывается в задании на проектирование.
Проектирование защиты от коррозии существующих сооружений выполняется, как правило, в одну стадию.
3.26. Исходными данными для проектирования защиты от коррозии являются:
данные сооружения, подлежащего защите (тип сооружения, наличие защитных покровов или защитных мероприятий);
коррозионная активность окружающей среды (грунта, воды), в которой будет находиться защищаемое сооружение, по отношению к материалу защищаемого сооружения;
данные о наличии существующих соседних металлических сооружений и о средствах защиты их от коррозии;
данные о строящихся и проектируемых соседних металлических сооружениях;
данные о наличии и основных характеристиках действующих, строящихся и проектируемых источников блуждающих токов;
результаты эксплуатационных коррозионных измерений на существующих подземных металлических сооружениях;
сведения об источниках вибрации;
результаты измерений, произведенных в процессе изысканий для проектирования.
3.27. Исходные данные для проектирования защиты вновь прокладываемых сооружений связи должны быть получены при проведении линейных изысканий.
Результаты электрических измерений, статистика коррозионных повреждений, сведения о средствах защиты от коррозии и т.д. на существующих сооружениях связи, в случае совпадения их трасс, должны выдаваться заказчиком.
Исходные данные для проектирования защиты существующих подземных:
сооружений должны выдаваться заказчиком, дополняться и уточняться в процессе линейных изысканий.
3.28. Содержание и полнота сведений, составляющих исходные данные должны соответствовать указанным в пп. 3.26 - 3.27 настоящего Руководства.
3.29. К проектно-изыскательским материалам предъявляются следующие основные требования:
материалы изысканий должны включать полные сведения, необходимые для принятия проектных решений, так как от их содержания зависит качество проекта о сметной документации;
проектные решения должны быть оптимальными и содержать необходимые обоснования;
проектные решения по защите от коррозии должны быть увязаны с мероприятиями по защите от влияния внешних электромагнитных полей и ударов молнии.
Проекты должны предусматривать максимальное использование типовых решений или повторное применение аналогичных проектов с целью значительного сокращения объема проектных материалов и продолжительности проектирования.
3.30. Проектно-изыскательские работы выполняются в следующей последовательности:
а) при проектировании в одну стадию: производство линейных изысканий к технорабочему проекту, составление технорабочего проекта;
б) при проектировании, в две стадии: производство линейных изысканий к техническому проекту, составление технического проекта, производство линейных изыскании к рабочим чертежам, составление рабочих чертежей.
Линейные изыскания к технорабочему проекту
3.32. По комплексным объектам нового строительства линейные изыскания к технорабочему проекту на защиту от коррозии должны выполняться одновременно с другими видами линейных изысканий по выбору трассы, защите от внешних электромагнитных полей и др. При выборе трассы линии связи наряду с общими требованиями, предъявляемыми к трассе, должны учитываться также требования по защите сооружений от всех видов коррозии, изложенные в настоящей главе.
3.33. Данные и материалы, полученные в процессе изысканий, должны быть представлены в объеме, позволяющем принимать необходимые технические решения с достаточной степенью детализации и определять стоимость строительства по защите.
ознакомление проектировщиков с материалами предварительных изысканий к технико-экономическим обоснованиям;
ознакомление проектировщиков с техническим заданием на производство изыскательских работ, которое выдается соответствующим руководителем в письменном виде;
изучение имеющихся в наличии в проектной организации и у заказчика материалов паспортизации существующих сооружений связи, проходящих в заданном направлении, средств защиты их от коррозии;
получение данных о дистанционном питании усилителей проектируемой кабельной линии;
детальное изучение по трассе природных условий по картографическим материалам, материалам ТЭО, технической литературе, архивным материалам, хранящимся в центральных и местных организациях, а также по проектным материалам на строительство шоссейных и железных дорог, линий электропередач, трубопроводов и других инженерных сооружений, трассы которых совпадают с направлением проектируемой кабельной линии. При этом следует выявить наличие болот, озер, рек, затапливаемых мест, установить глубины промерзания грунта и наличие мерзлотно-грунтовых деформаций (пучение грунта, морозобойные трещины, смещение грунта и т.д.);
уточнение требований заинтересованных организаций к намечаемому строительству, выявленных на предпроектной стадии;
уточнение в соответствующих организациях данных по имеющимся вблизи трассы проектируемых линий электрических железных дорог постоянного и переменного тока, трамваев и другие возможных источников блуждающих токов;
подбор необходимых для измерений электрических приборов, инструментов, электродов, изолированных проводников и т.п.;
уточнение требований и условий местных эксплуатирующих организаций по защите проектируемых сооружений и в зависимости от этого определение объема изысканий и необходимости сбора данных, указанных ниже.
Помимо указанных мероприятий, проектировщики, выезжающие на изыскания, должны получить у ответственного руководителя инструктаж по технике безопасности при производстве линейных изысканий.
3.35. В процессе линейных изысканий для вновь проектируемых сооружений связи подлежат выполнению следующие основные виды работ:
обследование трассы кабеля в натуре с целью определения протяженности и места коррозионно-опасных участков. При обследовании и определении местоположения трассы необходимо по возможности избегать сближения ее с электрифицированными постоянным током железными дорогами и трубопроводам. Особое внимание должно быть обращено на наличие болот, сбросов сточных вод от промышленных объектов, свалок мусора и промышленных отходов с содержанием солей, кислот, щелочей и т.п. Такие участки при возможности следует обходить. Следует также избегать прокладки кабелей в свинцовой оболочке по металлическим мостам и путепроводам;
измерение удельного сопротивления грунта по трассе кабеля, на площадках НУП и в местах устройства заземлений;
взятие проб грунтов и воды;
сбор данных о всех соседних существующих металлических сооружениях, рельсовых путях электрифицированного транспорта и электросетях постоянного тока;
сбор данных о техническом состоянии рельсовой сети (способ укладки рельсов, результаты последних измерений сопротивления рельсовых стыков, данные о величинах переходных сопротивлений между рельсами и землей, схемы расположения путевых дросселей, согласование на подключение дренажей к средним точкам дросселей или согласование на установку дополнительных дросселей, если они необходимы);
получение схемы питания контактной сети с указанием напряжения контактной сети, расположения тяговых подстанций и точек подключения минусовых фидеров, а также получение сведений о возможных изменениях режимов работы тяговых подстанций;
получение кривой изменения тока нагрузки тяговых подстанций за одни сутки в период наибольшего (в течение года) грузового потока;
получение диаграммы распределения потенциалов по отношению к земле в течение суток на рельсовой сети и подземных металлических сооружениях в районе прокладки кабеля, а также сбор данных о величинах блуждающих токов в оболочках существующих кабелей или в трубопроводах с указанием, какими источниками создаются эти блуждающие токи (трамвай, электрифицированные железные дороги, метро и т.д.);
уточнение данных о количестве коррозионных повреждений на соседних подземных металлических сооружениях и о причинах этих повреждений;
сбор данных о защитных мероприятиях на соседних подземных металлических сооружениях, расположенных вдоль трассы защищаемого кабеля;
получение схем расположения дренажных и катодных установок на существующих подземных сооружениях, расположенных в направлении трассы защищаемого кабеля, а также сбор сведений о величинах токов в цепях дренажей и катодных установок и о дальности действия каждой установки;
получение схем размещения рабочих заземлений ЛЭП постоянного тока, работающих по схеме «провод - земля», относительно проектируемой трассы и нанесение их на план проектируемой линии связи;
сбор сведений о наличии поперечных соединений между кабелями и соседними трубопроводами.
Примечания: 1. При определении вышеуказанных исходных данных необходимо учитывать также подземные сооружения, проектируемые другими организациями. 2. При проектировании прокладки кабелей с защитными покровами шлангового типа, а также кабелей в пластмассовых оболочках отбор проб грунтов и вод на химический анализ производить не следует.
3.36. При отсутствии существующих подземных сооружений на проектируемой трассе кабеля необходимо произвести измерения для определения наличия блуждающих токов в земле на участках сближений проектируемой трассы с электрифицированными железными дорогами постоянного тока или с другими промышленными электротехническими установками постоянного тока (внутризаводской транспорт, электролизные цехи и т.д.), расположенными на расстоянии до 1,5 км (максимально) от трассы прокладки проектируемого кабеля. Измерения должны выполняться по методике, изложенной в пп. 2.29 - 2.32 настоящего Руководства.
3.37. При проектировании кабелей ГТС в районах новой застройки городов, примыкающих к действующим сетям ГТС, необходимо также собрать данные о существующих подземных коммуникациях по направлениям проектируемых сооружений связи.
3.38. Если в городах имеются организации, ведающие защитой подземных металлических сооружений от коррозии, то мероприятия по защите от коррозии вновь проектируемых сооружений должны быть согласованы с этими организациями.
3.39. Измерительные лаборатории различных эксплуатационных служб Министерства связи СССР (ТЦУМС, ПТУС, ГТС и др.) обязаны предоставлять. Представителям проектных организаций данные по действующим системам защиты от коррозии существующих сооружений связи.
3.40. Организация линейных изысканий, порядок их выполнения и состав работ при проектировании защиты от коррозии существующих подземных металлических сооружений связи такие же, как и для вновь проектируемых сооружений, указанные в пп. 3.87 - 3.125 за исключением работ по выбору трассы и измерению блуждающих токов в земле.
3.41. Во время линейных изысканий должны быть документально оформлены все согласования, касающиеся совместной защиты, различных подключений проектируемых устройств защиты от коррозии к рельсовым путям, электрическим сетям, соседним металлическим сооружениям и т.п. Согласования должны оформляться техническими протоколами или соответствующими надписями на чертежах, а сведения о коррозионных повреждениях на существующих сооружениях - справкой, подписанной ответственным руководителем эксплуатирующей организации.
3.42. Помимо указанных в пп. 3.34 - 3.41 изыскательских работ, выполняемых на всем протяжении проектируемой линии, для разработки проектно - сметной документации, утверждаемой части технорабочего проекта, необходимо выполнить линейные изыскания в объеме, необходимом для разработки в составе технорабочего проекта рабочих чертежей и сметной документации под план первого года строительства (п. 3.43).
3.43. При необходимости разработки рабочих чертежей второго и последующих лет строительства объекта допускаются повторные выезды на изыскания, в процессе которых производятся уточнения ранее полученных согласований, а также, в случае надобности, выполняются различные измерительные работы, работы по взятию проб грунтов и воды, а также проводятся, отдельные дополнительные согласования. Кроме того, повторные выезды могут осуществляться после прокладки и монтажа кабелей для уточнения мест включения выбранных средств защиты их от электрокоррозии.
3.44. По окончании линейных изысканий должна быть выполнена камеральная обработка полевых материалов. Весь материал изысканий должен выть оформлен в виде сброшюрованной папки, так как этот материал подлежит длительному хранению.
3.45. Материал изысканий подлежит рассмотрению и утверждению ответственными руководителями проектной организации
Технорабочий проект
3.46. Основанием для разработки технорабочего проема является задание главного инженера проекта по комплексным объектам или самостоятельным объектам на защиту от коррозии.
Технорабочий проект на защиту от коррозии существующих сооружений, как правило, является самостоятельным проектом.
3.48. В технорабочем проекте должны быть рассмотрены и изложены соответствующие решения по следующим вопросам:
а) защите проектируемых металлических подземных сооружений связи от коррозии, вызываемой наличием агрессивных грунтов и воды:
блуждающими токами электрифицированных железных дорог постоянного тока, трамвая, метро и т.д.;
блуждающими токами установок дистанционного питания усилительных пунктов кабельных линий связи, работающих по системе «провод - земля»;
блуждающими токами катодных станций соседних подземных металлических сооружений;
наличием факторов межкристаллитной коррозии (от вибрации мостов, туннелей и других транспортных путей);
б) устройству контрольно-измерительных пунктов (КИП) по трассе проектируемых подземных сооружений связи для измерений потенциалов, токов и проверки состояния изолирующих покровов;
в) увязке решений по защите от коррозии с решениями по защите от других видов влияний (ударов молнии и внешних электромагнитных влияний);
г) объемам строительно-монтажных работ,
д) сметной стоимости строительства.
3.49. Исходными данными для составления технорабочего проекта являются материалы линейных изысканий и результаты химического анализа проб грунтов и воды.
При разработке проекта используются технические рекомендации, указанные в пп. 3.51 - 3.52
3.50. Разработку технорабочего проекта рекомендуется производить в следующей последовательности:
на основании изучения материалов линейных изысканий и результатов химических анализов проб грунтов и воды определяются участки прокладок кабелей и места установки НУП, места, опасные в отношении почвенной коррозии, коррозии блуждающими токами и межкристаллитной коррозии;
производится выбор средств защиты с выполнением необходимых расчетов в соответствии с рекомендациями пп. 3.126 - 3.153;
определяются места установки КИП;
производится увязка с другими видами защиты (от ударов молнии и внешних электромагнитных влияний);
составляются чертежи;
составляются заявочные ведомости на оборудование, кабельные изделия материалы;
составляется сметная документация;
составляется пояснительная записка по защите от коррозии.
На участках трасс в населенных пунктах, на городских телефонных сетях и во всех случаях наличия питания катодных станций наиболее рационально применение защиты катодными установками. В остальных случаях применяется протекторная защита.
3.52. При выборе мероприятий по защите кабелей в свинцовых оболочках от коррозии блуждающими токами изыскивается возможность применения электродренажной защиты как наиболее эффективной и дешевой.
Другие средства защиты следует предусматривать в случае целесообразности или невозможности применения электродренажной защиты, например при очень большом удалении защищаемых сооружений от рельсовых путей - (более 1 км), требующем увеличения сечения дренажных кабелей.
На вновь проектируемых к прокладке кабелях связи с изолирующими покровами шлангового типа электродренажная защита не предусматривается.
3.53. Места установки на кабелях изолирующих муфт должны определяться в соответствии с рекомендациями п. 4.11.
3.54. При прокладке проектируемого кабеля вблизи других подземных сооружений, имеющих устройства защиты от коррозии, должна быть рассмотрена возможность совместной защиты проектируемого кабеля и соседних сооружений с помощью устройства электрических перемычек между ними в местах вероятного возникновения анодных зон на кабеле.
Данная рекомендация относится и к существующим кабелям, для которых проектируется защита от коррозии.
3.55. Места включения выбранных средств защиты от электрокоррозии технорабочим проектом намечаются ориентировочно.
Окончательный выбор мест включения электродренажей, катодных станций и электрических перемычек между сооружениями при их совместной защите определяется путем пробных включений, выполняемых в соответствии с пп. 4.61 - 4.81.
3.56. При всех пробных включениях и установке защитных устройств необходимо одновременно с измерениями потенциалов на оболочке защищаемого кабеля производить измерения их также на соседних подземных металлических сооружениях, при этом опасность коррозии на этих сооружениях при включении защитных устройств на защищаемом кабеле не должна увеличиваться или появляться вновь. В противном случае должны проводиться дополнительные мероприятия по ликвидации опасности коррозии на соседних сооружениях.
3.57. При защите кабелей от коррозии, вызываемой блуждающими токами - дистанционного питания, около ОУП проектируется устройство прямого дренажа (перемычки), устанавливаемого в помещении ОУП. Для этого при устройстве ввода в ОУП свинцовые оболочки и броня всех кабелей связи перепаиваются между собой при помощи свинцовой полосы или проводника сечением не менее 16 мм2 по меди я присоединяются через реостат к отрицательному полюсу источника тока дистанционного питания.
Защита оболочек кабелей вблизи НУП достигается удалением рабочих заземлений систем дистанционного питания в перпендикулярном к трассе кабелей направлении на расстояние не менее указанных в табл. 3.8.
3.58. Необходимость защиты от коррозии цистерн НУП и объем работ определяются на основании измеренного удельного сопротивления грунта на площадках НУП.
Защита протекторами металлических цистерн НУП проектируется в местах, где величина удельного сопротивления грунта менее 100 Ом×м.
Количество протекторов для защиты одного НУП определяется в зависимости от типа НУП в соответствии с п. 3.213.
3.59. Необходимое количество контрольно-измерительных пунктов (КИП), их тип и места расположения зависят: от протяженности кабельной линия связи, наличия взаимных пересечений и сближений с электрическим рельсовым транспортом, количеством НУП, от типа кабеля, а также от количества протекторов, катодных и дренажных установок, запроектированных на кабельной линии.
В случае применения на кабельной линии дистанционного питания по системе «провод - провод» постоянным или переменным током дополнительные КИП на кабелях вблизи НУП не устраиваются.
Контрольно-измерительные пункты проектируются к установке по трассе кабельной линии двух типов: КИП-1 или КИП-2. Места установки КИП и их типы указаны в табл. 4.2.
3.60. Ввиду отсутствия мер защиты от межкристаллитной коррозии кабелей со свинцовой оболочкой, гарантирующих надежную их работу в условиях вибрации, следует избегать прокладки этих кабелей по металлическим мостам. Междугородные магистральные кабели со свинцовой оболочкой в этом случае целесообразно прокладывать непосредственно через русло водной преграды. Для прокладки по мостам следует применять вибростойкие кабели (в пластмассовой оболочке) или в более вибростойких, чем свинцовые, металлических оболочках (алюминиевой или стальной).
Способы прокладки кабелей по мостам, исключающие появление других видов коррозии, должны определяться в зависимости от назначения и конструкции мостов. Для защиты от межкристаллитной коррозии за счет вибраций, создаваемых движущимся транспортом, должны соблюдаться рекомендации п. 3.117.
3.61. Увязка проектных решений по защите от коррозии с другими видами защиты (от ударов молнии и внешних электромагнитных влияний) должна заключаться в рассмотрении возможности одновременной работы всех видов защиты и исходить из условий, при которых эффективная работа одного вида защиты не должна снижать эффективности работы любого другого вида защиты. Например, в целях защиты от внешних электромагнитных влияний и ударов молнии необходимо как можно лучше заземлять оболочки и наружные металлические покровы кабелей, а для защиты от коррозии, наоборот, стремиться к лучшей изоляции их от земли. При проектировании защиты должно быть найдено оптимальное решение.
В качестве одной из мер совмещения защиты всех видов применяются диоды в цепях заземления, позволяющие избежать втекания блуждающих токов в кабель.
В случае использования протекторов, устанавливаемых для защиты от коррозии металлических цистерн НУП, одновременно в качестве защитного заземления НУП необходимо учитывать требования к защитному заземлению в отношении нормы сопротивления заземления и допустимого минимального сечения соединительных проводов к протекторам (не менее 16 мм2 по меди).
Примечание. С целью обеспечения защиты бронированных кабелей со свинцовыми оболочками с защитными покровами типов Б, БГ, БбГ от коррозии, электромагнитных влияний и ударов молнии соединение свинцовых оболочек с броней допускается только в контрольно-измерительных пунктах в местах, указанных в проекте.
5.62. После рассмотрения всех технических вопросов должны быть составлены заявочные ведомости на оборудование, кабельные изделия и материалы (их формы указаны в эталонах технорабочего проекта), определены объемы строительно-монтажных работ и составлена сметная документация на строительство.
При разработке проектно-сметной документации на строительство сооружений технико-экономические показатели, предусмотренные в утвержденных ТЭО и заданиях на проектирование, не должны быть ухудшены, а сметная стоимость строительства не должна превышать стоимость строительства, определенную в ТЭО.
3.63. В составе технорабочего проекта должна быть пояснительная записка, обосновывающая принятые проектные решения. Содержание пояснительной записки должно соответствовать эталону технорабочего проекта.
3.64. Технорабочий проект должен быть оформлен в соответствии с действующим эталоном технорабочего проекта на строительство данного сооружения.
При составлении технорабочего проекта должны быть максимально использованы типовые проекты и типовые решения.
3.65. Помимо проектных решений по вопросам, указанным в пп. 3.47 - 3.64, для утверждаемой части технорабочего проекта в его составе разрабатываются рабочие чертежи и сметная документация под план первого года строительства (см. пп. 3.66 - 3.70).
Примечание. В составе технорабочих проектов сооружений связи, продолжительность строительства которых по действующим нормам не превышает двух лет, рекомендуется разрабатывать рабочие чертежи на весь объем строительно-монтажных работ, предусмотренных проектом.
3.67. Рабочие чертежи по защите от почвенной коррозии вновь проектируемых кабельных линий выпускаются обычно совместно с рабочими чертежами на прокладку проектируемых сооружений связи.
3.68. Рабочие чертежи по защите от коррозии блуждающими токами вновь проектируемых сооружений связи выдаются, как правило, после прокладки и монтажа их на участках сближений и пересечений и выполнения дополнительных электрических измерений по уточнению мест включения защитных устройств.
3.69. Рабочие чертежи по защите от блуждающих токов могут выдаваться до прокладки проектируемых сооружений связи только в следующих случаях:
а) когда проектируемые сооружения связи прокладываются вблизи тяговых подстанций или отсасывающих фидеров трамвайных линий;
б) когда проектируемые сооружения связи прокладываются вблизи дренажных или катодных установок, оборудованных на существующих подземных металлических сооружениях.
3.70. Примерный состав рабочих чертежей может быть следующий:
защита сооружений связи на загородных участках трассы, совместно с их прокладкой;
то же, на городских участках;
устройство дренажной защиты сооружений связи от блуждающих токов на пересечениях с электрифицированной железной дорогой постоянного тока;
устройство дренажной защиты сооружений связи вблизи тяговых подстанций, электрифицированных железных дорог и трамвая;
устройство дренажной и катодной защиты проектируемых и существующих сооружений связи;
устройство совместной защиты сооружений связи и трубопроводов на участках сближений и пересечений с электрифицированной железной дорогой постоянного тока;
устройство совместной дренажной или катодной защиты сооружений связи и трубопроводов при их сближении и пересечении;
устройство защиты сооружений связи от блуждающих токов дистанционного питания;
катодная защита сооружений связи;
протекторная защита сооружений связи;
протекторная или катодная защита металлических цистерн НУП от коррозии.
При составлении рабочих чертежей следует пользоваться рекомендациями настоящего Руководства.
Линейные изыскания к техническому проекту
3.71. Основанием для проведения линейных изысканий к техническому проекту является задание, составленное плавным инженером проекта на основании задания на проектирование, полученного от заказчика проекта.
3.72. Изыскания к техническому проекту включают в себя все виды работ по изысканиям к технорабочему проекту, указанные в пп. 3.31 - 3.41, однако они выполняются с той степенью детализации, которая необходима лишь для принятия основных технических решений и определения стоимости строительства по укрупненным показателям.
3.73. В процессе выполнения изысканий к техническому проекту могут быть уточнены местоположение объекта (трассы линии), объемные показатели сооружения и отдельные проектные решения, рекомендованные в ТЭО.
Технический проект
3.74. Основанием для составления технического проекта является задание главного инженера проекта по комплексным объектам или задание на проектирование, выданное заказчиком проекта по самостоятельным объектам на защиту от коррозии.
3.75. Исходными данными для составления технического проекта являются материалы изысканий и результаты химических анализов грунтов и воды по трассе проектируемой линии.
3.76. В техническом проекте кабельной линии, кроме вопросов, которые решаются при разработке технорабочего проекта (см. пп. 3.47 - 3.63), должны быть дополнительно рассмотрены вопросы относительно:
выбранного для защиты от коррозии оборудования и связанных с ним строительных и других решений;
схемных решений размещения отдельных сооружений и мероприятий по защите от коррозии;
объемов строительно-монтажных работ и сроков их выполнения;
сметной стоимости строительства (по укрупненным показателям).
В отдельных случаях при разработке технического проекта могут быть также дополнительно рассмотрены принятые в технико-экономических обоснованиях решения о целесообразности и эффективности нового строительства.
3.77. Состав технического проекта должен быть таким же, как и состав утверждаемой части технорабочего проекта. Однако в целях сокращения объема разрабатываемых материалов в составе технического проекта должны приводиться только те материалы и чертежи, которые необходимы для обоснования проектных решений и определения сметной стоимости строительства (по укрупненным показателям).
Линейные изыскания к рабочим чертежам
3.78. Основанием для линейных изысканий к рабочим чертежам является задание главного инженера проекта по комплексным объектам или задание заказчика проекта по самостоятельным объектам на защиту от коррозии. Изыскания к рабочим чертежам могут производиться только после утверждения технического проекта и в объеме, необходимом для разработки рабочих чертежей под план строительства планируемого года.
3.79. В процессе изысканий к рабочим чертежам производятся:
изыскания на измененных участках трассы кабельной линии с проведением необходимых дополнительных согласований в полном составе и объемах к техническому проекту и к рабочим чертежам;
дополнительные измерения удельного сопротивления и взятие проб грунтов и воды для определения границ и длины коррозионно-опасных участков в целях уточнения общего объема работ по защите от почвенной коррозии;
измерения потенциалов на рельсах электрифицированного транспорта постоянного тока и на подземных металлических сооружениях по отношению к земле, в местах взаимных пересечений и сближений их с трассой проектируемого кабеля с целью выявления возможных изменений в режиме работы этих сооружений, происшедших за период времени после выполнения изысканий к техническому проекту;
г) уточнения отдельных исходных данных на особо опасных участках, если в этом имеется необходимость;
д) контрольная проверка отдельных результатов изысканий к техническому проекту;
е) выявление новых источников возникновения блуждающих токов, появившихся за период времени, прошедший после выполнения изысканий к техническому проекту, с производством необходимых измерений;
ж) проведение дополнительных согласований;
з) камеральная обработка материалов изысканий;
3.80. Изыскания по защите от коррозии блуждающими токами, выполненные до прокладки проектируемого сооружения связи, должны быть дополнены измерениями по уточнению мест установки защитных устройств после прокладки и монтажа сооружения связи на участке влияния блуждающих токов. Уточнение мест включения устройств защиты производится в процессе выполнения строительно-монтажных работ силами строительной организации, если для этой цели в смете к техническому проекту предусматриваются необходимые средства. Строительная организация имеет право привлекать для участия в выполнении указанной работы специализированные организации по коррозии или производственные лаборатории эксплуатационных служб Министерства связи СССР.
Рабочие чертежи
3.81. Рабочие чертежи разрабатываются на основании утвержденного технического проекта и материалов линейных изысканий, выполненных для составления рабочих чертежей.
Планово-геодезической основой для рабочих чертежей по защите от коррозии являются для комплексных объектов, как правило, планшеты полуинструментальной или инструментальной плановой съемки, на которой выполнены рабочие чертежи на прокладку проектируемых кабелей с установкой НУП, а для самостоятельных объектов по защите - планы полуинструментальной или глазомерной съемки.
3.82. При разработке рабочих чертежей решения, предусмотренные техническим проектом, детализируются в той степени, в какой это необходимо для производства строительно-монтажных работ.
3.83. В рабочих чертежах разрабатываются те же вопросы, что и в технорабочем проекте (см. пп. 3.67 - 3.70).
Составление сметной документации
3.84. При разработке ТЭО смета составляется по укрупненным нормативным показателям, в которых учтены затраты на защиту кабелей от коррозии.
3.85. Сметы к техническому проекту и технорабочему проекту составляются по установленному Инструкцией СН-202-76 порядку на основании действующих сметных нормативов.
3.86. При разработке рабочих чертежей сметы уточняются только в случаях изменения проектных решений. При этом, как правило, применяются те же сметные нормативы, по которым составлены сметы на стадии технорабочего и технического проекта.
Исходные данные для проектирования защиты от коррозии блуждающими токами
тип предполагаемого к прокладке подземного сооружения связи;
наличие блуждающих токов в земле в районе предполагаемой трассы прокладки подземных сооружений;
схема взаимного расположения трассы, источников блуждающих токов и подземных сооружений, находящихся в эксплуатации в районе предполагаемой прокладки сооружений связи;
схема питания контактной сети электрифицированного транспорта;
схема размещения тяговых подстанций, отсасывающих пунктов и путевых дросселей;
схема размещения рабочих заземлений ЛЭП постоянного тока системы «провод - земля» и дистанционного питания усилителей;
результаты эксплуатационных измерений, потенциалов рельсовых путей, отсасывающих пунктов и соседних подземных сооружений по отношению к земле;
режим работы тяговых подстанций в период наибольшего грузового потока;
данные эксплуатации о величинах сопротивлений стыков рельс и переходных сопротивлений «рельс - земля»;
данные о наличии, размещении и режиме работы защитных устройств на соседних подземных сооружениях;
данные о наличии совместной защиты соседних подземных сооружений и местах установки перемычек;
сведения о наличии и расположении источников питания защитных устройств.
3.88. Данные о наличии блуждающих токов в земле и на соседних сооружениях, потенциальном состоянии рельсовой сети и соседних подземных сооружений, техническом состоянии рельсовой сети, режиме работы тяговых подстанций и защитных устройств и т.д. должны быть получены в организациях, эксплуатирующих данные сооружения. В случае отсутствия указанных сведений должны быть проведены электрические измерения в соответствии с пп. 2.29 - 2.32.
3.89. На основании перечисленных выше исходных данных производится выбор средств защиты подземных металлических сооружений связи от почвенной коррозии и коррозии, вызываемой действием блуждающих токов.
Исходные данные для проектирования защиты от почвенной коррозии
3.90. Исходными данными для проектирования защиты от почвенной коррозии являются:
тип предполагаемого к прокладке подземного сооружения связи;
данные измерений удельного сопротивления грунтов и результаты химического анализа грунтов и вод;
данные о наличии и взаимном расположении других подземных сооружений;
сведения о наличии, размещении и режиме работы катодных установок на соседних подземных сооружениях;
сведения о совместной защите соседних подземных сооружений и местах установки защитных устройств и перемычек;
3.91. Коррозионная активность грунтов, грунтовых и других вод определяется на основании данных полевых и лабораторных анализов и измерений.
3.92. Для выполнения лабораторных анализов и измерений производится отбор проб грунта, грунтовых и других вод по трассе проектируемого или уже действующего сооружения связи. Отбор проб производится в соответствии с правилами, изложенными в приложении 3.
Из каждой скважины или шурфа (выборки по трассе кабеля связи) на глубине прокладки сооружения отбирают - три пробы грунта. В случае появления в шурфах и скважинах грунтовых вод должны также отбираться пробы воды.
Для несвязанных грунтов (песчаных, гравийных) при наличии грунтовых вод отбираются только пробы воды.
3.94. На заболоченных участках бурение скважин производится у обоих краев болота и внутри его через каждые 100 м. На больших болотах расстояние между выработками может быть увеличено до 300 - 500 м, а на малых - уменьшено до 50 м.
Бурение скважин на болотах производится на глубину не менее 1,2 м с углублением в минеральное дно.
3.95. При обнаружении грунтов, опасных в отношении коррозии (торфяных черноземных, солончаковых, известковых или илистых), участков скопления мусора, свалок бытового мусора и отходов скотных дворов, а также в местах с низким удельным сопротивлением грунта (до 60 Ом×м) для отбора проб бурятся дополнительные скважины на расстоянии 300 - 600 м одна от другой.
3.96. При проектировании новых городских сооружений связи, прокладываемых непосредственно в земле, пробы грунтов отбираются с предполагаемой глубины прокладки через каждые 300 м. При проектировании новой телефонной канализации пробы грунтов берутся только на участках, где предполагаемый уровень грунтовых вод превышает уровень прокладки телефонной канализации. При проектировании прокладки сооружений связи в существующие или реконструируемые системы кабельной канализации отбираются пробы воды из всех кабельных колодцев, в которых отмечались случаи коррозии.
Проба грунта для исследования коррозионной активности по отношению к стали методом потери массы стального образца и по поляризационным кривым берется в количестве 1,5 - 2,0 кг. Пробы отбираются из шурфов, скважин и траншей с глубины прокладки подземного сооружения с интервалами 50 - 100 м в зонах, оговоренных нормативно - технической документацией.
не менее одной (с середины) на ручьях и речках шириной до 20 м;
не менее двух (равномерно размещенных по створу) на реках шириной 20 - 50 м;
не менее трех - при ширине 50 - 300 м;
на реках и водоемах шириной 200 - 1000 м пробы отбираются не реже, чем через 150 м;
на реках и водохранилищах шириной свыше 1000 м пробы отбираются не реже, чем через 300 м.
Пробы из рек и открытых водоемов отбирают с помощью специальных пробоотборников или обычной стеклянной бутылкой. Отбор проб воды производится со дна водоема, где вода находится в непосредственном контакте с грунтом.
Пробы воды бутылкой отбирают следующим образом. Бутылку закрывают пробкой, к которой прикреплен шнур, и вставляют в тяжелую оправу или к ней подвешивают груз на тросе (шнуре, веревке). Пробы можно отбирать шестом с прикрепленной к нему бутылкой. Бутылка погружается на намеченную глубину; при натяжении шнура пробка открывается и бутылка заполняется водой. После того как бутылка наполнится водой, ее поднимают на поверхность и сливают верхний слой воды (4 - 5 см). Бутылку закрывают пробкой (резиновой, полиэтиленовой или корковой, пропитанной парафином) с таким расчетом, чтобы под ней оставался слой воздуха 2 - 3 см, обтирают сухим полотенцем и переворачивают вверх дном. Если пробка снаружи остается сухой, можно считать, что герметичность закупорки достигнута.
Примечание: Основным условием при отборе пробы воды должна быть чистота тары и пробки. Бутылку сначала моют ершом и мыльной водой, затем промывают дистиллированной или отбираемой водой. Полиэтиленовые и резиновые пробки моют мыльной водой и тщательно промывают дистиллированной водой или отбираемой водой. Корковые пробки менее удобны, их необходимо кипятить сначала в содовом растворе, затем в чистой воде и после просушки пропитывать парафином.
3.101. Коррозионная активность грунтов, грунтовых и других вод по отношению к свинцовой оболочке кабелей определяется по концентрации в них водородных ионов (рН), содержанию органических, азотистых веществ (нитрат-ионов) и общей жесткости воды.
ТАБЛИЦА 3.1
Коррозионная активность грунтов по отношению к свинцовой оболочке кабелей
|
Содержание компонентов от массы, воздушно - сухой пробы, % |
Коррозионная активность |
|||
|
органических веществ |
нитрат-ионов |
|||
|
6,5 - 7,5 |
Менее 0,010 |
Менее 0,0001 |
Низкая |
|
|
5,0 - 6,4 7,6 - 9,0 |
|
0,010 - 0,020 |
0,0001 - 0,0010 |
Средняя |
|
До 5,0 Свыше 9,0 |
|
Более 0,020 |
Более 0,0010 |
Высокая |
3.102. Коррозионная активность грунтов, грунтовых и других вод по отношению к алюминиевой оболочке кабелей определяется по концентрации водородных ионов (рН), содержанию ионов хлора и железа.
ТАБЛИЦА 3.2
Коррозионная активность грунтовых и других вод по отношению к свинцовой оболочке кабелей
|
Общая жесткость, мг.экв/л |
Содержание компонентов, мг/л |
Коррозионная активность |
||||
|
органических веществ |
нитрат-ионов |
|||||
|
6,5 - 7,5 |
Более 6,3 |
Менее 20 |
Менее 10 |
Низкая |
||
|
5,0 - 6,4 7,6 - 9,0 |
|
5,3 – 3,0 |
20 - 10 |
10 - 20 |
Средняя |
|
|
До 5,0 Свыше 9,0 |
|
Менее 3,0 |
Более 40 |
Более 20 |
Высокая |
|
ТАБЛИЦА 3.3
Коррозионная активность грунтов по отношению к алюминиевой оболочке кабелей
|
Содержание компонентов от массы воздушно - сухой пробы, % |
Коррозионная активность |
|||
|
хлор-ионов |
ионов железа |
|||
|
6,0 - 7,5 |
Менее 0,001 |
Менее 0,002 |
Низкая |
|
|
4,5 - 5,9 7,6 - 8,5 |
|
0,001 - 0,005 |
0,002 - 0,010 |
Средняя |
|
Менее 4,5 Более 8,5 |
|
Более 0,005 |
Более 0,010 |
Высокая |
ТАБЛИЦА 3.4
Коррозионная активность грунтовых м других вод по отношению к алюминиевой оболочке кабелей
|
рH |
Содержание компонентов, мг/л |
Коррозионная активность |
||
|
хлор-ионов |
ионов железа |
|||
|
6,0 - 7,5 |
Менее 5,0 |
Менее 1,0 |
Низкая |
|
|
4,5 - 5,9 7,6 - 8,5 |
|
5,0 - 50 |
1,0 - 10 |
Средняя |
|
Менее 4,5 Более 8,5 |
|
Более 50 |
Более 10 |
Высокая |
ТАБЛИЦА 3.5
Коррозионная активность грунтов по отношению к стали в зависимости от их удельного сопротивления
|
Более 100 |
20 - 100 |
10 - 20 |
5 - 10 |
Менее 5 |
|
|
Коррозионная активность |
Низкая |
Средняя |
Повышенная |
Высокая |
Весьма высокая |
Примечание. Защита стальных подземных сооружений связи от почвенной коррозии должна осуществляться изоляционными покровами и катодной поляризацией при прокладке в грунте с удельным сопротивлением менее 100 Ом×м.
ТАБЛИЦА 3.6
Коррозионная активность грунтов по отношению к углеродистой стали подземных сооружений
|
Средняя плотность поляризующего тока, мА/см2 |
|||||
|
до 0,05 |
свыше 0,05 до 0,20 |
свыше 0,20 до 0,30 |
свыше 0,30 до 0,40 |
свыше 0,40 |
|
|
Коррозионная активность |
Низкая |
Средняя |
Повышенная |
Высокая |
Весьма высокая |
Примечание. Защита сооружений связи производится при высокой и весьма высокой коррозионной активности.
ТАБЛИЦА 3.7
Коррозионная активность грунтов по отношению к углеродистой стали в зависимости от величины потери массы образца
|
Потери массы, г |
|||||
|
до 1 |
свыше 1 до 2 |
свыше 2 до 3 |
свыше 3 до 4 |
свыше 4 |
|
|
Коррозионная активность |
Низкая |
Средняя |
Повышенная |
Высокая |
Весьма высокая |
Примечание. Защита сооружений связи производится при высокой и весьма высокой коррозионной активности.
3.103. Оценку коррозионной активности грунтов, грунтовых и других вод по отношению к свинцовой оболочке кабеля следует производить по данным химического анализа согласно табл. 3.1 и 3.2.
3.104. Коррозионная активность грунтов, грунтовых, речных и других вод по отношению к алюминиевой оболочке кабелей, к которой возможен доступ почвенного электролита и воды, оценивается по максимальному значению любого из показателей табл. 3.3. и 3.4.
3.105. Оценивать коррозионную активность грунтов по отношению к стальным конструкциям подземных сооружений связи можно по результатам одного из измерений; удельного сопротивления грунта - в соответствии с табл. 3.5, по плотности поляризующего тока - в соответствии с табл. 3.6 и по потере массы образца - в соответствии с табл. 3.7.
Основные указания по выбору трассы, условий прокладки и нормы защиты подземных сооружений связи от коррозии
3.107. При выборе трассы прокладки подземных сооружений связи на стадии технико-экономического сравнения вариантов должны учитываться стоимость сооружений и эксплуатации электродренажной и катодной защиты указанных сооружений.
3.108. Для уменьшения блуждающих токов, протекающих по подземному сооружению связи при пересечении с рельсовыми путями электрифицированной железной дороги, рекомендуется осуществлять это пересечение (за исключением территории городов) на расстоянии от отсасывающего пункта, равном от 1/4 до 1/8 расстояния между тяговыми подстанциями, если это может быть экономически оправдано.
3.109. Расстояние между ближайшим рельсом трамвая и параллельно прокладываемым сооружением связи должно быть, как правило, не менее 2 м.
3.110. Расстояние между ближайшим рельсом электрифицированной железной дороги или наземными линиями метрополитена и параллельно прокладываемыми сооружениями связи, если длина их совместной трассы более 50 м должно быть, как правило, не менее 10 м.
3.111. При пересечении подземных металлических сооружений связи с путями электрифицированных железных дорог, наземных линий метрополитена и трамвая расстояние от подошвы рельса до подземного сооружения, по условиям защиты от коррозии, должно быть не менее 1,5 м. На территориях промышленных предприятий это расстояние допускается уменьшить до 1 м. Подземные сооружения с путями электрифицированного рельсового транспорта должны пересекаться под углом 75 - 90° к оси пути.
3.112. При пересечениях с рельсами электротранспорта (кроме метрополитена) подземные сооружения связи должны быть уложены в неметаллических трубах, блоках, каналах или туннелях.
3.113. Пересечение сооружений связи с рельсовыми путями электрифицированного транспорта под стрелками и крестовинами, а также в местах присоединения к рельсам отсасывающих кабелей не допускается. Место пересечения должно находиться от указанных мест не ближе 3 м для трамвайного пути и 10 м для железных дорог.
3.114. На подземных линиях метрополитена прокладка сооружений связи под путями не допускается.
3.115. Все подземные металлические сооружения связи при прохождении по металлическим и железобетонным мостам должны быть электрически изолированы от металлических конструкций и арматуры железобетона.
3.116. Подземные металлические сооружения связи должны располагаться от заземляющих устройств положительной полярности установок дистанционного питания усилительных пунктов по системе «провод - земля» на расстоянии a, не менее указанного в табл. 3.8.
Подземные металлические сооружения связи в зоне заземляющего устройства отрицательной полярности установки дистанционного питания можно располагать на меньших расстояниях при условии применения прямого дренажа (рис. 3.1).
ТАБЛИЦА 3.8
Минимально допустимые расстояния
|
0,25 |
0,5 |
1 |
1,5 |
2 |
3 - 5 |
|
|
Расстояние a между заземлением и подземными металлическими сооружениями связи, м |
15 |
20 |
30 |
40 |
60 |
100 |
Рис. 3.1.
Схема защиты кабеля от коррозии, вызываемой токами дистанционного питания
усилителей;
1 - кабель; 2 - ОУП; 3 - перемычка; 4 -
НУП; 5 - рабочее заземление
3.120. Электрохимическая защита свинцовых оболочек кабелей связи от почвенной коррозии должна осуществляться при наличии трех средних или одного высокого показателя коррозионной активности грунтов и вод при помощи катодной поляризации.
3.121. В сильно засоленных грунтах с удельным сопротивлением менее 10 Ом×м электрохимическую защиту свинцовых оболочек кабелей связи применять не рекомендуется. В этих грунтах наиболее целесообразно применять кабели с изолирующими покровами шлангового типа.
3.122. В зонах действия блуждающих токов кабели связи с изолирующими покровами шлангового типа должны быть защищены от почвенной коррозии в соответствии с пп. 3.118 и 3.119.
3.123. Электрохимическая защита подземных сооружений связи от коррозии, вызываемой блуждающими токами, должна осуществляться независимо от их интенсивности в анодных и знакопеременных зонах.
3.124. Наличие блуждающих токов в сооружении, а также расположение анодных, катодных и знакопеременных зон может быть определено на основании исходных данных, указанных в пп. 3.87 и 3.88.
3.125. Катодная поляризация защищаемых подземных сооружений должна осуществляться таким образом, чтобы создаваемые на этих сооружениях потенциалы по абсолютной величине были не менее значений, указанных в табл. 3.9, и не более значений, указанных в табл. 3.10.
ТАБЛИЦА 3.9
Минимальные значения защитных потенциалов
|
Потенциал по отношению к неполяризующемуся электроду, В |
Среда |
||
|
водородному |
медносульфатному |
||
|
Сталь |
- 0,55 |
- 0,85 |
Любая |
|
Сталь гофрированная |
- 0,90 |
- 1,20 |
- |
|
Свинец |
- 0,20 |
- 0,50 |
Кислая |
|
- 0,42 |
- 0,72 |
Щелочная |
|
|
Алюминий |
- 0,55 |
- 0,85 |
Любая |
Примечание. При почвенной коррозии наличие естественных высоких отрицательных потенциалов на незащищенных сооружениях не исключает коррозии и при высокой коррозионной активности окружающей среды требует применения на них катодной защиты, при этом потенциал сооружения должен быть сдвинут в отрицательную сторону не менее чем на 100 мВ.
ТАБЛИЦА 3.10
Максимальные значения защитных потенциалов
|
Наличие и состояние защитного покрытия |
Потенциал по отношению к неполяризующемуся электроду, В |
Среда |
||
|
водородному |
медносульфатному |
|||
|
Сталь |
Есть |
- 0,80 |
- 1,10 |
Любая |
|
Сталь |
Нет |
Не ограничивается |
- |
|
|
Сталь гофрированная |
Частично повреждено |
Не ограничивается |
- |
|
|
Свинец |
Есть |
- 0,80 |
- 1,10 |
Кислая |
|
Нет |
- 1,00 |
- 1,30 |
Щелочная |
|
|
Алюминий |
Частично повреждено |
- 1,08 |
- 1,38 |
Любая |
Общие положения
3.126. Проектирование защиты подземных сооружений связи от почвенной коррозии производится на основании исходных данных для проектирования (см. пп. 3.87 - 3.93).
3.127. Выбор методов и средств защиты подземных сооружений связи от почвенной коррозии производится в соответствии с пп. 3.106 - 3.107 и 4.1 - 4.7.
3.128. На кабелях связи без брони, имеющих защитные покровы шлангового типа, защита от почвенной коррозии при отсутствии одновременной защиты от электромагнитных влияний и ударов молнии осуществляется при помощи протекторов, оборудуемых согласно табл. 3.1. Протекторные установки по трассе кабеля должны размещаться так, чтобы зоны каждой из них были приблизительно равными. Расстояние протекторов от кабелей должно быть не менее 3 м. Протекторы подключаются к кабелям через КИП-2.
Протекторы на кабелях городской телефонной сети размещаются вблизи телефонного колодца в местах, удобных для их установки и эксплуатации. Необходимость и возможность установки протекторов определяются проектом.
ТАБЛИЦА 3.11
Число протекторов и мест их установки для защиты от почвенной коррозии алюминиевых и стальных гофрированных оболочек подземных кабелей связи
|
Участки кабелей |
Общее число протекторов |
Число протекторов в одной точке |
Число мест установки |
|
Усилительный участок длиной 20 км симметричных кабелей при двух - и однокабельной системе |
3 |
1 |
3 |
|
Усилительный участок длиной 10 км симметричных кабелей при двух - и однокабельной системе |
2 |
1 |
2 |
|
Усилительный участок длиной в 6 км коаксиального кабеля |
1 |
1 |
1 |
|
То же, участок длиной 10 км |
2 |
1 |
2 |
|
Кабель городской телефонной сети (независимо от длины) |
1 |
1 |
1 |
Примечания: 1. В общей длине кабеля на усилительном участке учитывается и кабель в телефонной канализации 2. На речных переходах протекторы устанавливаются в земле на концах участка переходов, по одному в каждой точке 3 Протекторы на кабелях городской телефонной сети устанавливаются в тех случаях, когда это технико-экономически обосновано.
3.129. Выбор и размещение средств электрохимической защиты от почвенной коррозии кабелей связи в свинцовых оболочках с защитными покровами типов Б и БГ производятся на основании расчетов или типовых решений.
Примечание. В тех случаях, когда сохранение брони кабеля необходимо для обеспечения защиты от ударов молнии и электромагнитных влияний, при удельном сопротивлении грунта rг £ 100 Ом×м должна осуществляться электрохимическая защита брони от коррозии.
3.130. При прокладке в телефонной канализации кабелей типов МКСАШп и МКССтШп для контроля состояния шланговых изолирующих покровов в шахтах АТС и МТС устанавливаются щитки КИП, к которым подсоединяются оболочки кабелей и заземления. На кабелях связи при вводе их в шахты монтируются изолирующие муфты.
Расчет электрохимической защиты
3.131. Расчет электрохимической защиты от почвенной коррозии должен производиться для междугородных и городских сооружений связи, прокладываемых непосредственно в земле (воде). Расчет защиты голых свинцовых кабелей ГТС прокладываемых в телефонной канализации, не производится. Выбор средств защиты в этом случае осуществляется на основе результатов опытных включений после прокладки кабелей (см. гл. 4 настоящего Руководства).
3.132. Расчет электромеханической защиты проводится в следующей последовательности:
определение исходных данных;
расчет электрических параметров сооружений связи;
расчет необходимой плотности защитного тока;
расчет протекторной или катодной защиты.
3.133. Исходными данными для расчета являются:
тип и конструкция защищаемого подземного сооружения связи:
длина подземного сооружения связи, подлежащего электрохимической защите (Lк, м);
значение стационарного потенциала сооружения (j0, В);
величина минимального и максимального защитного потенциала сооружения связи (jз.макс и jз.мин. В);
удельное сопротивление грунта, (rг, Ом×м);
источники питания для катодных установок и их характеристика;
переходное сопротивление (Rпер, Ом×м);
постоянная распространения тока (а, 1/м);
входное сопротивление (Rвх, Ом);
защитная плотность тока (jа, А/м).
Определение продольного сопротивления
Величины продольных сопротивлений основных типов кабелей связи приведены в табл. П2.1
Если продольное сопротивление кабеля или другого сооружения связи неизвестно, оно должно быть рассчитано. Для кабелей связи расчет производится по следующим формулам:
сопротивление, Ом, одного метра свинцовой (алюминиевой) оболочки
где d1 - внешний диаметр оболочки, м; dоб - толщина оболочки, м - rсв - удельное сопротивление свинца 0,221×10-6 Ом×м; rал - удельное сопротивление алюминия 0,029×10-6 Ом×м;
сопротивление, Ом, одного метра брони из двух стальных лент
, (3.2)
где Dбр - средний диаметр кабеля по броне, мм; а2 - ширина ленты брони мм; b - толщина ленты брони, мм;
сопротивление, Ом, одного метра брони из круглых проволок
, (3.3)
где rст - удельное сопротивление стали 0,138×10-6, Ом×м;
l - длина одной проволоки, снятой с 1 м кабеля, м; d - диаметр проволоки м; п - число проволок в броне, шт.;
сопротивление, Ом, одного метра брони кабеля из плоских проволок
, (3.4)
где l - длина одной приволоки, снятой с 1 м кабеля, м; а - ширина проволоки, м; b - толщина, м; п - число проволок в броне кабеля, шт.;
сопротивление, Ом, одного метра бронированного кабеля
rк = rобrбр/(rоб+rбр), (3.5)
где rбр, rоб - сопротивление одного метра брони и оболочки кабеля, Ом.
Значения толщины металлических оболочек кабеля связи приведены в табл. П2.2, П2.3.
Продольное сопротивление при параллельной прокладке нескольких совместно защищаемых подземных сооружений рассчитывается по формуле
1/rэкв = l/r1 + 1/r2 +... 1/rп, (3.6)
где rэкв - эквивалентное расчетное продольное сопротивление, Ом; r1, r2, ..., rп - продольное сопротивление соответствующих подземных сооружений, Ом.
Определение переходного сопротивления
Переходное сопротивление между сооружением связи и землей может быть определено по формуле
Rпер = Rиз + 5rг×(1-0,1×lndh)/p, (3.7)
где d - наружный диаметр кабеля, м; h - глубина прокладки кабеля, м; Rиз - сопротивление изолирующего покрова сооружения, Ом×м; rг - удельное сопротивление грунта, Ом×м.
Переходное сопротивление, Ом×м, кабелей, не имеющих специальных защитных покровов (МКСБ, ТЗБ, КМБ и др.), в случае необходимости защиты брони кабеля типа MKCAБп может быть определено по эмпирической формуле
Rпер = 15rг. (3.8)
При параллельной прокладке двух сооружений связи с различными электрическими параметрами переходное сопротивление Rпер.экв определяется
, (3.9)
где Rпер1 - переходное сопротивление «сооружение - земля» первого сооружения при отсутствии второго, Ом×м; Rпер2 - переходное сопротивление «сооружение - земля» второго сооружения при отсутствии первого, Ом×м; Rпер1-2 и Rпер2-1 - взаимные сопротивления, Ом×м, между сооружениями, определяемые по формулам:
где a1-2 - расстояние между сооружениями, м; Dк1 и Dк2 - наружные диаметры сооружения, м; a1 и a2 - постоянные распространения тока соответственно вдоль первого и второго сооружений, 1/м; h1 и h2 - глубина прокладки соответственно первого и второго сооружений, м.
При одинаковых электрических параметрах сооружений связи эквивалентное переходное сопротивление Rпер.экв, Ом×м, определяется по формуле
При числе сооружений больше двух переходное сопротивление эквивалентного сооружения определяется сначала для первых двух, затем для эквивалентного и третьего, затем для эквивалентного, состоящего из трех, и четвертого и т.д.
Определение постоянной распространения тока a
Постоянная распространения тока, 1/м, вдоль сооружения определяется по формуле
Для параллельно уложенных двух и более сооружений постоянная распространения тока, 1/м, определяется по формуле
Определение входного сопротивления
Входное сопротивление сооружения Rвх, Ом, при одинаковых параметрах левого и правого плеч защищаемого сооружения (влево и вправо от точки подключения защитной установки) определяется по формуле
При различных электрических параметрах левого и правого плеч защищаемого сооружения входное сопротивление, Ом,
где Rл и Rпр - характеристическое сопротивление соответственно левого и правого плеч сооружения, Ом.
Характеристическое сопротивление, Ом,
, (3.16)
Для параллельно проложенных двух и более сооружений входное сопротивление, Ом, определяется по формуле
3.135. Необходимая защитная плотность тока (j, А/м) рассчитывается по формуле
jз = 1,25(|jз.мин|-|j0|)/Rпер.экв, (3.18)
где jз.мин - минимальный защитный потенциал сооружения (см. табл. 3.9) при электрохимической защите бронированных кабелей связи с металлической оболочкой для расчетов принимается равным - 0,87 В по отношению к медносульфатному электроду сравнения; j0 - стационарный потенциал сооружения.
В случае невозможности измерения стационарного потенциала сооружения в процессе изысканий (например, на однотипных соседних сооружениях) берется его среднее значение, которое по отношению к медносульфатному электроду сравнения принято для стали - 0,55 В, свинца - 0,48 В, алюминия - 0,70 В.
3.136. После определения исходных данных приступают к расчету одиночной или групповой протекторной установки и, в случае необходимости, катодной защиты.
Расчет протекторной защиты
3.137. Расчет протекторной защиты ведется в следующей последовательности:
а) для одиночных протекторных установок определяются:
сила тока одиночного протектора;
зона защиты одиночным протектором;
необходимое число одиночных протекторных установок;
срок службы одиночной протекторной установки;
б) для групповых протекторных установок определяются:
необходимое число протекторов в групповой протекторной установке;
необходимое число групповых протекторных установок;
необходимое число протекторов;
срок службы групповой протекторной установки.
3.138. Сила тока, А, одиночного протектора определяется по формуле
где jп - потенциал протектора до подключения к защищаемому сооружению, В; для магниевых протекторов из сплавов МПУ jп = - 1,60 В, МПУвч jп = -1,62 В по отношению к медносульфатному электроду сравнения; jз.мин - минимальный защитный потенциал, В. Для бронированных и небронированных кабелей с алюминиевой, стальной или свинцовой оболочкой jз.мин принимается в соответствии с табл 3.9 настоящего Руководства.
Сопротивление растеканию Rп одиночного протектора определяется, Ом:
а) для вертикально установленного в активаторе протектора
, (3.20)
где lп - высота протектора в активаторе, м; da - диаметр активатора, м; rа удельное сопротивление активатора, Ом - м, которое для расчетов принимается равным 0,25 Ом×м: hп - глубина закопки протектора, м; dп - диаметр протектора, м,
б) для горизонтально установленного в активаторе протектора
, (3.21)
Сопротивление растеканию магниевых протекторов типов ПМ5У, ПМ10У и ПМ20У, выпускаемых отечественной промышленностью, может быть рассчитано по эмпирической формуле
Rп.в = A×rг + B, (3.22)
где A = 0,56; 0,47; 0,40 соответственно для протекторов ПМ5У, ПМ10У, ПМ20У; B = 0,24; 0,18; 0,15 соответственно для протекторов ПМ5У, ПМ10У, ПМ20У.
3.139. Зона защиты lз, м, одиночной протекторной установки определяется по формуле
lз = Iп/jз, (3.23)
Если lз больше или равна нормальной строительной длине сооружения связи lк, необходимое число протекторов, шт., определяется числом соединительных муфт, установленных на участке, подлежащем защите, т.е.
n = Lк/lк+1.
3.140. Срок службы Тп, лет, одиночной протекторной установки определяется по формуле
Тп = 5,2×10-2Gп/Iп, (3.24)
где Gп - масса протектора без заполнителя, кг.
Масса основных типов магниевых протекторов приведена в табл. 6.14 - 6.15.
3.141. Если lз меньше нормальной строительной длины сооружения связи lк, то определяется возможность применения групповой протекторной защиты. С этой целью определяется число протекторов в групповой протекторной установке nг.п, необходимое для защиты одной строительной длины кабеля. Расчет необходимого числа протекторов в групповой протекторной установке производится по формуле
Если nг.п £ 8, производится дальнейший расчет групповой протекторной защиты. Если nг.п > 8, рекомендуется применять катодную защиту.
3.142. При невозможности применения катодной защиты и nг.п > 8 производится дополнительный расчет групповой протекторной защиты с соответственно сокращенной в два, три, четыре и т.д. раз зоной защиты каждой группы.
3.143. Число групповых протекторных установок nг, необходимых для защиты кабельной магистрали длиной Lк определяется по формуле
nг = Lк/lк + 1. (3.26)
3.144. Общее число протекторов пs необходимое для установки на данном участке, определяется по формуле
ns = nг.п nг. (3.27)
3.145. Срок службы Tг.п, лет, групповой протекторной установки определяется по формуле
Tг.п = 6,5×10-2×Gп/Iп. (3.28)
Расчет катодной защиты
3.146. При расчете катодной защиты в следующей последовательности определяются.
сила тока катодной станции;
длина защитной зоны;
необходимое число катодных станций;
напряжение и мощность катодной станции;
срок службы анодных заземлений.
3.147. Сила тока, А, катодной станции, Iк, определяется по формуле
Iк = (|jз.макс| - |j0|)/(Rвх + rг/2py), (3.29)
где Rвх - входное сопротивление подземного сооружения постоянному току, Ом (для одного подземного сооружения Rвх определяется по (формулы 3.14 - 3.16), при защите нескольких подземных сооружений, Rвх определяется по (формулы 3.17); jз.макс - максимально допустимая величина защитного потенциала, определяется по табл. 3.10 настоящего Руководства; у - расстояние между анодным заземлением и защищаемым подземным сооружением, м.
Примечание. В практических условиях 50 м ³ y ³ 30 м.
3.148. Длина защитной зоны катодной станции определяется по формуле
lз = Iк/jз. (3.30)
Если lз<Lк, устанавливаются несколько катодных станций.
3.149. Необходимое число, шт., катодных станций (nк) рассчитывается по формуле
nк = Lк/lз. (3.31)
3.150. Напряжение катодной станции (Uк), В, определяется по формуле
Uк = Iк(Rвх + Ra + rдр), (3.32)
где Rа - сопротивление растеканию анодного заземления. Ом; rдр = rтl/s - сопротивление проводов и кабелей, соединяющих катодную станцию с подземным сооружением и анодным заземлением. Ом (где S - сечение провода или кабеля; l - длина соединительных проводов и кабелей, м); rт - удельное электрическое сопротивление проводов или токоведущих жил кабеля, Ом×мм2/м (для меди rт =0,0175, для алюминия rт =0,028).
Определение сопротивления растеканию анодного заземления
Анодное заземление станций катодной защиты выполняется с помощью одиночных вертикальных или горизонтальных стальных заземлителей.
Сопротивление, Ом, растеканию одиночных вертикальных и горизонтальных заземлителей определяется соответственно по формулам:
, (3.33)
, (3.21)
где dв и dг - диаметры заземлителей соответственно вертикального и горизонтального, м, lв - длина вертикального заземлителя, м; hв и hг - глубина закопки соответственно вертикального и горизонтального заземлителей, м.
При установке анодных заземлителей в активаторе их сопротивление, Ом, растеканию определяется соответственно по формулам:
, (3.35)
где laк - длина столба активатора, м; dак - диаметр активатора, м; rак - удельное сопротивление активатора, Ом×м.
При установке стальных заземлителей в активатор из коксовой мелочи rак для расчетов принимается равным 0,5 Ом×м.
Примечание. Если горизонтальные заземлители, устанавливаемые без активатора, применяются не круглые, а ленточные (полосы) прямоугольного сечения, в (формулы 3.34) вместо dг подставляется значение 2b/p, где b - ширина полосы, м. При установке таких электродов в активатор в (формулы 3.36) вместо dак подставляется значение 4с/p, где с - ширина засыпки активатора, м.
При использовании для анодных заземлителей железокремниевых заземлителей типа ЗЖК-12 сопротивление растеканию одиночного вертикального заземлителя определяется по формуле
Rв.ж = 0,34rг + 0,342. (3.37)
Для обеспечения необходимой эффективности станции катодной защиты сопротивление растеканию анодного заземления должно удовлетворять неравенству
Rа £ 3aRпер. (3.38)
Если Rа > 3aRпер, то применяют комбинированные анодные заземления, состоящие из нескольких соединенных между собой вертикальных и горизонтальных электродов. Сопротивление, Ом, растеканию комбинированного анодного заземления определяется по формуле
, (3.39)
где hв - коэффициент взаимовлияния вертикальных электродов; hв.г - коэффициент взаимовлияния вертикальных электродов при влиянии на них горизонтальной полосы; hг.в в - коэффициент взаимовлияния горизонтальной полосы при влиянии на нее вертикальных электродов.
Коэффициенты hв.г и hг.в для расчетов принимаются равными 0,95. Коэффициент взаимовлияния вертикальных электродов hв в зависимости от числа электродов при различных отношениях a/l, где а - расстояние между электродами; l - длина электрода, можно определить по графикам, представленным на рис. 3.2 - 3.3. Расчетные значения сопротивления растеканию некоторых конструкций комбинированных анодных заземлений приведены в табл. П2.3 - П2.7.
Мощность станции катодной защиты (Рк, Вт) определяется по формуле
Рк = Iк/Uк. (3.40)
На основании расчетных значений тока напряжения и мощности выбирается соответствующий тип катодной станции. Основные параметры катодных станций, выпускаемых в настоящее время отечественной промышленностью, приведены в табл. 6.13.
3.151. Срок службы анодных заземлений (Тк, лет) определяется по формуле
где Ga - масса анодного заземления, кг (массы некоторых типов и конструкций анодных заземлений приведены в табл. П2.5 - П2.7), масса железокремниевого заземлителя типа ЗЖК - 12 составляет 12 кг; q - электрический эквивалент растворения металла заземлителя, кг/А×год (для стали q=l0, для стальных электродов в коксовой мелочи q=1, для железокремниевых заземлителей q=0,15).
3.152. Расчет питающей сети и дренажных кабелей должен быть выполнен на основании действующих правил и норм по устройству электрических установок [2].
3.153. Грозозащитные тросы от почвенной коррозии не защищаются.
3.154. Проектирование защиты подземных сооружений связи от коррозии блуждающими токами является составной частью общего проектирования и производится в следующей последовательности:
Рис. 3.2.
Зависимость коэффициента экранирования вертикальных заземлителей в коксовом
активаторе от числа электродов при различном отношении a/l:
а - при длине активатора 1300 мм, б - при длине активатора 1400 мм

Рис. 3.3.
Зависимость коэффициента взаимовлияния горизонтальных заземлителей в коксовом
активаторе от числа электродов при различном отношении a/l:
а - при длине активатора 1300 мм, б - при длине
активатора 1400 мм
установление наличия блуждающих токов в земле по трассе проектируемого сооружения;
определение опасности коррозии блуждающими токами;
выбор схемы защиты;
ориентировочный расчет параметров электродренажной защиты.
3.155. Наличие блуждающих токов в земле по трассе проектируемого сооружения устанавливается путем измерения разности потенциалов между различными точками земли, как это указано в пп. 2.29 - 2.32, или путем измерения разности потенциалов между существующими подземными металлическими сооружениями, которые находятся вблизи проектируемой трассы, и землей (пп. 2.33 - 2.57).
3.156. Определение опасности коррозии блуждающими токами от различных источников может быть выполнено путем теоретических расчетов, как это изложено в [9], на основе электрических измерений на сооружениях, находящихся вблизи трассы предполагаемой прокладки сооружений связи или на уже проложенных сооружениях связи.
3.157. Поскольку определение опасности коррозии блуждающими токами путем теоретических расчетов связано с выполнением большого объема вычислительных работ, с большим числом переменных параметров, входящих в формулы, и дает лишь качественную оценку опасности, рекомендуется расчеты выполнять лишь для небольшого числа простейших случаев.
3.158. Определение опасности коррозии блуждающими токами на основе электрических измерений заключается в измерении разности потенциалов между рельсами и землей или подземными металлическими сооружениями и землей находящимися в зоне проектируемой трассы подземного сооружения связи. Измерения должны проводиться в соответствии, с пп. 2.33 - 2.57.
3.159. Выбор схемы защиты подземного металлического сооружения связи от коррозии блуждающими токами осуществляется исходя из результатов изысканий, в процессе которых определяют расположение анодных, знакопеременных и катодных зон на подземных сооружениях связи.
Установку дренажей проектируют в анодных и знакопеременных зонах с наибольшей амплитудой положительных значений разности потенциалов сооружений «связи - земля».
3.160. В практике проектирования защиты могут иметь место весьма сложные ситуации, которые могут быть разделены на ряд простейших случаев, для которых имеются типовые схемы защиты. В результате применения комплексного метода на базе простейших решений (схем) по защите могут быть составлены более сложные схемы, включающие в себя использование ряда средств и методов защиты.
В табл. 3.12 приведены наиболее часто встречающиеся случаи взаимного расположения трассы защищаемого от коррозии блуждающими токами подземного металлического сооружения связи и источников блуждающих токов, исходные данные для выбора схемы защиты, рекомендуемые мероприятия по защите и рекомендуемые схемы защиты.
3.161. В тех случаях, когда на основании результатов изысканий запроектировать защиту от коррозии блуждающими токами не представляется возможным, проектирование осуществляется по результатам измерений разности потенциалов «сооружение - земля» после прокладки сооружения и проведения опытных включений защитных устройств.
3.162. Параметры электродренажной защиты от коррозии блуждающими токами (величина тока защиты, сопротивление подводящих и дренажных проводов) определяются путем расчета в соответствии с рекомендациями пп. 3.163 - 3.166 или по результатам опытных включений.
3.163. Расчет электродренажной защиты подземного металлического сооружения связи включает:
определение силы тока электродренажных установок и выбор типа дренажного устройства;
расчет сечения дренажного кабеля.
ТАБЛИЦА 3.12
Случаи взаимного расположения кабелей и источников блуждающих токов
|
Исходные данные для выбора схемы |
Рекомендуемые мероприятия по защите |
|
|
1 |
2 |
3 |
|
Трасса проектируемого подземного металлического сооружения связи пересекает электрифицированную железную дорогу постоянного тока: вблизи тяговой подстанции (отсасывающего пункта) (а); на участке между тяговыми подстанциями (б).
Вблизи места пересечения отсутствуют другие подземные металлические сооружения |
Результаты измерения разности потенциалов между рельсами и землей на участке проектируемого пересечения при прохождении поездов в обоих направлениях |
Если рельсы имеют устойчивый положительный потенциал относительно земли, то вновь проложенное сооружение связи будет иметь отрицательный потенциал относительно земли и на участке пересечения предусматривать защиту не следует
Если рельсы имеют отрицательный или знакопеременный потенциал, то вновь проложенное сооружение связи будет иметь положительный или знакопеременный потенциал относительно земли и на участке пересечения следует запроектировать установку прямого (а) или поляризованного (6) электрического дренажа |
|
Трасса проектируемого подземного металлического сооружения связи пересекает электрифицированную железную дорогу постоянного тока.
Вблизи места пересечения имеются другие подземные металлические сооружения, которые не имеют защиты (а); имеют электродренажную защиту (б) |
Результаты одновременных измерений разности потенциалов между существующими подземными сооружениями и землей и существующими сооружениями и рельсами электрифицированной железной дороги. Данные о работе установленного электрического дренажа |
Если на существующем подземном сооружении имеют место положительные или знакопеременные потенциалы относительно земли и рельс, то должна быть предусмотрена электродренажная защита вновь прокладываемого сооружения связи.
По согласованию с владельцем соседнего подземного сооружения может быть предусмотрено устройство совместной защиты (а) Предусматривается устройство совместной электродренажной защиты. В случае необходимости проектом могут быть предусмотрены работы по замене дренажа и усилению дренажных соединений (кабелей, контактов) (б) |
|
Трасса проектируемого металлического сооружения связи проходит на расстоянии до 50 м от электрифицированной железной дороги постоянного тока вблизи тяговой подстанции
|
Результаты измерения разности потенциалов между рельсами и землей на участке сближения проектируемого сооружения с рельсами в районе расположения тяговой подстанции |
Поскольку рельсы в районе расположения тяговой подстанции, как правило, имеют отрицательный потенциал относительно земли проложенные вблизи них подъемные сооружения будут иметь положительный потенциал относительно земли, т.е. подвергаться коррозии. В этих случаях должна быть запроектирована установка поляризованного электрического дренажа на участке сближения
|
|
Трасса проектируемого металлического сооружения связи имеет сближение до 50 м с электрифицированной железной дорогой постоянного тока между тяговыми подстанциями
|
Потенциальная диаграмма рельсовой сети на участке сближения рельс (до 50 м) с трассой проектируемого сооружения связи, полученная на основе - обработки результатов измерений разности потенциалов между рельсами и землей, произведенных на всей длине сближения через каждый километр |
На потенциальной диаграмме могут быть выделены участки, имеющие устойчивые анодные и знакопеременные зоны. Защита подземных сооружений связи, прокладываемых на участках, расположенных вдоль рельсовой сети, имеющей знакопеременный потенциал относительно земли, проектируется путем установки поляризованных электрических дренажей; на участках, расположенных вдоль рельсовой сети и имеющих положительный потенциал, защита не предусматривается
Окончательное число и место установки электродренажных устройств уточняется после прокладки сооружений связи и проведения электрических измерений |
|
Трасса проектируемого подземного металлического сооружения связи имеет сближение с электрифицированной железной дорогой постоянного тока и с трассами других подземных металлических сооружений, имеющих электродренажную защиту при удалении от них менее 50 м
|
Результаты измерения разности потенциалов между существующими подземными металлическими сооружениями, имеющими электродренажную защиту, и землей |
Если на существующем подземном металлическом сооружении, защищенном электрическим дренажом, имеет место катодная зона, то на проектируемом сооружении возникает анодная зона. Для обеспечения защиты в этом случае должна быть запроектирована совместная электродренажная защита
|
|
Трасса проектируемого подземного металлического сооружения связи имеет сближение с электрифицированной железной дорогой постоянного тока и с трассами других подземных металлических сооружений, не имеющих электрической защиты при удалении более 50 м
|
Результаты измерения разности потенциалов между существующими подземными металлическими сооружениями (трубопровод кабель) и землей |
Если на существующем подземном металлическом сооружении, не имеющем электрической защиты, возникают анодные, катодные и знакопеременные зоны, то на проектируемом сооружении могут возникать зоны обратного знака. Для обеспечения защиты в этом случае должна быть запроектирована электродренажная (а) или отдельная автоматическая катодная (б) защита Уточнение метода защиты осуществляется после прокладки проектируемого сооружения связи
|
|
Трасса проектируемого подземного металлического сооружения связи имеет сближение с трассами других подземных металлических сооружений, имеющих катодную защиту внешним током при удалении более чем на 50 м от защищаемого сооружения (а) или анодного заземления (б)
|
Результаты измерения разности потенциалов между вновь проложенным подземным металлическим сооружением связи и землей при включенных и выключенных - установках на соседнем влияющем сооружении |
Если в результате измерений окажется, что катодные установки, оборудованные на соседних подземных металлических сооружениях, оказывают вредное влияние на проложенное подземное металлическое сооружение связи, то возможными средствами защиты может быть индивидуальная или совместная катодная защита |
|
Трасса проектируемого подземного металлического сооружения связи имеет сближение с трассами других подземных металлических сооружений, имеющих катодную защиту внешним током, при удалении менее чем на 50 м от защищаемого сооружения (а) или анодного заземления (б)
|
Результаты измерения разности потенциалов между вновь проложенным под земным сооружением связи и землей при включенных и выключенных катодных установках на соседнем влияющем сооружении |
Если в результате измерений окажется, что катодные установки, оборудованные на соседних подземных металлических сооружениях, оказывают вредное влияние на проложенные подземные металлические сооружения связи, то возможными средствами защиты может быть совместная или индивидуальная катодная защита |
|
Трасса проектируемого подземного металлического сооружения связи пересекает другие подземные металлические сооружения, не имеющие электродренажной или катодной защиты
|
Результаты измерений разности потенциалов между сооружением связи после его прокладки и существующим подземным сооружением |
Если потенциал подземного сооружения связи положителен относительно земли и пересекаемого подземного металлического сооружения то защита сооружения связи на участке пересечения может быть запроектирована в виде поляризованной перемычки (а) или поляризованного токоотвода (б)
|
|
Трасса проектируемого подземного металлического сооружения связи пересекает другие подземные металлические сооружения, имеющие электродренажную защиту; катодную защиту внешним током
|
Результаты измерений разности потенциалов между сооружением связи (после его прокладки) и землей и между сооружением связи и пересекаемым существующим подземным сооружением |
Если потенциал подземного сооружения связи положителен относительно земли и пересекаемого подземного металлического сооружения, имеющего катодную или электродренажную защиту, то защита сооружения связи на участке пересечения проектируется в виде поляризованной перемычки при пересечении подземного сооружения, защищаемого электрическим дренажом (а), и прямой перемычки при пересечении подземного сооружения, защищаемого катодной установкой (б)
|
|
Трасса проектируемого подземного металлического сооружения связи, находящегося в зоне влияния блуждающих токов, пересекает водную преграду (речку, озеро)
|
Результаты измерения разности потенциалов между подземным сооружением связи (после его прокладки) и землей (водой) |
Если потенциал подземного сооружения связи положителен относительно земли (воды), т.е. в районе водной преграды имеет место сброс блуждающих токов, то на сооружении связи проектируется защита в виде изолирующих муфт и поляризованных токоотводов, устанавливаемых с обеих сторон пересечения
|
|
Трасса проектируемого подземного металлического сооружения связи проходит в зоне влияния двух источников блуждающих токов (электрифицированной железной дороги и трамвая) и имеет с ними сближения
|
Результаты измерений разности потенциалов между сооружением связи (после его прокладки) и землей и между сооружением связи и рельсами на участках наибольшего сближения |
Если подземное сооружение связи имеет положительный или знакопеременный потенциал относительно земли и рельс, то проектируется его защита путем оборудования поляризованных или усиленных электрических дренажей на участках сближения. Выбор типа дренажа производится на основании результатов опытных включений
|
|
Трасса проектируемого подземного металлического сооружения связи проходит в зонах расположения рабочих заземлений линий передач постоянного тока системы «провод - земля»
|
Результаты измерений разности потенциалов между сооружением связи (после его прокладки) и землей в зоне влияния токов рабочих заземлений ЛЭП постоянного тока, работающей по системе «провод - земля», при включенной и отключенной передаче |
Если на подземном сооружении связи сказывается вредное влияние блуждающих токов ЛЭП постоянного тока, то на участках влияния должны быть запроектированы катодные установки. Проектом должно быть предусмотрено обеспечение защиты при перемене полярности рабочих заземлений ЛЭП ПТ, т.е. защита сооружений связи, расположенных в зоне влияния обоих рабочих заземлений
|
|
Проектируемое подземное металлическое сооружение связи имеет дистанционное питание усилителей по системе «провод - земля»
|
Нормы и рекомендации, приведенные в «Указаниях по строительству междугородных кабельных линий связи». М. Связь, 1972 |
Дли защиты сооружений связи от коррозии на ОУП должен быть запроектирован прямой электрический дренаж, а рабочие заземления НУП должны быть запроектированы на определенном расстоянии (l) от трассы сооружения, значения которого указаны в табл. 3.8
|
Примечание. Принятые в настоящей таблице условные графические обозначения соответствуют установленным ГОСТ 2.753-71 «ЕСКД. Обозначения условные графические в схемах. Телефонные сети. Линейные сооружения и устройства», ОСТ 453-72 «Обозначения условные графические на схемах организации междугородной проводной связи, радиорелейных линий и радиотрансляционных сетей» и «Указаниям по строительству междугородных кабельных линий связи». М.: Связь, 1972 ГОСТ 9.015-74.
3.164. Силу тока, А, в дренажной цепи определяют из расчета, что ток утечки с рельсов электрифицированной железной дороги в подземное сооружение - связи не превышает 5% от тока нагрузки тяговой подстанции, в зоне действия блуждающих токов которой находятся подземные металлические сооружения - связи:
Iд = 0,05Iт.п,
где Iд - сила тока дренажной установки, А; Iт.п - нагрузка тяговой подстанции, А.
3.165. Максимальное значение силы тока, А, в дренажной цепи определяется по формуле
Iмакс = 0,05Iт.пK1K3K4K5; I’макс = 0,05Iт.пK2K3K4K5,
где K1 - коэффициент, учитывающий расстояние между подземным металлическим сооружением связи и электрифицированной железной дорогой (см. табл. 3.13); K2 - коэффициент, учитывающий расстояние от места пересечения сооружением связи рельса электрифицированной железной дороги до тяговой подстанции (см. табл. 3.14); K3 - коэффициент, учитывающий наличие на подземном металлическом сооружении связи защитных покровов (см. табл. 3.15); K4 - коэффициент, учитывающий изменение состояния защитного покрова во времени (см. табл. 3.16); K5 - коэффициент, учитывающий число параллельно уложенных подземных металлических сооружений связи (см. табл. 3.17).
ТАБЛИЦА 3.13
Значения коэффициента K1
|
Расстояние между сооружением связи и электрифицированной железной дорогой, м |
До 100 |
200 |
300 |
500 |
800 |
1000 |
1500 |
2000 |
3000 |
|
K1 |
1,0 |
0,95 |
0,9 |
0,75 |
0,65 |
0,55 |
0,35 |
0,25 |
0,15 |
ТАБЛИЦА 3.14
Значения коэффициента K2
|
Расстояние от места пересечения сооружением связи рельсовой сети до тяговой подстанции, м |
До 100 |
500 |
1000 |
2000 |
3000 |
6000 |
|
K2 |
1,0 |
0,75 |
0,4 |
0,25 |
0,15 |
0,1 |
ТАБЛИЦА 3.15
Значения коэффициента К3
|
Б без покрова |
Бл; Б2л |
Бп; Шп; БпШп |
|
|
К3 |
1 |
0,5 |
0,001 |
ТАБЛИЦА 3.16
Значения коэффициента K4
|
5 |
3 |
0,5 |
|
|
К4 |
1,0 |
0,9 |
0,75 |
Примечание. Настоящая таблица составлена только для защитных покровов типа Б.
ТАБЛИЦА 3.17
Значения коэффициента К5
|
1 |
2 |
3 |
4 и более |
|
|
К5 |
0,8 |
0,9 |
0,95 |
1,0 |
ТАБЛИЦА 3.18
Значение DUк при подключении дренажного кабеля к минусовой шине
|
Расстояние между сооружением связи и отсасывающим пунктом (минусовой шиной), км |
0,2 |
0,5 |
1,0 |
2,0 |
3,0 |
|
DUк, В |
10 |
11 |
12 |
13 |
14 |
ТАБЛИЦА 3.19
Значение DUк при подключении дренажного кабеля к рельсам
|
Расстояние между сооружением связи и рельсами электрифицированное дороги (путевым дросселем), км |
0,5 |
1,0 |
2,0 |
3,0 |
|
DUк, В |
3 |
5 |
6 |
7 |
3.166. Сечение, мм2, дренажного кабеля определяется по формуле
,
где lк - длина дренажного кабеля, м; DUд - допустимое падение напряжения в дренажной цепи, В; rм - удельное электрическое сопротивление материала проводника, Ом×мм2/м.
При подключении дренажного кабеля непосредственно к минусовой шине тяговой подстанции электрифицированной железной дороги значение DUд = DUк (где DUк - допустимое падение напряжения в дренажном кабеле) берут из табл. 3.18, а при подключении дренажного кабеля к рельсам через среднюю точку путевых дросселей - из табл. 3.19.
При подключении дренажного кабеля к отсасывающим фидерам при расчете сечения дренажного кабеля надо учитывать падение напряжения, В, в фидере, т.е.
DUд = DUк + DUф,
где DUф - падение напряжения в отсасывающем фидере берется по данным организаций, эксплуатирующих систему электропитания.
3.167. Катодные установки для защиты от коррозии блуждающими токами применяются в тех случаях, когда после включения электрического дренажа и - установления наиболее эффективного режима его работы на сооружениях связи остаются незащищенные участки или при удалении сооружений связи от рельсовой сети и пунктов отсасывания на такие расстояния, когда применение электрического дренажа экономически нецелесообразно.
3.168. Усиленный электрический дренаж следует применять в тех случаях, когда на подземном сооружении связи имеется анодная или знакопеременная зона, а потенциал рельс выше потенциала сооружения связи, или когда применение усиленного электрического дренажа может быть технико-экономически оправдано.
3.169. Протекторные установки следует применять для защиты от блуждающих токов в тех случаях, когда величины блуждающих токов в сооружениях связи невелики, а положительная разность потенциалов «сооружение связи - земля» вследствие влияния блуждающих токов увеличивается (по сравнению с естественной) на величину не более 0,1 В. При защите от коррозии блуждающими токами при помощи протекторных установок, оборудуемых в знакопеременных зонах, в их цепи должны включаться вентильные элементы (диоды).
3.170. По вновь прокладываемым трассам после завершения прокладки и монтажа кабелей связи с металлическими оболочками, до приемки их в эксплуатацию, строительной организацией производятся контрольные измерения потенциалов для определения необходимости электрозащиты кабелей. Заключения о результате измерений потенциалов на построенных линиях связи прикладываются к документам при сдаче объекта в эксплуатацию.
В тех случаях, когда на вновь построенных кабелях связи выявляются опасные потенциалы, требующие электрозащиты, разрабатывается проект на защиту в срок не более 6 месяцев с момента получения исходных данных от строительной организации и геоподосновы.
Общие положения
3.171. Проектирование защиты от коррозии существующих металлических сооружений связи включает в себя выполнение следующих работ:
определение опасности коррозии подземного металлического сооружения связи;
выбор защитных мероприятий на основании результатов определения опасности коррозии и технических рекомендаций;
пробные включения и выбор режима работы защитных устройств;
составление проектно - сметной документации в соответствии с пп. 3.20 - 3.86.
Проектирование защиты от почвенной коррозии
3.172. Основными исходными данными при проектировании защиты от почвенной коррозии являются:
наличие на защищаемых сооружениях защитных покрытий и их состояние;
общая характеристика грунтов;
результаты химических анализов грунтов и вод;
состояние подземных сооружений связи и сведения о повреждениях от почтенной коррозии;
потенциальные диаграммы защищаемых сооружений.
3.173. Данные о наличии на защищаемых сооружениях защитных покрытий и их состояние определяются из рабочей документации и протоколов периодических измерений сопротивления изолирующих покрытий.
3.174. Данные об общей характеристике грунтов и вод по трассе протяженного подземного металлического сооружения связи (кабели, прокладываемые в земле и в телефонной канализации, волноводы и т.д.) или в месте установки сооружения (НУП, НРП и др.) определяются путем визуального осмотра в соответствии с рекомендациями гл. 2 настоящего Руководства и измерения удельного сопротивления грунта.
3.175. Характеристика коррозионной активности грунтов и вод определяется по результатам химических анализов проб, взятых с участков, опасных в отношении коррозии, в соответствии с пп. 3.90 - 3.105.
Оценка коррозионной активности грунтов и вод должна производиться по табл. 3.1 - 3.4 в зависимости от вида металла сооружения.
3.176. Данные о состоянии подземных сооружений связи и их повреждениях от почвенной коррозии получают из актов повреждений сооружений связи.
3.177. Мероприятия по защите подземных металлических сооружений связи от почвенной коррозии намечаются в соответствии с выявленными на трассе агрессивными участками и в соответствии с качеством защитных покровов на кабелях и изолирующих покрытий на сооружениях.
3.178. Основными мероприятиями по защите существующих подземных металлических сооружений связи от почвенной коррозии являются: протекторная защита и катодная защита внешним током.
3.179. Выбор защитных устройств (протекторов, катодных станций), места их включения и оценка возможности и целесообразности их применения производятся на основании электрических измерений разности потенциалов «сооружение - земля» при пробном включении выбранных устройств.
3.180. Пробное включение защитных устройств и выбор режима их работы выполняются на характерных участках, результаты исследований на которых позволяют использовать их для аналогичных участков (указания по пробному включению даны в пп. 4.61 - 4.81).
3.181. При всех пробных включениях и установке защитных устройств необходимо одновременно с измерениями на защищаемом сооружении производить измерения на соседних подземных металлических сооружениях. Опасность в отношении коррозии на этих сооружениях при включении защитных устройств на защищаемом сооружении связи не должна увеличиваться или появляться. В противном случае проектом намечаются мероприятия по совместной защите.
3.182. Защита существующих подземных металлических сооружений связи, имеющих изолирующие покровы, например кабели в алюминиевых и стальных гофрированных оболочках, и не имеющих таких покровов, должна проектироваться на основании расчетов с учетом существующей величины сопротивления изоляции оболочки по отношению к земле.
3.183. Выбор и размещение средств электрохимической защиты от почвенной коррозии кабелей связи без изолирующих покровов и с изолирующими покровами производятся на основании расчета.
3.184. Протекторы должны размещаться в 3 м от кабеля, а при групповой защите - в 3 - 6 м. При применении групповой протекторной защиты расстояние между отдельными протекторами в группе должно быть не менее 3 м. Выводы от каждого из протекторов должны подводиться к клеммному щитку КИП раздельно.
3.185. Целесообразность применения протекторной защиты на кабелях, имеющих пониженное сопротивление изоляции оболочки по отношению к земле, определяется технико-экономическими соображениями.
Проектирование защиты от коррозии блуждающими токами
3.186. Основными исходными данными при проектировании защиты от коррозии блуждающими токами являются:
конструкция и электрические характеристики подземных сооружений связи (типы кабелей, НУП и т.д., наличие изолирующих покровов, величина продольных и переходных сопротивлений и т.п.);
схема взаимного расположения подземных металлических сооружений связи и источников блуждающих токов;
результаты измерения разности потенциалов между подземными сооружениями связи и окружающей средой;
результаты измерения разности потенциалов между подземными сооружениями связи и другими подземными сооружениями и рельсами электрифицированного транспорта, находящимися в соседстве с сооружениями связи;
результаты измерения величины и направления тока в сооружениях, защита от коррозии которых проектируется;
данные о наличии устройств защиты на соседних сооружениях;
результаты измерения удельного сопротивления грунта;
данные о повреждениях подземных сооружений связи коррозией блуждающими токами.
3.187. Схема взаимного расположения подземных металлических сооружений связи и источников блуждающих токов составляется на основе исполнительной документации, данные которой должны быть в случае необходимости проверены на местности.
3.188. Конструктивные и электрические характеристики подземных сооружений определяют по исполнительной документации и результатам электрических измерений.
3.189. По результатам измерений разности потенциалов между сооружением связи и землей, между сооружением связи и другими подземными металлическими сооружениями строятся потенциальные диаграммы, на основании которых определяются участки, опасные в отношении коррозии блуждающими токами.
3.190. Выбор наиболее рациональных мест установки устройств защиты (электрических дренажей, токоотводов и т.д.) осуществляется на основе результатов измерения величины и направления блуждающего тока в защищаемых сооружениях и разности потенциалов «сооружение - земля» и «рельс - сооружение».
3.191. Целесообразность и необходимость осуществления совместной защиты определяются на основе наличия и степени влияния устройств защиты соседних сооружений на сооружения связи.
3.192. При расчетах защиты анодных заземлений катодных установок, токоотводов и т.д. должны использоваться результаты измерения удельного сопротивления грунта, пересчитанные к максимально возможным значениям.
3.193. Места, в наибольшей степени подверженные коррозии блуждающими токами, устанавливаются на основе данных о повреждениях подземных сооружений связи блуждающими токами, получаемых из актов повреждений.
3.194. Мероприятия по защите подземных сооружений связи от коррозии блуждающими токами намечаются в соответствии с выявленными на трассе, а также в местах расположения подземных сооружений связи, анодных или знакопеременных зон, являющихся причиной коррозии сооружений связи.
3.195. Основными мероприятиями по защите существующих подземных металлических сооружений связи от коррозии блуждающими токами являются:
поляризованная протекторная защита;
катодная защита внешним током;
электродренажная защита;
поляризованные токоотводы;
изолирующие муфты.
3.196. Выбор защитного устройства (поляризованных протекторов, катодных станций, электрических дренажей и т.д.), места его включения и оценка возможности и целесообразности его применения производятся на основании электрических измерений разности потенциалов «сооружение - земля» при пробном включении выбранного устройства или нескольких устройств.
3.197. Пробное включение защитных устройств и выбор режима работы выполняются в соответствии с пп. 4.61 - 4.81.
3.198. При всех пробных включениях и установке защитных устройств необходимо одновременно с измерениями потенциалов на защищаемом сооружении связи производить измерения на соседних подземных металлических сооружениях. Опасность коррозии на этих сооружениях при включении защитных устройств на защищаемых сооружениях связи не должна увеличиваться или появляться. В противном случае проектом намечаются мероприятия по совместной защите от коррозии.
Проектирование совместной электрохимической защиты
3.199. Совместная защита подземных металлических сооружений связи между собой и подземными сооружениями других министерств и ведомств осуществляется с целью повышения эффективности защиты от почвенной коррозии и электрокоррозии, уменьшения затрат на ее устройство, а также для предотвращения вредного влияния защищенных сооружений на соседние незащищенные.
3.200. Осуществление совместной защиты подземных сооружений связи допускается со всеми видами подземных металлических сооружений. При совместной защите подземных сооружений связи и высоковольтных кабелей должны быть приняты меры, обеспечивающие безопасную эксплуатацию всего комплекса защищаемых сооружений (включение в перемычки предохранителей, разрядников, отключение защиты на период производства работ и т.д.).
3.201. Проектирование совместной защиты производится в следующей последовательности:
устанавливаются необходимость и целесообразность совместной защиты на основании исходных данных или путем теоретических расчетов [10];
выбирается схема и производится ориентировочный расчет параметров совместной защиты.
3.202. Совместную электрохимическую защиту подземных металлических сооружений целесообразно применять в случаях, когда
а) сооружения проложены параллельно или под небольшим углом на расстоянии не более 50 м друг от друга.
Примечание. При расстоянии между сооружениями от 50 до 400 м для решения вопроса о применении совместной защиты необходимо проведение теоретических расчетов или электрических измерений.
Если в этом случае окажется, что защищаемое сооружение оказывает вредное влияние на другое сооружение, то решение о применении совместной защиты должно быть подтверждено технико-экономическим обоснованием;
б) сооружения пересекаются между собой;
в) анодное заземление катодной установки, оборудованной, на соседнем сооружении, оказывает вредное влияние на расположенные вблизи него незащищенные сооружения.
3.203. Осуществление совместной катодной и дренажной защиты на участках сближений и пересечений производится путем устройства прямых, регулируемых или вентильных перемычек между подземными сооружениями, включаемыми в систему совместной защиты.
3.204. При совместной электрохимической защите подземных сооружений связи с другими подземными сооружениями для предотвращения перетекания тока на сооружения связи следует применять перемычки, оборудованные вентильными устройствами.
3.205. Выбор схемы совместной защиты производится на основании анализа исходных данных. Некоторые типичные случаи возможного устройства совместной защиты трубопроводов и междугородных кабелей связи при их различном взаимном расположении приведены на рис. 3.4, 3.5, а для условий городов - на рис. 3.6.
3.206. Расчет совместной катодной защиты производится аналогично приведенному в пп. 3.131 - 3.152 расчету. При этом в расчетные формулы для определения основных параметров электрохимической защиты подставляют эквивалентные значения величин, определяющих электрические характеристики всего комплекса совместно защищаемых подземных металлических сооружений.
3.207. Расчет совместной электродренажной защиты производится аналогично приведенному в пп. 3.163 - 3.166 расчету. При этом в расчетные формулы для определения основных параметров электродренажной защиты подставляются эквивалентные значения, определяющие электрические характеристики всего комплекса совместно защищаемых подземных металлических сооружений.
Рис. 3.4.
Схемы совместной электродренажной защиты трубопроводов и кабелей связи при их
различном взаимном расположении.
1 - железная дорога; 2 - трубопровод; 3 -
кабель; 4 - тяговая подстанция; 5 - поляризованный электрический дренаж; 6 -
вентильная перемычка; 7 - возможное место установки вентильной перемычки
3.208. Расчет электрических параметров перемычек, устанавливаемых при совместной защите, производится по следующим формулам:
максимальный ток, А, в перемычке
Iмакс.пер = IперDUмакс/DUср,
где Iпер - расчетное значение тока в перемычке, А; DUмакс - измеренное или расчетное значение максимальной разности потенциалов между сооружениями, В; DUср - измеренное или расчетное значение средней разности потенциалов между сооружениями, В;
сопротивление, Ом, регулировочного реостата в перемычке
Rpег = 2(Rпер - rмl/S),
где Rпер - измеренная или расчетная величина сопротивления перемычки, Ом; rм - удельное электрическое сопротивление материала перемычки, Ом - мм2/м; l - длина перемычки, м; S - сечение проводника перемычки, мм2;
сечение проводника вентильной перемычки
S = 2rмl/(Rпер - Rвен),
где Rвен - сопротивление вентильного элемента в прямом направлении при нормальном режиме работы перемычки, определяемое по вольт - амперной характеристике диода, Ом;
регулировочное сопротивление, Ом, вентильной перемычки
Rрег = 2(Rпер -rм /S - Rвен).
Рис. 3.5.
Схемы совместной катодной защиты кабелей связи и трубопроводов при их различном
взаимном расположении:
1 - трубопровод; 2 - кабель; 3 - катодная
станция; 4 - регулируемая перемычка; 5 - защитное заземление; 6 - перемычка; 7
- возможная перемычка; 8 - анодное заземление
3.209. Расстояние, м, от места подключения катодной станции или электрического дренажа до места подключения дополнительной перемычки;
Lп = (2Lмин + Lмакс)/6,
где Lмин - минимальная зона защиты на сооружении, объединяемом совместной защитой, м; Lмакс - максимальная зона защиты на сооружении, объединяемом совместной защитой, м.
Рис. 3.6.
Возможные схемы совместной защиты в условиях города:
1 - рельс; 2 - вентильная перемычка; 3 -
кабель; 4 - трубопровод; 5 - анодное заземление; 6 - силовой кабель; 7 -
газопровод; 8 - теплосеть; 9 - защитное заземление
Проектирование защиты от коррозии цистерн НУП
3.210. Металлические цистерны НУП подлежат защите от почвенной коррозии и коррозии блуждающими токами.
3.211. Опасность почвенной коррозии цистерн НУП оценивается в соответствии с п. 3.105.
3.212. Опасность коррозии блуждающими токами оценивается на основании исходных данных в соответствии с п. 3.87.
3.213. Защита цистерн НУП от почвенной коррозии производится с помощью протекторных установок. Для защиты вертикальных НУП устанавливаются два протектора, для защиты горизонтальных НУП - четыре или шесть протекторов (см. п. 4.128).
В тех случаях, когда протекторы используются в качестве защитного заземления, их число определяется расчетом, исходя из требуемой нормы сопротивления заземления.
3.214. При защите горизонтальных и вертикальных цистерн НУП протекторы устанавливаются вблизи обваловки по окружности на расстоянии не менее 3 м от цистерн. При защите НУП без обваловки расстояние между протекторами и цистерной, независимо от характера грунта, принимается равным 3 м.
3.215. Глубина заложения протекторов от их верхней кромки составляет 1,5 м. Если промерзание грунта превышает 1,4 м, глубина закопки протекторов соответственно увеличивается.
3.216. Соединительные проводники от протекторов (групп протекторов) должны подключаться к специальному щитку, устанавливаемому в наземной части НУП. К этому же щитку должен быть подведен соединительный провод от цистерн НУП.
3.217. При защите цистерн НУП от почвенной коррозии с помощью протекторных установок цистерны должны быть электрически изолированы от кабелей при помощи муфт типов ГМСИ, МИС или МИ. Для обеспечения эффективной электрохимической защиты цистерны не должны иметь электрического - контакта с рабочими и защитными заземлениями, а также арматурой фундамента.
Изолирующие муфты на кабелях устанавливаются под полом в наземной части вертикальных цистерн НУП и непосредственно в грунте на расстоянии 5 м от цистерны при вводах кабелей в горизонтальные НУП.
3.218. Защита цистерн НУП от коррозии блуждающими токами осуществляется совместно с кабелем. При этом на вновь строящихся магистралях установка изолирующих муфт не предусматривается, а при проектировании защиты НУП существующих магистралей установленные ранее изолирующие муфты должны быть зашунтированы.
3.219. При электрохимической защите от почвенной коррозии и коррозии блуждающими токами потенциал цистерны по отношению к медносульфатному электроду сравнения должен находиться в пределах от - 0,85 до - 1,10 В.
Проектирование защиты от межкристаллитной коррозии
3.220. Основными исходными данными при проектировании защиты от межкристаллитной коррозии являются:
наличие на проектируемой трассе участков с повышенным уровнем вибрации от различных источников (мосты железных и шоссейных дорог, участки наибольших сближений и пересечений с грузонапряженными железными и шоссейными дорогами, участки прохождения кабелей по площадкам промышленных предприятий и т.д.);
случаи межкристаллитной коррозии на кабелях, проложенных по трассам, совпадающим с проектируемыми;
результаты оценки коррозионной активности грунтов и определения блуждающих токов.
3.221. Установление мест, в наибольшей степени подверженных межкристаллитной коррозии, и выбор наиболее рациональных средств защиты от нее осуществляются на основе анализа исходных данных.
3.222. Мероприятия по защите от межкристаллитной коррозии приведены в п. 1.45.
4.2. Перед осуществлением защиты необходимо проверить:
выполнение технических требований по ограничению токов в земле, которые предъявляются к источникам блуждающих токов ГОСТ 9.015-74;
выполнение требований, предъявляемых ГОСТ 9.015-74 к взаимному расположению источников блуждающих токов и подземных металлических сооружений;
соответствие проекту режима работы и числа источников блуждающих токов, обследованных ранее, в период составления проекта.
Примечание. Если в проекте учтены не все источники блуждающих токов или изменился режим их работы (развитие рельсовой сети, изменение схемы питания и т.д), то защита осуществляется только после внесения в проект изменений.
4.3. Работы по защите от коррозии вновь проложенных сооружений связи осуществляются в следующей последовательности:
в районе запроектированных мест установки защитных устройств производятся измерения разности потенциалов подземных сооружений связи и рельсов относительно земли, а также разности потенциалов «подземное сооружение связи - рельсы».
Примечание. Разности потенциалов «подземное сооружение связи - рельсы», а также потенциалы рельсов относительно земли измеряются только при необходимости установки прямого, поляризованного или усиленного дренажа;
на основании анализа результатов измерений уточняются места установки защитных устройств, предусмотренных проектам;
на уточненных местах установки защитных устройств производятся пробное включение, регулировка и подбор режима их работы таким образом, чтобы на сооружении связи не оставалось участков, опасных в отношении коррозии;
одновременно с подбором режима работы защитных устройств измеряются разности потенциалов соседних подземных металлических сооружений относительно земли.
уменьшение по абсолютной величине минимального или увеличение по абсолютной величине максимального защитного потенциала на соседних металлических сооружениях, имеющих катодную поляризацию;
появление опасности электрохимической коррозии на соседних подземных металлических сооружениях, ранее не требовавших защиты от нее.
4.5. В случаях, когда при осуществлении катодной поляризации нельзя избежать вредного влияния на соседние металлические сооружения, должны осуществляться совместная защита этих сооружений или другие меры, устраняющие вредное влияние (установка защитных устройств на соседнем сооружении, изменение режима работы защитных устройств на влияющем сооружении и т.д.)
4.6. После выбора мест установки защитных устройств и определения режима их работы в зоне действия защитных устройств проводятся контрольные измерения потенциалов на защищаемый сооружениях связи и соседних подземных сооружениях. По результатам этих измерений составляется акт, который подписывается также представителями организаций, в ведении которых находятся соседние подземные сооружения.
На уточненных местах устанавливаются, монтируются и включаются запроектированные средства защиты.
4.7. Работы по защите от коррозии сооружений связи, находящихся в эксплуатации, производятся в следующей последовательности:
в соответствии с проектом устанавливаются, монтируются и включаются защитные устройства;
в зоне действия защитных устройств проводятся контрольные измерения, указанные в п. 2.3, и составляется акт о результатах этих измерений, который подписывается также представителями организаций, в ведении которых находятся соседние подземные металлические сооружения.
Применение защитных покровов
4.8. Защитные покровы кабелей связи должны удовлетворять требованиям ГОСТ 7006-72.
Тип защитного покрова кабелей должен выбираться в зависимости от условий прокладки кабеля и наличия механических воздействий в соответствии с требованиями табл. 6.1.
4.9. Защитные покровы на муфтах по своим изолирующим свойствам должны соответствовать изолирующим свойствам покрова основного сооружения.
4.10. При выборе средств защиты от коррозии рассматриваются, в первую очередь, возможность и целесообразность применения кабелей, имеющих защитные изолирующие покровы шлангового типа.
Такие кабели наиболее целесообразно применять при большой протяженности коррозионно-опасных участков.
Применение изолирующих муфт
4.11. Изолирующие муфты следует устанавливать в следующих случаях:
на стыках кабелей с разнородными металлическими оболочками с целью исключения возникновения гальванических пар, приводящих к возникновению процессов коррозии;
на вводах кабелей связи с шланговыми изолирующими покровами в обслуживаемые и необслуживаемые усилительные пункты и телефонные станции с целью контроля сопротивления изоляции шланга;
на стыках кабелей без защитных покровов с кабелями, имеющими шланговые изолирующие покровы, для контроля сопротивления изоляции шланга;
Примечание. К кабелям марки МКОГШп со свинцовой оболочкой и полиэтиленовым наружным шлангом данный пункт не относится;
при необходимости увеличения продольного сопротивления кабеля связи в целью уменьшения влияния блуждающих токов (на участках сближений и пересечений с рельсами электрифицированного транспорта, а также на переходах через реки и другие водные преграды);
при необходимости, выделении из кабельной магистрали участка, подлежащего электрохимической защите;
для обеспечения изоляции цистерны НУП от вводимых в нее кабелей;
на всех кабелях, выходящих за пределы сооружений метрополитена, с целью уменьшения величины блуждающих токов в кабелях.
Места остановки изолирующих муфт определяются соответствующими указаниями по строительству городских и междугородных кабельных линий связи.
Применение кабельной телефонной канализации
4.12. Прокладка кабелей связи по территории города должна осуществляться в кабельной телефонной канализации, тоннелях и коллекторах.
4.13. При пересечении кабелями шоссейных и железных дорог, а также при прокладке их по мостам они должны укладываться в неметаллических трубах, блоках и каналах.
4.14. При прокладке кабелей в кабельной телефонной канализации должны быть предусмотрены меры по отводу из нее грунтовых и других вод.
Применение электродренажных установок
4.15. Прямой электрический дренаж следует применять только в тех случаях, когда исключена возможность стекания токов с рельсов (либо отрицательной шины подстанции) в защищаемое подземное сооружение связи.
4.16. Поляризованный дренаж следует применять, когда потенциал защищаемого сооружения положительный или знакопеременный по отношению к рельсам или отрицательной шине тяговой подстанции и по отношению к земле, а также, когда разность потенциалов «сооружение - рельсы» больше разности «сооружение - земля».
4.17. Усиленный электрический дренаж следует применять в тех случаях, когда на подземном сооружении имеется опасная зона, а потенциал рельса выше потенциала подземного сооружения, либо в других случаях, когда его применение может быть технико-экономически оправдано.
4.18. Непосредственное присоединение остановок дренажной защиты к отрицательным шинам тяговых подстанций трамвая не допускается.
4.19. Присоединение установок дренажной защиты к сборке отрицательных питающих линий тяговых подстанций электрифицированных железных дорог допускается в тех случаях, когда их подключение к пункту присоединения отрицательных питающих линий к рельсам не обеспечивает защиту подземного сооружения от коррозии блуждающими токами.
4.20. Среднечасовой ток всех установок дренажной защиты, подключенных к рельсовому пути или сборке отрицательных питающих линий магистральной электрифицированной железной дороги в районе питания, не должен превышать 25% общей нагрузки данной тяговой подстанции.
Методика определения среднесуточного тока дренажных установок приведена в приложении 4 к ГОСТ 9.015-74.
Примечание. Настоящий пункт не распространяется на защиту подземных сооружений городов, имеющих разветвленную сеть электрифицированных путей и подземных коммуникаций.
4.21. Присоединение усиленного дренажа к рельсовым путям электрифицированных железных дорог не должно приводить к появлению положительных потенциалов в точке отсоса в часы интенсивного движения поездов. Ток усиленного дренажа в часы интенсивного движения поездов должен быть ограничен значением, при котором не устанавливаются устойчивые положительные потенциалы на рельсах в пункте присоединения усиленного дренажа.
Не допускается присоединять усиленный дренаж в анодных зонах рельсовой сети, а также к рельсам деповских путей.
4.22. Подключение установок дренажной защиты на электрифицированных железных дорогах не должно нарушать нормальную работу устройств ОЦБ. Поляризованный или усиленный дренаж допускается присоединять при двух-ниточных рельсовых цепях к средним точкам путевых дросселей не чаще, чем через три рельсовые цепи (через два дроссельных стыка на третий); при одно-ниточных цепях - к тяговой нити.
Допускается подключать установки дренажной защиты в (каждом дроссельном пункте при сопротивлении цепи дренажа 5 Ом и более для сигнального тока частотой 50 Гц, что может обеспечиваться включением в цепь дренажа защитного дросселя.
Усиленный или автоматический усиленный дренаж допускается подключать к рельсовым путям, оборудованным автоблокировкой, лишь при условии, что величина напряжения (или тока) гармонических составляющих на выходе выпрямителя (или в цепи дренажа) не превышает уровень величин, приведенных в табл. 4.1.
ТАБЛИЦА 4.1
Допустимые величины напряжения и тока гармонических составляющих на выходе выпрямителя
|
Напряжение гармоники частотой, В |
Ток гармоники частотой 100 Гц в цепи дренажа, А |
||
|
50 Гц |
100 Гц |
||
|
Тяговая нить однониточной рельсовой цепи с непрерывным питанием током частотой 50 Гц |
0,3 |
2,2 |
7 |
|
Средняя точка путевого дроссель - трансформатора релейного или питающего концов рельсовых цепей: |
|||
|
кодовых и с непрерывным питанием током частотой 25 или 50 Гц с АЛС |
0,1 |
0,4 |
1,2 |
|
с питанием током частотой 25 Гц без АЛС |
7,5 |
4,5 |
15 |
Примечание. Методика измерений гармонических составляющих приведена в ГОСТ 9.015-74, приложение 4.
4.23. Дренажная защита подземных металлических сооружений связи должна осуществляться при минимальном значении средней величины дренажного тока, обеспечивающего защиту сооружения.
4.24. Кабели связи, прокладываемые в земле, должны быть изолированы от устройств и конструкций, соединенных с рельсами электрифицированных путей наглухо или через метровые промежутки.
4.25. Подключение устройств дренажной защиты к рельсовым цепям метрополитена не допускается.
4.26. Устройства дренажной защиты подключаются только к тем источникам блуждающих токов, которые оказывают влияние на защищаемые сооружения.
Применение токоотводов
4.27. Токоотводы следует применять для защиты от коррозии блуждающими токами в анодных (прямые токоотводы) и знакопеременных (поляризованные токоотводы) зонах в качестве дополнительных мер защиты, а также при установке изолирующих муфт.
4.28. В качестве заземлителей токоотвода используются стальные трубы, уголки, а также одиночные или групповые протекторные установки.
4.29. Эффективность действия токоотвода зависит от величины сопротивления заземления и соединительного провода, а также от разности потенциалов между сооружением и той точкой земли, в которой расположено заземление (до включения токоотвода).
Чем меньше сопротивление токоотвода и больше разность потенциалов между защищаемым сооружением и токоотводом, тем выше его эффективность и тем больше зона защиты токоотводом.
4.30. Величина сопротивления заземления токоотвода не должна превышать 10 Ом при rг £ 100 Ом×м; 20 Ом при 100 < rг £ 500 Ом×м и 30 Ом при rг > 500 Ом×м.
4.31. Возможность применения токоотводов и эффективность их действия следует определять либо экспериментально путем тройных включений и соответствующих измерений, либо расчетом.
4.32. Для поляризованных токоотводов следует применять полупроводниковые диоды на величину дренируемого тока, которые имеют малое сопротивление при действующих разностях потенциалов «сооружение связи - токоотвод».
Применение электрических перемычек, оборудуемых при совместной защите
4.33. Для повышения эффективности противокоррозионной защиты и уменьшения затрат на ее осуществление следует применять совместную электрическую защиту подземных сооружений связи и близко расположенных к ним других подземных металлических сооружений, если это допустимо по условиям эксплуатации этих сооружений.
4.34. Для обеспечения электрического соединения между собой совместно защищаемых сооружений используются специальные электрические перемычки: прямые, регулируемые и вентильные.
4.35. Прямой электрической перемычкой называется непосредственное соединение проводником двух или более подземных металлических сооружений между собой.
Прямые электрические перемычки, как правило, устанавливаются для выравнивания потенциалов сооружений одного назначения, имеющих соизмеримые значения продольного и переходного сопротивлений, при отсутствии необходимости регулирования величины и направления тока в перемычке.
4.36. Прямые электрические перемычки следует применять в следующих случаях:
при параллельной прокладке кабелей связи в одной траншее или в кабельной телефонной канализации;
при пересечении кабелей связи между собой;
в местах подключения защитных устройств.
4.37. Регулируемой электрической перемычкой называется такое соединение между подземными металлическими сооружениями, которое позволяет регулировать величину тока в нем путем изменения сопротивления перемычки.
Регулируемые электрические перемычки, как правило, устанавливаются между подземными сооружениями, имеющими различную продольную проводимость и переходное сопротивление, а также в тех местах, где не требуется обеспечение протекания тока только в одном направлении.
4.38. Регулируемые электрические перемычки следует устанавливать между различными видами подземных металлических сооружений (кабели связи, трубопроводы, газопроводы, водопроводы, продуктопроводы и т.п.) и на участках пересечений и сближения этих сооружений между собой.
4.39. Вентильной электрической перемычкой называется такое соединение между двумя или более подземными металлическими сооружениями, которое позволяет осуществить одностороннее протекание тока с одновременной регулировкой его величины.
4.40. Вентильные электрические перемычки рекомендуется применять для предотвращения перетекания тока из одного сооружения в другое (например, с трубопровода в кабель связи при выходе из строя общей защитной установки).
4.41. В тех случаях, когда на одном из совместно защищаемых сооружений требуется поддерживать защитные потенциалы в заданных пределах, целесообразно применять вентильные электрические перемычки с автоматическим регулированием.
Применение установок протекторной защиты
4.42. Протекторные установки (простые или поляризованные) следует применять для защиты от почвенной коррозии и электрокоррозии в анодных или знакопеременных зонах когда протекторы могут обеспечить требуемую величину защитного потенциала и когда эта мера технико-экономически оправдана.
4.43. Протекторная защита подземных металлических сооружений связи, осуществляется преимущественно там, где нет источников электроэнергии.
4.44. Протекторная защита осуществляется путем использования одиночных или групповых прожекторных установок. Схемы расстановки протекторов выбираются с учетом технико-экономических показателей применительно к конкретному проектируемому или действующему сооружению.
4.45. Групповые протекторные установки устраиваются из нескольких протекторов.
Число протекторов в групповой протекторной установке определяется расчетом, причем применять в каждой группе более восьми протекторов не рекомендуется.
4.46. Поляризованные протекторы следует применять при влиянии блуждающего тока промышленной частоты 50 Гц или в знакопеременных зонах постоянного блуждающего тока в грунтах с удельным сопротивлением не выше 60 Ом×м.
4.47. Расстояние между протекторной установкой и защищаемым сооружением должно быть:
для одиночных - не менее 3 м;
для групповых протекторных установок - не менее 6 м.
Расстояние между отдельными протекторами в групповой протекторной установке должно быть не менее 3 м.
4.48. Одиночные протекторные установки подключаются к защищаемым сооружениям через КИП - 1 и, как правило, в соединительных муфтах.
4.49. Групповые протекторные установки подключаются к защищаемым сооружениям через КИП - 2 и, как правило, в соединительных муфтах.
Допускается подключение групповых протекторных установок на расстояниях, равных 1/2; 1/4 и 1/8 строительной длины кабеля.
Применение установок катодной защиты
4.50. Катодные установки следует применять для защиты сооружений связи от почвенной коррозии, а также электрокоррозии в тех случаях, когда устройство поляризованного, и усиленного электрического дренажа неэффективно или нецелесообразно по технико-экономическим соображениям.
4.51. Установки катодной защиты применяются преимущественно на участках, где имеются источники электроэнергии. При необходимости для питания катодных станций подводится электроэнергия силовыми кабелями или воздушной линией.
4.52. Анодные заземления катодных установок следует располагать в стороне, противоположной существующим трассам сооружений, за исключением участков со стесненными условиями.
4.53. Тип анодного заземления выбирают в зависимости от требуемой величины сопротивления заземления, удельного сопротивления грунта и глубины его промерзания, от расположения соседних подземных металлических сооружений и других факторов с учетом технико-экономических показателей.
4.54. При катодной защите сложных сетей городских подземных металлических сооружений и при невозможности удаления анодного заземления от сооружения связи целесообразно применять глубинные анодные заземления.
4.55. Анодные заземления должны выполняться с преимущественным использованием малорастворимых электродов (графитированных, железокремниевых и др.).
Применение автоматических установок электрохимической защиты
4.56. Устройства с автоматическим регулированием предназначаются для защиты от коррозии подземных металлических сооружений связи в тех случаях, когда конструкции защищаемых сооружений и условия их эксплуатации требуют поддержания на них заданных величин защитных потенциалов.
4.57. В практике защиты сооружений связи от коррозии находят применение катодные станции и усиленные дренажи с автоматическим регулированием.
Для автоматизации существующих обычных катодных станций могут быть применены специальные блоки автоматизации.
4.58. Катодные установки с автоматическим регулированием следует применять при защите:
сооружений связи от почвенной коррозии в случае значительных колебаний напряжения питающей сети;
от почвенной коррозии кабелей связи в алюминиевых оболочках с покровами ленточного типа;
сооружений связи от коррозии, вызываемой блуждающими токами, когда электродренажная защита не может быть применена или неэффективна;
при совместной защите сооружений связи с другими видами подземных металлических сооружений от почвенной коррозии или коррозии блуждающими токами.
Примечание. Для электрохимической защиты сооружений связи, находящихся в знакопеременных зонах блуждающий токов с периодическими большими значениями катодного и анодного потенциалов следует применять установки реверсивной автоматической катодной защиты.
4.59. Усиленные электродренажные установки с автоматическим регулированием следует применять:
при защите подземных металлических сооружений связи от коррозии, вызываемой блуждающими токами, в случаях, когда их применение технико-экономически оправдано и при этом требуется поддержание на защищаемом сооружении заданной величины потенциала;
при одновременной защите от почвенной коррозии и коррозии блуждающими токами;
при совместной защите сооружений связи с другими видами подземных металлических сооружений от коррозии блуждающими токами.
4.60. Блоки автоматизации катодных станций следует применять при необходимости автоматизации обычных катодных установок и усиленных дренажей.
Для вновь прокладываемых сооружений места включения защитных устройств намечаются проектом защиты этих сооружений, а затем уточняются после прокладки сооружения путем пробных включений.
4.62. Место включения электродренажного устройства (прямого, поляризованного, усиленного, автоматического усиленного) уточняется по результатам измерений потенциала сооружения и рельсов относительно земли в районе запроектированного места включения дренажной установки.
4.63. Пробное включение электрических дренажей на подземных сооружениях связи и на источниках блуждающих токов производится:
прямых дренажей - в местах, где среднее измеренное значение потенциала сооружения связи по отношению к земле и рельсам является всегда положительным и по возможности максимальным;
поляризованных дренажей - в местах, где среднее измеренное значение положительного потенциала оболочки является по возможности максимальным;
усиленных (автоматических усиленных) дренажей - в местах, где среднее измеренное значение положительного потенциала кабеля является по возможности максимальным и имеется возможность подключения электроэнергии;
на трамвайных сетях - к рельсам, отсасывающему пункту, сборкам отсасывающих линий;
на электрифицированных железных дорогах - при двухниточных рельсовых цепях - к средним точкам путевых дросселей не чаще, чем через три рельсовые цепи (через два дроссельных стыка на третий), при однониточных рельсовых цепях - к тяговой нити или к сборке отрицательных питающих линий тяговых подстанций.
4.64. С целью уменьшения затрат на дренажные кабели места включения дренажа на сооружении связи и рельсах должны находиться по возможности ближе друг к другу.
Если места предполагаемого включения на сооружении связи и рельсах, удовлетворяющие вышеуказанным требованиям, находятся на значительном расстоянии друг от друга, то необходимо пробное включение осуществлять в других местах на сооружении и рельсах, расположенных ближе друг к другу.
4.65. При пробном включении дренажа определяют зону защиты на сооружении, ток в цепи и сопротивление реостата дренажа.
4.66. Протяженность зоны защиты дренажом и параметры дренажной защиты определяются на основании измерений потенциала сооружения связи относительно земли и тока в цепи дренажа при определенном сопротивлении дренажа.
Схемы пробного включения дренажа показаны на рис. 4.1 и 4.2.
Для пробного включения берется дренаж, предусмотренный проектом, а в качестве дренажного кабеля используется такой изолированный проводник, площадь поперечного сечения которого по меди (алюминию) равна или близка площади сечения запроектированного дренажного кабеля.
4.67. Ток в цепи дренажа и сопротивление реостата дренажа, необходимые, для полной защиты сооружений связи, определяются в следующей последовательности:
включается дренаж;
при помощи реостата дренажа устанавливается такая величина тока, при которой отрицательный потенциал на всей длине сооружения связи, подлежащей защите, будет не менее, (по абсолютной величине) значения минимального защитного потенциала и не более максимально допустимого потенциала. Ток в цепи дренажа измеряется при помощи переносного амперметра (c нулем посередине шкалы), включаемого параллельно рубильнику или предохранителю, которые при измерении тока выключаются;
Рис. 4.1.
Схема пробного включения дренажа на междугородном бронированном кабеле:
1 - дренаж; 2 - электрод сравнения;
3 - кабель; 4 - дренажные кабели
Рис. 4.2.
Схема пробного включения дренажа на кабелях ГТС:
1 - дренаж; 2 - защищаемые кабели; 3 -
электрод сравнения; 4 - дренажные кабели
производится измерение разности потенциалов «сооружение связи - земля» на всем протяжении защищаемого участка;
если окажется, что анодная зона полностью не ликвидирована, то величина тока в цепи дренажа при помощи реостата увеличивается, но не более предельно допустимого значения для данного дренажа и дренажного кабеля, после чего вновь производятся измерения разности потенциалов «сооружение связи - земля».
В указанной последовательности эта работа производится до тех пор, пока во всех точках защищаемого участка сооружение связи не приобретет катодного состояния, причем отрицательный потенциал на нем будет не менее (по абсолютной величине) значения минимального защитного потенциала и не более максимально допустимого потенциала (см. табл. 3.9 и 3.10).
4.68. Режим работы усиленного дренажа регулируется путем изменения выходного напряжения выпрямителя и устанавливается согласно требований - п. 3.125.
4.69. Режим работы автоматического усиленного дренажа регулируется путем изменения величины поддерживаемого защитного потенциала на кабелях связи в точке дренирования и устанавливается согласно требований п. 3.126.
4.70. После выбора режима работы дренажа измеряются разности потенциалов на соседних подземных металлических сооружениях (если они имеются). После включения дренажной установки коррозионное состояние этих подземных сооружений не должно ухудшаться (см. п. 4.4).
Указанные измерения проводятся при включенном и выключенном дренажном устройстве. Результаты измерений оформляются специальным актом, который подписывается также представителями организаций, в ведении которых находятся соседние подземные сооружения. Все измерения потенциалов проводятся в соответствии с пп. 2.33. - 2.49.
4.71. Если при пробном включении дренажа в любом режиме его работы, т.е. при любом токе в цепи дренажной установки, не превышающем предельно допустимого значения для данной системы дренажа, протяженность зоны защиты окажется меньше протяженности анодной зоны, т.е. останутся участки, где не достигнуто значение минимального защитного потенциала, то пробное включение дренажа производится в другом месте - справа или слева в зависимости от того, в какой стороне остается больший участок анодной (незащищенной) зоны.
Если при изменении места включения дренажа анодная зона полностью не ликвидируется, то по согласованию с проектирующей организацией и при ее участии намечают дополнительные мероприятия до ликвидации оставшихся анодных зон: включение второй дренажной установки, включение дополнительной катодной установки, протекторов и т.п.
4.72. После уточнения места включения дренажной установки и определения параметров защиты приступают к монтажу установки.
Уточнение места включения катодной установки
4.73. Место включения катодной или автоматической катодной установки уточняется по результатам измерения потенциала сооружения связи относительно земли в районе запроектированного места включения.
4.74. Пробное включение катодной установки производится в том месте, где средний положительный потенциал на сооружении связи имеет максимальную величину (при влиянии блуждающих токов), или в середине зоны, подлежащей защите (при действии почвенной коррозии).
Схема пробного включения катодной установки при защите голых свинцовых кабелей приведена на рис. 4.3. Аналогично производится уточнение места включения катодной установки при защите бронированных кабелей и других подземных сооружений связи.
Для пробного включения катодной установки берется катодная станция, предусмотренная проектом.
Временное заземление оборудуется из стальных труб, уголков или кусков рельсов, причем расстояние от заземлителя до сооружения должно соответствовать проекту в качестве дренажных кабелей может быть использован любой изолированный проводник, рассчитанный на предполагаемую величину тока в цепи защиты.
оборудуют и включают временную катодную установку;
устанавливают такую величину тока в цепи катодной станции, при которой отрицательный потенциал на сооружении связи - в зоне действия катодной станции будет не менее (по абсолютной величине) значения минимального защитного потенциала и не более максимального допустимого защитного потенциала. Ток в цепи катодной станции измеряют при помощи амперметра, установленного в самой катодной станции, либо при помощи переносного амперметра;
производят измерение потенциалов сооружения связи на всем протяжении зоны, подлежащей защите;
Рис. 4.3.
Схема пробного включения катодной установки при защите кабелей ГТС:
1 - катодная станция, 2 - электрод
сравнения, 3 - защищаемые кабели, 4 - дренажные кабели, 5 - анодное
заземление
если окажется, что зона, подлежащая защите, имеет потенциал меньше минимального защитного (по абсолютной величине), то осуществляется ряд мероприятий, направленных на обеспечение полной защиты (увеличение тока, изменение места размещения анодного заземления и др.).
В указанной последовательности эта работа продолжается до тех пор, пока на всем участке сооружения связи, подлежащем защите, не будет иметь место потенциал, абсолютная величина которого не менее значения минимального защитного и не более максимально допустимого защитного потенциала (см. табл. 3.9 и 3.10).
4.76. Если в процессе дробного включения катодной установки при любом режиме ее работы протяженность защищенной зоны окажется меньше протяженности зоны, подлежащей защите, т.е. с одной из сторон остался незащищенный участок, то точка включения катодной установки и временное заземление переносятся в сторону незащищенного участка, и вновь проводятся работы предусмотренные п. 4.75.
Если при любом режиме работы катодной станции не удается обеспечить защиту зоны, предусмотренную проектом, то по согласованию с проектной организацией и при ее участии намечаются дополнительные мероприятия включение двух катодных станций вместо одной, замена запроектированной станции на станцию большей мощности или дополнительное включение других защитных устройств.
4.77. Режим работы автоматический катодной станции регулируется путем изменения величины поддерживаемого защитного потенциала на кабелях связи в месте защиты и устанавливается согласно требованиям п. 3.125.
4.78. После выбора режима работы катодной установки измеряется потенциал соседних металлических сооружений (если они имеются). После включения катодной установки коррозионное состояние этих подземных сооружений не должно ухудшаться (см. п. 4.4).
Измерения проводятся при выключенной и выключенной катодной станции. Результаты измерений оформляются актом, который подписывается также представителями организаций, в ведении которых находятся соседние подземные сооружения.
4.79. После уточнения места включения катодной установки и определения защитного тока приступают к монтажным работам.
Уточнение мест включения электрических перемычек
4.80. Места включения перемычек при осуществлении совместной защиты намечаются в проекте и уточняются при пробных включениях.
Пробные включения перемычек при совместной защите от электрокоррозии производят на сооружении связи в местах с максимальными положительными потенциалами по отношению к земле. При этом необходимо одновременно произвести измерение разности потенциалов между сооружением связи и подземным сооружением, с которым осуществляется совместная защита, а также измерение потенциала подземного сооружения по отношению к земле. Перемычка подключается к той точке на соседнем подземном сооружении, в которой имеется сравнительно большой отрицательный потенциал по отношению к земле и которая расположена на сравнительно небольшом расстоянии от точки включения перемычки на сооружении связи.
Если две точки (на сооружении связи и соседнем сооружении), удовлетворяющие вышеуказанным требованиям, находятся на значительном расстоянии друг от друга, необходимо перемычку включить в других точках, расположенных ближе друг к другу, потенциалы которых по отношению к земле наиболее соответствуют вышеуказанному требованию.
В случае, когда после оборудования перемычек анодная зона на сооружении связи снимается не полностью или возникающий отрицательный потенциал по абсолютному значению меньше защитного потенциала, необходимо провести совместно или в отдельности следующие мероприятия:
установить перемычки с увеличенным поперечным сечением (меньшего сопротивления);
увеличить отрицательный потенциал на подземном сооружении, с которым осуществляется совместная защита, путем соответствующего регулирования защитных устройств на этом сооружении;
увеличить число перемычек, устанавливая дополнительные перемычки в тех местах, где оставшиеся положительные потенциалы на сооружении связи имеют максимальную величину.
При пробных включениях определяется величина защитного тока в перемычке, при которой достигается защита от коррозии.
4.81. В результате пробного включения перемычек при защите от почвенной коррозии добиваются такого их расположения и режима работы устройств защиты, при которых обеспечивается совместная защита сооружения связи и соседнего подземного сооружения.
4.82. Контрольно-измерительные пункты (КИП) предназначены для установки на междугородных и городских кабелях связи, проложенных непосредственно в земле, и служат для измерения величин, характеризующих:
коррозионное состояние оболочек и брони, состояние внешнего изолирующего покрова;
состояние защиты кабелей от прямых ударов молний и влияния ЛЭП и электрифицированных железных дорог.
4.83. Электрические измерения коррозионного состояния голых освинцованных кабелей ГТС, проложенных в телефонной канализации, осуществляются в смотровых колодцах.
Измерение сопротивления изоляции кабелей МКСАШп, МКССтШп, проложенных в телефонной канализации, осуществляется в шахтах АТС.
4.84. Применяются два типа контрольно-измерительных пунктов: КИП-1 и КИП-2. КИП-1 предназначен для установки на бронированных кабелях в металлических оболочках без изолирующих покровов. КИП-2 предназначен для установки на бронированных и небронированных кабелях в металлических оболочках с пластмассовыми изолирующими покровами.
При помощи КИП определяются:
разность потенциалов между оболочкой или броней кабеля и землей;
разность потенциалов между кабелем и рельсами или трубопроводом;
величина тока в оболочке и броне кабеля;
величина сопротивления изоляции защитных покровов на металлических оболочках и броне;
величина переходного сопротивления между оболочкой, броней кабеля и землей;
сопротивление изоляции (исправность) изолирующих муфт;
сопротивление заземления, оборудованного у КИП;
сопротивление заземления троса.
4.85. При установке КИП-2 могут быть произведены необходимые соединения между оболочкой и броней кабеля, а также соединение оболочки и брони со специальными заземлениями, оборудуемыми с целью защиты от ударов молнии и электромагнитного влияния.
Контрольно-измерительные пункты могут быть использованы также при оборудовании электрохимической защиты (подключения протекторов, электрических перемычек, токоотводов и др.).
4.86. Контрольно-измерительные пункты устанавливаются непосредственно над трассой кабелей связи.
В случае необходимости допускается вынос КИП, при этом на столбике или специальном щитке указывается расстояние до трассы кабеля.
4.87. Контрольно-измерительные пункты рекомендуется устанавливать в местах устройства соединительных муфт. Расстояния между КИП в зависимости от условий прокладки кабеля приведены в табл. 4.2.
Для других сооружений связи эти расстояния регламентируются соответствующими инструкциями.

Рис. 4.4. Схема подключения протектора к кабелю через КИП-1.
4.88. Кабели в свинцовой оболочке и броне с джутовым покровом при сближении их с трубопроводом, защищенным катодными или дренажными установками, оборудуются дополнительными КИП в следующих местах:
против места расположения анодного заземления, если оно расположено между кабелем и трубопроводом, или против точки подключения установки или дренажного кабеля к трубопроводу, если анодное заземление расположено за трубопроводом;
на расстоянии 0,4 - 0,5 км по обе стороны от КИП, устанавливаемого против места расположения анодного заземления;
в местах оборудования перемычек (с целью осуществления совместной защиты от коррозии) между трубопроводом и кабелем связи.
Примечание. На кабелях связи с наружным покровом шлангового типа дополнительные КИП при сближении с трубопроводами, защищенными катодными установками, не оборудуются.
ТАБЛИЦА 4.2
Размещение КИП на междугородных кабельных магистралях
|
Расстояние между КИП, км и их расположение |
Расположение КИП при пересечении с электрифицированными железными дорогами, линией трамвая или трубопроводом, защищенными катодными установками |
Тип КИП |
|||||||
|
при сближении кабеля |
при отсутствии сближения кабелей с электрифицированными железными дорогами или линиями электропередач |
||||||||
|
с электрифицированными железными дорогами или трамвайными линиями |
с электрифицированными железными дорогами или линиями электропередач переменного тока при грунтах |
||||||||
|
агрессивных |
неагрессивных |
агрессивных |
неагрессивных |
||||||
|
1 |
2 |
3 |
4 |
5 |
6 |
7 |
8 |
||
|
Оболочка свинцовая. Подушка - без обозначения. Наружный покров - без обозначения (кабели марок МКСБ, МКБ, КМБ и т.д.) |
При сближении до 100 м - 0,25 - 0,5. Свыше 100 м - 0,6 - 1,0 |
0,6 - 1,0 |
1,8 - 2,2 |
0,6 - 1,0 |
1,8 - 2,2 |
По обе стороны пересечения на расстоянии 10 - 30 м от крайнего рельса или 5 - 10 м от трубопровода |
КИП-1* |
||
|
Оболочка свинцовая или алюминиевая. Подушка - л или 2л. Наружный покров - без обозначения (кабели марок МКСБл, КМБл, ТЗАБл, МКСБ2л, КМБ2л и т.д.) |
0,6 - 1,0 |
6 - 7 - при отсутствии устройств защиты от влияния ЛЭП, электрифицированных железных дорог, ударов молнии и коррозии, в местах оборудования заземлителей или перемычек между оболочкой и броней, устанавливаемых для защиты от влияния ЛЭП, электрифицированных железных дорог и ударов молнии в местах установки устройств защиты от коррозии |
6 - 7 - при отсутствии устройств защиты от ударов молнии и коррозии. В местах оборудования заземлителей или перемычек между оболочкой и броней, устанавливаемых для защиты от ударов молнии. В местах установки устройств защиты от коррозии |
По обе стороны пересечения на расстоянии 10 - 30 м от крайнего рельса или 5 - 10 м от трубопровода |
КИП-2 |
||||
|
Оболочка алюминиевая или стальная. Подушка - л. Наружный покров - без обозначения или Шп (кабели марок МКСАШп, МКССтШп, МКСАБп, МКСАБпШп и т.д.) |
- |
6 - 7 - при отсутствии устройств защиты от влияния ЛЭП, электрифицированных железных дорог, ударов молнии и коррозии В местах оборудования заземлителей или перемычек между оболочкой и броней, устанавливаемых для защиты от влияния ЛЭП. электрифицированных железных дорог и ударов молнии. В местах установки устройств защиты от коррозии |
6 - 7 при отсутствии устройств защиты от ударов молнии и коррозии. В местах оборудования заземлителей или перемычек между оболочкой и броней, устанавливаемых для защиты от ударов молнии в местах установки устройств защиты от коррозии |
КИП-2 |
|||||
* При передаче ДП по системе «провод - земля» КИП - 1 оборудуются на расстоянии 75 - 100 и 250 - 300 м в обе стороны от каждого НУП.
Примечание. Буквенные обозначения характеризуют конструкции защитных покровов кабелей в соответствии с ГОСТ 7006-72.
4.89. При осуществлении совместной защиты кабелей ГТС, прокладываемых в канализации, с другими городскими подземными коммуникациями могут оборудоваться специальные КИП, места расположения и конструкция которых определяются при проектировании.
4.90. На кабельных переходах через реки с обеих сторон перехода (на незатопленных местах) устанавливаются КИП соответствующего типа.
4.91. В местах оборудования изолизующих муфт КИП устанавливаются независимо от типа кабеля. При этом в месте установки изолирующей муфты оборудуются: на кабелях без изолирующих покровов КИП-1, на кабелях с изолирующим покровом КИП-2.
4.92. КИП соответствующего типа устанавливаются в местах оборудования групповых протекторных установок, а у одиночных протекторов - в случае необходимости.
При устройстве одиночной протекторной защиты рекомендуется использовать КИП-1. Схема подключения протектора к кабелю через КИП-1 приведена на рис. 4.4. При устройстве групповой протекторной защиты протекторы к кабелю рекомендуется присоединять через клеммный щиток КИП-2 (рис. 4.5).
При числе протекторов в группе меньше четырех проводники от каждого из протекторов подключаются к одной из четырех клемм на щитке КИП-2. К пятой клемме КИП-2 подключается кабель (рис. 4.5а), При числе протекторов в группе больше четырех к каждой из четырех клемм КИП-2 подключаются два проводника от соответствующих протекторов (при восьми протекторах к каждой из клемм на щитке КИП-2 подключаются два проводника рис. 4.5б).
Рис. 4.5.
Схемы подключения протекторов через КИП-2 при групповой протекторной защите:
а - при числе протекторов до четырех; б - при числе протекторов
больше четырех
Подключение групповой протекторной установки к кабелю осуществляется путем установки перемычек между пятой клеммой и соответствующими четырьмя клеммами, к которым подключены проводники от протекторов.
Монтаж изолирующих муфт
4.93. Изолирующие муфты устанавливаются на кабелях связи в соответствии с проектом защиты.
Технология изготовления и монтажа изолирующих муфт определяется их типом. Так, муфты типа МИ изготавливаются непосредственно на магистрали. Муфты типов ГМОИ и МИС изготавливаются в заводских условиях, а на месте установки только монтируются.
4.94. Монтаж газонепроницаемых изолирующих муфт типов ГМСИ, устанавливаемых на вводах кабелей, осуществляется непосредственно в разрез магистрального симметричного кабеля связи. Для перехода от муфты к кабелю, применяются конусы (см. рис. 6.1), изготавливаемые из свинца и являющиеся составной частью муфты. Конусы припаиваемых к кабелю в соответствии с руководствами и инструкциями по монтажу тех типов кабелей, на которых монтируются муфты.
В месте установки муфты кабель закрепляется в положении, удобном для работы. На середине будущей муфты кабель разрезается. До начала установки изолирующей муфты на оба конца кабеля одеваются конусы. Затем с концов кабеля на длине 140 мм снимаются броня и металлическая оболочка.
На расстоянии 5 - 10 мм от среза оболочки в сторону конца кабеля поверх поясной изоляции на кабельный сердечник накладывается бандаж из пяти - шести витков суровых ниток после чего поясная изоляция снимается в сторону конца кабеля.
Жилы, проходящие через муфту, соединяются с жилами кабеля следующим образом:
на все жилы четверок соединяемой стороны муфты надеваются: по две полиэтиленовые гильзы (50´4,0´5,0 и 50´5,5´6,5);
производится соединение (пайка) жил;
со стороны кабеля положение четверки смонтированного сростка фиксируется групповым кольцом, со стороны муфты - наложением бандажа из суровых ниток на гильзы меньшего диаметра.
Расстояние между срезом оболочки и краем муфты должно быть 90 мм при монтаже муфт ГМСИ-1 и ГМСИ-4 и 100 мм при монтаже ГМСИ-7. Аналогичным образом производится сращивание и с другой стороны изолирующей муфты.
После сращивания всех жил кабеля с жилами изолирующей муфты и проверки качества выполненного монтажа производится упаковка сростка.
Конусы, ранее надетые на кабели, спаиваются с изолирующей муфтой и металлической оболочкой кабеля таким образом, чтобы обеспечить герметичность. Пайку следует вести осторожно, не перегревая муфты во избежание нарушения ее герметичности.
Смонтированная муфта вместе с кабелем должна быть проверена на электрическую прочность, сопротивление изоляции и должна удовлетворять электрическим нормам на усилительный участок. При невыполнении указанных требований монтаж муфты должен быть произведен заново.
После проведения электрических испытаний смонтированная муфта должна быть проверена на герметичность избыточным воздушным давлением. Избыточное давление создается путем нагнетания сухого воздуха при давлении 0,08 - 0,1 МПа в течение 10 - 20 мин через воздухопровод, используемый для постановки кабеля под избыточное воздушное давление. Герметичность муфты проверяется путем смачивания мыльным раствором места косого прокола, предварительно сделанного на кабеле между муфтой и боксом, причем конец кабеля должен быть запаян.
Одновременно проверяется герметичность паек конусов муфты. Отсутствие пузырьков указывает на исправность муфты и герметичность пайки.
Если в результате испытания муфта оказывается негерметичной, то она подлежит замене. При негерметичности пайки эти места перепаиваются и подлежат повторной проверке.
После проверки герметичности муфты отверстие в кабеле зачеканивается и пропаивается.
4.95. Монтаж изолирующей муфты типа МИС при использовании ее одновременно в качестве соединительной производится так же, как обычной соединительной свинцовой муфты в соответствии с действующими инструкциями по монтажу тех типов кабелей, на которых монтируется изолирующая муфта. Монтаж муфты типа МИС при использовании ее только в качестве изолирующей в сочетании с обычной соединительной муфтой производится перед монтажом по сращиванию жил и при запаянном конце кабеля, находящегося под давлением.
Монтаж следует вести осторожно, не допуская перегрева муфты во избежание нарушения ее герметичности.
4.96. Монтаж муфты типа МИ осуществляется в следующей последовательности:
оборудование котлована;
пайка выводов от КИП;
пайка «юбок» (для кабелей больших диаметров);
установка на кабель металлической или полиэтиленовой формы;
приготовление заливочной массы на основе эпоксидных компаундов;
заливка формы;
восстановление изолирующего покрова (для кабелей с алюминиевой и стальной гофрированной оболочками);
установка чугунной муфты.
В грунте, в месте установки муфты, отрывается котлован длиной не менее 2,5 м и шириной не менее 1,5 м. Глубина котлована должна быть на 20 - 30 см, больше глубины прокладки кабеля.
Котлован должен оборудоваться в соответствии с действующими руководствами по прокладке и монтажу междугородных кабелей связи.
Разделка кабеля выполняется следующим образом: на наружный джутовый покров накладываются два бандажа шириной 10 мм из мягкой проволоки на расстоянии 320 мм друг от друга. Затем джутовая оплетка между бандажами снимается и на стальную броню накладывается следующая пара бандажей шириной 25 мм каждый из стальной перевязочной проволоки диаметром 1,2 - 2,5 мм на расстоянии 25 мм от первых бандажей. Далее стальные бронеленты между бандажами осторожно разрезаются ножовкой - бронерезкой и последовательно снимаются сначала бронеленты, затем защитный покров до металлической оболочки или до шланга в случае кабелей со специальным изолирующими покровами. Третья пара бандажей из стальной проволоки в два - три витка накладывается поверх шлангового покрова на расстоянии 45 мм от второй пары бандажей для предотвращения вытекания битумного компаунда при пайке выводов от оболочки к КИП. Полиэтиленовый шланг между этими бандажами также снимается.
Участок оголенной металлической оболочки кабеля тщательно протирается бензином до полного удаления битумного компаунда. На середине подготовленного участка металлической оболочки делается осторожно кольцевой вырез шириной 10 мм. Поверх поясной изоляции в месте кольцевого выреза на сердечник кабеля наматываются семь - восемь слоев полиэтиленовой ленты толщиной 0,1 - 0,2 мм. Ширина полиэтиленового пояска должна составлять 30 - 35 мм; в середине поясок должен наматываться с утолщением. Полиэтиленовая лента предварительно должна быть обезжирена бензином марки Б-70 или А-72 (не этилированный). Перед оплавлением намотанные слои полиэтиленовой ленты снаружи обертываются двумя слоями стеклоленты шириной 20 - 25 мм с 50%-ным перекрытием.
Оплавление полиэтиленовой ленты осуществляется слабым пламенем газовой горелки или паяльной лампы до появления между витками стеклоленты расплавленного полиэтилена.
Через 12 - 15 мин после оплавления стеклоленту удаляют.
Примечания: 1. Для кабелей с алюминиевыми оболочками заделка кольцевого выреза производится после припайки к нему выводов от КИП. 2. Для кабелей со свинцовыми оболочками заделка кольцевого выреза производится после напайки на оболочку «юбок» и соединительных проводов от КИП.
Схемы разделки кабелей с алюминиевыми и свинцовыми оболочками представлены на рис. 4.6.
На кабеле со свинцовой оболочкой большого диаметра к оболочке припаиваются две свинцовые «юбки». «Юбки» выкраиваются из листового свинца толщиной 2 мм по шаблону. С помощью болванки свинцовым «юбкам» придают соответствующую форму, оставляя продольный разрез для установки их на кабель. Заготовка «юбки» и болванка для ее изготовления изображены на рис. 4.7, типоразмеры приведены на этом рисунке и в табл. 4.3 и 4.4.
Свинцовые «юбки» располагаются на кабеле на расстоянии 50 мм друг от друга, после чего продольный разрез запаивается. К оболочке кабеля «юбки» припаиваются по меньшему основанию. Одновременно у основания «юбки» производится пайка выводов от КИП. Далее на «юбках» на расстоянии примерно 20 мм от основания делаются отверстия диаметром 2 - 3 мм для удаления пузырьков воздуха при последующей заливке эпоксидной смесью.
Для монтажа муфт типа МИ используются металлические заливочные формы или полиэтиленовые. Две половинки металлической формы показаны на рис. 4.8. Установка на кабель металлической формы производится следующим образом:
перед установкой формы на кабель поверхности «юбки» и металлической» оболочки должны быть обезжирены;
для улучшения сцепления между оболочкой кабеля и заливочной массой на обезжиренной оболочке кабеля около кольцевого выреза делаются насечки;
для предотвращения сцепления заливочной массы с внутренней поверхностью формы ее смазывают тонким слоем кремнеорганического вазелина;
зазор между оболочкой кабеля и шейками формы устраняется путем подмотки на оболочку изоляционной ленты;
подогнанная форма зажимается стяжными кольцами так, чтобы обе половины формы совпадали и плотно соприкасались между собой, при этом кабель должен находиться в центре формы;
для предотвращения вытекания заливочной массы торцы формы промазывают пластилином.
После выполнения перечисленных операций стальная форма готова к заливке.
Рис. 4.6.
Схемы разделки кабеля для монтажа муфты МИ:
а - в алюминиевой оболочке; б - в свинцовой оболочке;
1 - джутовый покров; 2 - подушка; 3 - сердечник; 4 - алюминиевая оболочка; 5 -
полиэтиленовый шланг; 6 - броня; 7 - свинцовая оболочка
ТАБЛИЦА 4.3
Размеры заготовок и болванок для изготовления «юбок» на коаксиальных кабелях типа KM
|
Диаметр кабеля по свинцовой оболочке Dк, мм |
Размеры, мм |
||||
|
D1 |
D2 |
A |
L |
||
|
КМГ-4 |
33,0 |
33,5 |
46,0 |
144 |
60 |
|
КМБ-4 |
32,5 |
33,0 |
46,0 |
144 |
60 |
|
КМК-4 |
33,9 |
34,4 |
46,0 |
144 |
60 |
|
КМГ-8/6 |
45,3 |
45,8 |
58,0 |
182 |
60 |
|
КМБ-8/6 |
44,7 |
45,2 |
58,0 |
182 |
60 |
|
КМК-8/6 |
45,7 |
46,2 |
58,0 |
182 |
60 |
ТАБЛИЦА 4.4
Размеры заготовок и болванок для изготовления «юбок» на кабелях марки ТГ и типа ТЗ
|
Размеры, мм |
||||
|
D1 |
D2 |
A |
L |
|
|
30 - 34 |
Dк+0,5 |
46 |
144 |
60 |
|
34 - 43 |
Dк+0,5 |
55 |
173 |
60 |
|
43 - 46 |
Dк+0,5 |
58 |
182 |
60 |
|
46 - 51 |
Dк+0,5 |
63 |
198 |
60 |
|
51 - 65 |
Dк+0,5 |
77 |
242 |
85 |
|
65 - 72 |
Dк+0,5 |
84 |
264 |
85 |
Рис. 4 7.
Общий вид «юбки» для кабеля большого диаметра:
a - «юбка»; б
- болванка для ее изготовления
Полиэтиленовые формы для монтажа муфт МИ могут быть изготовлены непосредственно на трассе кабеля. Изготовление полиэтиленовых форм производится в следующем порядке:
болванка, изготовленная из любого материала в соответствии с требуемыми размерами, обматывается полиэтиленовой лентой толщиной 0,1 - 0,2 мм. Лента наматывается на болванку в пять - семь слоев внахлест с 50 %-ным перекрытием;
поверх полиэтиленовой ленты накладывается один слой стеклоленты с перекрытием;
оплавление полиэтиленовой ленты производится при помощи газовой горелки или паяльной лампы;
через 12 - 15 мин после оплавления стеклоленту снимают.
Примечание. Стеклолента должна сниматься при температуре 45 - 50 °С во избежание прилипания ее к слою полиэтилена;
в середине изготовленной формы прорезают отверстие диаметром 10 мм (для заливки массы) и с двух сторон от него вдоль формы - по одному отверстию диаметром 3 мм;
полиэтиленовая форма разрезается вдоль по центру отверстий так, чтобы ее можно было снять с болванки и надеть на кабель.
Рис. 4.8.
Общий вид металлической заливочной формы для муфт типа МИ:
a - верхняя
половина, б - нижняя половина
Перед установкой полиэтиленовой формы металлическая поверхность кабеля по длине муфты должна быть обезжирена. При установке муфты типа МИ на кабель с алюминиевой оболочкой последняя должна быть зачищена шкуркой. Полиэтиленовая форма надевается на подготовленную поверхность оболочки кабеля, одновременно уплотняется и закрепляется на кабеле с торцов при помощи полиэтиленовой ленты. Установленная таким образом форма считается готовой к заливке. Приготовление заливочной массы на основе эпоксидного компаунда производится в соответствии с технологией, изложенной в п. 6.80. Непосредственно перед заливкой приготовленная заливочная масса смешивается с отвердителем, через 1 - 2 мин она должна быть залита в форму. Заливка формы ведется медленно, тонкой струёй, до полного ее заполнения.
Примечание. При приготовлении заливочных масс и наполнении ими форм следует работать в резиновых перчатках и строго соблюдать установленные правила по технике безопасности при работе с эпоксидными - смолами и компаундами.
Температура окружающего воздуха при заливке должна быть не ниже +10°С. Заливка при повышенной влажности (дожде, тумане, росе) не допускается.
Для предотвращения образования усадочных раковин и удаления воздуха из формы заливочную массу доливают в форму несколько раз, по мере усадки.
Форма, заполненная компаундом, должна находиться в неподвижном состоянии в течение 24 ч, после чего муфта считается готовой.
При использовании металлической формы последняя по истечении этого срока снимается с готовой муфты. С поверхности муфты удаляются смазочные материалы и заливочные выступы. При использовании полиэтиленовой формы последняя после отвердевания компаунда не снимается.
Восстановление изолирующего покрова производится в соответствии с действующими руководствами по монтажу тех кабелей, на которых устанавливаются изолирующие муфты.
Защита изолирующих муфт, установленных на кабелях, проложенных непосредственно в земле, от механических повреждений осуществляется при помощи чугунных муфт, монтируемых обычным способом. Провода от кабеля к КИП выводятся через шейки чугунных муфт. Изоляция между броней и чугунной муфтой обеспечивается путем подмотки на кабель в месте расположения шейки чугунной муфты слоя изолирующей ленты (резиновой, поливинилхлоридной, полиэтиленовой и т.п.).
4.97. При необходимости изолирующая муфта может быть шунтирована сопротивлением, устанавливаемым в КИП. Величина сопротивления определяется экспериментально.
В некоторых случаях, во избежание ухудшения экранирующего действия металлических покровов, на голых освинцованных кабелях, на кабелях со шланговыми изолирующими покровами, на бронированных кабелях каждая изолирующая муфта шунтируется конденсаторами типа МВГО емкостью 300 мкФ на рабочее напряжение 300 (400) В.
В шахте телефонной станции и усилительных пунктах на кабелях с изолирующими покровами шлангового типа (МКССтШп, МКСАШп, кроме, МКСГШп) линейная сторона изолирующих муфт изолируется полиэтиленовой или поливинилхлоридной лентой и с нее делается вывод изолированным проводом на клеммный щиток, станционная сторона муфты МИС не изолируется и перепаивается с другими металлическими оболочками.
4.98. Перечень материалов и инструментов, необходимых при монтаже муфт МИС и МИ, приведен в пп. 6.80, 6.81.
Монтаж электродренажных установок
В зависимости от конкретных условий и типа электродренаж может быть установлен на наружной стене здания, на железобетонных или асбоцементных столбиках, железобетонной опоре, а также в специальном шкафу, устанавливаемом на фундаменте.
К дренажам должен быть обеспечен свободный доступ для обслуживающего персонала. Дренажи крепятся к наружной стене зданий на высоте 1 - 1,5 м от поверхности земли до нижнего основания шкафа дренажа. На стенах кирпичных зданий дренаж крепится на предварительно устанавливаемых шпильках. К стене деревянных зданий крепление производится шурупами.
Дренажные опоры должны устанавливаться в незатопляемых водой местах, а при расположении вблизи шоссейных дорог - на некотором удалении от проезжей части дороги.
Конструкция дренажной опоры из асбоцементных труб показана на рис. 4.9. Схема установки дренажа на железобетонной опоре приведена на рис. 4.10.
4.100. Для защиты места соединения дренажного кабеля с проводом, идущим от рельсового пути (средней точки путевого дросселя), служат чугунные соединительные муфты типа МЧ. Размер, муфты определяется при проектировании. Монтаж чугунных муфт должен осуществляться в соответствии с действующими инструкциями и руководствами.
4.101. Дренажные кабели на городских телефонных сетях прокладываются в канализации в соответствии с действующими правилами и нормами.
4.102. На участках прокладки дренажного кабеля от места установки дренажа до защищаемых кабелей, отсасывающих пунктов или средних точек путевых дросселей дренажные кабели прокладываются непосредственно в земле.
Рис. 4.9.
Асбоцементная дренажная опора:
1 - отверстия для крепления; 2 - асбоцементная
труба;
,
l - расстояния
между отверстиями крепления дренажного ящика
Рис. 4.10.
Установка дренажного ящика на железобетонной опоре:
1 - дренажный ящик; 2 - газовая труба; 3
- дренажный кабель
4.103. Прокладку дренажного проводника от рельсов до места установки чугунной муфты осуществляют предприятия, эксплуатирующие трамвай и электрифицированные железные дороги.
4.104. Дренажный кабель подключается к отсасывающему пункту на рельсовой сети трамвая в настенном коробе или в кабельном ящике, в который заведены кабели, идущие от тяговой подстанции трамвая и от рельсов. При отсутствии коробов и кабельных ящиков дренажный проводник присоединяется к минусовому фидеру у концевой муфты.
Присоединение установок дренажной защиты к сборке линий тяговых подстанций трамвая допускается только в тех случаях, когда подключение дренажа к отсасывающему пункту не обеспечивает поддержания защитного потенциала на подземном сооружении связи.
На электрифицированных железных дорогах дренажный кабель подключается к отсасывающему пункту, тяговому рельсу или к средней точке путевого дросселя. Присоединение дренажного кабеля к средней точке путевого, дросселя а производится под клемму питания или под специальный зажим в зависимости от конструкций соединений в дросселе (рис. 4.11). Дренажный кабель может быть подключен к точке a или в точках 1 и 2 дросселя.
Дренажные кабели разрешается присоединять не в каждом дроссельном пункте, а через два на третий.
Присоединение электрических дренажей к сборке отсасывающих линий тяговых подстанций электрифицированных железных дорог допускается только в тех случаях, когда подключение дренажа к отсасывающему пункту не обеспечивает поддержания защитного потенциала на подземном сооружении связи.
Рис. 4.11. Схема подключения кабеля к средней точке путевого дросселя
4.105. Подключение дренажного кабеля к оболочке и броне междугородного кабеля показано на рис. 4.12. Процесс подключения дренажного кабеля производится в следующей последовательности:
на наружный слой кабельной пряжи защищаемого кабеля накладывают два проволочных бандажа (четыре - пять витков) на расстоянии 150 - 200 мм друг от друга (рис. 4.12а);
кабельную пряжу между бандажами срезают и удаляют (рис. 4.12б);
ленты или проволоки брони на расстоянии 10 - 15 мм от обоих бандажей тщательно зачищают на длине 25 – 30 мм и облуживают. Затем отдельные проволоки или ленты брони перепаивают между собой путем наложения бандажа (четыре - пять витков) из двух медных проволок поперечным сечением 2 - 2,5 мм2, внутренние концы медных проволок оставляют свободными на длину 100 - 150 мм (рис. 4.12в);
броню между внутренними бандажами срезают ножовкой-бронерезкой, подушку из кабельной пряжи и кабельную бумагу удаляют (рис. 4.12г);
Рис. 4.12.
Подключение дренажного кабеля к бронированному кабелю:
1 - кабель; 2 - наружный бандаж:
3 - ленты брони; 4 - внутренний бандаж с пропайкой оловом; 5 - дренажный
кабель; 6 - место спая свинцовой полосы, концов от внутреннего бандажа и жил; 7
- свинцовая полоса; 8 - изоляционный слой
к свинцовой оболочке кабеля припаивают свинцовую полосу необходимого поперечного сечения, к которой припаивают проводники от бандажа и жилы перемычки (рис. 4.12г);
место соединения брони и свинцовой оболочки защищаемого кабеля и жил перемычки изолируют битумом марки БН - IV (рис. 4.12д), а затем помещают в чугунную муфту типа МО.
Площадь контакта в месте присоединения (в квадратных миллиметрах) численно должна быть не менее величины максимального тока дренирования (в амперах).
4.106. В качестве дренажных кабелей целесообразно использовать кабели с наружными изолирующими покровами шлангового типа. При использовании кабелей без специальных защитных покровов должны применяться меры по защите их от коррозии.
4.107. Тип дренажных кабелей и сечение жил указываются в проекте. Применение кабелей иного типа или сечения должно быть согласовано с проектной организацией.
Монтаж токоотводов
4.108. Токоотводы оборудуются на подземных сооружениях связи в соответствии с проектом защиты без пробных включений.
4.109. В состав монтажных работ, связанных с оборудованием токоотвода, входят: устройство заземления; установка КИП; установка вентильного блока; прокладка и монтаж дренажных кабелей.
4.110. Заземления для токоотводов оборудуются в соответствии с проектом, причем состав и порядок выполнения работ аналогичны описанному в пп. 4.138 - 4.144.
4.111. При устройстве токоотводов применяется КИП-1. Расположение КИП определяется проектом, а монтаж их осуществляется в соответствии с пп. 4.148 - 4.155. К клемме Оболочка подключается заземление токоотвода, а к клемме Муфта - проводник от защищаемого сооружения.
В случае устройства поляризованного токоотвода между клеммами КИП включается вентильный элемент на величину дренируемого тока. В том случае когда вентильный элемент не устанавливается, между клеммами КИП ставится перемычка.
4.112. Тип и сечение дренажных кабелей должны соответствовать проекту. Прокладка их производится в траншее такой глубины, как и у защищаемого сооружения.
Дренажные кабели подключаются к защищаемому сооружению и заземлению токоотвода так, как это рекомендовано в п. 4.105 и 4.143.
Монтаж совместной защиты
4.113. После окончательного выбора мест установки дренажных устройств, или катодных станций, а также перемычек между совместно защищаемыми сооружениями на основании результатов пробных включений приступают к монтажу совместной защиты.
4.114. Монтаж совместной защиты подземных сооружений связи от коррозии включает в себя:
рытье траншей для прокладки дренажных кабелей (проводов) и перемычек между совместно защищаемыми сооружениями;
прокладку и подключение дренажных кабелей (проводов) и перемычек к защищаемым сооружениям;
установку и подключение защитных устройств и блоков совместной защиты;
оборудование заземлений;
подачу электропитания к катодным станциям;
включение предохранителей, сопротивлений, разрядников и вентильных элементов в перемычки.
4.115. Прокладку подземных кабельных дренажных проводов и перемычек следует выполнять в соответствии с действующими правилами и нормами строительства кабельных линий.
4.116. Подключение дренажного кабеля или перемычки к совместно защищаемым сооружениям осуществляется в соответствии с действующими правилами и нормами по монтажу этих сооружений.
4.117. Монтаж дренажных установок при совместной защите производится аналогично изложенному в пп. 4.99 - 4.107.
Монтаж катодных установок при совместной защите производится аналогично изложенному в пп. 4.134 - 4.146.
Блоки совместной защиты размещаются рядом с устройствами защиты или, на специальных железобетонных опорах.
4.118. В случае необходимости допускается установка регулировочного реостата, включаемого в перемычку, в кожухе катодной станции.
Предохранители вентильные элементы и сопротивления, включаемые в перемычки между совместно защищаемыми сооружениями, могут быть размещены в специальном кожухе или КИП, оборудуемых на сооружениях связи.
4.119. Подключение перемычек между кабелем связи и совместно защищаемым сооружением должно выполняться в местах расположения соединительных муфт на кабелях связи.
Монтаж и установка протекторов
4.120. Протекторы, применяемые для защиты подземных металлических сооружений связи от почвенной коррозии и электрокоррозии, устанавливаются в местах, определяемых проектом.
4.121. Протекторы могут устанавливаться с любой стороны защищаемого сооружения связи.
При параллельной прокладке нескольких подземных металлических сооружений протекторные установки следует располагать с той стороны защищаемого кабеля, где достигается максимальное удаление их от других сооружений.
В отдельных случаях допускается установка протекторов под сооружением связи.
При защите сооружений связи, проложенных непосредственно в земле, протекторы устанавливаются в специально отрываемых шурфах, а при защите сооружений, проложенных в канализации, - вблизи телефонного колодца в местах, удобных для их эксплуатации.
4.122. В состав монтажных работ, связанных с установкой протекторов в грунте, входят:
рытье шурфов и траншей для установки протекторов и траншей для прокладки соединительных проводов;
установка протекторов;
припайка соединительных проводов к оболочке кабеля, гидроизоляция мест пайки и засыпка шурфов и траншей;
установка и монтаж КИП для протекторов.
4.123. Шурфы и траншеи отрываются при помощи специальных механизмов на глубину, предусмотренную проектом. При отсутствии механизмов работа выполняется вручную.
Соединительный провод, идущий от протектора к сооружению связи, укладывается в траншее глубиной 70 см и шириной 25 см.
4.124. При установке неупакованного протектора в шурфе или траншее на дно предварительно помещается заполнитель слоем толщиной 40 - 55 мм. После этого устанавливается протектор, вокруг которого укладывается заполнитель.
При установке протектора в яме для равномерного распределения заполнителя вокруг протектора заполнитель помещают в специальную - форму из листовой стали в виде цилиндра диаметром 160 - 180 мм. Для удобства эта форма делается разъемной с двумя ручками.
После укладки в форму заполнителя яма засыпается землей до верхнего торца формы, земля трамбуется, а форма извлекается из земли.
4.125. При установке упакованных протекторов отрывается шурф диаметром, превышающим диаметр протектора на 50 мм. После установки в шурфе протектор засыпается грунтом, который периодически уплотняется, а затем заливается водой.
При подключении протекторов через КИП провод, идущий от протектора, подключается к клеммам 1 - 4 для КИП-2 или к клемме 1 для КИП-1, а от кабеля - соответственно к клеммам 5 и 2.
Рис. 4.13.
Схема протекторной защиты НУП вертикального типа:
1 - обваловка; 2 - щиток; 3 - место
подключения провода от щитка к цистерне НУП; 4 - кабели связи; 5 - цистерна
НУП; 6 - протектор
4.126. В состав монтажных работ, связанных с установкой протекторов для защиты цистерн НУП, кроме указанных в п. 4.122, входят также установка щитка на стене в наземной части НУП и подсоединение к нему проводов, идущих от протекторов и корпуса НУП.
4.127. При защите горизонтальных и вертикальных цистерн НУП с обваловкой протекторы устанавливаются вблизи обваловки по окружности; при защите вертикальных НУП устанавливаются два протектора, как показано на рис. 4.13; при защите горизонтальных НУП длиной 2,95 и 4,55 м - четыре протектора, как показано на рис. 4.14, и для НУП длиной 6,55 м - шесть протекторов.
Примечание. При защите НУП горизонтального типа, в случае необходимости, допускается применение маломощных катодных станций.
4.129. Соединительный провод от щитка припаивается к ребру жесткости наружной камеры вертикальных НУП и к фланцу вентиляционной трубы горизонтальных НУП. Схема подключения проводов к щитку приведена на рис. 4.15, а конструкция щитка - на рис. 4.16.
Рис. 4.14.
Схема протекторной защиты НУП горизонтального типа:
1 - протекторы; 2 - цистерна НУП, 3 -
изолирующая муфта; 4 - кабели связи
Рис. 4 15. Схема подключений проводов от протекторов и цистерны НУП к щитку
Рис. 4.16.
Конструкция распределительного щитка НУП:
1 - дужка; 2 - гнезда 8 шт. (КБ - 3 -
644701Б); 3 - стеклотекстолит (СТВЭ)
4.130. При оборудовании поляризованных протекторных установок вентильные элементы их (германиевые или кремниевые диоды) устанавливаются на клеммном щитке КИП.
4.131. Монтаж КИП и подключение к ним проводов от протекторов и защищаемого сооружения производятся, как указано в пп. 4.148 - 4.155.
4.132. Места установки протекторов отмечаются на чертеже трассы кабеля.
Монтаж катодных установок
4.133. После выбора места подключения катодной станции и уточнения места расположения анодного заземления приступают к проведению монтажных работ.
4.134. Монтажные работы проводят в следующей последовательности:
установка катодной станции;
подводка питания к выпрямителю катодной станции;
устройство анодного заземления;
прокладка и монтаж дренажных кабелей;
установка неполяризующегося электрода сравнения долговременного действия (при оборудовании автоматических катодных установок).
4.135. Место для установки катодной станции выбирается в соответствии с указаниями по установке дренажей, приведенными в п. 4.99.
Для опор, на которых устанавливаются катодные станции, применяются конструкции, аналогичные конструкциям дренажных опор.
4.136. Питание от сети переменного тока может быть подведено к выпрямителю катодной станции в зависимости от места его расположения путем:
сооружения воздушной столбовой линии;
прокладки подземного бронированного кабеля;
прокладки изолированных проводов в стальных трубах или на изоляторах при расположении катодной станции на стенах зданий (в соответствии с действующими правилами и нормами).
Тип проводки и сечение проводов должны соответствовать проекту.
4.137. Анодные заземления для катодных установок (поверхностные или глубинные) устанавливаются из заземлителей на запроектированной площадке в соответствии с расчетом и рабочими чертежами, приведенными в проекте.
подготовка шурфов и траншей для установки заземлителей и укладка соединительной полосы;
установка заземлителей (электродов);
сварка отдельных заземлителей в контур и гидроизоляция мест сварки;
засыпка шурфов и траншей.
4.139. С целью повышения надежности и увеличения долговечности анодных заземлений они могут выполняться в коксовой засыпке в виде одиночных или многоэлектродных заземлителей - вертикальных и горизонтальных. Схема устройства одиночного вертикального заземлителя в коксовой засыпке показана на рис. 4.17.
4.140. Глубинные анодные заземления оборудуются в соответствии с проектом.
4.141. Сопротивление растеканию смонтированного анодного заземления не должно быть больше величины, указанной в проекте.
4.142. Одновременно с устройством анодного заземления должно оборудоваться защитное заземление. При этом к защитному заземлению присоединяются каркас и металлический шкаф катодной станции. Величина сопротивления защитного заземления должна соответствовать требованиям действующих правил по технике безопасности при эксплуатации электротехнических установок.
Рис. 4 17.
Схема установки одиночного вертикального заземлителя в коксовой засыпке (активаторе):
1 - место изоляции; 2 - соединительный
кабель; 3 - вертикальный электрод; 4 - коксовая мелочь
4.144. Дренажный кабель от минусового зажима выпрямителя катодной станции до защищаемых сооружений связи на городских телефонных сетях прокладывается в канализации в соответствии с действующими правилами и нормами.
Положительный зажим выпрямителя катодной станции соединяется с заземлением в условиях города путем сооружения воздушной линии или прокладки кабеля в соответствии с проектом.
Соединение положительного и отрицательного зажимов катодной станции при защите сооружений связи, проложенных непосредственно в земле, с анодным заземлением и с защищаемыми сооружениями связи осуществляется путем прокладки в земле кабелей со шланговыми покровами или бронированных кабелей.
Конец дренажного кабеля от минусового зажима катодной установки должен присоединяться к подземному металлическому сооружению связи в соответствии с действующими руководствами и инструкциями.
4.145. На концы дренажных кабелей, подключаемых к положительному и отрицательному зажимам выпрямителя катодной станции, напаиваются специальные наконечники.
Конец кабеля от положительного зажима катодной станции припаивается к анодному заземлению, причем место пайки тщательно изолируется.
Концы дренажных кабелей, подходящие к катодной станции, накрываются угловой сталью или помещаются в газовые трубы, которые верхней частью входят в патрубок кожуха катодной станции. Нижние концы должны быть углублены в землю не менее чем на 40 - 50 см.
4.146. Тип дренажных кабелей и сечение жил указываются в проекте. Применение кабелей иного типа или сечения должно быть согласовано с проектной организацией.
Монтаж КИП
4.147. Контрольно-измерительные пункты (КИП-1 и КИП-2) оборудуются на сооружениях связи в соответствии с проектом.
подготавливаются траншеи для прокладки соединительных проводов шурф для установки столбика КИП;
протягиваются соединительные провода в канал столбика КИП;
подключаются соединительные провода к сооружению связи (оболочке, броне кабеля, к заземлению и протектору);
подключаются соединительные провода к клеммному щитку;
маркируются соединительные провода и клеммы на щитке;
заливается нижнее отверстие канала КИП битумом;
устанавливается столбик КИП, укладываются соединительные провода в траншею, и последняя засыпается.
Схемы соединений при монтаже КИП показаны на рис. 4.18 - 4.20.
Рис. 4.18.
Схема соединения КИП-1 для бронированных кабелей без изолирующих покровов:
1 - кабель 1; 2 - щиток КИП; 3 -
соединительная муфта; 4 - броня; 5 - кабель 2

Рис. 4.19.
Схема соединения КИП-2 для бронированных кабелей с изолирующим покровом:
1 - кабель 1; 2 - щиток КИП; 3 -
соединительная муфта; 4 - броня; 5 - кабель 2; 6 - изолирующий покров
4.149. Оболочки и брони кабелей должны соединяться с клеммным щитком КИП изолированными проводами.
При монтаже клеммного щитка соединительные провода припаиваются к наконечникам на лицевой стороне панели без применения кислоты.
При креплении клеммного щитка в нише КИП должен предусматриваться запас соединительных проводов на случай снятия щитка для профилактики и ремонта.
Нижняя часть отверстия продольного канала столбика КИП заливается битумом БН - IV. Перед заливкой отверстие закупоривается сухой ветошью.

Рис. 4.20.
Схема соединения КИП - 2 для небронированных кабелей с изолирующим покровом:
1 - кабель 1; 2 - щиток КИП; 3 - изолирующий
покров; 4 - кабель 2
4.150. Соединительные провода от КИП должны подключаться к сооружениям связи в соответствии с руководствами и инструкциями по монтажу этих сооружений.
4.151. На бронированных кабелях без изолирующих покровов производится перепайка между собой оболочки и брони на соединительных муфтах (см. рис. 4.21 и 4.22), около которых предусматривается устройство КИП.
При отсутствии блуждающих токов на кабелях связи, проложенных в одной траншее, должна производиться перепайка всех оболочек и броневых покровов между собой. Соединение их со щитком КИП-1 осуществляется одним проводом, который припаивается к клемме Муфта.
4.152. При наличии блуждающих токов в месте установки КИП-1 на расстоянии 1 м влево от соединительной муфты делается дополнительный вывод, который припаивается к клемме Оболочка. Схема соединений КИП-1 приведена на рис. 4.21.
При монтаже дополнительного вывода на кабеле вскрываются защитные покровы (джут и броня), накладываются бандажи и перепаиваются броня и оболочка между собой. При прокладке нескольких кабелей производится дополнительно перепайка их брони и оболочек между собой и делается один общий вывод к клемме щитка Оболочка. По окончании монтажа на месте вскрытия покровов кабеля устанавливается чугунная муфта соответствующего типа и заливается битумом БH-IV.
4.153. На небронированных кабелях с изолирующими покровами соединительный провод припаивается к свинцовой соединительной муфте каждого кабеля, где предусматривается устройство КИП, и выводится через шейку чугунной муфты и канал столбика к клеммному щитку КИП-2.
На бронированных кабелях с изолирующими покровами соединительные провода припаивают к свинцовой муфте и броне раздельно, выводя их затем на КИП.
При монтаже соединительных проводов должно быть обращено внимание на сохранность изоляции, в частности, в местах выхода их из чугунных муфт.
Рис. 4.21.
Схема соединений КИП-1 при установке изолирующих муфт на бронированных кабелях
без изолирующих покровов
1 - кабель 1; 2 - щиток КИП; 3 -
изолирующая муфта, 4 - броня, 5 - кабель 2
4.154. Столбик КИП устанавливается по окончании монтажа над сооружением связи клеммным щитком в сторону муфты, дороги, поля и т.д.
При установке столбика должна предусматриваться укладка около него соединительных проводов во избежание их натяжения и обрыва, а также для запаса на проведение возможного ремонта КИП. Соединительные провода укладываются в траншее на уровне низа подземной части столбика КИП. Крутых изгибов проводов не допускается.
Наземная часть железобетонного столбика КИП должна быть окрашена.
Рис. 4.22.
Схема соединений КИП-1 и КИП-2 при установке изолирующих муфт между
бронированным кабелем без изолирующего покрова и бронированным кабелем с
изолирующим покровом:
1 - кабель 1, 2 - щиток КИП-1; 3 - щиток
КИП-2; 4 - изолирующий покров; 5 - изолирующая муфта; 6 - броня; 7 - кабель 2
4.155. Схемы соединений при монтаже КИП, устанавливаемых на изолирующих муфтах при прокладке двух кабелей в одной траншее, приведены на рис. 4.21 и 4.22.
При стыковании кабелей без изолирующих покровов оболочки и броня всех кабелей перепаиваются между собой отдельно на каждой стороне изолирующей муфты и соединительные провода подводятся к соответствующим клеммам щитка КИП-1 (см. рис. 4.21).
При стыковании кабелей различной конструкции у изолирующей муфты со стороны бронированных кабелей без изолирующего покрова перепаянные между собой оболочка и броня всех кабелей выводятся соединительным проводом на одну клемму щитка КИП-1. Со стороны кабелей с изолирующим покровом на клеммы щитков КИП-2 выводятся отдельно оболочки и броневые покровы.
К клемме Земля КИП-2 подключается заземление (см. рис. 4.22), необходимостъ установки которого определяется проектом. Монтаж КИП при установке около изолирующих муфт производится так же, как и при монтаже их у прямых соединительных муфт. При этом вывод второго соединительного провода (на расстоянии 1 м от муфты) для измерения токов в оболочке кабеля без изолирующих покровов не делается независимо от условий сближения с электрифицированной железной дорогой постоянного тока.
Перепайка оболочек кабелей связи
4.156. Для облегчения, производства электрических измерений, проведения совместной защиты и устранения возможного влияния защищенных сооружений связи на незащищенные сооружения все сооружения связи, проложенные в одной канализации или траншее, перепаиваются между собой. Перепайки между оболочками кабелей осуществляются:
на кабелях ГТС - в шахте телефонной станции, во всех шкафных и разветвительных колодцах, в колодцах и подземных коробках при пересечении кабеля с рельсами электрифицированной железной дороги, в тех колодцах, где устанавливаются изолирующие муфты, а также через два - три колодца (или подземные коробки) на участках, где нет ответвлений.
Схема поперечных соединений свинцовых оболочек кабелей ГТС показана на рис. 4.24;
на междугородных кабелях в местах расположения КИП и изолирующих муфт, а также в местах подключения защитных устройств (дренажей, катодных установок и пр.) и перемычек, при осуществлении совместной защиты.
4.157. Оболочки междугородных кабелей связи, прокладываемых непосредственно в земле, перепаиваются в соответствии с правилами и инструкциями по прокладке и монтажу этих кабелей.
4.158. Кабели связи с изолирующими покровами шлангового типа не перепаиваются между собой и с другими кабелями (кроме кабеля марки МКСГШп). При необходимости они соединяются на щитке КИП-2.
4.159. Перепайка свинцовых оболочек городских кабелей производится свинцовой лентой шириной 20 - 40 мм, толщиной 1 - 2,5 мм или медной проволокой диаметром 1,5 - 2 мм. Свинцовая лента (рис. 4.23) и медная проволока должны иметь небольшой запас длины между двумя соседними пайками.
Рис. 4.13.
Монтаж поперечной спайки свинцовых оболочек кабелей ГТС:
1 - свинцовая полоса; 2 - кабель; 3 -
места спайки
Оборудование кабельных телефонных канализаций
4.160. Кабельные телефонные канализации оборудуются в соответствии с правилами по строительству линейных сооружений городских телефонных сетей.
Рис. 4.24. Схема
поперечных соединений свинцовых оболочек кабелей ГТС:
1 - шкафной колодец; 2 - места перепайки;
3 - шахта ГТС; 4 - разветвительный колодец; 5 - станционный колодец; 6 -
распределительный шкаф
участие в приемке в эксплуатацию защитных устройств;
техническую эксплуатацию устройств защиты;
контроль эффективности действия защиты;
ведение технической документации.
5.2. Техническая эксплуатация защиты подземных металлических сооружений связи от коррозии обеспечивается работниками линейных служб соответствующих подразделений ТЦУМС, ПТУС, ГТС и др.
5.3. Перечень и результаты работ, выполняемых в процессе технической эксплуатации защиты от коррозии подземных металлических сооружений связи, должны фиксироваться в соответствующих документах (паспортах, журналах контроля и т.д.) или, в случае необходимости, оформляться специальным актом.
5.4. Работы по защите подземных металлических сооружений связи от коррозии подлежат обязательной приемке от строительно-монтажных организаций по мере выполнения отдельных этапов работ и в целом.
Порядок приемки устанавливается проектом защиты.
5.5. Для приемки работ по защите от коррозии должны создаваться специальные комиссии (в случае приемки только работ по защите коррозии) или подкомиссии в составе комиссии, осуществляющей приемку законченных строительством линейно-кабельных сооружений связи. В состав комиссий, кроме представителей заказчика, проектной, строительной и эксплуатирующей организаций могут быть включены представители местных органов Гостехнадзора СССР, а также организаций, являющихся владельцами подземных металлических сооружений различного назначения (силовые кабели, газовые и тепловые сети, водопровод и т.д.), расположенных в районе прохождения кабельных линий связи.
5.6. В процессе работы комиссии осуществляется приемка всех видов выполненных работ по защите подземных металлических сооружений связи от коррозии и устанавливается соответствие их проекту.
Результаты приемки отдельных видов работ оформляются соответствующими справками, а результаты работы комиссии в целом - актом приемки, который подписывается всеми членами комиссии.
5.7. Электрозащитные устройства вводятся в эксплуатацию только после приемки их комиссией и подписания соответствующих актов на каждое из устройств защиты.
5.8. Наладка защитных устройств выполняется в процессе их приемки в эксплуатацию специализированной или строительно-монтажной организацией, осуществляющей строительство кабельной линии связи.
5.9. В процессе наладки проверке подлежат рабочие параметры защитной установки, величина разности потенциалов «сооружение - земля» в зоне защиты и влияние защитной установки, оборудованной на сооружении связи, на соседние (сближающиеся или пересекающиеся) подземные металлические сооружения.
5.10. При наладке электродренажной установки проверяются величина дренажного тока и разность потенциалов «сооружение - земля» в точке дренирования.
5.11. При наладке катодной установки проверяются: разность потенциалов «сооружение - земля» в месте подключения дренажного кабеля, величины выпрямленного напряжения и тока катодной станции.
5.12. При наладке усиленного дренажа проверяются: разность потенциалов «сооружение - земля» в месте подключения дренажного кабеля, величины тока и выпрямленного напряжения, соответствие допустимого обратного напряжения вентильных элементов напряжению «рельс - сооружение». Максимальное напряжение «рельс - сооружение» определяется для положительной полярности рельса.
5.13. При наладке протекторной защиты проверяются: разность потенциалов «сооружение - земля» до подключения протекторов, разность потенциалов между протектором и землей до подключения его к защищаемому сооружению, разность потенциалов «сооружение - протектор», разность потенциалов «сооружение - земля» в месте подключения протектора.
5.14. При наладке блоков совместной защиты измеряется разность потенциалов «сооружение - земля» в месте подключения блока и на смежных подземных металлических сооружениях.
5.15. Протяженность защитной зоны определяется расстоянием (в обе стороны) от места подключения к сооружению защитной установки до того места, где потенциал кабеля имеет минимально допустимый защитный потенциал.
5.16. Электрозащитные установки, не соответствующие проекту защиты, приемке в эксплуатацию не подлежат. Если отступления от проекта или выявленные недоделки снижают эффективность защиты или противоречат требованиям эксплуатации, то они в обязательном порядке фиксируются в акте с указанием сроков их устранения и должны быть представлены к повторной приемке.
5.17. Строительно-монтажные организации, выполняющие работы по устройству электрохимической защиты, несут ответственность за качество работ; после приемки защитных устройств в эксплуатацию они обязаны в гарантийные сроки устранить дефекты строительства, выявленные в процессе эксплуатации.
5.18. Приемка в эксплуатацию кабелей с защитными покровами шлангового типа осуществляется по величине электрического сопротивления защитного покрова между оболочкой кабелей и землей для небронированных кабелей, оболочкой кабеля и броней для бронированных кабелей и броней и землей для кабелей с защищенной броней, нормируемого для каждого из типов кабелей.
Общие положения
5.19. В процессе технической эксплуатации защитных устройств производятся технический осмотр и проверка эффективности их работы, а также контрольные измерения разности потенциалов «сооружение - земля».
5.20. Технический осмотр защитных установок рекомендуется производить не реже: 4 раз в месяц - на устройствах электродренажной защиты; 2 раз в месяц - на устройствах катодной защиты; 1 раза в 6 месяцев - на контролируемых протекторных установках.
5.21. Эффективность работы установок электродренажной и катодной защиты проверяется не реже 4 раз в год; установок протекторной защиты - не реже 2 раз в год в различные сезоны, а также при каждом изменении режима работы установок и при изменениях, связанных с развитием сети подземных металлических сооружений и источников блуждающих токов.
5.22. Проверка изоляции токоведущих частей защитных установок и измерение сопротивления растеканию защитных и анодных заземлений должны производиться не реже 1 раза в год.
Эксплуатация электродренажных установок
5.23. При эксплуатации электродренажных установок производятся: периодический технический осмотр, контроль режима работы, а также контрольные измерения потенциалов на подземных сооружениях связи.
Для каждой электродренажной установки необходимо вести журнал, в котором записывают:
результаты технических осмотров;
перечень работ с указанием, что, когда и где сделано;
результаты измерений, проводимых на установке.
Журнал электродренажной установки ведется по ф. 4 (приложение 1). Кроме того, на каждую электродренажную установку заводится паспорт по ф. 5 (приложение 1).
5.24. При техническом осмотре электродренажной установки производятся:
внешний осмотр (проверяются плотность контактов, исправность монтажа, отсутствие механических повреждений отдельных элементов и т.п.);
проверка исправности предохранителя;
проверка исправности вентильных элементов;
проверка исправности и состояния реле и других переключающих устройств;
чистка контактов реле, а также очистка установки от пыли, снега и др.;
проверка дренажных кабелей и правильности их подключения.
Одновременно при техническом осмотре измеряется разность потенциалов «сооружение - земля» в точке дренирования при включенном и выключенном дренаже.
При обнаружении во время осмотра дефектов электродренажного устройства последние устраняются либо на месте, либо в мастерской.
Если устранить дефект на месте не представляется возможным, то электродренаж снимается и направляется для ремонта в мастерскую.
Вместо снятого электродренажа устанавливают аналогичный из технического запаса, имеющегося в эксплуатирующей организации.
5.25. В случае обнаружения перегоревшего предохранителя следует поставить запасной предохранитель и сделать соответствующую запись в журнале электродренажной установки (ф. 4, приложение 1). При повторном перегорании предохранителя новый устанавливается только после выяснения и устранения причин перегорания ранее установленного предохранителя. Причиной перегорания предохранителя могут явиться либо чрезмерное увеличение тока в цепи электродренажа, что выясняется путем измерения тока, либо неправильный выбор плавкой вставки предохранителя. Если причиной перегорания явилось чрезмерное увеличение тока в цепи электродренажа, то величина этого тока при помощи реостата соответственно уменьшается или же, если это позволяет электродренаж и режим защиты, устанавливается новый предохранитель на большую величину тока. В обоих случаях одновременно производятся контрольные измерения потенциалов на сооружении связи с целью выяснения возможных изменений величин потенциалов при изменении режима работы электродренажной установки.
5.26. Неисправные вентильные элементы заменяются новыми. При проверке состояния контактов особое внимание обращается на чистоту контактных поверхностей и плотность их прилегания друг к другу.
При обнаружении каких-либо дефектов контактов необходимо выяснять причину их появления и принять соответствующие меры к их устранению.
5.27. При контроле работы дренажной установки:
измеряется средняя величина дренажного тока и определяется направление тока, при котором дренаж работает;
определяется наличие или отсутствие тока в цепи дренажа при перемене полярности кабеля относительно рельсов;
определяется «порог» срабатывания дренажа (при наличии реле в цепи дренажа или цепи управления);
определяются величина и знак разности потенциалов между кабелем связи и рельсами (отрицательной питающей линией), при которых поляризованный электродренаж срабатывает, а также измеряется разность потенциалов между кабелем и землей;
проверяется исправность цепи поляризованного электродренажа при перемене полярности сооружения связи относительно рельсов (отрицательной питающей линии);
проверяется исправность контрольно-сигнального устройства.
При проверке параметров работы автоматического усиленного электродренажа проверяют исправность действия системы автоматики и, в частности, степень стабилизации величины защитного потенциала на сооружении связи.
5.25. Величины тока в цепи электродренажа измеряются не реже 1 раза в месяц, разности потенциалов между сооружениями связи и рельсами (отрицательной питающей линией) измеряются не реже одного раза в квартал, а также во всех случаях изменения режима работы тяговых подстанций в течение 1 - 2 ч. в период их наибольшей нагрузки. С этой целью перед измерениями необходимо выяснить режим работы тяговых подстанций.
5.29. Уменьшение тока в цепи электродренажа может быть следствием как изменения режима работы источника блуждающих токов, так и наличия неисправностей в цепи дренажа (плохое состояние контактов, обрыв жил дренажного кабеля и др.).
Уменьшение тока дренажа может привести к появлению незащищенных зон на подземном сооружении, которые должны быть устранены путем ликвидации неисправностей в цепи электродренажа или увеличения дренажного тока. Если электродренаж не допускает увеличения тока, принимаются дополнительные меры по защите (установка электродренажа, допускающего больший дренажный ток, установка усиленного дренажа, установка дополнительной катодной станции и т.п.).
При проведении данных работ должны проводиться контрольные измерения потенциалов сооружения относительно земли.
5.30. Увеличение средней величины дренажного тока может быть вызвано ухудшением состояния изолирующего покрова сооружения связи, изменением режима работы источника блуждающих токов, а также неисправностями в цепи питания электротяги. В этом случае должны быть измерены потенциалы сооружения связи относительно земли и отрегулирован (в присутствии представителей заинтересованных организаций) режим работы электродренажа таким образом, чтобы потенциалы сооружения связи и расположенных вблизи других сооружений находились в пределах величин защитных потенциалов.
5.31. Если при контроле работы электродренажной установки окажется, что ток в цепи электродренажа проходит в обоих направлениях, то в случае установки прямого электродренажа последний должен быть заменен поляризованным; если же установлен поляризованный электродренаж, то такие результаты измерений указывают на его неисправность.
В последнем случае выясняется причина повреждения и обнаруженные дефекты и неисправности устраняются.
При невозможности устранить неисправности на месте электродренаж снимается для проведения ремонта в мастерской.
Эксплуатация катодных установок
5.32. При эксплуатации катодных установок проводятся периодический технический осмотр установок и контроль режима их работы, а также контрольные измерения на защищаемых сооружениях связи.
5.33. При техническом осмотре и контроле режима работы катодной установки проводятся:
внешний осмотр всех элементов катодной установки с целью обнаружения внешних дефектов (проверяются плотность контактов схемы, исправность монтажа, отсутствие механических повреждений отдельных элементов, исправность подводимых к катодной станции проводов);
проверка исправности предохранителей;
проверка соответствия нормам сопротивлений анодного и защитного сопротивлений;
очистка всех элементов катодной станции от пыли, снега, грязи и т.п.
Обнаруженные неисправности устраняются либо на месте, либо в мастерской.
5.34. При перегорании предохранителя в цепи переменного тока ставится запасной предохранитель. Если предохранитель перегорит повторно, что указывает на наличие повреждения в выпрямителе, катодная станция выключается. Если невозможно установить и ликвидировать причину повреждения на месте, катодную станцию отправляют в ремонт.
5.35. При контроле режима работы катодной установки проводятся измерения величины защитного тока катодной установки и потенциалов сооружения связи по отношению к земле.
Средняя величина этого тока не должна отличаться больше, чем на ±10% от величины защитного тока, установленного при ее сдаче в эксплуатацию.
Ток катодной станции может измениться вследствие колебаний напряжения в цепи переменного тока, неисправности выпрямителя, а также увеличения или уменьшения сопротивления в цепи «катодная станция - сооружение связи».
Напряжение в цепи переменного тока измеряется при помощи переносного вольтметра переменного тока, подключаемого к электросети, от которой питается выпрямитель. Выпрямленное напряжение определяется вольтметром постоянного тока при отключенных анодном заземлении и защищаемых сооружениях (холостой ход). Если выпрямленное напряжение при холостом ходе соответствует паспортным данным, то это указывает на то, что изменение величины защитного тока произошло вследствие изменения сопротивления во внешней цепи катодной установки.
В этом случае необходимо измерить сопротивление цепи «анодное заземление - сооружение связи» и сопротивление анодного заземления. Если окажется, что сопротивление анодного заземления осталось прежним, то уменьшение тока могло произойти вследствие увеличения сопротивления контактов в местах подключения соединительных кабелей или увеличения переходного сопротивления сооружения связи по отношению к земле.
5.36. Контроль режима работы установок катодной защиты проводится не реже 1 раза в месяц.
5.37. При техническом осмотре автоматических катодных станций или катодных станций с блоками автоматизации проверяется исправность действия систем автоматической регулировки.
5.38. Для каждой катодной установки должен вестись журнал, в котором записываются:
результаты технических осмотров;
все проводимые работы с точным указанием, что и когда сделано;
результаты всех измерений, проводимых на установке.
Журнал катодной установки ведется по ф. 3. Кроме того, на каждую катодную установку заводится паспорт по ф. 6. Формы 3 и 6 даны в приложении 1.
Эксплуатация протекторов
5.39. При технической эксплуатации одиночных и групповых протекторных установок производятся периодический технический контроль режима их работы, а также контрольные измерения потенциалов на защищаемых подземных сооружениях связи.
5.40. Контроль режима работы одиночных и групповых протекторных установок, подключенных к защищаемому сооружению через КИП, включает:
измерение потенциала протектора по отношению к земле;
измерение величины тока в цепи «протектор - защищаемое сооружение»;
измерение сопротивления растеканию одиночных протекторов и групповых протекторных установок;
проверку исправности вентильного элемента;
определение эффективности протекторной защиты.
5.41. Если величина потенциала протектора по отношению к земле, измеренная с помощью медносульфатного электрода сравнения, более - 1,2 В, то протектор считается исправным. При потенциале меньше - 1,2 В (по абсолютной величине) протектор считается неисправным и подлежит замене.
5.42. Измеренные величины тока в цепи «протектор - защищаемое сооружение» и сопротивления растеканию протектора регистрируются в журнале по ф. 8 (приложение 1).
5.43. Эффективность работы протекторов, подключенных к сооружению через КИП, определяется путем измерения потенциала сооружения связи по отношению к земле в месте подключения протектора при включенном и отключенном протекторе.
5.44. Если протекторы подключены непосредственно к защищаемому сооружению (с выводом провода от сооружения на КИП или без него), эффективность работы протекторов может быть определена только при их отключении от защищаемого сооружения.
5.45. При применении поляризованных протекторов необходимо контролировать исправность вентильных элементов полупроводниковых диодов). Исправность вентильного элемента проверяется путем измерения его сопротивления в прямом и обратном направлениях при отключенных протекторе и защищаемом сооружении.
5.46. Контроль работы протекторов и определение эффективности их действия осуществляются не реже 1 раза в 6 месяцев. Результаты измерений регистрируются в журнале по ф. 8. На каждый установленный протектор (протекторную установку) составляется паспорт по ф. 9 (ф. 8 и 9 приведены в приложении 1).
Эксплуатация устройств совместной защиты
5.47. Эксплуатация устройств совместной защиты сооружений связи и подземных металлических сооружений (трубопроводов) должна осуществляться по договоренности между организациями связи или организациями, которым принадлежат соседние сооружения, включенные в совместную систему защиты.
Все устройства совместной защиты, расположенные на подземных коммуникациях или в помещениях предприятий связи, эксплуатируются организациями связи.
Все устройства совместной защиты, расположенные в смотровых колодцах или помещениях организаций, эксплуатирующих соседние сооружения, должны обслуживаться этими организациями.
5.48. Работы по эксплуатации включают в себя:
периодический технический осмотр состояния средств защиты (электродренажей, катодных станций, блоков совместной защиты и др.);
контроль режима работы устройств совместной защиты;
проведение измерений потенциалов на защищаемых сооружениях по отношению к земле и определение направления тока в перемычках.
5.49. Технический осмотр устройств совместной защиты и контроль режима их работы должны проводиться не реже 1 раза в неделю в случае отсутствия дистанционного контроля за режимом работы устройств совместной защиты и не реже 1 раза в месяц при наличии такового. Во время осмотра особое внимание должно быть обращено на состояние устройств защиты и перемычек между сооружениями, от исправности которых зависит эффективность защиты от коррозии.
5.50. Одновременно при техническом осмотре измеряется разность потенциалов сооружения связи относительно земли в точке подключения устройств защиты (перемычки) при включенных и выключенных устройствах защиты. Измерения должны производиться периодически не реже 1 раза в квартал и, кроме того, во всех случаях изменения режима работы защитных устройств. На основании этих измерений делается вывод об эффективности защиты.
5.51. Причинами отсутствия или недостаточной защиты сооружения связи могут быть: обрыв перемычки между сооружениями, нарушение режима работы защитного устройства, изменение схемы и режима работы источника блуждающих токов в земле.
5.52. При эксплуатации устройств совместной электродренажной и катодной защиты необходимо соблюдать действующие правила технической эксплуатации и техники безопасности, относящиеся к сооружениям, объединенным совместной защитой.
Как правило, все работы на соседних подземных сооружениях должны выполняться техническим персоналом, обслуживающим эти сооружения, а на сооружениях связи - техническим персоналом, обслуживающим сооружения связи.
Эксплуатация КИП
5.53. При эксплуатации КИП производится периодический контроль состояния КИП, а также их профилактический ремонт.
5.54. Периодический контроль состояния КИП включает:
внешний осмотр элементов КИП;
определение исправности соединительных проводов и наличия контактов.
5.55. Профилактический ремонт КИП включает:
замену поврежденных и требующих ремонта деталей КИП;
чистку контактов;
окраску металлических деталей и столбика КИП.
5.56. Внешний осмотр элементов КИП производится для определения:
правильности установленных соединений на клеммном щитке:
отсутствия внешних дефектов;
надежности крепления перемычек и т.д.
5.57. Исправность соединительных проводов проверяется определением электрического контакта в цепи между двумя клеммами на КИП-1 и между клеммами, соединенными с оболочкой и броней каждого кабеля, при измерении на КИП-2.
5.58. Замена поврежденных и требующих ремонта деталей производится по мере их выявления в процессе эксплуатации КИП.
Примечание. При наличии влияния электрифицированных железных дорог переменного тока необходимо следить за тем, чтобы при выполнении работ по замене деталей КИП оболочка и броня кабеля оставались заземленными при помощи временных перемычек.
5.59. Периодический контроль состояния КИП и заземлений и профилактический ремонт КИП производятся по мере необходимости, но не реже 1 раза в год (в летний период).
5.60. При эксплуатации КИП (проведение необходимых измерений, замена КИП и их ремонт) должны соблюдаться правила по технике безопасности, изложенные в соответствующих документах.
Эксплуатация изолирующих муфт и токоотводов
5.61. При эксплуатации изолирующих муфт проверяются исправность и эффективность их действия (см. п. 5.70). Кроме того, проверяется исправность шунтирующих сопротивлений, конденсаторов и вентильных элементов.
5.62. Контроль исправности изолирующих муфт проводится периодически не реже 1 раза в квартал при наличии шунтирующих элементов и не реже 1 раза в год при отсутствии их.
5.63. При эксплуатации токоотводов производятся:
измерение сопротивления растеканию заземления;
проверка исправности вентильного блока и соединительных кабелей.
Исправность вентильного блока определяется путем измерения его сопротивления в прямом и обратном направлениях.
Исправность соединительных кабелей проверяется путем прозвонки.
5.64. Периодический технический осмотр токоотводов должен производиться не реже 1 раза в квартал при наличии в цепи токоотвода вентильного блока и 1 раза в полугодие при его отсутствии.
5.65. Контроль эффективности защиты подземных металлических сооружений связи производится периодически в процессе их эксплуатации и заключается в проверке:
состояния изолирующих покровов подземных сооружений связи;
работы устройств электрохимической защиты;
эффективности действия устройств электрохимической защиты;
исправности изолирующих муфт;
коррозионного состояния сооружений связи путем визуальных осмотров.
5.66. Контроль состояния изолирующих покровов подземных кабелей связи, как правило, производится 1 раз в год в летний период, если для них не оговорена другая периодичность, и заключается в измерении их электрического сопротивления.
Для бронированных кабелей с покровом шлангового типа поверх оболочки и с джутовым покровом поверх брони производится измерение сопротивления изоляции «оболочка - земля» («оболочка - броня»); для бронированных кабелей с изолирующим покровом шлангового типа поверх оболочки и брони измеряется сопротивление изоляции «оболочка - броня» и «броня - земля» (см. пп. 2.73, 2.74).
При снижении сопротивления изолирующих покровов до значений, меньших, чем предусмотрено нормами, определяют место повреждения защитного покрова, производят ремонт или решают вопрос о необходимости применения электрохимической защиты.
Примечание. Если на участке измерения имеет место влияние электрифицированной железной дороги переменного тока, ЛЭП и радиостанций, непосредственное снятие перемычек между оболочками и землей, а также между броней и землей во избежание ухудшения экранирующего действия металлических покровов и возникновения опасных напряжений не допускается.
В этом случае перед снятием перемычки параллельно ей включается конденсатор типа МБГО емкостью 300 мкФ на рабочее напряжение 300 В. При этом необходимо строго соблюдать правила техники безопасности. После окончания измерений соединительные перемычки восстанавливаются.
5.67. Контроль работы устройств электрохимической защиты производится в соответствии с указаниями по эксплуатации защитных устройств (см. пп. 5.1 - 5.3).
5.68. Эффективность действия устройств электрохимической защиты контролируется путем измерения потенциалов подземного сооружения относительно земли, разности потенциалов между сооружением связи и соседними подземными сооружениями, разности потенциалов между сооружениями связи и рельсами электрифицированного транспорта, а также величины и направления тока в сооружении связи (см. пп. 2.33 - 2.49 и 2.53 - 2.63).
Периодичность измерений на сооружениях связи и рельсовых сетях приведена в табл. 5.1.
ТАБЛИЦА 5.1
Периодичность измерений на подземных сооружениях связи и рельсовых сетях.
|
Периодичность измерений |
|
|
Потенциалы сооружений связи относительно земли (окружающей среды) |
1 раз в год во всех колодцах и КИП |
|
Разность потенциалов между сооружениями связи и соседними подземными металлическими сооружениями |
1 раз в год во всех местах сближений и пересечений |
|
Разность потенциалов между сооружениями связи и рельсами электрифицированных железных дорог |
1 раз в год во всех местах сближений и пересечений |
|
Величина и направление тока в сооружении |
1 раз в год при проведении измерений потенциалов сооружения |
Результаты измерений оформляются протоколом по ф. 1 (приложение 1) и обрабатываются в соответствии с методикой, изложенной в пп. 2.83 - 2.88.
5.69. Если в результате измерений окажется, что средства электрохимической защиты работают неэффективно, принимается решение об изменении режима их работы или установке дополнительных устройств защиты.
5.70. Контроль исправности изолирующих муфт осуществляется в колодцах на кабелях, проложенных в канализации; в КИП - на кабелях, проложенных непосредственно в земле; в наземной части НУП - на вводах кабелей.
Исправность муфт может быть проверена с помощью:
телефонной трубки, подключаемой к контрольным выводам КИП. Если в момент подключения в телефоне будет слышен щелчок, то муфта исправна - если щелчка не будет, то в муфте имеется короткое замыкание и она подлежит осмотру и в случае необходимости - замене;
амперметра, который подключается к выводам КИП (рис. 5.1). Если муфта исправна, то амперметр покажет величину тока, который проходил бы по оболочке кабеля при отсутствии муфты. Если же в муфте имеется короткое замыкание, то стрелка амперметра отклоняться не будет;
вольтметра. Если муфта исправна, потенциалы оболочек кабелей по отношению к земле с обеих сторон муфты должны отличаться по величине или по знаку (рис. 5.1).
Примечание. При проверке исправности муфты любым из указанных способов элементы, шунтирующие муфту, если они были установлены, должны отключаться.
Рис. 5.1.
Схема проверки исправности изолирующей муфты на бронированном кабеле:
1 - КИП; 2 - кабель; 3 - изолирующая
муфта
5.71. В отдельных случаях для оценки коррозионного состояния и эффективности электрохимической защиты производятся вскрытие изолирующих покровов подземных сооружений связи и визуальный осмотр состояния сооружения. Результаты осмотра актируются по ф. 10 приложения 1, и по ним принимается решение о необходимости применения дополнительных мер защиты.
5.72. Для определения эффективности действия протекторной защиты цистерн НУП необходимо:
осмотреть состояние контактных соединений;
измерить:
потенциал цистерны НУП относительно земли при включенной и отключенной протекторной защите:
потенциал каждого из протекторов по отношению к земле;
величину тока, отдаваемого каждым из протекторов;
сопротивления заземления каждого из протекторов, всех действующих протекторов, цистерны НУП, цепи протекторной защиты;
удельное сопротивление грунта вблизи НУП.
При наличии на вводе кабелей в НУП изолирующих муфт необходимо дополнительно проводить контроль исправности изолирующих муфт;
результаты измерений.
5.73. Для проведения вышеизложенных измерений необходимы следующая измерительная аппаратура и вспомогательное оборудование: коррозионный вольтамперметр типа М-231; измеритель заземлений типов МС-08, Ф-416 или М-416; электроды неполяризующиеся медносульфатные; электроды стальные; измерительные проводники.
5.74. При осмотре состояния контактных соединений устанавливают:
исправность клеммного щитка и подключенных к нему проводников от протекторов и цистерны;
исправность соединения проводника от клеммного щитка с цистерной;
целостность соединительных проводников и контактных соединений.
При наличии на вводе кабелей в НУП изолирующих муфт необходимо также осмотреть состояние клеммного щитка КИП и подключенных к нему проводников от оболочек и брони кабелей А и Б. Проверка по первым двум позициям производится путем визуального осмотра, а по третьей - путем прозвонки проводников и контактных соединений приборами МС-08, Ф-416 или М-416. Результаты осмотра фиксируются в журнале.
5.75. Технический осмотр состояния контактных соединений должен производиться не реже 1 раза в квартал, а контроль режима работы установок протекторной защиты цистерн НУП - не реже 1 раза в полугодие.
5.76. Измерение потенциала цистерн НУП относительно земли производится с помощью прибора М-231 и медносульфатного электрода сравнения. Медносульфатный электрод располагается на расстоянии 2 - 3 м от края цистерны, т.е. за границей обваловки, если таковая имеется, или непосредственно у будки НУП.
Перед производством измерений следует установить, имеются ли изолирующие муфты на вводах кабелей и как осуществлен ввод заземлений внутрь НУП. Эти сведения заносятся в журнал.
При измерении разности потенциалов следует руководствоваться рекомендациями, приведенными в пп. 2.33 - 2.49.
В случае, если на магистрали имеет место действие блуждающих токов, то по результатам измерений оценить действие протекторной защиты не представляется возможным. Измерение потенциала цистерны НУП должно быть произведено при включенных и отключенных протекторах.
При данных измерениях необходимо учитывать тот факт, что катодная поляризация цистерны НУП удерживается определенное время и при отключенных протекторах. Поэтому осуществлять измерения потенциала цистерны НУП при отключенной защите следует не менее чем через 10 мин при отсутствии да вводе кабелей изолирующих муфт, а при их наличии не менее чем через 30 мин.
5.77. Измерение разности потенциалов между каждым из протекторов и землей производится в соответствии с рекомендациями, изложенными в пп. 2.33 - 2.49. При измерениях используются прибор М-231 и медносульфатный электрод сравнения. Перед измерением протектор должен быть отключен от цистерны НУП (на клеммном щитке). В нормальном состоянии потенциал протектора по отношению к земле должен быть не менее - 1,2 В.
Медносульфатный электрод сравнения располагают на поверхности земли, как и при измерении потенциала цистерны.
5.78. Измерение тока каждого из протекторов производится при подключении их к цистерне НУП через амперметр. При измерении используется прибор М-231, включаемый как амперметр. Как правило, величина тока протектора составляет от единиц до сотен миллиампер и зависит от сопротивления цепи протекторной защиты.
Перед измерением все протекторы необходимо отключить от цистерны НУП и производить измерения, поочередно подключая каждый из протекторов.
5.79. Измерение общего тока всех протекторов производится при закорачивании их и подключении к цистерне НУП через прибор типа М-231. Как правило, величина общего тока несколько меньше (за счет взаимного экранирования) или равна сумме токов защиты каждого из протекторов.
5.80. Измерение сопротивления заземления каждого из протекторов производится по методике, изложенной, в пп. 2.76 - 2.80.
При измерении могут быть использованы приборы МС-08, Ф-416 или М-416. Расстояния между измерительными электродами и измеряемым протектором должны быть не менее указанных на рис. 2.1.
5.81. Измерение сопротивления заземления всех действующих протекторов производится по методике, изложенной в пп. 2.76 - 2.80. Расстояние между электродами при измерении должно быть взято равным тем расстояниям, которые приведены на рис. 2.22.
При измерении также могут быть использованы приборы МС-08, Ф-416 или М-416. Допускается выполнение измерения сопротивления заземления и другими методами.
5.82. Измерение сопротивления заземления цистерны НУП производится по методике, изложенной в пп. 2.73 - 2.75. Перед измерениями необходимо снять перемычки на клеммном щитке между цистерной НУП и протекторами и при наличии на вводе кабелей изолирующих муфт проверить состояние клеммного щитка КИП-2 (изолирующая муфта не должна быть закорочена).
При измерении расстояние между измерительными электродами должно быть не менее указанных на рис. 2.23. Измерение может быть выполнено приборами МС-08, Ф-416 или М-416. При хорошей изоляции НУП допускается применение мегомметров.
5.83. Измерение сопротивления цепи протекторной защиты следует производить по методике, изложенной в п. 2.81.
Сопротивление цепи протекторной защиты может быть измерено приборами МС-08, Ф-416 или М-416. Измеренная величина должна быть примерно равна сумме сопротивлений заземлений цистерны НУП и действующих протекторов.
5.84. Измерение удельного сопротивления грунта вблизи НУП следует производить о методике, приведенной в пп. 2.21 - 2.28.
При измерениях расстояние между измерительными электродами должно быть взято равным 3 м. Измерения для исключения влияния на измеряемую величину проложенных магистральных кабелей необходимо производить при параллельном и перпендикулярном расположении электродов по отношению к трассе кабелей.
Результаты измерений заносятся в журнал, а затем вычисляется значение удельного сопротивления.
5.85. Контроль исправности изолирующих муфт осуществляется в КИП-2 или а наземной части НУП в соответствии с рекомендациями, изложенными в п. 5.70.
Исправность изолирующих муфт может быть проверена с помощью:
амперметра (прибор М-231), который подключается к выводам в КИП. В случае исправности муфты стрелка амперметра будет отклоняться;
вольтметра (прибор M-231). Если муфта исправна, то потенциалы кабеля по отношению к земле с обеих сторон муфт должны отличаться по величине.
При этом измерении к НУП должна быть подключена протекторная защита.
Результаты контроля заносятся в журнал (ф. 10, приложение 1).
5.86. Обработка результатов измерений состоит в аккуратной записи измеренных величин в журналы, вычислении значений удельного сопротивления земли вблизи НУП и регистрации особых условий, которые не отражаются требованиями настоящей методики, но являются существенными при анализе полученных результатов.
5.87. К выполнению работ по защите подземных металлических сооружений связи допускаются лица, обученные правилам техники безопасности и сдавшие экзамены в установленном порядке.
Независимо от сдачи экзамена каждый рабочий при допуске к работе должен получить инструктаж по технике безопасности на рабочем месте с соответствующей записью в журнале по проведению инструктажа.
5.88. На каждом рабочем участке должны быть инструкции по технике безопасности и промышленной санитарии, а также журнал проведения инструктажа рабочих установленной формы.
5.89. При выполнении работ по защите подземных металлических сооружений связи от коррозии работающий персонал должен быть обеспечен спецодеждой и средствами индивидуальной защиты в соответствии с требованиями действующих правил.
5.90. При проведении работ должны быть предусмотрены предупредительные знаки в соответствии с требованиями ГОСТ 15548-70.
5.91. Работы с пожаро- и взрывоопасными материалами должны выполняться с соблюдением требований пожарной безопасности.
Рабочие места должны быть обеспечены противопожарными средствами.
5.92. При производстве работ, связанных с электрическими измерениями на подземных металлических сооружениях связи, а также работ по монтажу, ремонту и наладке электрозащитных установок следует соблюдать «Правила техники безопасности при эксплуатации электроустановок городских электрических сетей напряжением до 1000 В».
5.93. Работы в пределах проезжей части улиц и дорог для автотранспорта, на рельсовых путях трамвая и железных дорогах, источниках электропитания, установках электрозащиты выполняются бригадой не менее двух человек, а при проведении работ в колодцах, туннелях или глубоких траншеях - бригадой в составе не менее трех человек.
5.94. Уровень вредных примесей на рабочем месте при нанесении на подземные сооружения изоляционных покрытий не должен превышать санитарных норм, утвержденных в установленном порядке.
5.95. Перед началом работ в колодцах необходимо убедиться в отсутствии горючих и вредных газов приборами (газоанализаторами) с соответствующей записью в наряде. Запрещается проверять отсутствие газа при помощи открытого огня.
5.96. Не разрешается проводить работы в каналах с наличием газа до устранения причин загазованности сооружения.
5.97. Для спуска в колодцы, не имеющие скоб, котлованы, люки, должны применяться металлические лестницы достаточной длины с приспособлениями для закрепления у края колодца, котлована, люка, не дающие искрения при ударе или трении о твердые предметы.
5.98. Измерения в контрольных пунктах, расположенных на проезжей части дорог, на рельсах трамвая или электрифицированной железной дороги, должны производить два человека, один из которых следит за безопасностью работ и ведет наблюдения за движением транспорта.
5.99. Все работы на тяговых подстанциях и отсасывающих пунктах электротранспорта осуществляются в присутствии персонала подстанций при строгом соблюдении установленных правил проведения работ.
5.100. При применении электроинструмента необходимо проводить работу только в диэлектрических перчатках при заземленных корпусах электроинструментов.
5.101. Установка опытного анодного заземления допускается лишь в присутствии представителя кабельной сети.
5.102. На весь период работы опытной станции катодной защиты у контура анодного заземления должен находиться дежурный, не допускающий посторонних лиц к анодному заземлению, и должны быть установлены предупредительные знаки (ГОСТ 15548-70).
5.103. Металлические корпуса электроустановок, не находящиеся под напряжением, должны иметь защитное заземление.
5.104. Все работы по защите подземных металлических сооружений от коррозии должны выполняться в соответствии с разделами «Правил техники безопасности при работах на кабельных линиях связи и радиофикации». М., «Связь», 1969.
ТЕХНИКА БЕЗОПАСНОСТИ ПРИ ЗАЩИТЕ ОТ ЭЛЕКТРОКОРРОЗИИ
5.105. Подключения кабелей связи к защитным устройствам, а также защитных устройств к источнику блуждающих токов должны выполняться в диэлектрических перчатках.
5.106. Ремонт дренажных установок разрешается производить после снятия напряжения и заземления дренажного кабеля со стороны контактной сети электрифицированной железной дороги или трамвая.
5.107. На катодных установках разрешается работать без отключения напряжения с обязательным использованием диэлектрических перчаток.
5.108. Наружный ящик катодной установки должен быть обязательно заземлен («занулен»).
5.109. При проведении измерений проводники должны сначала присоединяться к прибору, а затем к испытуемому объекту.
6.1. Защитные покровы относятся к основным средствам защиты подземных металлических сооружений связи от коррозии и механических повреждений.
6.2. Защитные покровы подземных металлических сооружений связи состоят, как правило, из нескольких последовательно наносимых слоев изоляционных материалов, обладающих различными защитными и изолирующими свойствами.
Нанесение большинства защитных покровов производится в заводских условиях.
6.3. Защитные покровы подземных кабелей связи состоят из следующих конструктивных элементов: подушки, брони, наружного покрова.
6.4. Подушка и наружный покров подземных кабелей связи могут включать в себя следующие элементы:
вязкий подклеивающий состав на основе битума:
выпрессованный полиэтиленовый или поливинилхлоридный защитный шланг;
ленты поливинилхлоридные, полиэтилентерефталатные, полиамидные либо другие равноценные им:
пропитанную кабельную пряжу (джут) или стеклянную пряжу из штапелированного волокна;
негорючий состав;
крепированную бумагу;
битумный состав или битум;
покрытие, предохраняющее витки кабеля от слипания (меловое покрытие).
ТАБЛИЦА 6.1
Применение защитных покровов кабелей в зависимости от условий прокладки и механических воздействий
|
Условия прокладки |
Тип защитных покровов для |
||||||||||
|
оболочек кабеля, не подвергающегося значительным растягивающим усилиям |
оболочек кабеля, подвергающегося значительным растягивающим усилиям |
||||||||||
|
свинцовая |
алюминиевая |
стальная гофрированная |
неметаллическая |
без оболочки |
Свинцовая |
алюминиевая |
неметаллическая |
без оболочки |
|||
|
1 |
2 |
3 |
4 |
5 |
6 |
7 |
8 |
9 |
10 |
11 |
|
|
Почвенная коррозия |
В земле (траншеях) |
Б |
Бл БлШп Шв Б2л Шп Бп |
Шв Шп |
Бг БбГ |
БбШв БбШп |
П |
Пл |
П |
ПбШп |
|
|
В каналах и тоннелях |
БГ |
БлГ Шв Б2л Шв |
Шв |
БГ БбГ |
БбШв |
ПГ |
ПлГ ПлШв |
ПГ |
ПбШв |
||
|
В каналах и тоннелях, в коррозионно-активной среде |
БлГ Б2лГ Б2лШв БШв Шв, Шп БлШв |
Б2лГ Шв БвШв Б2лШв БлШв |
Шв |
- |
БбШв БпШп |
ПГл П2лГ П2лШв ПШв |
П2лГ ПлШв |
ПГ |
ПбШв |
||
|
В телефонных тоннелях, канализации, в коллекторах |
БГ |
Шп БлШп БШп БпГ БпШп |
Шп |
БГ БбГ |
БбШв БбШп |
- |
- |
- |
- |
||
|
Коррозия блуждающими токами |
В шахтах |
Бн БШв |
- |
- |
- |
- |
Пн Плн ПШв |
- |
- |
ПбШв |
|
|
В жаро- и взрывоопасных шахтах, в коррозионно-активной среде |
Блн Б2лн Б2лШв |
- |
- |
- |
- |
Плн П2лШв П2лн |
- |
- |
ПбШв |
||
|
Под водой через судоходные реки и водоемы |
- |
- |
- |
- |
- |
К Кл |
КпШп Кп |
- |
- |
||
|
Под водой через несудоходные реки и водоемы |
БпШп |
- |
- |
- |
- |
Кл К |
Кп КпШп |
||||
|
В земле (траншеях) в условиях, где оболочка подвергается действию блуждающих токов |
Бл Б2л Б2лШп Б2лШв БШп БШв |
Бп Б2л Шв БлШв Шп БлШп БпШп Б2лШв БвШв Б2лШп |
Шв Шп |
Б |
БбШв БбШп |
Пл П2л П2лШв ПШв ПШп П2лШп |
П2л ПлШв П2лШп П2лШп |
П |
|||
Примечание. Буквенное обозначение характеризует конструкцию защитного покрова кабеля в соответствии с ГОСТ 7006-72.
6.5. Броня, применяемая для подземных кабелей связи, бывает трех видов:
Б - из стальных лент;
К - из стальных оцинкованных круглых проволок;
П - из стальных оцинкованных плоских проволок.
6.6. Конструкции защитных покровов кабелей связи должны удовлетворять требованиям ГОСТ 7006-72.
Тип защитного покрова кабелей связи должен выбираться в зависимости от условий прокладки кабеля, наличия механических воздействий и блуждающих токов, исходя из рекомендаций, приведенных в табл. 6.1.
6.7. Защитные покровы на муфтах по своим защитным и изолирующим свойствам должны соответствовать свойствам покрова основного сооружения. Восстановление защитного покрова на муфтах должно осуществляться в соответствии с рекомендациями инструкций по монтажу отдельных марок кабелей.
6.8. Защита от коррозии наружной поверхности подземных НУП осуществляется при помощи изолирующих покрытий.
6.9. Для защиты вертикальных и горизонтальных металлических корпусов подземных НУП, кроме покрытий на основе битума, рекомендуется применять защитные покровы весьма усиленного типа на основе эмали этиноль. Состав эмали этиноль приведен в табл. 6.2. Общая толщина покрытия должна быть не менее 0,6 мм. Эмаль состава II следует применять в районах, где отсутствует влияние блуждающих токов.
ТАБЛИЦА 6.2
Состав эмали этиноль
|
Содержание компонентов в эмалях различного состава, % |
||
|
Состав I |
Состав II |
|
|
Лак этиноль, содержащий не менее 43% сухих веществ |
64 |
68 |
|
Асбест хризотиловый по ГОСТ 12871-67 |
36 |
27 |
|
Литейный графит |
- |
5 |
6.10. Изолирующие газонепроницаемые муфты ГМСИ (рис. 6.1) состоят из двух свинцовых цилиндров с нарезкой по внутренней поверхности, двух направляющих пластмассовых дисков и медных проводников. Число медных проводников соответствует числу жил в кабеле, для которого предназначена муфта. Пространство между дисками и проводниками при изготовлении муфты заливается эпоксидным компаундом.
Муфты ГМСИ изготавливаются трех типов:
ГМСИ-1 - для одночетверочного кабеля;
ГМСИ-4 - для четырехчетверочного кабеля;
ГМСИ - 7-для семичетверочного кабеля.
Муфты ГМСИ должны отвечать техническим требованиям, приведенным в табл. 6.3.
6.11. Изолирующие муфты типа МИС изготавливаются трех типов:
МИСс - для симметричных кабелей типа МКС;
МИСт - для кабелей типа ТЗ и для городских телефонных кабелей марки ТГ;
МИОк - для коаксиальных кабелей типа КМ.
Изолирующие соединительные муфты МИС изготавливаются в заводских условиях. Эти муфты состоят из двух свинцовых цилиндрических частей, расположенных друг от друга на расстоянии 10 мм и соединенных между собой эпоксидным компаундом.
Рис. 6.1.
Конструкция муфты типа ГМСИ:
1 - конус; 2 - цилиндр; 3 - эпоксидный
компаунд; 4 - шайба; 5 - жилы кабеля
Рис. 6.2. Муфта изолирующая типа МИС
Конструкция изолирующих муфт МИС показана на рис. 6.2, размеры приведены в табл. 6.4 - 6.7.
Муфты МИС должны:
иметь сопротивление изоляции не менее 1,0 - 104 МОм, измеренное между свинцовыми цилиндрическими частями при напряжении 100 В постоянного тока, приложенном в течение 1 мин;
выдерживать напряжение 2 кВ постоянного тока в течение 2 мин;
выдерживать без повреждений избыточное газовое (воздух, азот) давление 0,2 МПа в течение 24 ч;
работать без повреждений при колебаниях температуры в пределах от - 30 до +45°С и при постоянном избыточном давлении, равном 0,05 - 0,06 МПа.
ТАБЛИЦА 6.3
Технические требования, предъявляемые к муфтам ГМСИ
|
Норма |
|
|
Сопротивление изоляции каждой жилы по отношению ко всем остальным, соединенным с корпусом, при температуре 20°С и относительной влажности воздуха 80%, не менее, МОм |
50000 |
|
Испытательное напряжение тока промышленной частоты (50 Гц), приложенное в течение 2 мин между всеми жилами, соединенными вместе, по отношению к корпусу, не менее, В |
2000 |
|
Испытательное напряжение тока промышленной частоты, приложенное в течение 2 мин между жилами в паре, В |
1700 |
|
Испытательное напряжение тока промышленной частоты, приложенное в течение 2 мин между пучком жил А и пучком жил Б, В |
1500 |
|
Постоянное рабочее давление при температуре окружающей среды от - 30 до +40°С, МПа |
0,06 |
|
Испытательное давление в течение 4 ч при изменении температуры от - 40 до +50°С, МПа |
0,2 |
ТАБЛИЦА 6.4
Конструктивные данные муфт типа МИСс, устанавливаемых на симметричных кабелях типа МКС
|
Емкость кабеля |
Диаметр оболочки кабеля, мм |
Размер муфт, мм |
Тип чугунной муфты |
||||||||||||
|
А |
Б |
В |
Г |
Д |
Е |
Ж |
3 |
И |
d1 |
d2 |
d3 |
||||
|
1 |
1´4´1,2 |
10,7 - 11,5 |
210 |
90 |
40 |
100 |
35 |
10 |
15 |
65 |
15 |
25 |
33 |
50 |
МЧ-35 |
|
2 |
4´4´1,2 |
18,4 - 20,2 |
260 |
110 |
50 |
125 |
45 |
15 |
15 |
80 |
15 |
45 |
53 |
70 |
МЧ-66 |
|
3 |
7´4´1,2 |
23,4 - 25,0 |
280 |
120 |
55 |
135 |
50 |
15 |
15 |
85 |
15 |
51 |
59 |
75 |
МЧ-65 |
Примечание. Муфты типа МИСс используются как изолирующие и соединительные.
ТАБЛИЦА 6.5
Конструктивные данные муфт типа МИСт, устанавливаемых на кабелях марки ТГ
|
Типоразмер муфт |
Емкость кабеля |
Диаметр оболочки кабеля, им |
Размеры муфт, мм |
|||||||||||
|
А |
Б |
В |
Г |
Д |
Е |
Ж |
З |
И |
d1 |
d2 |
d3 |
|||
|
1а |
10´2-30´2 |
9,0 - 14,0 |
220 |
90 |
40 |
105 |
40 |
10 |
15 |
65 |
15 |
25 |
33 |
50 |
|
2а |
50´2-100´2 |
14,0 - 33,0 |
260/390 |
110 |
50 |
125/190 |
45/110 |
15 |
15 |
80 |
15 |
45 |
53 |
70 |
|
3а |
От 150х2 и выше |
24,0 - 40,0 |
260 |
110 |
50 |
125 |
45 |
15 |
15 |
80 |
15 |
45 |
53 |
70 |
|
4а |
40,0 - 48,0 |
280 |
120 |
55 |
135 |
50 |
15 |
15 |
85 |
15 |
51 |
59 |
75 |
|
|
5а |
48,0 - 62,0 |
360 |
150 |
70 |
175 |
65 |
20 |
20 |
110 |
20 |
65 |
77 |
100 |
|
|
6а |
62,0 - 72,0 |
360 |
150 |
70 |
175 |
65 |
20 |
20 |
110 |
20 |
75 |
87 |
110 |
|
Примечание. Муфты типоразмеров 1а и 2а используются как изолирующие и соединительные, а типоразмеры 3а - 6а - только как изолирующие.
6.12. Изолирующая муфта МИ изготавливается непосредственно на эксплуатируемой или строящейся кабельной линии из смеси эпоксидного компаунда, наполнителя и отвердителя.
Изолирующие муфты МИ могут быть трех типов:
МИс - для симметричных кабелей типа МКС;
МИт - для кабелей типа ТЗ и для городских телефонных кабелей типа ТГ;
МИк - для коаксиальных кабелей типа КМ.
ТАБЛИЦА 6.6
Конструктивные данные муфт типа МИСт, устанавливаемых на кабелях типа ТЗ
|
Типоразмер муфт |
Наружный диаметр кабеля, мм |
Размеры муфт, мм |
Тип чугунной муфты |
|||||||||||
|
А |
Б |
В |
Г |
Д |
Е |
Ж |
З |
И |
d1 |
d2 |
d3 |
|||
|
1б |
11,0 - 15,0 |
220 |
90 |
40 |
105 |
40 |
10 |
15 |
65 |
15 |
25 |
33 |
50 |
МЧ-35 |
|
2б |
15,0 - 33,0 |
260/390 |
110 |
50 |
125/190 |
45/110 |
15 |
15 |
80 |
15 |
45 |
53 |
70 |
МЧ-65/МЧ-75 |
|
33,0 - 42,0 |
260 |
110 |
50 |
125 |
45 |
15 |
15 |
80 |
15 |
45 |
53 |
70 |
||
|
3б |
42,0 - 48,0 |
280 |
120 |
55 |
135 |
50 |
15 |
15 |
85 |
15 |
51 |
59 |
75 |
Муфта специального изготовления |
|
4б |
48,0 - 60,0 |
360 |
150 |
70 |
175 |
65 |
20 |
20 |
110 |
20 |
65 |
77 |
100 |
|
|
5б |
60,0 - 72,0 |
360 |
150 |
70 |
175 |
65 |
20 |
20 |
110 |
20 |
75 |
87 |
110 |
|
Примечание. Муфты типоразмеров 1б и 2б используются как изолирующие и соединительные, а 3б - 5б - только как изолирующие.
ТАБЛИЦА 6.7
Конструктивные данные муфт типа МИСк, устанавливаемых на коаксиальных кабелях типа КМ
|
Типоразмер муфт |
Марка кабеля |
Диаметр кабеля по оболочке, мм |
Размеры муфт, мм |
Тип чугунной муфты |
|
||||||||||||
|
А |
Б |
В |
Г |
Д |
Е |
Ж |
З |
И |
d1 |
d2 |
d3 |
||||||
|
свинцовой |
наружной |
|
|||||||||||||||
|
1 |
КМГ-4 |
33,0 |
33,0 |
260 |
110 |
50 |
125 |
45 |
15 |
15 |
80 |
15 |
45 |
53 |
70 |
- |
|
|
2 |
КМБ-4 |
32,5 |
42,5 |
280 |
120 |
55 |
135 |
50 |
I5 |
15 |
85 |
15 |
51 |
59 |
75 |
МЧ-65 |
|
|
3 |
КМК-4 |
33,9 |
50,0 |
Муфта специального изготовления |
|
||||||||||||
|
КМГ-8/6 |
45,3 |
45,3 - 54,0 |
360 |
150 |
70 |
175 |
65 |
20 |
20 |
110 |
20 |
65 |
77 |
100 |
|
||
|
КМБ-8/6 |
44,7 |
53,7 - 64,0 |
|
||||||||||||||
|
4 |
КМК-8/6 |
45,7 |
61,7 - 72,0 |
360 |
150 |
70 |
175 |
65 |
20 |
20 |
110 |
20 |
75 |
87 |
110 |
То же |
|
Примечание. Муфты МИСк используются только как изолирующие.
ТАБЛИЦА 6.8
Конструктивные данные муфт типа МИс, устанавливаемых на симметричных кабелях типа МКС
|
Емкость кабеля |
Размеры муфт, мм |
Тип чугунной муфты |
||
|
d1 |
d2 |
|||
|
1 |
1´4´1,2 |
10,7 - 11,5 |
30,0 |
МЧ-35 |
|
2 |
4´4´1,2 |
18,4 - 20,2 |
40,0 |
МЧ-50 |
|
3 |
7´4´1,2 |
23,4 - 25,0 |
45,0 |
МЧ-50 |
ТАБЛИЦА 6.9
Конструктивные данные муфт типа МИт, устанавливаемых на симметричных кабелях марки ТГ и типа ТЗ диаметром 9,0 - 30,0 мм
|
Диаметр кабеля, d1 по свинцовой оболочке, мм |
Размеры муфт, d2, мм |
Тип чугунных муфт |
|
|
1 |
9,0 - 13,0 |
30,0 |
МЧ-35 |
|
2 |
13,0 - 30,0 |
50,0 |
МЧ-50 |
ТАБЛИЦА 6.7
Конструктивные данные муфт типа МИт, устанавливаемых на симметричных кабелях марки ТГ и типа ТЗ диаметром 30,0 - 72,0 мм
|
Типоразмер муфт |
Диаметр кабеля, di, по свинцовой оболочке, мм |
Размеры муфт, мм |
Тип чугунной муфты |
||
|
d1 |
d2 |
L |
|||
|
3 |
30,0 - 34,0 |
46,0 |
62,0 |
200 |
МЧ-65 |
|
4 |
34,0 - 43,0 |
58,0 |
82,0 |
200 |
МЧ-65 |
|
5 |
43,0 - 46,0 |
58,0 |
82,0 |
200 |
МЧ-65 |
|
6 |
46,0 - 51,0 |
63,0 |
87,0 |
200 |
МЧ-65 |
|
7 |
51,0 - 65,0 |
77,0 |
100,0 |
250 |
МЧ-75 |
|
8 |
65,0 - 72,0 |
84,0 |
110,0 |
250 |
Специальная |
Рис. 6.3.
Муфта изолирующая типа МИс для симметричного кабеля типа МКС:
a - для кабеля в алюминиевой оболочке; б - для
кабеля в свинцовой оболочке;
1 - выводы к КИП; 2 - алюминиевая оболочка; 3 - бандаж; 4 - полиэтиленовый
поясок; 5 - полиэтиленовая форма; 6 - эпоксидный компаунд; 7 - полиэтиленовый
шланг; 8 - свинцовая оболочка
ТАБЛИЦА 6.11
Конструктивные данные муфт типа МИк, устанавливаемых на коаксиальных кабелях типа КМ
|
Типоразмер муфт |
Марка кабеля |
Размеры муфт, мм |
Тип чугунной муфты |
||
|
d1 |
d2 |
d3 |
|||
|
1 |
КМГ-4 |
33,0 |
46,0 |
62,0 |
МЧ-65 |
|
КМБ-4 |
32,5 |
46,0 |
62,0 |
||
|
КМК-4 |
33,9 |
46,0 |
62,0 |
||
|
2 |
КМГ-8/6 |
45,3 |
58,0 |
82,0 |
МЧ-65 |
|
КМБ-8/6 |
44,7 |
58,0 |
82,0 |
||
|
КМК-8/6 |
45,7 |
58,0 |
82 0 |
||
Рис. 6.4.
Муфта изолирующая МИт для симметричных кабелей марок ТГ и ТЗ:
а - для кабелей диаметром 9,0 - 30,3 мм по оболочке; б - для кабелей
диаметром 31,0 - 72,0 мм по оболочке;
1 - свинцовая оболочка; 2 - выводы к КИП; 3 - полиэтиленовый поясок; 4 -
эпоксндный компаунд; 5 - свинцовая юбка
Рис. 6.5.
Муфта изолирующая МИк для коаксиального кабеля:
1 - вывод к КИП; 2 - эпоксидный компаунд;
3 - полиэтиленовый поясок; 4 - свинцовая юбка; 5 - свинцовая оболочка
Конструкция изолирующих муфт МИс показана на рис. 6.3; размеры их приведены в табл. 6.8, а для муфт МИт и МИк - соответственно на рис. 6.4 и 6.5 и в табл. 6.9 – 6.11.
Муфты МИ должны удовлетворять тем же требованиям, что и муфты МИС.
6.13. Кабельная телефонная канализация обеспечивает защиту проложенных в ней кабелей от механических повреждений, а также в определенной степени от коррозионного воздействия окружающей среды и блуждающих токов.
Основным конструктивным элементом кабельной канализации являются асбоцементные, полиэтиленовые и другие неметаллические трубы.
Установки электродренажной защиты
6.14. Электродренажные установки состоят из дренажного устройства и соединительных кабелей. При применении усиленного дренажа дополнительно применяются преобразователь и защитное заземление. Электродренажные установки применяются для защиты подземных металлических сооружений связи от коррозии блуждающими токами.
Принцип действия электродренажных установок основан на отводе блуждающих токов с защищаемых подземных металлических сооружений к их источнику. В зависимости от требований и условий эксплуатации рекомендуется применять:
установки прямого электрического дренажа в тех случаях, когда исключена возможность стекания токов с рельсов в защищаемое сооружение;
установки поляризованного дренажа в условиях действия знакопеременных полей блуждающих токов;
установки усиленного дренажа в тех случаях, когда на подземном сооружении имеется опасная зона, а потенциал рельса выше потенциала подземного сооружения, либо в других случаях, когда возникает необходимость повышения эффективности дренажной защиты;
токоотводы в условиях, где нельзя применить установки прямого или поляризованного дренажа.
Установки катодной защиты
6.15. Установка катодной защиты состоит из: катодной станции или преобразователя (источника постоянного тока), анодного заземления, защитного заземления и соединительных кабелей.
6.16. Принцип действия катодной установки заключается в создании отрицательного потенциала на защищаемом сооружении связи за счет токов катодной установки.
Установки протекторной защиты
6.17. Установка протекторной защиты состоит из анодного протектора (группы протекторов), активатора, соединительных проводов и КИП при групповой установке протекторов.
6.18. В ряде случаев при устройстве протекторной защиты в условиях действия знакопеременных полей блуждающих токов применяются поляризованные - протекторные установки по ГОСТ 16149-70, в цепи которых включены вентильные элементы.
Установки автоматизированной защиты
6.19. В системе защиты подземных металлических сооружений связи от электрохимической коррозии применяются установки автоматической усиленной дренажной и катодной защиты.
6.20. Принцип действия установок автоматической защиты основан на ограничении и поддержании в заданных пределах величины разности потенциалов между защищаемым сооружением и землей. Ограничение и поддержание защитного потенциала в заданных пределах осуществляется автоматически путем регулирования электрических параметров защиты (тока, напряжения, мощности).
6.21. Установка автоматической усиленной дренажной защиты состоит из: автоматического усиленного дренажа, неполяризующегося электрода сравнения длительного действия, защитного заземления, соединительных кабелей.
6.22. Установки автоматической катодной защиты могут быть:
со специальными автоматическими катодными станциями (преобразователями);
со специальными автоматическими реверсивными катодными станциями;
с обычными катодными станциями, оборудованными блоками автоматизации
6.23. Установка автоматической катодной защиты с автоматическими катодными станциями (преобразователями) состоит из автоматической катодной станции, неполяризующегося электрода сравнения длительного действия, анодного заземления, защитного заземления и соединительных кабелей.
6.24. Установка автоматической реверсивной катодной защиты состоит из:
автоматической реверсивной катодной станции, неполяризующегося электрода сравнения длительного действия, анодного заземления, защитного заземления и соединительных кабелей.
6.25. Установка автоматической катодной защиты с блоком автоматизации состоит из: неавтоматической катодной станции, блока автоматизации катодных станций, неполяризующегося электрода сравнения длительного действия, анодного заземления, защитного заземления и соединительных кабелей.
Перемычки, оборудуемые при совместной защите
6.26. Электрические перемычки, оборудуемые при осуществлении совместной защиты, как правило, представляют из себя проводник, соединяющий несколько расположенных рядом подземных металлических сооружений. Однако в случае необходимости, в зависимости от требований и условий применения, в цепь перемычки включаются предохранители, реостаты, вентильные элементы либо устройства прямых или поляризованных электрических дренажей, либо специальные универсальные блоки совместной защиты.
Устройства электрохимической защиты
ПРЯМОЙ ЭЛЕКТРИЧЕСКИЙ ДРЕНАЖ
6.27. Прямой электрический дренаж - дренажное устройство, обладающее двусторонней проводимостью. Схема прямого электрического дренажа приведена на рис. 6.6. Она состоит из однополюсного рубильника К на 50 - 200 А, плавкого предохранителя на допустимую величину тока в цепи дренажа Пр, реостата R и сигнального реле СР. Параллельно рубильнику подключены зажимы 1 и 2, между которыми включается амперметр для измерения тока в цепи дренажа (рубильник при этом должен быть разомкнут).
В соответствии со схемой ток проходит из кабеля через реостат, рубильник (или амперметр), плавкий предохранитель и в рельсы через зажим «рельс».
ТАБЛИЦА 6.12
Технические данные устройств поляризованной электродренажной защиты
|
Номинальный ток, А |
Допустимое обратное напряжение, В |
Величина дренажного сопротивления, Ом |
Шаг регулировки дренажного сопротивления, Ом |
Габариты, мм |
Масса, кг |
|||
|
ВД-ЦНИИ-50М |
50 |
800 |
0,44 |
0,05 |
450´380´313 |
92 |
||
|
ПД-50VI |
50 |
300 |
0,5 |
0,05 |
750´458´1100 |
141 |
||
|
ПД-125-VI |
125 |
300 |
0,3 |
0,03 |
850´508´1500 |
141 |
||
|
ПД-200-VI |
200 |
300 |
0,3 |
0,03 |
850´508´1500 |
141 |
||
|
ПД-300-VI |
300 |
300 |
0,2 |
0,02 |
850´508´1500 |
216 |
||
|
ПД-500-VI |
500 |
300 |
0,15 |
0,015 |
1000´600´1800 |
216 |
||
|
ПД-3А |
500 |
100 |
0,936 |
0,234 |
782´366´305 |
30 |
||
|
ПГД-60 |
60 |
150 |
0,5 |
0,05 |
550´365´255 |
25 |
||
|
ПГД-100 |
100 |
50 |
0,5 |
0,05 |
550´365´255 |
25 |
||
|
ПГД-100А |
100 |
100 |
0,5 |
0,05 |
550´365´255 |
25 |
||
|
ПГД-150 |
150 |
50 |
0,5 |
0,05 |
550´365´255 |
25 |
||
|
ПГД-200 |
200 |
50 |
0,5 |
0,05 |
550´365´255 |
25 |
||
|
ПГКД130 |
130 |
100 |
0,5 |
0,05 |
550´365´255 |
25 |
||
|
БВ-273-(Р) |
10 |
100 |
0,5 |
0,05 |
270´240´170 |
8,4 |
||
|
УБСЗ-10 |
10 |
100 |
0,3 |
0,01 |
180´140´95 |
2 |
||
|
УБСЗ-50 |
50 |
400 |
0,24 |
0,005 |
305´220´150 |
6,2 |
||
|
ДПДУ-1 ДПДУ-4 |
ì ï í ï î |
Теплосеть Газопровод Кабель связи Кабель силовой |
300 |
700 |
0,12 |
0,01 |
870´760´340 |
70 |
|
300 |
700 |
0,12 |
0,01 |
|||||
|
50 |
700 |
0,06 |
0,003 |
|||||
|
50 |
700 |
0,06 |
0,003 |
|||||
Рис. 6.6. Схема пряного электрического дренажа
Рис. 6.7. Схема поляризованного электрического дренажа
В случае перегорания предохранителя в дренажную цепь включается ранее зашунтированное им сигнальное реле СР, причем ввиду большого сопротивления последнего величина тока в цепи резко уменьшается. Реле срабатывает и замыкает цель сигнального устройства.
Прямые электродренажи промышленностью не выпускаются. При необходимости прямой электродренаж может быть смонтирован из готовых узлов силами эксплуатационных или монтажных организаций.
В качестве реостата можно использовать стандартный магазин сопротивлений ЯС-100 или ЯС-200, набор чугунных пластин, используемых в качестве пусковых реостатов на электротранспорте, или спирали из высокоомных сплавов типа нихрома, фехраля и т.д. Общее сопротивление реостата должно быть - не более 1 Ом со ступенчатой регулировкой через 0,03 - 0,05 Ом.
Прямой дренаж монтируется на плате из изолирующего материала в металлическом защитном кожухе, обеспечивающем возможность эксплуатации его на открытом воздухе.
ПОЛЯРИЗОВАННЫЙ ЭЛЕКТРИЧЕСКИЙ ДРЕНАЖ
6.28. Поляризованный электрический дренаж - это дренажное устройство, обладающее односторонней проводимостью, которая обеспечивается с помощью, вентильного элемента.
В качестве вентильного элемента используются полупроводниковые кремниевые или германиевые диоды либо поляризованные электромагнитные реле.
Устройство поляризованного дренажа (рис. 6.7) представляет собой электрическую дренажную цепь, состоящую из рубильника К, предохранителя Пр, вентильного элемента ВЭ, реостата R, с помощью которого регулируется величина дренажного тока, и сигнального реле СР. Кроме указанных основных элементов в устройствах поляризованных дренажей, в зависимости от необходимости, могут применяться шунты, амперметры, разрядники и т.д.
В практике защиты используется большое количество разнообразных типов электрических дренажей.
В табл. 6.12 приведены основные конструктивные и электрические характеристики поляризованных дренажей отечественного производства, которые рекомендуется применять при защите подземных металлических сооружений связи от коррозии, вызываемой блуждающими токами.
6.29. Поляризованный германиевый дренаж серии ПГД (рис. 6.8) смонтирован в металлическом кожухе, в котором размещены: блок управления, блок дренажного сопротивления и вентильный блок.
Блок управления содержит предохранитель Пр, рубильник B2, сигнальное реле СР, шунт на ток 300 А (75 мВ), амперметр на 300 А с тумблером выключения амперметра В1, и клеммы для подключения к защищаемому сооружению и рельсам.
Блок дренажного сопротивления состоит из десяти секций. Сопротивление каждой секции по 0,05 Ом. Регулировка величины дренажного сопротивления производится по ступеням, с помощью специальных перемычек. Максимальное сопротивление реостата 0,5 Ом.
Вентильный блок представляет собой радиатор, на котором размещены мощные германиевые диоды типов Д305, Д304 или Д303, а также балансные нихромовые сопротивления по 0,1 Ом, включенные последовательно с каждым диодом для выравнивания вольт-амперных характеристик диодов.
Число и тип диодов, применяемых в вентильном блоке, зависят от типа дренажа:
ПГД-60 - ДЗОЗ - 20 шт.;
ПГД-100 - Д305 - 10 шт.;
ПГД-100А - Д304 - 20 шт.;
ПГД-150 - Д305 - 15 шт.:
ПГД-200 - Д305 - 20 шт.
6.30. Поляризованный кремниево-германиевый дренаж типа ПГКД-130 представляет собой дренаж ПГД, у которого вместо германиевого применен кремниево-германиевый вентильный блок. Принципиальная схема дренажа типа ПГКД-130 приведена на рис. 6.9, а технические данные - в табл. 6.12.
Рис. 6.8. Схема поляризованного электрического дренажа ПГД-200
Кремниево-германиевый вентильный блок дренажа собран на основе мощных кремниевых диодов типа В200, а число применяемых германиевых диодов сокращено до двух.
Рис. 6.9. Схема поляризованного электрического дренажа ПГКД-130
Кремниевые диоды, обладая рядом преимуществ, а именно: возможностью работы при более высоких температурах, повышенным обратным напряжением, перегрузочной способностью и надежностью - вместе с тем имеют недостаток, заключающийся в том, что для перевода кремниевого диода в открытое состояние требуется напряжение на 0,2 - 0,5 В больше, чем для германиевого. Для устранения этого недостатка в кремниево-германиевом вентильном блоке параллельно мощным кремниевым диодам включены два германиевых диода с добавочными сопротивлениями, которые служат для выравнивания вольт-амперных характеристик германиевых диодов. В результате в кремниево-германиевом вентильном блоке удачно сочетаются преимущества кремниевых и германиевых диодов.
6.31. Нормальный ряд преобразователей для поляризованной дренажной защиты серии ПД выпускается электротехнической промышленностью на разные величины дренажных токов: от 50 до 500 А. В качестве вентильных элементов в преобразователях применяются мощные кремниевые диоды.
Преобразователи рассчитали для работы в климатических условиях V по категории размещения 1 согласно ГОСТ 15150-69.
Типовое обозначение преобразователей ПД-X-V-1 расшифровывается следующим способом: П - преобразователь; Д - для дренажной защиты; Х - номинальный дренажный ток; V - климатическое наполнение; 1 - категория размещения.
Технические данные преобразователей для дренажной защиты серии ПД приведены в табл. 6.12.
ДИФФЕРЕНЦИРОВАННЫЙ ПОЛЯРИЗОВАННЫЙ ДРЕНАЖ
6.32. Дифференцированные поляризованные дренажи типов ДПДУ-1 и ДПДУ-4 предназначены для совместной защиты подземных коммуникаций от коррозии блуждающими токами по четырем обособленным каналам и обеспечивают дифференцированные уровни защитных потенциалов на коммуникациях с различными электрическими характеристиками, нормированными ГОСТ 9.015-74. Технические данные дренажа типа ДПДУ приведены в табл. 6.12. Он состоит из четырех каналов поляризованной дренажной защиты, два из которых предназначены для теплосети и газопровода и рассчитаны каждый на дренажный ток до 300 А, два других рассчитаны на токи до 50 А и предназначены для кабелей связи и силовых кабелей.
УСИЛЕННЫЙ ЭЛЕКТРИЧЕСКИЙ ДРЕНАЖ
6.33. Принципиальная схема усиленного дренажа с выпрямителем на германиевых или кремниевых диодах изображена на рис. 6.10. Усиленный дренаж представляет собой обычную катодную станцию (выпрямитель) с той лишь разницей, что она подключается отрицательным полюсом к защищаемому сооружению, а положительным - не к анодному заземлению, а к рельсам электрифицированной железной дороги постоянного тока или трамвая. Такой дренаж, кроме отвода тока в одном направлении, увеличивает (усиливает) эффект защиты катодной станции, анодным заземлением которой в этом случае являются рельсы.
В табл. 6.13 приведены технические данные усиленного дренажа типа УДУ-2400.
Универсальный блок совместной защиты
6.34. Универсальные блоки совместной защиты типов УБСЗ-10 и УБСЗ-50 предназначены для совместной защиты подземных металлических коммуникаций от коррозии, устранения вредного влияния защитных установок раздельной защиты на смежные коммуникации и обеспечивают регулировку токов между ними по направлению и величине. Они могут быть использованы также в качестве поляризованного дренажа. Конструкция панели УБСЗ допускает применение блоков в качестве поляризованной или прямой перемычки, регулируемой по величине тока.
В качестве вентильных элементов в блоках совместной защиты применены мощные кремниевые диоды: УБСЗ-10 - три диода типа Д242А; УБСЗ-50 - два диода типа В50.
Для совместной защиты также могут быть использованы упрощенные по устройству блоки совместной защиты типов БВ-273 и БВ-273-Р, которые содержат предохранитель типа Ц-27 и вентильные блоки, состоящие из трех параллельно включенных кремниевых диодов типа Д242А. Блок типа БВ-273-Р дополнительно оснащен разрядником типа Р-350.
Технические данные перечисленных блоков совместной защиты приведены в табл. 6.12.
ТАБЛИЦА 6.13
Технические данные устройств катодной защиты
|
Номинальная выходная мощность, кВт |
Номинальное выходное напряжение, В |
Номинальный выходной ток, А |
Тип вентилей |
Число диодов, шт. |
Габариты, мм |
Масса, кг |
|||
|
ПСК-0,3-24/12-VI |
0,3 |
24/12 |
12,5/25 |
В50 |
2 |
500´380´1000 |
95 |
||
|
ПСК-0,6-48/24-VI |
0,6 |
48/24 |
25/50 |
В200 |
2 |
500´380´1000 |
105 |
||
|
ПCK-l,2-48/24-VI |
1 ,2 |
48/24 |
21/42 |
В200 |
2 |
500´380´1000 |
118 |
||
|
ПCK-2,0-96/48-VI |
2,0 |
96/48 |
31/62 |
В200 |
2 |
500´380´1000 |
130 |
||
|
ПCK-3,0-96/48-VI |
3,0 |
96/48 |
52/104 |
В200 |
4 |
500´380´1000 |
150 |
||
|
ПCK-5,0-96/48-VI |
5,0 |
96/48 |
52/104 |
В200 |
4 |
700´450´1300 |
200 |
||
|
КСГ(КСК)-500 |
0,5 |
10 - 50 |
10 |
Д304, Д305, Д242А |
4 - 8 |
310´545´280 |
31 |
||
|
КСГ(КСК)-1200 |
1,2 |
10 - 60 |
20 |
Д304, Д305, Д242А |
8 - 16 |
410´635´280 |
68 |
||
|
КС-400 |
0,4 |
10 - 40 |
10 |
Селеновый блок |
4 |
608´620´205 |
34 |
||
|
КСС-150 |
0,15 |
24/12 |
6/12 |
В10 |
4 |
460´565´290 |
33 |
||
|
КСС-300 |
0,3 |
24/12 |
12/50 |
В10 |
4 |
516´595´315 |
38 |
||
|
КСС-600 |
0,6 |
24/12 |
25/50 |
В50 |
4 |
590´715´345 |
72 |
||
|
КСС-1200 |
1,2 |
24/12 |
50/100 |
В100 |
4 |
470´840´935 |
92 |
||
|
СКСУ-150/24(с/к) |
0,15 |
24/12 |
6/12 |
Селеновый или кремниевый блок |
8 - 16 |
510´693´378 |
60 |
||
|
СКСУ-150/48(с/к) |
0,15 |
48/24 |
3/6 |
То же |
8 - 16 |
510´693´378 |
60 |
||
|
СКСУ-300/24(с/к) |
0,3 |
24/12 |
12/25 |
- » - |
8 - 16 |
550´745´403 |
70 |
||
|
СКСУ-300/48(с/к) |
0,3 |
48/24 |
6/12 |
- » - |
8 - 16 |
550´745´403 |
70 |
||
|
СКСУ-600/24(с/к) |
0,6 |
24/48 |
25/50 |
- » - |
8 - 16 |
630´805´430 |
95 |
||
|
СКСУ-600/48(с/к) |
0,6 |
48/24 |
12//5 |
- » - |
8 - 16 |
630´805´430 |
95 |
||
|
СКСУ-1200/24(с/к) |
1,2 |
24/12 |
50/100 |
- » - |
8 - 16 |
914´905´532 |
120 |
||
|
СКСЗ |
|
канал 1 |
5,0 |
0 - 50 |
100 |
В200 |
2 |
||
|
канал 2 |
0,5 |
0 - 50 |
10 |
Д215А |
2 |
1150´600´470 |
200 |
||
|
УДУ-2400 |
2,4 |
3 - 48 |
200 |
В200 |
4 |
1070´570´380 |
128 |
||
Катодные станции
6.35. Для защиты линейно-кабельных сооружений применяются специальные катодные станции или преобразователи, представляющие собой источники постоянного тока с регулируемым или фиксированным выходным напряжением.
6.36. Питание катодных станций, как правило, производится от промышленной сети переменного тока напряжением 220/127/110. В случаях, когда нет источника питания переменным током, питание установки катодной защиты может осуществляться от аккумуляторов.
6.37. Катодные станции, питающиеся от сети переменного тока, оснащены:
понижающим трансформатором или автотрансформатором, одно- или двухполупериодным выпрямителем различных типов (германиевые, кремниевые, селеновые и др.), предохранителями, устройствами регулировки выходного напряжения или без них, в некоторых конструкциях устанавливаются стрелочные приборы для контроля выходного тока и напряжения, счетчики электроэнергии и другие устройства.
6.38. Характеристики основных типов катодных станций отечественного производства приведены в табл. 6.13. На сооружениях связи наиболее широко применяются катодные станции типов КС-400М с селеновыми выпрямительными элементами, КСГ-500, КСТ-1200 на германиевых диодах и КСК-500, КСК-1200 на кремниевых диодах. Схемы этих катодных станций приведены на рис. 6.11 - 6.13.
6.39. В катодной станции КС-400М выпрямительный мост собран из селеновых шайб диаметром 100 мм, в катодных станциях КСГ-500 и КСГ-1200 - на германиевых диодах типа Д305, а в катодных станциях КСК-500 и КСК-1200 - на кремниевых диодах Д242 и Д243.
6.40. Катодные станции КС, КСГ, КСК и КСС имеют ступенчатую регулировку выходного напряжения, осуществляемую путем переключения секций вторичной обмотки питающего трансформатора.
6.41. Катодная станция типа CСK3 содержит два независимых канала с выходным напряжением 0 - 50 В с плавным регулированием. Регулирование тока и напряжения, осуществляется с помощью автотрансформатора РНО-250 - 10. Выпрямитель первого канала выполнен на кремниевых диодах типа В200 и рассчитан на номинальный ток до 100 А. Выпрямитель второго канала выполнен на кремниевых диодах типа Д215А и рассчитан на номинальный ток до 10 А.
6.42. Для обеспечения катодной защиты электротехнической промышленностью выпускается нормальный ряд устройств преобразователей серии ПСК.
Преобразователь серии ПСК представляет собой регулятор напряжения с применением симметричного тиристора, с помощью которого регулируется напряжение в первичной обмотке силового трансформатора. Напряжение, поступающее в нагрузку, снимается с выпрямителя, подключенного к вторичной обмотке трансформатора.
Преобразователи рассчитаны для работы в климатических условиях V по категории размещения 1 согласно ГОСТ 15150-69.
Рис. 6.10. Схема усиленного дренажа
Рис. 6.11. Схема катодной станции типа КС-400М
Технические данные преобразователей приведены в табл. 6.13. Типовое обозначение преобразователя ПСК-Х1-Х2/Х3-V-1 расшифровывается следующим образом: П - преобразователь; С - сетевой; К - для катодной защиты; X1 - выходная мощность; Х2/Х3 - выходное напряжение; V - климатическое исполнение; 1 - категория размещения.

Рис. 6.12.
Схема катодной станции типа КСГ-500 (КСК-500):
а - выпрямительный мост катодной станции КСГ-500; б -
выпрямительный мост катодной станции КСК-500

Рис. 6.13.
Схема катодной станции типа КСГ-1200 (КСК-1200):
а - выпрямительный мост катодной станции КСГ-1200; б -
выпрямительный мост катодной станции КСК-1200
6.43. В табл. 6.13 приведены данные ряда катодных станций серии СКСУ, рассчитанных на питание от сети переменного тока напряжением 220 В (110, 127 В по специальному заказу), частотой 50 Гц. Напряжение на выходе катодных станций регулируется двумя переключателями грубого и точного регулирования в пределах 3 - 12 и 12 - 24 В или 6 - 24 и 24 - 48 В.
В качестве выпрямителей этих катодных станций используются блоки селеновых или кремниевых диодов, содержащие 8 или 16 диодов одного типа.
Анодные протекторы
6.44. Анодный протектор - электрод из магниевого сплава, обладающий более отрицательным потенциалом, чем металл защищаемого сооружения, изготовляется в заводских условиях методом литья или из чушек в мастерских строительных или эксплуатационных организаций.
6.45. Магниевые аноды изготавливаются из магниевого сплава МПУ и МПУвч (магниевый протекторный универсальный и магниевый протекторный универсальный высокой чистоты) одновременно с контактным сердечником (рис. 6.14).
К выводу контактного сердечника в заводских условиях подключается проводник марки ПСРП-1 или кабель марки ВРГ 1´2,5 длиной 3 м.
Место подключения проводника или кабеля к сердечнику тщательно изолируется поливинилхлоридной лентой, а затем верхняя и нижняя воронки магниевого анода заливаются битумно-резиновой мастикой.
6.46. Магниевые аноды выпускают трех типов. Типы и размеры анодов приведены в табл. 6.14.
6.47. Комплектные протекторы представляют собой магниевые аноды ПМ5, ПМ10, ПМ20, помещенные вместе с порошкообразным активатором в хлопчатобумажные мешки (рис. 6.15).
Комплектные протекторы выпускаются трех типов, размеры которых приведены в табл. 6.15.
6.48. Для интенсификации и стабилизации работы протектора применяются специальные заполнители (активаторы), представляющие собой механические смеси некоторых солей с глиной. Состав активатора для магниевых протекторов приведен в табл. 6.16.
Рис. 6.14.
Конструкция магниевого анода:
1 - контактный сердечник; 2 - магниевый
анод
ТАБЛИЦА 6.14
Типы и размеры анодов
|
Размеры, мм |
Масса, кг |
Рабочая поверхность, м2 |
||
|
условный диаметр |
длина |
|||
|
ПМ5 |
95 |
500 |
5 |
0,16 |
|
ПМ10 |
123 |
600 |
10 |
0,23 |
|
ПМ20 |
181 |
610 |
20 |
0,35 |
ТАБЛИЦА 6.15
Типы и размеры комплектных протекторов
|
Размеры, мм |
Масса, кг |
||
|
диаметр |
длина |
||
|
ПМ5У |
165 |
580 |
16 |
|
ПМ10У |
200 |
700 |
30 |
|
ИМ20У |
270 |
710 |
60 |
ТАБЛИЦА 6.16
Состав активатора
|
Содержание, % |
|
|
Гранулированный сернокислый натрий |
25 |
|
Сернокислый кальций (строительный гипс) |
25 |
|
Бентонитовая глина |
50 |
6.49. Протекторы заводского изготовления могут поставляться как вместе с заполнителями в упакованном виде, так и без заполнителя.
6.50. Для заводских неупакованных протекторов и протекторов, изготовляемых в мастерской, заполнители приготовляются непосредственно перед установкой на месте или заблаговременно.
6.51. Стационарные потенциалы комплектных протекторов с анодами из сплава МПУ и МПУвч соответственно равны 1600 и 1620 мВ относительно медносульфатного электрода сравнения. Теоретическая токоотдача составляет 2332 А - ч/кг.
Коэффициент полезного действия протекторов зависит от анодной плотности тока и составляет максимально 0,65 для сплава МПУвч и 0,57 для сплава МПУ.
6.52. Групповые протекторные установки устраиваются из нескольких отдельных протекторов, устанавливаемых на расстоянии 3 м друг от друга. Для обеспечения возможности контроля их работы соединительные провода от каждого протектора раздельно выводятся на КИП, где производится их подключение к защищаемому сооружению.
Рис. 6.15.
Конструкция комплектного протектора:
1 - изолированный проводник; 2 -
активатор; 3 - магниевый анод; 4 - хлопчатобумажный мешок
6.53. Для осуществления протекторной защиты подземных металлических сооружений связи наибольшее распространение нашли магниевые протекторы заводского изготовления типа ПМ10У.
Автоматические устройства защиты
6.54. Автоматические устройства защиты представляют собой устройства усиленной дренажной и катодной защиты, которые в зависимости от потенциального состояния защищаемых сооружений автоматически регулируют электрические параметры защиты.
Посредством автоматического регулирования электрических параметров защиты (мощности, тока или напряжения) автоматические устройства защиты обеспечивают ограничение и поддержание в заданных пределах величины разности потенциалов между защищаемым подземным металлическим сооружением и землей.
6.55. Контроль и измерение защитных потенциалов автоматическими устройствами защиты осуществляются с помощью неполяризующихся электродов сравнения длительного действия.
6.56. В настоящее время промышленность выпускает автоматические устройства защиты следующих видов: автоматические усиленные дренажи, автоматические катодные станции, блоки автоматизации катодных станций.
6.57. Для обеспечения автоматизированной дренажной и катодной защиты электротехническая промышленность выпускает нормальный ряд устройств преобразователей серии ПАД и ПАСК.
Преобразователи представляют собой автоматический регулятор напряжения с применением симметричного тиристора, с помощью которого регулируется напряжение в первичной обмотке силового трансформатора и двухполупериодного выпрямителя во вторичной обмотке, с которого снимается постоянное напряжение, поступающее в систему «защищаемое сооружение - земля».
Преобразователи рассчитаны для работы в климатических условиях V по категории размещения 1 согласно ГОСТ 15150-69.
Типовое обозначение преобразователей серии ПАД-X1-X2-V-l расшифровывается следующим образом: П - преобразователь; А - автоматический; Д - для дренажной защиты; X1 - мощность; X2 - дренажный ток; V - климатическое исполнение; 1 - категория размещения.
Типовое обозначение преобразователей серии ПACK-X1-X2-V-l расшифровывается следующим образом: П - преобразователь; А - автоматический; С - сетевой; К - Для катодной защиты; X1 - мощность выходная; Х2 - напряжение выходное; V - климатическое исполнение; 1 - категория размещения.
Технические данные преобразователей приведены в табл. 6.17.
6.58. Для обеспечения автоматизированной катодной защиты при использовании обычных катодных станций применяются блоки автоматизации катодных станций серии БАКС-50-VI, представляющие собой малогабаритные собранные на полупроводниках автоматические устройства. Эти устройства являются регуляторами мощности, которые включаются в цепь катодной защиты последовательно с катодной станцией.
Регулировка мощности осуществляется автоматически с применением мощного тиристора в зависимости от величины отклонения защитного потенциала от заданного значения, что обеспечивает поддержание и ограничение защитного потенциала в заданных пределах.
Отличительной особенностью БАКС-50-VI является отсутствие необходимости питания его от сети. Питание этого устройства осуществляется в импульсном режиме за счет незначительной части мощности катодной защиты. БАКС-50-VI включает в себя устройство подавления и компенсации импульсных помех при измерении защитного потенциала, возникающих на продольных сопротивлениях соединительного кабеля и защищаемого сооружения при действии токов катодной защиты. Это обеспечивает подключение БАКС-50-VI к защищаемому сооружению без дополнительных проводников и создание номинальной стабильности защитного потенциала защищаемого сооружения на любом выбранном его участке в зоне действия катодной защиты.
Блок автоматизации катодных станций может устанавливаться на открытом воздухе или внутри катодной станции.
Технические данные устройства приведены в табл. 6.17.
ТАБЛИЦА 6.17
Технические данные автоматических устройств защиты
|
Номинальная мощность, кВт |
Номинальное напряжение, В |
Номинальный ток, А |
Предел установки защитного потенциала, -В |
Стабильность защитного потенциала, ±мВ |
Входное сопротивление, МОм |
Габариты, мм |
Масса, кг |
|
|
ПАД-0,6-50/l00VI |
0,6 |
12/6 |
60/100 |
0,3 - 3,0 |
50 |
0,08 |
500´380´1000 |
150 |
|
ПАД-1,2-100/200VI |
1,2 |
12/6 |
100/200 |
0,3 - 3,0 |
50 |
0,08 |
700´450´1300 |
180 |
|
ПАД-2,0-165/330VI |
2,0 |
12/6 |
165/330 |
0,3 - 3,0 |
50 |
0,08 |
700´450´1300 |
240 |
|
ПАД-3,0-250/500VI |
5,0 |
12/6 |
250/500 |
0,3 - 3,0 |
50 |
0,08 |
700´450´1300 |
270 |
|
ПАCK-0,6-48/24VI |
0,6 |
48/24 |
25/50 |
0,3 - 3,0 |
50 |
0,08 |
500´380´1000 |
105 |
|
ПACK-1,2-48/24VI |
1,2 |
48/24 |
21/42 |
0,3 - 3,0 |
50 |
0,08 |
500´380´1000 |
120 |
|
ПАCK-2,0-96/48VI |
2,0 |
96/48 |
36/62 |
0,3 - 3,0 |
50 |
0,08 |
500´380´1000 |
130 |
|
ПACK-3,0-96/48VI |
3,0 |
96/48 |
52/104 |
0,3 - 3,0 |
50 |
0,08 |
500´380´1000 |
150 |
|
ПACK-5,0-96/48VI |
5,0 |
96/48 |
52/104 |
0,3 - 3,0 |
50 |
0,02 |
700´450´1300 |
200 |
|
CKCП-0,6-48/24VI |
0,6 |
48/24 |
12/25 |
0,9 - 2,5 |
25 |
0,02 |
600´450´690 |
100 |
|
CKCП-1,2-48/24VI |
1,2 |
48/24 |
25/50 |
0,9 - 2,5 |
25 |
0,02 |
600´450´690 |
110 |
|
CKCП-2,0-46/48VI |
2,0 |
96/48 |
21/42 |
0,9 - 2,5 |
25 |
0,02 |
600´450´690 |
120 |
|
CKCП-3,0-96/48VI |
3,0 |
96/48 |
32/62 |
0,9 - 2,5 |
25 |
0,02 |
760´530´885 |
120 |
|
CKCП-5,0-96/48VI |
5,0 |
96/48 |
52/104 |
0,9 - 2,5 |
25 |
0,02 |
760´530´885 |
200 |
|
CKC-1200 (модель 1) |
1,2 |
48/24 |
50/75 |
0,8 - 2,0 |
25 |
0,07 |
755´660´856 |
120 |
|
CKCA-1200 (модель 2) |
1,2 |
24/12 |
50/100 |
0,8 - 2,0 |
75 |
0,07 |
755´660´856 |
120 |
|
CKCP-1200 |
1,2 |
48/24 |
25/50 |
0,8 - 2,0 |
75 |
0,07 |
495´590´700 |
90 |
|
БAKC-50VI |
- |
6 - 60 |
52 |
0,3 - 3,0 |
75 |
5 |
245´245´170 |
5 |
|
СКАР-1200 |
1,2 |
12/24 |
50/100 |
0,8 - 4,0 |
25 |
0,07 |
400´400´520 |
80 |
|
УД-КХ |
2,0 |
12/6 |
150/300 |
0,8 - 2,0 |
50 |
0,05 |
1000´660´400 |
200 |
|
ДУТАКХ |
2,0 |
12/6 |
150/300 |
0,8 - 2,0 |
25 |
0,05 |
1000´660´400 |
160 |
|
АКС-АКХ |
3,5 |
50/100 |
70/35 |
0,8 - 2,0 |
25 |
0,05 |
1000´660´400 |
100 |
6.59. Технические данные автоматических катодных станций серии СКСП приведены в табл. 6.17.
Применение этих станций обеспечивает высокую стабильность защитного потенциала. Автоматическое регулирование защитного тока осуществляется с помощью мощных тиристоров, путем сравнения измеряемой величины потенциала с эталонной и последующим усилением выделенной разности транзисторным усилителем, воздействующим на узел управления. Станции, снабженные устройством громозащиты, эксплуатируются при изменении напряжения питающей сети от 160 до 230 В и прекращают свою работу при обрыве провода от электрода сравнения.
6.60. Автоматическая катодная станция типа СКСА-1200 выпускается двух модификаций: с выходным напряжением 8 - 48 и 4 - 24 В или 4 - 24 и 2 - 12 В и рассчитана на номинальный защитный ток 25 и 50 или 50 и 100 А соответственно.
Станция рассчитана на питание от промышленной сети напряжением 220В (127 В по требованию заказчика). Станции второй модели, рассчитанные на высокие защитные токи, могут также применяться в качестве автоматического усиленного дренажа.
6.61. Технические данные двух реверсивных станций автоматической катодной защиты типа СКСР-1200 и СКАР-1200 приведены в табл. 6.17.
Станция типа СКСР-1200 может работать при изменении напряжения питающей сети от 160 до 230 В; она прекращает свою работу при обрыве провода от электрода сравнения. Принцип работы - автоматическое поддержание заданного значения потенциала «сооружение - земля» путем фазочувствительного регулирования величины выпрямленного тока мощными тиристорами.
Станция типа СКАР-1200 может быть использована в качестве: усиленного автоматического дренажа, усиленного реверсивного автоматического дренажа, автоматической катодной станции, автоматической катодной реверсивной станции.
Станция имеет амперметр, вольтметр (для контроля потенциала), приборы защиты от перегрузки и перенапряжений и рассчитана на питание от промышленной сети напряжением 220 В.
Станция обеспечивает уверенную работу при изменении сопротивления нагрузки ±50%.
6.62. Технические данные автоматических дренажей типов УД-АКХ и ДУТ-АКХ и автоматической катодной станции типа АКС-АКХ приведены в табл. 6.17.
Регулировка защитного тока осуществляется фазочувствительными элементами с применением магнитных усилителей и мощных тиристоров.
Устройства рассчитаны на питание от промышленной сети напряжением 220 В.
Анодные заземления.
6.63. Анодные заземления установок электрохимической защиты обычно выполняются из стальных электродов (уголков, труб и т.д.), помещаемых непосредственно в грунт или в коксовую мелочь. Кроме того, в качестве анодных заземлений применяют железокремниевые (ферросилидовые) и графитовые заземлители в коксовой засыпке и без нее. Коксовая засыпка увеличивает срок службы электродов и уменьшает сопротивление растеканию.
6.64. Глубинными анодными электродами следует считать заземлители, устанавливаемые на глубинах, превышающих 10 м.
Применение глубинных заземлений обеспечивает уменьшение влияния токов катодной защиты на смежные подземные сооружения и улучшает распределение защитного тока.
В качестве глубинных электродов применяются стальные или чугунные трубы, железокремниевые и графитовые заземлители в коксовой засыпке и без нее.
При бурении скважин под глубинные анодные заземлители могут быть использованы буровые станки УКС-22, УРБ-ЗАМ, БА-151А и др.
6.65. В настоящее время наиболее широко применяются следующие конструкции анодных заземлений:
ЗКА-140, АК-1 - стальные электроды с подключенными к ним проводниками, упакованные вместе с коксовым активатором в металлический кожух;
ЗЖК-12, ЗЖК-27, ЗЖК-41г - железокремниевые электроды-заземлители с подключенными к ним проводниками;
ЗЖК-12-KA, АК-3, ЗЖК-41гKA, АК-2г - железокремниевые электроды вместе с коксовым активатором, заключенные в стальной кожух. К железо-кремниевому электроду через контактный стержень подключен проводник;
ГАЗ-2 - графитированный стержень с подключенными к нему двумя проводами марки ПВ.
Примечание. Железокремниевые электроды типов ЗЖК-41г, ЗЖК-41г-КА, АК-2г и ГАЗ-2 предназначены для устройства глубинных заземлений.
6.66. Основные параметры анодных заземлений типов ЗКА-140, АК, ЗЖК и ГАЗ приведены в табл. 6.18.
6.67. Сечение и тип дренажного кабеля выбираются в соответствии с величиной защитного тока.
ТАБЛИЦА 6.18
Параметры анодных заземлений
|
Габариты, мм |
Масса, кг |
Скорость растворения электрода в грунте |
Примечание |
||
|
диаметр |
длина |
||||
|
ЗКА-140 |
40 |
1365 |
8 |
1 кг/А×год |
При средней плотности тока |
|
АК-1 (стальной электрод без упаковки) |
50 |
1400 |
21 |
1 кг/А×год |
|
|
ЗКА-140 |
185 |
1425 |
40 |
1 кг/А×год |
То же |
|
АК-1 |
185 |
1420 |
60 |
1 к г/А×год |
- » - |
|
ЗЖК-12 |
40 |
1365 |
12 |
0,15 кг/А×год |
При средней плотности тока j=100 мА/дм2 |
|
ЗЖК-27 |
60 |
- |
27 |
0,15 кг/А×год |
То же |
|
ЗЖК41 |
75 |
1640 |
41 |
0,15 кг/А×год |
- » - |
|
ЗЖК-12-КА |
185 |
1425 |
50 |
0,12 кг/А×год |
При средней плотности тока j = 80 мА/дм2 |
|
АК-3 |
185 |
1420 |
53 |
То же |
|
|
АК-2г |
150 |
1700 |
60 |
- » - |
|
|
ЗЖК-41г-КА |
240 |
1700 |
110 |
0,12 кг/А×год |
То же |
|
ГАЗ-2 |
70 - 100 |
1250 |
- |
- » - |
- |
Защитные заземления
6.68. Защитным заземлением называется устройство, предназначенное для соединения с землей металлических частей силового или технологического оборудования устройств связи, молниеотводов, разрядников, которые нормально не находятся под напряжением, но могут оказаться под ним при повреждении изоляции проводников, несущих рабочий ток.
6.69. Нормы сопротивления заземления для различных установок связи приведены в ГОСТ 464-68.
6.70. Защитные заземления обычно выполняются из стальных электродов (уголков, труб, пластин и т.д.), помещаемых непосредственно в земле или коксовой мелочи. Кроме того, применяются типы заземлений, приведенных в п. 6.65.
6.71. Сечение и тип соединительного кабеля или провода выбираются с учетом требований ГОСТ 464-68, правил и норм по технике безопасности.
Неполяризующие электроды сравнения длительного действия
6.72. Неполяризующиеся электроды сравнения длительного действия предназначены для применения в установках автоматизированной защиты для осуществления долговременного контроля величины разности потенциалов в системе «защищаемое сооружение - земля».
На практике наибольшее применение нашли медносульфатные неполяризующиеся электроды сравнения длительного действия типа МЭД-АКХ.
6.73. Неполяризующийся медносульфатный электрод сравнения длительного действия типа МЭД-АКХ представляет собой фарфоровый цилиндрический сосуд диаметром и высотой 12 см, горловина сосуда имеет высоту 8 см и диаметр до 6 см. Внутри электрода сравнения находится медный стержень, погруженный в желеобразный состав медного купороса. Подключенный к медному стержню, изолированный провод выводится наружу через горловину, герметично залитую эпоксидным компаундом.
Дно электрода сравнения изготовлено из мелкопористой керамики и является диафрагмой, через которую осуществляется контакт с грунтом.
В процессе эксплуатации электрод сравнения типа МЭД-АКХ устанавливается в грунт в вертикальном положении на глубине закопки защищаемого сооружения на расстоянии от него не более 15 см.
Длительность работы установленного электрода сравнения составляет 1 - 3 года, нестабильность собственного электрохимического потенциала - не более ±2 мВ, величина собственного потенциала по отношению к водородному электроду согласно ГОСТ 9.015-74 принята равной +0,3 В.
Конструкция распределительных щитков НУП
6.74. При осуществлении протекторной защиты металлических цистерн НУП подключение протекторов к цистерне НУП производится через специальные распределительные щитки (рис. 4.15 и 4.16).
При этом провод от каждого отдельного протектора подводится к одному из гнезд распределительного щитка, провод от металлического корпуса НУП подводится к четырем гнездам этого щитка.
Подключение каждого протектора к корпусу НУП на распределительном щитке осуществляется с помощью разъемных дужек, обеспечивающих удобство коммутации, особенно при различных измерениях, связанных с частым включением и выключением протекторов.
Конструкция КИП
6.75. Контрольно-измерительные пункты представляют собою железобетонные столбики прямоугольного сечения (рис. 6.16) с внутренней продольной стальной трубой, через которую проходят соединительные провода. В верхней части столбика укрепляется стальная коробка, закрываемая дверцей, внутри которой вертикально на шпильках крепится съемный клеммный щиток из изоляционного материала. К клеммам щитка подключаются соединительные провода от оболочки, брони кабеля и заземления. Нижняя часть столбика имеет двусторонний горизонтальный выступ, препятствующий выдергиванию столбика из земли.
6.76. КИП-1 выполняется с клеммным щитком на два контрольных вывода; КИП-2 - на пять контрольных выводов.
6.77. В качестве клемм используются латунные винты, вставляемые с внутренней стороны щитка и закрепляемые с наружной стороны латунными шайбами и гайками.
Предварительно на винт одевается латунный наконечник для припайки соединительных проводов.
6.75. Перемычки клеммного щитка изготовляются из латуни и имеют вырезы на концах. При отсутствии латунных перемычек последние могут быть заменены перемычкой из медной проволоки диаметром порядка 3 мм. Для обеспечения надежного контакта часть перемычки, находящаяся под гайкой, должна быть предварительно расплющена. Одетые на клеммные винты перемычки в соответствии со схемой подключения закрепляются гайкой.
6.79. С целью предохранения клеммного щитка от загрязнений и осадков ниша железобетонного столбика закрывается стальной окрашенной дверцей, которая имеет внутренний потайной запор. На внешней стороне дверцы наносится номер КИП.
Рис. 6.16.
Контрольно-измерительный пункт:
а - стойка КИП-1 и КИП-2; б - поперечное сечение столбика КИП; в
- плата КИП-1; г - плата КИП-2
Материалы и инструменты для изготовления изолирующих муфт
В качестве наполнителя применяется кварцевый песок марки КП-2 или КП-3 (ГОСТ 9077-59) или молотая слюда «флагопит» (ГОСТ 855-74).
Отвердителем служит полиэтиленполиамин (ТУ 6-02-594-70).
Различные варианты составов заливочных масс на основе эпоксидных компаундов приведены в табл. 6.19.
Учитывая условия работы на трассе кабеля, необходимо к месту работы доставлять компоненты смеси предварительно проверенные и в расфасованном виде. При расфасовке компонентов эпоксидный компаунд (с наполнителем и без него) и отвердитель должны упаковываться раздельно. При использовании в смеси наполнителя последний смешивается с эпоксидным компаундом не менее чем за сутки до применения. Эпоксидный компаунд смешивается с отвердителем только непосредственно перед заливкой массы в форму. Отвердитель добавляют к эпоксидному компаунду (или смеси компаунда с наполнителем) и тщательно перемешивают.
Расход материалов, необходимых для изготовления изолирующих муфт типа МИ, приведен в табл. 6.20 - 6.25.
ТАБЛИЦА 6.19
Составы заливочных масс на основе эпоксидных компаундов
|
Содержание компонентов в различных вариантах составов в весовых частях |
|||
|
Эпоксидный компаунд К-115 |
100 |
100 |
- |
|
Эпоксидный компаунд К-153 |
- |
- |
100 |
|
Кварцевый песок |
70 |
- |
- |
|
Слюда |
- |
20 |
- |
|
Полиэтиленполиамин |
15 |
15 |
12 |
ТАБЛИЦА 6.20
Расход материалов, г, при применении компаунда марки К-115 на одну муфту МИс
|
Компаунд марки К-115 |
Наполнитель |
Отвердитель |
||
|
кварцевый песок |
слюда |
|||
|
1 |
130 |
91 |
19 |
|
|
155 |
31 |
24 |
||
|
2 |
216 |
150 |
34 |
|
|
266 |
53 |
41 |
||
|
3 |
270 |
190 |
40 |
|
|
330 |
67 |
57 |
||
ТАБЛИЦА 6.21
Расход материалов, г, при применении компаунда марки К-153, употребляемого без наполнителей, на одну муфту МИс
|
Типоразмер муфт |
Компаунд марки К-153 |
Отвердитель |
|
1 |
179 |
21 |
|
2 |
304 |
36 |
|
3 |
384 |
46 |
ТАБЛИЦА 6.22
Расход материалов, г, при применении компаунда марки К-115 на одну муфту МИт
|
Типоразмер муфт |
Компаунд марки К-115 |
Наполнитель |
Отвердитель |
|
|
кварцевый песок |
слюда |
|||
|
1 |
130 |
91 |
19 |
|
|
155 |
31 |
24 |
||
|
2,3,4 |
270 |
190 |
40 |
|
|
330 |
67 |
57 |
||
|
5,6 |
650 |
455 |
95 |
|
|
815 |
163 |
122 |
||
|
7,8 |
810 |
570 |
120 |
|
|
965 |
190 |
145 |
||
ТАБЛИЦА 6.23
Расход материалов, г, при применении компаунда марки К-153, употребляемого без наполнителей, на одну муфту МИт
|
Типоразмер муфт |
Компаунд марки К-153 |
Отвердитель |
|
1 |
179 |
21 |
|
2,3,4 |
384 |
46 |
|
5,6 |
895 |
105 |
|
7,8 |
1160 |
140 |
ТАБЛИЦА 6.24
Расход материалов, г, при применении компаунда марки К-115 на одну муфту МИк
|
Типоразмер |
Компаунд марки К-115 |
Наполнитель |
Отвердитель |
|
|
кварцевый песок |
слюда |
|||
|
1 |
216 |
150 |
34 |
|
|
266 |
53 |
41 |
||
|
2 |
270 |
190 |
40 |
|
|
330 |
67 |
57 |
||
|
3 |
650 |
455 |
95 |
|
|
815 |
163 |
122 |
||
Соединительные провода и кабели
6.82. Для осуществления электрических соединений при устройстве электрохимической защиты от коррозии используются соединительные и дренажные провода и кабели, тип и сечение которых выбираются в соответствии с величиной защитного тока.
ТАБЛИЦА 6 25
Расход материалов, г, при применении компаунда марки К-153, употребляемого без наполнителей, на одну муфту МИк
|
Типоразмер муфт |
Компаунд марки К-153 |
Отвердитель |
|
1 |
304 |
36 |
|
2 |
384 |
46 |
|
3 |
895 |
105 |
6.83. Общее сечение, мм2, жил соединительных проводов и кабелей, во избежание их нагрева, во всех случаях должно быть не менее
S = Iз/1,5,
где Iз - максимальное значение защитного тока, А.
Более точно сечение соединительного кабеля можно рассчитывать по формуле, представленной в п. 3.166.
6.84. Тип соединительных проводов и кабелей выбирается в зависимости от требований и условий эксплуатации. В частности, могут применяться провода марки ПРВПМ 1,2´2 и силовые кабели марки АСБ.
7.1. Определение концентрации водородных ионов (рН) в грунтах и в грунтовых и других водах производится с помощью специальных измерительных приборов: потенциостатов и потенциометров типов: ППП-58, ППМ-03М1, ЛП-58, ЛПУ-01 и др.
Приборы типов ППП-58 и ППМ-03М1 предназначены для измерений в полевых условиях, а приборы типов ЛП-58, ЛПУ-01 - в лабораторных условиях.
Технические данные указанных приборов приведены в табл. 7.1.
7.2. Ориентировочное значение величины (рН) может быть определено с помощью универсальной индикаторной бумаги марки «рН 1-10», которая меняет свой цвет в зависимости от величины рН.
7.3. Удельное сопротивление грунта может быть определено с помощью специальных измерительных приборов типов МС-0,8, Ф-416 и М-416. Технические данные указанных приборов приведены в табл. 7.2.
ТАБЛИЦА 7.1
Технические характеристики приборов, рекомендуемых для измерения рН
|
Пределы измерений |
Погрешность измерения |
Питание |
Условия эксплуатации |
Габариты, мм |
Масса, кг |
|||
|
рН |
потенциалы, В |
Температура 0C |
Относительная влажность, % |
|||||
|
ППП-58 |
3 - 10 |
- |
±0,1 рН |
Автономное |
+5 ¸ +40 |
До 80 |
180´180´110 |
3,0 |
|
ППМ-03М1 |
2 - 12 |
0 - 1,0 |
±0,1 рН ±10 мВ |
Автономное |
0 ¸ +40 |
До 80 |
200´130´70 |
1,3 |
|
ЛП-58 |
0 - 13 |
0 - 1,3 |
±0,1 рН ±5 мВ |
Комбинированное |
+15 ¸ +25 |
До 60 |
250´220´230 |
6,8 |
|
ЛПУ-01 |
0 - 2 |
+0,1 ¸ -0,1 |
Не более ±0,4 рН От ±2 до ±40 мВ в зависимости от диапазона измерений |
Сеть переменного тока напряжением 220 В |
+10 ¸ +35 |
До 80 |
250´311´207 |
9,5 |
|
2 - 6 |
- 0,1 ¸ -0,3 |
|||||||
|
6 - 10 |
- 0,3 ¸ -0,5 |
|||||||
|
10 - 14 |
- 0,5 ¸ -0,7 |
|||||||
|
+0,4 -0 |
||||||||
|
0 ¸ -0,4 |
||||||||
|
- 0,4 ¸ -0,8 |
||||||||
|
- 0,8 ¸ -1,2 |
||||||||
7.4. При измерениях используются четыре металлических электрода, конструкция и размеры которых приведены в п. 7.31.
7.5. Подключение металлических электродов к прибору осуществляется с помощью изолированных соединительных проводников.
7.6. Определение наличия блуждающих токов в земле производится с помощью вольтметров, имеющих внутреннее сопротивление не менее 20 кОм на 1 В шкалы с пределами измерений: 75 - 0 - 75 мВ; 0,5 - 0 - 0,5 В; 1 - 0 - 1 В; 5 - 0 - 5 В или с другими пределами, близкими к указанным.
Технические данные приборов, рекомендуемых для применения, приведены в табл. 7.3.
7.7. При измерениях для осуществления контакта с землей используются металлические или неполяризующиеся электроды.
В качестве неполяризующихся электродов могут применяться медносульфатные электроды типа НМ-СЭ-58.
Данные металлических и неполяризующихся электродов сравнения приведены в пп. 7.30 - 7.33.
7.8. Подключение электродов сравнения к вольтметру может производиться с помощью соединительных изолированных проводников.
7.9. При проведении измерений по оценке опасности коррозии должны использоваться специальные вольтметры, обладающие высоким входным сопротивлением на 1 В шкалы, а при измерениях на установках защиты (определение напряжения питающей сети, выпрямленного напряжения и т.д.) - обычные вольтметры постоянного или переменного тока на требуемые пределы измерений.
ТАБЛИЦА 7.2
Технические характеристики приборов, рекомендуемых для измерения сопротивлений
|
Назначение |
Погрешность, не более, и класс точности |
Пределы измерения, Ом |
Питание |
Условия эксплуатации |
Габариты, мм |
Масса, кг |
|||
|
Температура 0C |
Относительная влажность, % |
||||||||
|
1 |
2 |
3 |
4 |
5 |
6 |
7 |
8 |
9 |
|
|
МС-08 |
Измерение сопротивления проводников, заземлений и удельного сопротивления грунтов |
1,5 |
0 - 10 0 - 100 0 - 1000 |
От встроенного генератора постоянного тока |
+5 ¸ +40 |
До 80 |
390´195´205 |
10,5 |
|
|
М-416 |
То же |
±7% |
0 - 10 0 - 50 0 - 200 0 - 1000 |
Автономное |
- 25 ¸ +60 |
До 95 |
245´140´160 |
3,0 |
|
|
Ф-416 |
- » - |
±1,5% |
0 - 5 0 - 10 0 - 100 0 - 1000 |
От встроенного генератора с ручным приводом |
- 50 ¸ +60 |
98 |
230´170´215 |
6,0 |
|
|
МЕГ-9 |
Измерение сопротивления изоляции |
±1,5% |
106 - 107 107 - 108 108 - 109 109 - 1010 1010 - 1011 |
Автономное |
- 25 ¸ +50 |
До 98 |
310´210´175 |
6,6 |
|
|
М-1101 |
То же |
1,0 |
0 - 1×108 0 - 2×105 0 - 5×108 0 - 1×108 0 - 1×109 0 - 1×108 |
От встроенного генератора постоянного тока |
- 25 ¸ +60 |
До 80 |
195´130´150 |
3,6 |
|
|
М-4100 (пять модификаций от М-4100/1 до М-4100/5) |
Измерение сопротивления изоляции |
1,0 |
0 - 200×103 0 - 100×106 |
|
От встроенного генератора с ручным приводом |
- 30 ¸ +40 |
90 |
200´155´140 |
3,5 |
|
0 - 500×103 0 - 250×106 |
|
||||||||
|
0 - 1×106 0 - 500×106 |
|
||||||||
|
4×0 - 1×103 0 - 1×109 |
|
||||||||
|
5×0 - 2×106 0 - 2,5×109 |
|
||||||||
|
МОМ-3 |
То же |
1,5 |
1×108 - 1×1011 |
От сети переменного тока напряжением 110, 127 или 220 В |
- 10 ¸ +30 |
До 70 |
330´220´215 |
9,0 |
|
|
Р-334 |
Измерение сопротивления проводников, изоляции и сопротивления заземлений |
0,5 - 1,5 - при измерении сопротивлений от 0,1 до 99 990 Ом; 5 - при измерениях сопротивлений <0,1 Ом; 25 - при измерении сопротивлений >1 МОм |
0,5×10-3 - 2×108 |
Автономное |
- 15 - +35 |
До 80 |
450´345´200 |
12,0 |
|
|
КП-50 |
измерение сопротивления проводников и сопротивления изоляции |
±(0,3% + 0,01 Ом) ± 5% |
0,1 - 1 104 0,01 - 106 - 1×109 |
- » - |
- |
- |
420´280´200 |
10,3 |
|
|
ПКП-2 |
То же |
±(0,3% + 0,01 Ом) ±5% ±5% ±20% |
0,1 - 1×104 10 - 1×105 0,1×106 - 1×109 1×109 - 3×1010 |
- » - |
- |
- |
410´320´215 |
10,0 |
|
|
ПКП-2М |
- » - |
± (0,3> + 0,01 Ом) ±5% ±2,5% ±5% |
0,1 - 1×104 10 - 1×105 1×105 - 3×108 3×108 - 5×1010 |
- » - |
- |
- |
410´320´215 |
10,0 |
|
|
ПКП-3 |
- » - |
±(0,2% + 0,01 Ом) ±0,5% ±0,5% ±2,5% |
0,1 - 1×104 1×104 - 1×105 1×105 - 1×106 1×105 - 1×1010 |
Автономное и от сети переменного тока 127/220 В |
- |
До 90 (20 0C) |
385´305´255 |
10,0 |
|
|
КМ-61с |
- » - |
±(0,2% + 0,01 Ом) ±6% ±15% |
0,1 - 1×105 0,01×106 - 1×109 |
Автономное и от сети переменного тока 220 В |
- 30 ± + 50 |
До 98 (при 40°С) |
403´325´260 |
Не более 18,0 |
|
ТАБЛИЦА 7.3
Технические характеристики приборов, рекомендуемых для измерения напряжений и токов
|
Назначение |
Класс точности |
Пределы измерения |
Входное сопротивление, Ом/В |
Время успокоения стрелки |
Питание |
Условия эксплуатации |
Габариты, мм |
Масса, кг |
|
||||||
|
по току, А |
по напряжению, В |
||||||||||||||
|
Температура, 0C |
Относительная влажность, % |
|
|||||||||||||
|
1 |
2 |
3 |
4 |
5 |
6 |
7 |
8 |
9 |
10 |
11 |
12 |
|
|||
|
М-231* |
Измерение токов и потенциалов в полевых условиях |
5 |
0,005 - 0 - 0,005 0,05 - 0 - 0,05 0,1 - 0 - 0,1 0,5 - 0 - 0,5 1 - 0 - 1 5 - 0 - 5 10 - 0 - 10 |
0,075 - 0 - 0,075 0,5 - 0 - 0,5 1 - 0 - 1 5 - 0 - 5 10 - 0 - 10 50 - 0 - 50 100 - 0 - 100 |
2×104 |
Менее 3 |
- 30 ¸ +40 |
До 80 |
178´180´94 |
1,5 |
|
||||
|
ВАК-2* |
То же |
5 |
Определяется используемым шунтом на 75 мВ |
0,03 - 0 - 0,03 0,075 - 0 - 0,075 0,1 - 0 - 0,1 0,3 - 0 - 0,3 1 - 0 - 1 3 - 0 - 3 10 - 0 - 10 30 - 0 - 30 100 - 0 - 100 300 - 0 - 300 |
1,5×105 |
Менее 3 |
Автономное |
- 45 ¸ +45 |
До 80 |
200´154´108 |
2,5 |
|
|||
|
Ф-432/1** |
Измерение токов и потенциалов в полевых и лабораторных условиях |
1,0 при постоянном токе, 1,5 при переменном токе |
0 - 3×10-5 0 - 1×10-4 0 - 3×10-4 0 - 0,001 0 - 0,003 0 - 0,030 0 - 0,100 0 - 1,0 |
0 - 0,075 0 - 0,100 0 - 0,300 0 - 1,0 0 - 3,0 0 - 10,0 0 - 30,0 0 - 100,0 0 - 300,0 0 - 600,0 |
1 104 на пределе 0,075, на остальных 3,34 104 |
Менее 3 |
Автономное |
- 10 ¸ +40 |
До 80 |
115´210´90 |
1,4 |
|
|||
|
ЭСК-1 |
Измерение токов и напряжений |
Не более 3 |
0 - 10-3 0 - 3 10-3 0 - 10×10-3 0 - 30×10-3 0 - 100×10-3 0 - 300×10-3 |
0 - 10-3 0 - 3 10-3 0 - 10×10-3 0 - 30×10-3 0 - 100×10-3 0 - 0,3 0 - 1,0 |
Не менее 2 - 106 |
Менее 3 |
- |
- |
215´321´218 |
8,5 (17,4) |
|
||||
|
УКИП-73 |
Измерение токов и потенциалов в лабораторных и полевых условиях |
2,5 |
0 - 0,5 0 - 5 0 - 10 |
0 - 0,6 0 - 1,2 0 - 3,0 0 - 6,0 0 - 12,0 0 - 120 |
Автономное |
+5 ¸ +50 |
До 80 |
290´220´135 |
3,2 |
|
|||||
|
ВК7-13 |
Измерение токов и напряжений постоянного и переменного тока, электрического сопротивления |
2,5 |
0 - 1×10-6 0 - 10×10-6 0 - 100×10-6 0 - 1×10-3 0 - 10×10-3 0 - 0,1 0 - 1,0 0 - 5,0 0 - 15,0 |
0 - 0,01 0 - 0,03 0 - 0,1 0 - 0,3 0 - 1,0 0 - 3,0 0 - 10 0 - 30 0 - 100 0 - 300 0 - 1000 |
(1,4 - 1,3)×106 |
Менее 4 |
Автономное |
0 ¸ 40 |
До 98 |
275´180´160 |
4,0 |
|
|||
|
АЭ-72 |
Измерение токов и напряжений в лабораторных и полевых условиях |
3 |
От 3 10-3 до 3 |
0 - 1×10-3 0 - 3×10-3 0 - 10 10-3 0 - 0,1 0 - 0,3 0 - 1,0 |
1,5×10-6 |
Менее 3 |
Автономное (12 батарей РЦ-85У) |
- 15 ¸ +45 |
До 90 |
304´180´210 |
4,0 |
|
|||
|
|||||||||||||||
* Используя предел 75 мВ, при наличии наружных шунтов измеряют токи любой величины.
** Выпускается взамен прибора Ф-432.
7.10. Определение разности потенциалов при оценке опасности коррозии производится с помощью вольтметров с внутренним сопротивлением не менее 20 кОм на 1 В шкалы.
Этим требованиям удовлетворяют приборы типов М-231, ВАК-2, Ф-432/1, ЭСК-1 и др. Технические данные указанных приборов приведены в табл. 7.3.
7.11. При измерениях на установках защиты следует использовать вольтметры переменного и постоянного тока, имеющие класс точности не ниже 2,5.
7.12. Для осуществления контакта с землей при измерениях разности потенциалов «сооружение связи - земля» и потенциалов гальванокоррозии должны использоваться медносульфатные электроды, а в других случаях - металлические. Конструктивные данные электродов приведены в пп. 7.31 - 7.33.
7.13. Подключение электродов к вольтметру может производиться с помощью соединительных изолированных проводников или измерительных рулеток типа РИП-5 или РИП-10 (см. п. 7.34).
7.14. При проведении измерений, связанных с защитой подземных металлических сооружений связи от коррозии, определяются величины постоянных и переменных токов.
7.15. Измерение величин постоянных токов производится амперметрами или милливольтметрами с использованием наружных шунтов на 75 мВ. В частности, рекомендуется использовать следующие приборы: М-231, ВАК-2, Ф-432/1 и ЭСК-1.
7.16. Измерения величин переменных токов следует производить амперметрами или милливольтметрами с использованием наружных шунтов на требуемые пределы измерений, имеющих класс точности не ниже 2,5.
7.17. Электроды, тип и сечение проводов выбираются в зависимости от вида измерения тока.
7.18. В зависимости от вида измеряемого сопротивления (изоляции, переходного, цепи электрохимической защиты) используются различные типы измерительных приборов.
7.19. Измерения сопротивлений изоляции рекомендуется производить специальными мегомметрами или мостами постоянного тока. В частности, могут быть использованы приборы типов МЕГ-9, М-1101, М-4100, MOM-3, Р-334, КП-50, ПКП-2, ПКП-2М, ПКП-ЗМ и КП-61с и др. Технические данные указанных приборов приведены в табл. 7.2.
7.20. Измерения переходного сопротивления и сопротивления заземления производятся измерительными приборами типов МС-08, Ф-416, М-416 и P-334. Технические данные указанных приборов приведены в табл. 7.2.
При производстве измерений используются два металлических электрода, технические данные которых приведены в п. 7.31.
Подключение металлических электродов к прибору осуществляется с помощью изолированных проводников.
7.21. Измерение сопротивления цепи электрохимической защиты двух или нескольких подземных металлических сооружений, а также измерение сопротивлений проводников рекомендуется производить приборами МС-08, М-416, P-334, КП-50, ПКП-2, ПКП-2М, ПКП-3 и KM-61c. Технические данные указанных приборов приведены в табл. 7.2.
7.22. Определение мест повреждений защитных покровов подземных металлических сооружений связи производится с помощью специального измерительного прибора - искателя мест повреждений изоляции типа ИМПИ-2 или ИМПИ-3.
7.23. Приборы типа ИМПИ предназначены:
для точного отыскания мест понижения сопротивления изоляции относительно земли металлических оболочек, брони, экранов кабелей связи с наружными защитными покровами шлангового типа;
для точного отыскания понижения сопротивления изоляции относительно земли жил кабелей связи, проложенных в земле, у которых отсутствует металлическая оболочка (броня, экран);
для определения прохождения трасс кабельных линий связи и определения глубины прокладки кабелей.
7.24. В комплект прибора типа ИМПИ входят: генератор импульсов, индикатор импульсов, контактный штырь с индикатором кабелеискателя, контактный штырь, заземлитель, наушники, соединительные проводники.
7.25. Генератор импульсов предназначен для получения импульсов постоянного тока. К выходу генератора подключается металлическая оболочка (броня, экран) кабеля.
7.26. Индикатор импульсов предназначен для отыскания мест понижения (повреждений) сопротивления изоляции с помощью контактных штырей.
7.27. Кабелеискатель предназначен для определения трассы и глубины прокладки подземного кабеля связи.
Глубина прокладки и трасса определяются с помощью индикатора кабелеискателя, установленного на одном из контактных штырей.
7.28. Технические данные прибора типа ИМПИ-2.
Переходное сопротивление «сооружение - земля» в месте
повреждения изоляции, не более, кОм...................................................... 100
Точность определения места повреждения, не более, мм........................ ±200
Генератор импульсов
Частота следования импульсов постоянного тока, Гц............................. 0,5±20%
Частота импульсов переменного тока, Гц................................................. 800
Выходное напряжение генератора (регулируемое), В............................. 30 - 300
Максимальный рабочий ток, мА................................................................ 30
Минимальная выходная мощность, Вт...................................................... 6,25
Питание......................................................................................................... аккумуляторная батарея на 12 В емкостью 10 А.ч
Габариты, мм................................................................................................ 250´80´145
Масса (без источника питания), кг............................................................. 3,0
Индикатор импульсов
Чувствительность, мВ.................................................................................. 2
Питание......................................................................................................... Батареи КБС-х-0,5 или КВС-х-0,7
Габариты, мм................................................................................................ 170´110´110
Масса, кг........................................................................................................ 1,7
Кабелеискатель
Чувствительность, мВ.................................................................................. 0,3
Коэффициент усиления............................................................................... 5500
Питание......................................................................................................... два элемента 1,5 СНМУ-6
Масса, кг........................................................................................................ 1,1
7.29. При проведении коррозионных измерений и исследований и при контроле коррозионного состояния защищаемых подземных металлических сооружений связи применяются специальные регистрирующие приборы (самописцы). В частности, для этих целей используются приборы типов Н-39, Н-399, Н-373-1, Н-373-2, Н-373-3.
Технические данные указанных приборов приведены в табл. 7.4.
7.30. При проведении коррозионных измерений и исследований, а также paбот по обеспечению защиты подземных металлических сооружений связи от коррозии используется следующее вспомогательное оборудование: электроды металлические; электроды неполяризующиеся, измерительные рулетки: соединительные проводники.
Площадь поверхности электрода, контактирующая с землей, должна быть не менее 60 см2.
Наиболее распространенной конструкцией металлических электродов являются стержни длиной 350 - 600 мм и диаметром 8 - 15 мм.
К верхней части стержня присоединяется (под зажим) или припаивается, изолированный провод, подключаемый к измерительному прибору.
Нижняя часть стержня затачивается на конус для удобства осуществления контакта с землей. Металлические электроды изготавливаются, как правило, из стали.
7.32. Из неполяризующихся электродов сравнения наибольшее распространение на практике получили неполяризующиеся медносульфатные электроды.
Изображенный на рис. 7.1 неполяризующийся медносульфатный электрод сравнения типа НМ-СЭ-58 состоит из неметаллического сосуда 2, имеющего деревянную пористую диафрагму 5, которая крепится к сосуду с кольцом 3. К верхней части сосуда через резиновую пробку 8 проходит медный стержень 1, имеющий на наружном конце зажим (гайку с шайбами) для подключения соединительного провода.
ТАБЛИЦА 7.4
Техническая характеристика регистрирующих приборов для измерения напряжений и токов
|
Класс точности |
Пределы измерений |
Входное сопротивление |
Время успокоения стрелки |
Питание |
Скорость движения диаграмм ленты, мм/ч |
Условия эксплуатации |
|||||
|
по току, А |
по напряжению, В |
Температура, °C |
Относительная влажность, % |
Масса, кг |
|||||||
|
1 |
2 |
3 |
4 |
5 |
6 |
7 |
8 |
9 |
10 |
11 |
|
|
Н-39 |
1,5 |
До 500 А с использованием наружных шунтов на 75 мВ при измерении на пределе измерений 0 - 75 мВ |
0 - 5×10-3 0 - 10×10-3 0 - 25×10-3 0 - 50×10-3 0 - 75×10-3 0 - 250×10-3 |
ü ï ý ï þ |
106 |
Менее 2 |
От сети переменного тока напряжением 127/220 В или от аккумулятора напряжением 12 В |
20, 60, 180, 600, 1200, 1800, 5400 |
0 ¸ 50 |
До 95 |
10,0 |
|
0 - 1 0 - 2,5 0 - 5 0 - 10 0 - 25 0 - 50 0 - 100 |
ü ï ý ï þ |
2×105 |
|||||||||
|
Н-373-1 |
2,5 |
0 - 5×10-6 0 - 1,5×10-5 0 - 5×10-5 0 - 1,5×10-4 0 - 0,5×10-3 0 - 1,5×10-3 0 - 5×10-3 0 - 0,015 0 - 0,050 0 - 0,075 0 - 0,150 |
0 - 0,5×10-3 0 - 1,5×10-3 0 - 5×10-3 0 - 0,015 0 - 0,050 0 - 0,075 0 - 0,150 0 - 0,50 0 - 1,5 0 - 5,0 0 - 15,0 0 - 50,0 0 - 150,0 |
6,6×104 |
Менее 2 |
От сети переменного тока напряжением 127/220 В |
360, 800 |
10 ¸ +35 |
До 80 |
10,0 |
|
|
H-373-2 |
2,5 |
То же, что и Н-373-1, и, кроме того, 0 - 0,5×10-6 0 - 1,5×10-6 |
То же, что и Н-373-1, за исключением пределов: 0 - 0,5×10-3 0 - 1,5×10-3 |
6,6×10-4 |
Менее 2 |
То же |
20, 60, 180, 600 |
То же |
То же |
10,0 |
|
|
Н - 373 - 3 |
2,5 |
То же, что и Н - 373 - 1 |
To же, что и Н - 373 - 1 |
6,6×10-4 |
То же |
То же или от блока аккумуляторов |
20, 60, 180 |
0 ¸ 35 |
До 90 |
12,0 |
|
|
Н - 399 |
1,5 |
(10, 50, 250) 10-6 До 500 А с использованием наружных шунтов типа 75ШС или 75РИ |
0 - 5×10-3 0 - 10×10-3 0 - 25×10-3 0 - 50×10-3 0 - 75×10-3 0 - 250×10-3 |
ü ï ý ï þ |
10×106 |
Менее 2 |
От сети переменного тока напряжением 220 В или от аккумулятора напряжением 12 В |
20, 60, 180, 600, 1200, 1800, 5400 |
0 ¸ +500 |
До 95 |
10,0 |
|
0 - 1 0 - 2,5 0 - 5 0 - 10 0 - 25 0 - 50 0 - 100 |
ü ï ý ï þ |
2×105 |
|||||||||
Примечания 1. Расширение пределов измерений по току в приборах Н-373 от 0,2 до 300 А производится с помощью наружных шунтов на 75 мВ, входящих в комплект прибора.
2. Запаса чернил в пере достаточно на 3 - 4 ч непрерывной записи блуждающих токов при скорости движения диаграммной бумаги 600 мм/ч.
3. Автономный блок питания прибора Н-373-3 состоит из 14 аккумуляторов типа КН-10 и преобразователя. Один заряд аккумуляторов обеспечивает непрерывную работу прибора в течение 20 - 24 ч Питание преобразователя может производиться и от другого аккумулятора напряжением 12 В.
4. Приборы Н-39, Н-399 и Н-373-3 имеют нуль посередине шкалы.
Пористая диафрагма, при транспортировке защищается металлическим колпачком 4, который при снятии удерживается на резиновом шнуре 7. Внутрь сосуда наливается насыщенный раствор медного купороса и добавляется несколько его кристаллов. Контакт медного стержня с землей осуществляется через раствор и пористую диафрагму.
Потенциал медносульфатного неполяризующегося электрода по отношению к стандартному водородному электроду составляет + 3 В.
При длительной эксплуатации медносульфатных электродов сравнения их потенциал может изменяться, что скажется на результатах измерений, поэтому электроды должны периодически перезаряжаться. Разность потенциалов между двумя неполяризующимися электродами, находящимися в одинаковых условиях, не должна превышать 2 мВ.
При пользовании медносульфатными электродами необходимо соблюдать следующие правила.
Перед заливкой электродов медный стержень необходимо тщательно очистить от окислов.
Заливку электрода следует производить насыщенным раствором химически чистого медного купороса в дистиллированной воде за день до начала измерений.
При измерении электрод следует устанавливать так, чтобы диафрагма касалась сырой почвы. Если почва окажется сухой, ее следует увлажнить водой.
После окончания измерений раствор медного купороса надо вылить в отдельный сосуд, а электрод очистить от остатков электролита и земли.
Для производства измерений в труднодоступных местах рекомендуется применять измерительные штанги-электродержатели с неполяризующимися электродами сравнения.
7.33 Вспомогательные металлические электроды предназначены для осуществления электрического контакта с подземными металлическими сооружениями, на которых производятся измерения. Для снижения контактной разности потенциалов между металлами электрода и подземного металлического сооружения вспомогательные электроды изготавливаются из металла, аналогичного металлу данного сооружения.
Наибольшее распространение на практике нашли свинцовые и стальные вспомогательные электроды. Свинцовые вспомогательные электроды применяются для осуществления контактов со свинцовыми оболочками.
Рис. 7.1.
Медносульфатный неполяризующийся электрод:
1 - медный электрод; 2 - корпус; 3 - кольцо, 4 -
колпачок, 5 - диафрагма; 6 - резиновое кольцо; 7 -
подвеска; 8 - пробка
Для измерений на рельсовых путях, бронированных кабелях и стальных трубопроводах используются стальные электроды.
ТАБЛИЦА 7.5
Технические данные рулеток типов РИП-5 и РИП-10
|
РИП-5 |
РИП-10 |
|
|
Длина провода, м |
5 |
10 |
|
Сопротивление изоляции токоведущей цепи к корпусу, МОм |
100 |
100 |
|
Габариты, мм |
114´74´104 |
142´77´133 |
|
Масса, кг |
1,3 |
1,8 |
Для производства измерений в труднодоступных местах (колодцах, тоннелях и т.д.) используются измерительные штанги-электрододержатели.
Указанным требованиям отвечают провода следующих марок: ПМВГ, мгшв, мгв
Указанные провода могут быть заключены в специальные рулетки, которые выпускаются двух типов: РИП-5 и РИП-10. Технические данные этих рулеток приведены в табл. 7.5.
Форма 1
|
Протокол измерения потенциалов Номер колодца или контрольно-измерительного пункта ________ Дата ________19__г. Адрес пункта измерения _____________________________________________________ Время измерения: начало _________________ конец _____________________________ Длительность интервала между отсчетами, с ____________________________________ ___________________________________________________________________________ Тип и номер прибора ________________________________________________________ Наличие перемычек между оболочкой и броней и местоположение медносульфатного электрода сравнения ________________________________________________________ 1. Результаты измерений потенциалов в КИП (колодце)
2. Обработка измерений
Измерения выполнил _____________________________________________ Обработку выполнил _____________________________________________ |
||||||||||||||||||||||||||||||||
Форма 2
|
Протокол Тип прибора ___________________ Заводской номер прибора____________________ Дата _________________
Измерения провел: _________________________________________(Ф.и.о.) |
Форма 3
|
Журнал Место установки __________________________________________________________ Дата ввода в эксплуатацию _________________________________________________ Место и способ подключения к кабелю _______________________________________ Тип катодной станции _____________________________________________________ Отметки о ремонте (характер ремонта, дата проведения)________________________ Результаты измерений
|
|||||||||||||||||||||||||||||||||||||||||||
Форма 4
|
Журнал Место установки ____________________________________________________________ Дата ввода в эксплуатацию ___________________________________________________ Место и способ подключения к кабелю _________________________________________ Тип дренажа _______________________________________________________________ Допустимая нагрузка по току _________________________________________________ Место прокладки дренажного кабеля ___________________________________________ Марка, длина, сечение, дата прокладки дренажного кабеля ________________________ ___________________________________________________________________________ Место прокладки отсасывающего кабеля _______________________________________ Марка, длина, сечение, дата прокладки отсасывающего кабеля _____________________ ___________________________________________________________________________ Отметки о ремонте (характер ремонта, дата проведения) __________________________ Результаты измерений
|
||||||||||||||||||||||||||||||||||
Форма 5
Паспорт электродренажной установки
____________________________________ _________________________________
телефонный (кабельный) узел подробный адрес установки
|
Дата |
Заводской номер дренажа |
Тип дренажа |
Место присоединения дренажного кабеля |
Расстояние от дренажного шкафа до места присоединения, м |
Ток, проходящий в дренаже, А |
Дата установки дренажа |
Наименование и номер документа, по которому установка принята в эксплуатацию |
Разность потенциалов между кабелем и рельсами в точке присоединения дренажа, В |
|||
|
к защищаемому кабелю |
к рельсовой сети |
к кабелю |
к рельсовой сети |
минимальный |
максимальный |
||||||
|
|
|||||||||||
ФОРМА 6
Паспорт катодной установки
|
Дата |
Заводской номер катодной станции |
Тип катодной станции |
Напряжение переменного тока на зажимах катодной станции, В |
Напряжение постоянного тока на зажимах катодной станции В, когда защищаемый кабель |
Ток защиты, А |
Тип анодного заземления |
Расстояние от катодной станции до заземления, м |
Сопротивление анодного заземления, Ом |
Дата установки и включения катодной станции |
Наименование и номер документа, по которому установка принята в эксплуатацию |
|
|
выключен |
включен |
||||||||||
Форма 7
Журнал
контроля и учета состояния оболочек кабеля
|
Телефонный (кабельный) узел ________________________________________________ Тип кабеля, дата и способ его прокладки _______________________________________ Длина участка ______________________________________________________________ Измерения между пунктами __________________________________________________ Краткое описание грунта, в котором проложен кабель (характер, химический состав, рН, удельное сопротивление)__________________________________________________ |
|||||||||
|
№ пп. |
Дата измерения |
Номера измерительных пунктов |
Тип установленного защитного устройства |
Потенциал оболочки по отношению к земле (среднее значение), В |
Плотность тока утечки, мА/дм2 |
Ток в оболочке кабеля, А |
Проведенные мероприятия по результатам измерений |
Подпись работника, производившего записи в журнал |
Примечание |
ФОРМА 8
Журнал контроля работы протекторной установки
|
Адрес |
Количество протекторов в установке |
Тип протекторов |
Дата подключения установки |
Дата измерения |
Потенциал оболочки кабеля, В |
Ток в цепи протекторной установки, А |
Переходное сопротивление протекторной установки, Ом |
Сопротивление цепи протекторной установки, Ом |
Примечание |
|
|
до включения установки |
после включения установки |
|||||||||
ФОРМА 9
Паспорт протекторной установки
|
Адрес |
Дата подключения протекторной установки |
Количество протекторов |
Тип протекторов |
Состав заполнителя |
Глубина закопки протекторов, м |
Расстояния от протекторов до защищаемого сооружения, м |
Краткая характеристика грунта |
Примечание |
форма 10
|
Акт « » _____________________________19__г. Бригадой (ТЦУМС, ПТУС, МКУ и др.) в составе: ________________________________ ___________________________________________________________________________ составлен настоящий акт о вскрытии защитных покровов, визуальном осмотре брони и оболочки, электрических измерениях, проведенных на участке вскрытия кабеля ______ ___________________________________________________________________________ 1. Основания для вскрытия кабеля ___________________________________________ ___________________________________________________________________________ (остановка действия связей, пониженное электросопротивление ___________________________________________________________________________ изоляции, повышенный расход воздуха, профилактический осмотр) 2. Местоположение участка вскрытия НУП - НУП (ОУП и др.) __________________ _____________________________ расстояния ___________________________________ от муфты (колодца) ___________________ в сторону муфты (колодца) ______________ 3. Глубина закопки кабеля __________________________________________________ 4. Состояние грунта (кабельной канализации): _________________________________ а) тип грунта (кабельной канализации):____________________________________ б) влажность грунта (заводненность кабельной канализации): _________________ __________________________________________ (сухой, влажный, мокрый, грязь, вода) в) другие данные _______________________________________________________ ______________________________________________ (включения, однородность и пр.) 5. Состояние защитных покровов кабеля: а) наружный покров_____________________________________________________ (наличие мелового покрова, сплошность, плотность, прочность, влажность, ___________________________________________________________________________ прилипаемость к броне) б) броня ______________________________________________________________ (наличие сквозных проржавлений, язв, пятен, ржавчина на 1 и 2 - й лентах, оценка ___________________________________________________________________________ степени разрушения по площади) в) изолирующие покровы на оболочке _____________________________________ (тип изоляции, число слоев, ___________________________________________________________________________ сплошность, влажность, прилипаемость между слоями и к оболочке, особые наблюдения) г) подклеивающий слой _________________________________________________ (сплошность, вязкость и пр.) д) места припайки соединительных проводов ______________________________ 6. Состояние оболочки кабеля: а) наличие коррозионных повреждений оболочки ____________________(да, нет) б) вид коррозии ________________________________________________________ (общий вид оболочки, цвет, наличие продуктов, расположение ___________________________________________________________________________ сплошное, пятнами, язвами, точками, цвет продуктов, в месте повреждения, выпуклость, ___________________________________________________________________________ впадина, площадь повреждения, другие наблюдения) в) сосредоточение коррозионных повреждений _____________________________ (вверху, внизу, вблизи от точки вскрытия, ___________________________________________________________________________ вдали от точки вскрытия, количество язв, пятен, точек, на 100 - миллиметровом отрезке оболочки) 7. Электрические измерения при включенных и выключенных защитных средствах: а) потенциалы брони, оболочки, кабеля по отношению к медносульфатному электроду сравнения ________________________________________________________ б) величина токов в защитных устройствах _________________________________ 8. Измерения производились приборами _____________________________________ 9. Осмотр и измерение производили: ________________________________________ |
Форма 11
|
Протокол Дата ____________ 19__г. Кабельная магистраль _________ ТЦУМС _________ ТУСМ _________ КУ ________ Место измерения (НУП, ОУП и т.д.) _________________________________________ Тип и номер прибора: для измерения потенциала для измерения удельного гальванокоррозии________________________ сопротивления грунта________________ |
||||||||||
|
№ пп. |
Место измерения |
Рельеф местности |
Тип грунта |
Расстояние а между электродами, м |
Шаг наблюдений, lш м |
Потенциал гальванокоррозии DUк, мВ |
Плотность тока гальванокоррозии Jг.к., мА/м2 |
Удельное сопротивление грунта |
Примечание |
|
|
Показания прибора r, Ом |
rг Ом×м |
|||||||||
Измерения провел: _____________Результаты измерений обработал:______________
ТАБЛИЦА П2.1
Продольное сопротивление оболочек и брони некоторых типов междугородных, городских и соединительных кабелей связи
|
Сопротивление металлической оболочки и брони, Ом/км |
Сопротивление металлической оболочки, Ом/км |
Сопротивление брони, Ом/км |
|
|
МКСАШп 1´4 |
0,92 |
0,92 |
- |
|
МКСГ 1´4 |
6,04 |
6,04 |
- |
|
МКСАБпГ 1´4 |
0,88 |
0,92 |
22,84 |
|
МКСБ 1´4 |
4,88 |
6,65 |
18,33 |
|
МКСАШп 4´4 |
0,52 |
0,52 |
- |
|
МКСГ 4´4 |
2,9 |
2,9 |
- |
|
МКССтШп 4´4 |
1,94 |
1,94 |
- |
|
МКСАБп 4´4 |
0,48 |
0,52 |
6,83 |
|
МКСБ 4´4 |
2,12 |
3,28 |
6,03 |
|
МКСБл 4´4 |
2,16 |
3,28 |
6,35 |
|
МКСК 4´4 |
0,4 |
2,05 |
0,49 |
|
МКСАШп 7´4 |
0,36 |
0,36 |
- |
|
МКСГ 7´4 |
1,96 |
1,96 |
- |
|
МКССтШп 7´4 |
1,52 |
1,52 |
- |
|
МКСАБп 7´4 |
0,35 |
0,36 |
8,26 |
|
МКСБ 7´4 |
1,83 |
2,44 |
7,26 |
|
МКСБл 7´4 |
1,85 |
2,44 |
7,61 |
|
МКСК 7´4 |
0,34 |
1,53 |
0,44 |
|
МКТАШп - 4 |
0,40 |
0,40 |
- |
|
МКТС - 4 |
2,46 |
2,46 |
- |
|
МКТАБп - 4 |
0,39 |
0,40 |
9,91 |
|
МКТСБ - 4 |
2,2 |
3,0 |
8,2 |
|
МКТСБл - 4 |
2,22 |
3,0 |
8,55 |
|
КМАШп - 4 |
0,20 |
0,20 |
- |
|
КМГ - 4 |
1,3 |
1,3 |
- |
|
КМАБп - 4 |
0,195 |
0,20 |
6,98 |
|
КМБ - 4 |
1,21 |
1,57 |
5,34 |
|
КМБл - 4 |
1,22 |
1,57 |
5,49 |
|
КМК - 4 |
0,29 |
1,09 |
0,39 |
|
КМЭБ - 4 |
0,2 |
0,21 |
6,67 |
|
КМГ - 8/6 |
0,66 |
0,66 |
- |
|
КМБ - 8/6 |
0,68 |
0,77 |
6,32 |
|
КМК - 8/6 |
0,19 |
0,61 |
0,28 |
|
ТЗБ 3´4´1,2 |
3,05 |
4,84 |
8,27 |
|
ТЗБ 4´4´1,2 |
2,88 |
4,26 |
8,90 |
|
ТЗБ 7´4´1,2 |
2,12 |
3,42 |
5,55 |
|
ТЗБ 12´4´1,2 |
1,81 |
2,38 |
7,60 |
|
ТЗБ 14´4´1,2 |
1,71 |
2,20 |
7,93 |
|
ТЗБ 19´4´1,2 |
1,41 |
1,92 |
5,29 |
|
ТЗБ 27´4´1,2 |
1,15 |
1,41 |
6,23 |
|
ТЗБ 37´4´1,2 |
0,86 |
1,10 |
3,89 |
|
ТЗБ 52´4´1,2 |
0,62 |
0,80 |
2,80 |
|
ТЗБ 61´4´1,2 |
0,57 |
0,71 |
2,97 |
|
ТБ 10´2´0,5 |
5,14 |
7,51 |
16,28 |
|
ТБ 20´2´0,5 |
3,45 |
6,69 |
7,13 |
|
ТБ 30´2´0,5 |
2,72 |
5,04 |
5,91 |
|
ТБ 50´2´0,5 |
2,22 |
3,92 |
5,10 |
|
ТБ 100´2´0,5 |
1,62 |
2,72 |
3,98 |
|
ТБ 150´2´0,5 |
1,50 |
2,21 |
4,71 |
|
ТБ 200´2´0,5 |
1,38 |
1,87 |
5,25 |
|
ТБ 300´2´0,5 |
0,94 |
1,27 |
3,56 |
|
ТБ 400´2´0,5 |
0,71 |
1,00 |
2,46 |
|
ТБ 500´2´0,5 |
0,62 |
0,80 |
2,73 |
|
ТБ 600´2´0,5 |
0,57 |
0,71 |
2,94 |
|
ТГ 10´2´0,5 |
- |
7,24 |
- |
|
ТГ 20´2´0,5 |
- |
5,64 |
- |
|
ТГ 30´2´0,5 |
- |
4,56 |
- |
|
ТГ 50´2´0,5 |
- |
3,49 |
- |
|
ТГ 100´2´0,5 |
- |
2,34 |
- |
|
ТГ 150´2´0,5 |
- |
1,80 |
- |
|
ТГ 200´2´0,5 |
- |
1,50 |
- |
|
ТГ 300´2´0,5 |
- |
1,05 |
- |
|
ТГ 400´2´0,5 |
- |
0,85 |
- |
|
ТГ 500´2´0,5 |
- |
0,69 |
- |
|
ТГ 600´2´0,5 |
- |
0,62 |
- |
|
ТГ 700´2´0,5 |
- |
0,51 |
- |
|
ТГ 800´2´0,5 |
- |
0,47 |
- |
|
ТГ 900´2´0,5 |
- |
0,43 |
- |
|
ТГ 1000´2´0,5 |
- |
0,38 |
- |
|
ТГ 1200´2´0,5 |
- |
0,35 |
- |
ТАБЛИЦА П2.2
Толщина алюминиевых оболочек, мм (ГОСТ 14099-77)
|
Прессованные оболочки |
Сварные оболочки |
|||||||
|
гладкие |
гофрированные |
гладкие |
гофрированные |
|||||
|
минимальная |
номинальная |
минимальная |
номинальная |
минимальная |
номинальная |
минимальная |
номинальная |
|
|
До 12,5 |
0,90 |
1,10 |
- |
- |
0,72 |
0,80 |
- |
- |
|
Свыше 12,5 до 15,0 |
0,90 |
1,10 |
- |
- |
0,90 |
1,00 |
- |
- |
|
» 15,0 » 17,5 |
0,95 |
1,15 |
- |
- |
0,90 |
1,00 |
- |
- |
|
» 17,5 » 20,0 |
0,0 |
1,20 |
- |
- |
1,00 |
1,10 |
- |
- |
|
» 20,0 » 22,5 |
0,5 |
1,30 |
- |
- |
1,00 |
1,10 |
0,65 |
0,70 |
|
» 22,5 » 25,0 |
0,5 |
1,30 |
- |
- |
1,10 |
1,20 |
0,72 |
0,80 |
|
» 25,0 » 27,5 |
1,0 |
1,35 |
- |
- |
- |
- |
0,72 |
0,80 |
|
» 27,5 » 30,0 |
1,5 |
1,40 |
- |
- |
- |
- |
0,82 |
0,90 |
|
» 30,0 » 32,5 |
2,0 |
1,45 |
- |
- |
- |
- |
0,82 |
0,90 |
|
» 32,5 » 35,0 |
2,5 |
1,50 |
- |
- |
- |
- |
0,32 |
0,90 |
|
» 35,0 » 37,5 |
3,0 |
1,55 |
1,10 |
1,35 |
- |
- |
- |
- |
|
» 37,5 » 40,0 |
3,5 |
1,65 |
1,15 |
1,40 |
- |
- |
- |
- |
|
Свыше 40,0 до 42,5 |
4,5 |
1,75 |
1,20 |
1,50 |
- |
- |
- |
- |
|
» 42,5 » 45,0 |
5,0 |
1,80 |
1,25 |
1,55 |
- |
- |
- |
- |
|
» 45,0 » 47,5 |
5,5 |
1,85 |
1,30 |
1,60 |
- |
- |
- |
- |
|
» 47,5 » 50,0 |
6,0 |
1,90 |
1,30 |
1,60 |
- |
- |
- |
- |
|
» 50,0 » 52,0 |
6,5 |
1,95 |
1,35 |
1,65 |
- |
- |
- |
- |
|
» 52,5 » 55,0 |
7,0 |
2,00 |
1,40 |
1,70 |
- |
- |
- |
- |
|
» 55,0 » 57,5 |
7,0 |
2,00 |
1,40 |
1,70 |
- |
- |
- |
- |
|
» 57,5 » 60,0 |
7,0 |
2,00 |
1,40 |
1,70 |
- |
- |
- |
- |
ТАБЛИЦА П2.3
Номинальная толщина свинцовых оболочек, мм (ГОСТ 9358-75)
|
С ленточной и плоскопроволочной броней |
Без защитных покровов |
С руглопроволочной броней |
|
|
До 10 |
1,15 |
1,20 |
1,45 |
|
Свыше 10,0 до 12,5 |
1,15 |
1,25 |
1,45 |
|
» 12,5 » 15,0 |
1,18 |
1,30 |
1,46 |
|
» 15,0 » 17,5 |
1,21 |
1,35 |
1,46 |
|
» 17,5 » 20,0 |
1,24 |
1,42 |
1,53 |
|
» 20,0 » 22,5 |
1,27 |
1,49 |
1,60 |
|
» 22,5 » 25,0 |
1,30 |
1,56 |
1,67 |
|
» 25,0 » 27,5 |
1,35 |
1,63 |
1,74 |
|
» 27,5 » 30,0 |
1,40 |
1,70 |
1,81 |
|
» 30,0 » 32,5 |
1,49 |
1,79 |
1,90 |
|
» 32,5 » 35,0 |
1,58 |
1,88 |
2,00 |
|
» 35,0 » 37,5 |
1,67 |
1,97 |
2,09 |
|
» 37,5 » 40,0 |
1,77 |
2,06 |
2,18 |
|
» 40,0 » 42,5 |
1,86 |
2,15 |
2,27 |
|
» 42,5 » 45,0 |
1,95 |
2,25 |
2,36 |
|
» 45,0 » 47,5 |
2,04 |
2,35 |
2,45 |
|
» 47,5 » 50,0 |
2,14 |
2,45 |
2,55 |
|
» 50,0 » 52,5 |
2,23 |
2,55 |
2,65 |
|
» 52,5 » 55,0 |
2,32 |
2,65 |
2,75 |
|
» 55,0 » 57,5 |
2,41 |
2,75 |
2,85 |
|
» 57,5 » 60,0 |
2,51 |
2,85 |
2,95 |
|
» 60,0 » |
2,60 |
2,95 |
3,05 |
ТАБЛИЦА П2.4
Расчетные данные сопротивления растеканию анодного заземления из вертикальных электродов ЗКА-140 или АК-1 в коксовой упаковке при расстоянии между электродами 4,5 м
|
Число соединительных электродов |
Длина траншей, м |
Длина соединительного провода, м |
Сопротивление растеканию заземления Rв Ом, при удельном сопротивлении грунта rг Ом м |
|||||||||
|
10 |
20 |
30 |
40 |
50 |
60 |
70 |
80 |
90 |
100 |
|||
|
5 |
21 |
63 |
0,77 |
1,54 |
2,31 |
3,08 |
3,85 |
4,62 |
5,39 |
6,16 |
6,97 |
7,70 |
|
6 |
26 |
73 |
0,65 |
1,30 |
1,95 |
2,60 |
3,25 |
3,90 |
4,55 |
5,20 |
5,85 |
6,50 |
|
7 |
30 |
81 |
0,56 |
1,12 |
1,68 |
2,24 |
2,80 |
3,36 |
3,92 |
4,48 |
5,04 |
5,60 |
|
8 |
35 |
90 |
0,50 |
1,00 |
1,50 |
2,00 |
2,50 |
3,00 |
3,50 |
4,00 |
4,50 |
5,00 |
|
9 |
39 |
100 |
0,45 |
0,90 |
1,35 |
1,80 |
2,25 |
2,70 |
3,15 |
3,60 |
4,05 |
4,50 |
|
10 |
44 |
109 |
0,41 |
0,82 |
1,23 |
1,64 |
2,05 |
2,46 |
2,87 |
3,28 |
3,69 |
4,10 |
|
15 |
66 |
150 |
0,28 |
0,56 |
0,84 |
1,12 |
1,40 |
1,68 |
1,96 |
2,24 |
2,52 |
2,80 |
|
20 |
89 |
175 |
0,22 |
0,43 |
0,65 |
0,86 |
1,08 |
1,29 |
1,51 |
1,72 |
1,94 |
2,15 |
|
25 |
111 |
215 |
0,18 |
0,35 |
0,53 |
0,70 |
0,88 |
1,05 |
1,23 |
1,40 |
1,58 |
1,75 |
ТАБЛИЦА П2.5
Расчетные данные сопротивления растеканию однородного анодного заземления из горизонтальных электродов ЗКА-140 или АК-1 в коксовой упаковке при расстоянии между электродами 4,5 м
|
Длина траншеи, м |
Длина соединительного провода, м |
Сопротивление растеканию заземления Rг Ом, при удельном сопротивлении грунта rг, Ом м |
||||||||||
|
10 |
20 |
30 |
40 |
50 |
60 |
70 |
80 |
90 |
100 |
|||
|
5 |
23,0 |
58 |
0,85 |
1,72 |
2,58 |
3,44 |
4,30 |
5,16 |
6,02 |
6,88 |
7,74 |
8,60 |
|
6 |
27,5 |
67 |
0,73 |
1,46 |
2,19 |
2,92 |
3,65 |
4,38 |
5,11 |
5,84 |
6,57 |
7,30 |
|
7 |
32,0 |
76 |
0,63 |
1,26 |
1,89 |
2,52 |
3,15 |
3,78 |
4,41 |
5,04 |
5,67 |
6,30 |
|
8 |
36,5 |
85 |
0,55 |
1,10 |
1,65 |
2,20 |
2,75 |
3,30 |
3,85 |
4,40 |
4,95 |
5,50 |
|
9 |
41,0 |
94 |
0,50 |
1,00 |
1,50 |
2,00 |
2,50 |
3,00 |
3,50 |
4,00 |
4,50 |
5,00 |
|
10 |
45,5 |
103 |
0,46 |
0,92 |
1,38 |
1,84 |
2,30 |
2,75 |
3,32 |
3,58 |
4,14 |
4,60 |
|
15 |
58,0 |
148 |
0,32 |
0,64 |
0,96 |
1,28 |
1,60 |
1,92 |
2,24 |
2,56 |
2,88 |
3,20 |
|
20 |
90,5 |
193 |
0,24 |
0,18 |
0,72 |
0,96 |
1,20 |
1,44 |
1,68 |
1,92 |
2,16 |
2,40 |
|
25 |
113,0 |
238 |
0,20 |
0,40 |
0,60 |
0,80 |
1,00 |
1,20 |
1,40 |
1,60 |
1,80 |
2,00 |
|
30 |
135,5 |
283 |
0,17 |
0,34 |
0,51 |
0,68 |
0,85 |
1,02 |
1,19 |
1,36 |
1,53 |
1,70 |
|
35 |
158,0 |
328 |
0,15 |
0,29 |
0,44 |
0,58 |
0,73 |
0,87 |
1,02 |
1,15 |
1,31 |
1,45 |
ТАБЛИЦА П2.6
Расчетные данные комбинированного анодного заземления с вертикальными и горизонтальными электродами из уголка 40´40´4 мм с коксовым активатором
|
Анодное заземление |
Масса кокосовой мелочи |
Сопротивление растеканию заземления R Ом, при удельном сопротивлении грунта rг Ом×м |
|
|||||||||||
|
Число электродов из уголков 40´40´4 мм |
Длина полосовой стали (40´4 мм), м |
Масса заземлителя, кг |
||||||||||||
|
10 |
20 |
30 |
40 |
50 |
60 |
70 |
80 |
90 |
100 |
|
||||
|
2 |
5 |
6 |
272 |
1,50 |
3,00 |
4,50 |
6,00 |
7,50 |
9,00 |
10,50 |
17,00 |
13,50 |
15,00 |
|
|
3 |
10 |
13 |
520 |
0,97 |
1,94 |
2,91 |
3,88 |
4,85 |
5,82 |
5,79 |
7,76 |
8,73 |
9,70 |
|
|
4 |
15 |
19 |
776 |
0,73 |
1,46 |
2,19 |
2,92 |
3,65 |
4,38 |
5,11 |
5,84 |
6,57 |
7,30 |
|
|
5 |
20 |
25 |
1024 |
0,60 |
1,20 |
1,80 |
2,40 |
3,00 |
3,60 |
4,20 |
4,80 |
5.40 |
6,00 |
|
|
6 |
25 |
32 |
1212 |
0,51 |
1,02 |
1,53 |
2,04 |
2,55 |
3,06 |
3,57 |
4,08 |
4,59 |
5,10 |
|
|
7 |
30 |
38 |
1528 |
0,44 |
0,88 |
1,32 |
1,76 |
2,20 |
2,64 |
3,08 |
3,52 |
3,96 |
4,40 |
|
|
8 |
35 |
44 |
1776 |
0,39 |
0,78 |
1,17 |
1,56 |
1,95 |
2,34 |
2,73 |
3,12 |
3,51 |
3,90 |
|
|
9 |
40 |
50 |
2024 |
0,35 |
0,70 |
1,05 |
1,40 |
1,75 |
2,10 |
2,45 |
2,80 |
3,15 |
3,50 |
|
|
10 |
45 |
57 |
2272 |
0,32 |
0,64 |
0,96 |
1,28 |
1,60 |
1,92 |
2,24 |
2,56 |
2,88 |
3,20 |
|
|
11 |
50 |
63 |
2528 |
0,30 |
0,60 |
0,90 |
1,20 |
1,50 |
1,80 |
2,10 |
2,40 |
2,70 |
3,00 |
|
|
12 |
55 |
70 |
2776 |
0,28 |
0,56 |
0,84 |
1,12 |
1,40 |
1,68 |
1,96 |
2,24 |
2,52 |
2,80 |
|
|
13 |
60 |
76 |
3024 |
0,26 |
0,52 |
0,78 |
1,04 |
1,30 |
1,56 |
1,82 |
2,08 |
2,34 |
2,60 |
|
|
14 |
65 |
82 |
3280 |
0,24 |
0,48 |
0,72 |
0,96 |
1,20 |
1,44 |
1,68 |
1,92 |
2,16 |
2,40 |
|
|
15 |
70 |
88 |
3528 |
0,23 |
0,46 |
0,69 |
0,92 |
1,15 |
1,38 |
1,61 |
1,84 |
2,07 |
2,30 |
|
|
17 |
80 |
95 |
4032 |
0,20 |
0,40 |
0,60 |
0,80 |
1,00 |
1,20 |
1,40 |
1,60 |
1,80 |
2,00 |
|
|
19 |
90 |
101 |
4550 |
0,19 |
0,38 |
0,57 |
0,76 |
0,95 |
1,14 |
1,33 |
1,52 |
1,71 |
1,90 |
|
|
21 |
100 |
107 |
5000 |
0,17 |
0,34 |
0,51 |
0,68 |
0,85 |
1,02 |
1,19 |
1,36 |
1,53 |
1,70 |
|
ТАБЛИЦА П2.7
Расчетные данные комбинированного анодного заземления с вертикальными и горизонтальными электродами из уголка 80´80´8 мм
|
Число электродов из уголков 80´80´8 мм (длиной 3 м) |
Длина соединительной стальной полосы 60´6 мм |
Общая масса, кг |
Сопротивление растеканию заземления R Ом, при удельном сопротивлении грунта rг Ом×м |
||||||||||||||
|
10 |
20 |
30 |
40 |
50 |
60 |
70 |
80 |
90 |
100 |
110 |
120 |
130 |
140 |
150 |
|||
|
3 |
15 |
172 |
0,64 |
1,27 |
1,91 |
2,55 |
3,13 |
3,82 |
4,46 |
5,10 |
5,74 |
6,38 |
7,01 |
7,74 |
8,29 |
8,93 |
9,56 |
|
4 |
20 |
229 |
0,54 |
1,07 |
1,60 |
2,15 |
2,68 |
3,22 |
3,75 |
4,29 |
4,82 |
5,36 |
5,90 |
6,44 |
6,97 |
7,43 |
8,04 |
|
5 |
25 |
290 |
0,46 |
0,92 |
1,38 |
1,84 |
2,31 |
2,77 |
3,23 |
3,69 |
4,15 |
4,63 |
5,10 |
5,53 |
5,99 |
6,45 |
6,92 |
|
6 |
30 |
344 |
0,40 |
0,81 |
1,21 |
1,61 |
2,02 |
2,42 |
2,82 |
3,23 |
3,63 |
4,04 |
4,45 |
4,84 |
5,25 |
5,65 |
6,05 |
|
7 |
35 |
401 |
0,36 |
0,75 |
1,08 |
1,45 |
1,81 |
2,17 |
2,53 |
2,89 |
3,26 |
3,62 |
3,98 |
4,34 |
4,70 |
5,07 |
5,42 |
|
8 |
40 |
458 |
9,33 |
0,65 |
0.98 |
1,30 |
1,63 |
2,14 |
2,28 |
2,60 |
2,92 |
3,25 |
3,58 |
3,96 |
4,23 |
4,55 |
4,88 |
|
9 |
45 |
516 |
0,29 |
0,59 |
0,88 |
1,18 |
1,48 |
1,77 |
2,07 |
2,37 |
2,67 |
2,91 |
3,26 |
3,55 |
3,85 |
4,11 |
4,44 |
|
10 |
50 |
573 |
0,27 |
0,55 |
0,82 |
1,09 |
1,36 |
1,60 |
1,99 |
2,19 |
2,46 |
2,70 |
3,00 |
3,27 |
3,55 |
3,82 |
4,09 |
|
11 |
55 |
630 |
0,25 |
0,50 |
0,75 |
1,01 |
1,27 |
1,52 |
1,76 |
2,03 |
2,28 |
2,53 |
2,78 |
3,02 |
3,28 |
3,38 |
3,80 |
|
12 |
60 |
637 |
0,24 |
0,47 |
0,70 |
0,95 |
1,18 |
1,42 |
1,66 |
1,89 |
2,13 |
2,37 |
2,60 |
2,85 |
3,08 |
3,31 |
3,55 |
|
13 |
65 |
745 |
0,22 |
0,44 |
0,67 |
0,88 |
1,11 |
1,34 |
1,56 |
1,78 |
2,00 |
2,22 |
2,44 |
2,67 |
2,89 |
3,11 |
3,34 |
|
14 |
70 |
801 |
0,21 |
0,42 |
0,65 |
0,84 |
1,05 |
1,26 |
1,55 |
1,68 |
1,89 |
2,11 |
2,32 |
2,52 |
2,77 |
2,94 |
3,15 |
|
15 |
75 |
860 |
0,20 |
0,40 |
0,60 |
0,80 |
1,00 |
1,20 |
1,40 |
1,60 |
1,80 |
2,00 |
2,20 |
2,40 |
2,60 |
2,80 |
3,00 |
|
16 |
80 |
917 |
0,19 |
0,38 |
0,57 |
0,76 |
0,95 |
1,14 |
1,34 |
1,53 |
1,72 |
1,91 |
2,10 |
2,28 |
2,48 |
2,67 |
2,86 |
|
17 |
85 |
974 |
0,18 |
0,36 |
0,54 |
0,72 |
0,91 |
1,08 |
1,26 |
1,44 |
1,62 |
1,81 |
1,99 |
2,16 |
2,35 |
2,52 |
2,70 |
|
18 |
90 |
1031 |
0,17 |
0,34 |
0,51 |
0,68 |
0,86 |
1,03 |
1,21 |
1,38 |
1,55 |
1,73 |
1,90 |
2,03 |
2,23 |
2,42 |
2,60 |
|
19 |
95 |
1088 |
0,16 |
0,33 |
0,50 |
0,66 |
0,82 |
1,00 |
1,16 |
1,33 |
1,50 |
1,66 |
1,83 |
2,00 |
2,17 |
2,31 |
2,50 |
|
20 |
100 |
1146 |
0,16 |
0,32 |
0,48 |
0,61 |
0,80 |
0,96 |
1,12 |
1,28 |
1,45 |
1,61 |
1,77 |
1,93 |
2,09 |
2,25 |
2,41 |
|
21 |
105 |
1202 |
0,15 |
0,31 |
0,46 |
0,61 |
0,77 |
0,92 |
1,07 |
1,23 |
1,38 |
1,53 |
1,69 |
1,84 |
1,97 |
2,15 |
2,30 |
|
22 |
110 |
1260 |
0,14 |
0,29 |
0,44 |
0,58 |
0,73 |
0,88 |
1,02 |
1,17 |
1,32 |
1,47 |
1,61 |
1,76 |
1,91 |
2,05 |
2,20 |
|
23 |
115 |
1317 |
0,14 |
0,28 |
0,42 |
0,57 |
0,71 |
0,85 |
1,00 |
1,14 |
1,28 |
1,42 |
1,57 |
1,69 |
1,85 |
2.00 |
2,10 |
|
24 |
120 |
1374 |
0,13 |
0,27 |
0,41 |
0,55 |
0,68 |
0,82 |
0,96 |
1,09 |
1,23 |
1,37 |
1,50 |
1,64 |
1,78 |
1,92 |
2,01 |
|
25 |
125 |
1432 |
0,13 |
0,26 |
0,39 |
0,53 |
0,66 |
0,79 |
0,92 |
1,05 |
1,19 |
1,32 |
1,45 |
1,58 |
1,73 |
1,84 |
1,98 |
|
26 |
130 |
1490 |
0,13 |
0,25 |
0,38 |
0,50 |
0,61 |
0,76 |
0,88 |
1,01 |
1,15 |
1,26 |
1,39 |
1,52 |
1,64 |
1,77 |
1,90 |
|
27 |
135 |
1507 |
0,12 |
0,24 |
0,36 |
0,48 |
0,61 |
0,73 |
0,85 |
0,97 |
1,10 |
1,22 |
1,34 |
1,46 |
1,58 |
1,71 |
1,83 |
|
28 |
140 |
1643 |
0,12 |
0,23 |
0,35 |
0,47 |
0,59 |
0,70 |
0,82 |
0,94 |
1,06 |
1,18 |
1,27 |
1,41 |
1,55 |
1,69 |
1,77 |
|
29 |
145 |
1661 |
0,11 |
0,23 |
0,34 |
0,46 |
0,57 |
0,69 |
0,81 |
0,92 |
1,04 |
1,15 |
1,27 |
1,39 |
1,50 |
1,62 |
1,73 |
|
30 |
150 |
1719 |
0,11 |
0,22 |
0,33 |
0,44 |
0,56 |
0,67 |
0,72 |
0,89 |
1,00 |
1,12 |
1,23 |
1,34 |
1,45 |
1,56 |
1,68 |
ТАБЛИЦА П2.8
Расчетные данные комбинированного анодного заземления с вертикальными и горизонтальными электродами из уголка 40´40´4 мм с коксовым активатором
|
Число вертикальных электродов |
Общая длина, м |
Общая масса, кг |
Сопротивление растеканию заземления R Ом, при удельном сопротивлении грунта rг Ом×м |
||||||||||||
|
Электродов |
соединительной магистрали |
электродов и соединительной магистрали |
электродов и соединительной магистрали |
кокса |
10 |
20 |
30 |
40 |
50 |
60 |
70 |
80 |
90 |
100 |
|
|
2 |
5 |
5 |
10 |
24 |
500 |
0,67 |
1,34 |
2,01 |
2,68 |
3,35 |
4,02 |
4,68 |
5,36 |
6,03 |
6,70 |
|
3 |
7,5 |
10 |
17,5 |
42 |
875 |
0,46 |
0,88 |
1,34 |
1,78 |
2,22 |
2,68 |
3,12 |
3,62 |
4,02 |
4,46 |
|
4 |
10 |
15 |
25 |
60 |
1250 |
0,34 |
0,67 |
1,01 |
1,34 |
1,00 |
2,01 |
2,35 |
2,68 |
2,97 |
3,35 |
|
5 |
12,5 |
20 |
32,5 |
79 |
1625 |
0,29 |
0,54 |
0,80 |
1,07 |
1,34 |
1,61 |
1,88 |
2,14 |
2,41 |
2,68 |
|
6 |
15 |
30 |
45 |
109 |
2250 |
0,23 |
0,44 |
0,67 |
0,88 |
1,12 |
1,34 |
1,55 |
1,78 |
2,01 |
2,28 |
|
7 |
17,5 |
35 |
52,5 |
127 |
2625 |
0,19 |
0,37 |
0,58 |
0,76 |
0,95 |
1,19 |
1,34 |
1,53 |
1,74 |
1,92 |
|
8 |
20 |
40 |
60 |
145 |
3000 |
0,17 |
0,34 |
0,50 |
0,67 |
0,83 |
1,01 |
1,17 |
1,14 |
1,50 |
1,68 |
|
9 |
22,5 |
45 |
67,5 |
163 |
3375 |
0,15 |
0,29 |
0,44 |
0,54 |
0,74 |
0,88 |
1,07 |
1,10 |
1,34 |
1,49 |
|
10 |
25 |
50 |
75 |
182 |
3750 |
0,13 |
0,27 |
0,40 |
0,53 |
0,67 |
0,80 |
0,94 |
1,07 |
1,21 |
1,34 |
|
11 |
27,5 |
55 |
82,5 |
200 |
4125 |
0,12 |
0,24 |
0,36 |
0,48 |
0,60 |
0,74 |
0,88 |
0,96 |
1,09 |
1,20 |
|
12 |
30 |
60 |
90 |
118 |
4500 |
0,11 |
0,22 |
0,34 |
0,44 |
0,56 |
0,67 |
0,78 |
0,88 |
1,01 |
1,11 |
|
13 |
32,5 |
65 |
97,5 |
236 |
4875 |
0,10 |
0,20 |
0,31 |
0,40 |
0,51 |
0,62 |
0,72 |
0,82 |
0,94 |
1,07 |
|
14 |
35 |
70 |
110 |
266 |
5500 |
0,10 |
0,19 |
0,28 |
0,38 |
0,48 |
0,58 |
0,67 |
0,76 |
0,86 |
0,94 |
|
15 |
37,5 |
80 |
117,5 |
284 |
5875 |
0,09 |
0,17 |
0,27 |
0,35 |
0,44 |
0,54 |
0,62 |
0,71 |
0,80 |
0,94 |
|
16 |
40 |
85 |
125 |
303 |
6250 |
0,09 |
0,15 |
0,25 |
0,35 |
0,42 |
0,50 |
0,54 |
0,67 |
0,75 |
0,80 |
|
17 |
42,5 |
90 |
132,5 |
321 |
6625 |
0,08 |
0,15 |
0,24 |
0,31 |
0,38 |
0,50 |
0,54 |
0,67 |
0,71 |
0,80 |
|
18 |
45 |
95 |
140 |
339 |
7000 |
0,07 |
0,15 |
0,21 |
0,28 |
0,36 |
0,44 |
0,54 |
0,59 |
0,67 |
0,74 |
|
19 |
47,5 |
100 |
147,5 |
357 |
7375 |
0,07 |
0,14 |
0,21 |
0,28 |
0,35 |
0,42 |
0,50 |
0,56 |
0,63 |
0,69 |
|
20 |
50 |
105 |
155 |
375 |
7750 |
0,07 |
0,13 |
0,20 |
0,27 |
0,34 |
0,40 |
0,47 |
0,54 |
0,60 |
0,67 |
|
30 |
75 |
165 |
240 |
580 |
12000 |
0,04 |
0,09 |
0,13 |
0,17 |
0,23 |
0,27 |
0,31 |
0,35 |
0,40 |
0,44 |
|
40 |
100 |
225 |
325 |
785 |
16250 |
0,03 |
0,07 |
0,10 |
0,13 |
0,17 |
0,20 |
0,23 |
0,27 |
0,29 |
0,34 |
|
Число вертикальных электродов |
Сопротивление растеканию заземления Rг Ом, при удельном сопротивлении грунта rг Ом×м |
|||||||||||||||
|
110 |
120 |
130 |
140 |
150 |
160 |
170 |
180 |
190 |
200 |
250 |
300 |
350 |
400 |
450 |
500 |
|
|
2 |
7,37 |
8,04 |
8,71 |
9,38 |
10,05 |
10,72 |
11,39 |
12,06 |
12,73 |
13,40 |
16,75 |
20,10 |
23,45 |
20,80 |
30,15 |
33,50 |
|
3 |
4,92 |
5,36 |
5,81 |
6,25 |
6,70 |
7,15 |
7,59 |
8,04 |
8,49 |
8,92 |
11,16 |
13,40 |
15,68 |
17,86 |
20,10 |
22,32 |
|
4 |
3,69 |
4,02 |
4,36 |
4,59 |
5,25 |
5,36 |
5,70 |
6,03 |
6,37 |
6,70 |
8,38 |
10,05 |
11,73 |
13,40 |
15,08 |
16,75 |
|
5 |
2,95 |
3,22 |
3,48 |
3,75 |
4,02 |
4,29 |
4,56 |
4,82 |
5,09 |
5,36 |
6,70 |
8,04 |
9,38 |
10,22 |
12,06 |
13,40 |
|
6 |
2,46 |
2,68 |
2,90 |
3,13 |
3,40 |
3,57 |
3,50 |
4,02 |
4,24 |
4,47 |
5,58 |
6,76 |
7,82 |
8,98 |
10,03 |
11,10 |
|
7 |
2,11 |
2,30 |
2,49 |
2,68 |
2,87 |
3,06 |
3,25 |
3,45 |
3,64 |
3,83 |
4,78 |
5,76 |
6,70 |
7,68 |
8,62 |
9,57 |
|
8 |
1,84 |
2,01 |
2,18 |
2,34 |
2,51 |
2,68 |
2,85 |
3,02 |
3,18 |
3,35 |
4,19 |
5,03 |
5,86 |
6,71 |
7,54 |
8,38 |
|
9 |
1,64 |
1,79 |
1,93 |
2,09 |
2,23 |
2,38 |
2,53 |
2,68 |
2,83 |
2,97 |
3,72 |
4,46 |
5,23 |
5,95 |
6,70 |
7,44 |
|
10 |
1,47 |
1,61 |
1,74 |
1,88 |
2,01 |
2,14 |
2,28 |
2,41 |
2,55 |
2,68 |
3,35 |
4,02 |
4,65 |
5,36 |
6,03 |
6,70 |
|
11 |
1,34 |
1,46 |
1,58 |
1,71 |
1,80 |
1,95 |
2,07 |
2,19 |
2,33 |
2,44 |
3,05 |
3,64 |
4,26 |
4,84 |
5,49 |
6,08 |
|
12 |
1,23 |
1,34 |
1,45 |
1,58 |
1,67 |
1,79 |
1,90 |
2,01 |
2,02 |
2,22 |
2,79 |
3,33 |
3,89 |
4,44 |
5,03 |
5,59 |
|
13 |
1,13 |
1,24 |
1,34 |
1,44 |
1,58 |
1,65 |
1,85 |
1,85 |
1,96 |
2,06 |
2,53 |
3,13 |
3,62 |
4,20 |
4,64 |
5,10 |
|
14 |
1,06 |
1,15 |
1,24 |
1,34 |
1,42 |
1,53 |
1,76 |
1,78 |
1,82 |
1,92 |
2,41 |
2,80 |
3,35 |
3,80 |
4,31 |
4,78 |
|
15 |
0,98 |
1,07 |
1,10 |
1,25 |
1,38 |
1,43 |
1,52 |
1,61 |
1,70 |
1,78 |
2,24 |
2,72 |
3,12 |
3,66 |
4,02 |
4,46 |
|
16 |
0,92 |
1,01 |
1,09 |
1,17 |
1,22 |
1,34 |
1,41 |
1,51 |
1,59 |
1,68 |
2,01 |
2,48 |
2,93 |
3,28 |
3,77 |
4,08 |
|
17 |
0,87 |
0,95 |
1,03 |
1,10 |
1,18 |
1,26 |
1,34 |
1,42 |
1,50 |
1,58 |
1,97 |
2,38 |
2,76 |
3,18 |
3,54 |
4,02 |
|
18 |
0,82 |
0,89 |
0,97 |
1,03 |
1,10 |
1,19 |
1,26 |
1,34 |
1,44 |
1,49 |
1,86 |
2,23 |
2,60 |
2,97 |
3,35 |
3,71 |
|
19 |
0,75 |
0,85 |
0,92 |
0,99 |
1,04 |
1,13 |
1,20 |
1,27 |
1,34 |
1,41 |
1,76 |
2,10 |
2,41 |
2,79 |
3,18 |
3,52 |
|
20 |
0,74 |
0,80 |
0,87 |
0,94 |
1,01 |
1,07 |
1,14 |
1,21 |
1,27 |
1,34 |
1,68 |
2,01 |
2,35 |
2,68 |
3,02 |
3,75 |
|
30 |
0,48 |
0,53 |
0,57 |
0,61 |
0,67 |
0,71 |
0,76 |
0,80 |
0,85 |
0,88 |
1,11 |
1,32 |
1,34 |
1,76 |
1,98 |
2,20 |
|
40 |
0,37 |
0,41 |
0,44 |
0,47 |
0,51 |
0,54 |
0,57 |
0,50 |
0,64 |
0,67 |
0,84 |
1,00 |
1,17 |
1,36 |
1,53 |
1,70 |
(УТВЕРЖДЕН ПОСТАНОВЛЕНИЕМ СОВЕТА МИНИСТРОВ СССР 27 МАЯ 1971 ГОДА № 316)
18. Предприятиям связи предоставляется право сооружать воздушные, кабельные и радиорелейные линии связи и линии радиофикации, устанавливать приспособления, обеспечивающие их безопасную эксплуатацию (колодцы, люки, лестницы, ограждения), на всех земельных участках, в том числе в полосах отвода и запретных зонах, а также на крышах зданий, на железнодорожных мостах, в коллекторах, туннелях метрополитена и железных дорог, в чьем бы ведении или пользовании эти земельные участки, здания, мосты и туннели не находились (без взимания платы за пользование ими).
Порядок проведения указанных работ устанавливается предприятием связи по согласованию с землепользователем или владельцем сооружения.
Переустройство и перенос сооружений связи, вызываемые новым строительством, реконструкцией городов и отдельных зданий, переустройством дорог и мостов, производятся за счет капитальных вложений и материальных фондов предприятий, организаций и учреждений, осуществляющих основное строительство.
Работы по переустройству и переносу сооружений связи производятся предприятиями связи на договорных началах или предприятиями, организациями и учреждениями, осуществляющими основное строительство, по техническим условиям и под контролем предприятий связи.
20. Проекты на строительство новых и реконструкцию действующих линий электропередачи, автоблокировки, электросиловых устройств (электрифицированных железных дорог, трамваев, троллейбусов и др.), нефте- и газопроводов и других сооружений и устройств, которые могут создавать помехи нормальной работе средств электросвязи, должны разрабатываться с соблюдением технических требований на защиту средств электросвязи, находящихся в районе строительства или реконструкции, от опасных и мешающих влияний, создаваемых указанными сооружениями и устройствами, а также от электрокоррозии и согласовываться с владельцами этих средств связи.
Предприятия и организации, эксплуатирующие линии электропередачи, автоблокировку, электросиловые устройства, нефте- и газопроводы и другие сооружения и устройства, которые могут создавать помехи нормальной работе средств электросвязи, обязаны соблюдать правила защиты средств электросвязи от опасных и мешающих влияний, создаваемых указанными сооружениями и устройствами, а также от электрокоррозии и производить работы по защите этих средств связи своими силами и за счет своих средств.
Исходные данные. Объект защиты - комбинированный коаксиальный кабель КМБ - 8/6. Длина подлежащего электрохимической защите участка кабеля Lк = 5800 м.
Строительная длина кабеля Lк = 250 м.
Глубина прокладки кабеля h = 1,2 м.
Удельное электрическое сопротивление грунтов rг = 50 Ом×м.
Блуждающие токи в районе прокладки кабеля отсутствуют.
Определение электрических параметров. Продольное сопротивление кабеля rк = 0,68×10-3 Ом/м (см. табл. П2.1).
Переходное сопротивление кабеля Rnep определяется по формуле (3.8): Rпер=15rг. К расчету принимаем Rпер = 15,50 = 750 Ом×м. Входное сопротивление кабеля Rвх определяем по формуле (3.14):
;
×
Защитная плотность тока jз определяется по формуле (3.18):
jз = 1,25×(|jз.мин|-|j0|)/Rпер; jз = 1,25(0,85-0,55)/750 = 0,5×10-3 А/м.
Расчет протекторной защиты. Сила тока одиночного протектора Rпер определяется по формуле (3.19);
Iп = (|jз.мин|-|j0|)/(Rвх + Rп),
где Rп - сопротивление растеканию протектора.
Приняв к установке протектор ПМ5У, сопротивление растеканию протектора определяем по формуле (3.22):
Rп = Arг+B; Rп =0,56×50 +0,24 =28,24 Ом;
Iп = (1,6 - 0,85)/(0,36 + 28,24) = 0,0262 А.
Зона защиты одиночного протектора определяется по формуле (3.23):
lз = Iп/jз; lз = 0,262/0,5×10-3 = 52,4 м.
Поскольку lз < Lк, определяем возможность применения групповой протекторной защиты. Для этого по формуле (3.25) определяем число протекторов в групповой протекторной установке для одной строительной длины кабеля 1к =250 м:
;
![]()
К расчету принимается nг.п = 7 шт. Поскольку nг.п < 8, применение групповой протекторной защиты следует считать возможным.
Число групповых протекторных установок nг определяем по формуле (3.26):
nг = (Lк/lк) + 1; nг = (5800/250) + 1 = 24 шт.
Общее число протекторов пs определяем по формуле (3.27):
ns = nг.п× nг;
ns = 7×24 = 168 шт.
Срок службы групповой протекторной установки Тг.п определяем по формуле (3.28):
Тг.п = 6,5×10-2×Gп/Iп
Тг.п = 6,5×10-2×5/0,0262 = 12,4 года
КАТОДНАЯ ЗАЩИТА
1 Исходные данные. Объект защиты - двухкабельная магистраль симметричного семичетверочного кабеля МКСБ 7´4´1,2 длиной Lк =3100 м.
Строительная длина кабеля lк = 825 м.
Наружный диаметр кабеля Dк = 32,4 мм.
Глубина прокладки кабеля h = 1 м.
Удельное сопротивление грунтов rг = 10 Ом×м.
Определение электрических параметров. Продольное сопротивление оболочки и брони кабеля МКСБ 7х4х1,2 rк = 1,83×10-3 Ом/м (см. табл. П2.1). Эквивалентное продольное сопротивление двух кабелей rэкв определяется по формуле (3.6):
1/rэкв = 1/rк1 + 1/rк2,
где rк1 = rк2 - продольные сопротивления первого и второго кабелей:
.
Переходное сопротивление кабелей Rпep определяется по формуле (3.8):
Rпep = 15rг
К расчету принимаем Rпep = 15×10 = 150 Ом×м. Постоянная распространения тока вдоль каждого из кабелей a определяется по формуле (3.12):
;
.
Эквивалентное переходное сопротивление Rпер.экв двух кабелей определяется по формуле (3.11):
Rпер.экв = (Rпер + Rпер1-2)/2,
Rпер1-2 - взаимное переходное сопротивление между первым и вторым кабелями, определяемое по формуле (3.10):
;
;
Rпер.экв = (150+23,6)/2 = 86,8 Ом.
Эквивалентное значение постоянной распространения тока aэкв определяем по формуле (3.13):
;
.
Входное сопротивление двух кабелей Rвх.экв определяем по формуле (3.15):
;
.
Защитную плотность тока jз определяем по формуле (3.18):
jз = 1,25×(|jз.мин|-|j0|)/Rпер; jз = 1,25(0,85-0,55)/86,8 = 4,3×10-3 А/м.
Расчет катодной защиты. Силу тока катодной станции lк определяем по формуле (3.29):
,
где у - расстояние между кабелем и анодным заземлением.
К расчету принимается y = 100 м:
.
Длину защитной зоны катодной станции 1з определяем по формуле (3.30):
lз = Iк/jз; lз = 3,53/4,3×10-3 =821 м.
Поскольку 1з < Lк, нужно установить несколько катодных станций. Необходимое число катодных станций определяется по формуле (3.31):
nк = Lк/lз; nк = 3100/821 = 4 шт.
Напряжение на выходе катодной станции Uк определяется по формуле (3.32):
Uк = Iк×(Rвх.экв + Ra+ rдр),
где rдр - сопротивление дренажных проводов.
Поскольку для установки намечается использовать алюминиевый кабель сечением 16 мм2, а общая длина дренажных кабелей 1=200 м, то rдр = 0,028 ´ 200/16=0,35 Ом.
Сопротивление растеканию анодного заземления Ra определяется из неравенства (3.38):
Ra £ 3aэквRпер.экв; Ra £ 3×3,2×10-3×86,8,
(к расчету принимается Ra =1 Ом). Таким образом, получим
Uк = 3,53×(0,14 + 1 + 0,35) =5,3 В.
Мощность катодной станции Рк определяем по формуле (3.40):
Рк = Iк×Uк; Рк = 3,53×5,3 = 18,7 Вт.
Для обеспечения Rа = 1 Ом будет использовано комбинированное анодное заземление, состоящее из пяти вертикальных электродов из уголка 40´40´4 соединенных горизонтальными электродами, установленными в коксовую мелочь (см. табл. П2.7).
Срок службы анодного заземления Тк определяем по формуле (3.41):
Тк = 0,8×Gа/qIк; Тк =0,8×25/1×3,53 = 5,6 года.
Исходя из расчетных параметров Uк, Iк и Pк для электрохимической защиты кабельной магистрали, могут быть использованы сетевые катодные станции КСС-150, КСС-300, КСГ (КСК)-500, КС-400 (см. табл. 6.13)
|
Термин |
Определение |
|
1 |
2 |
|
Анодная зона |
- участок подземного металлического сооружения, на котором это сооружение имеет положительный электрический потенциал по отношению к окружающей среде. |
|
Блуждающие токи |
- токи утечки электрических установок постоянного тока, протекающие в земле и в подземных металлических сооружениях. |
|
Внешние факторы коррозии |
- факторы, влияющие на скорость, вид и распределение коррозии, связанные с составом коррозионной среды и условиями коррозии (температура, давление, скорость движения среды, внешние напряжения). |
|
Внутренние факторы коррозии |
- факторы, влияющие на скорость, вид и распределение коррозии, связанные с составом, структурой, внутренними напряжениями в металле и состоянием поверхности. |
|
Водородный электрод сравнения |
- полуэлемент, состоящий из платинового электрода, специально обработанного и помещенного в раствор кислоты, концентрация водородных ионов которой равна единице, а давление газообразного водорода над раствором кислоты равно атмосферному давлению. Величина потенциала этого электрода принимается за нуль. |
|
Дренаж электрический поляризованный |
- дренажное устройство, обладающее односторонней проводимостью |
|
Дренаж электрический прямой |
- дренажное устройство, обладающее двусторонней проводимостью. |
|
Дренаж электрический усиленный |
- дренажное устройство, в цепь которого для увеличения эффективности его работы включен источник постоянного тока. |
|
Дренажный кабель |
- изолированный проводник, служащий для отвода блуждающих токов с подземного металлического сооружения к источнику этих токов. |
|
Заземление |
- устройство, состоящее из заземлителей и проводников, соединяющих заземлители друг с другом и с электрическими установками. |
|
Заземлитель |
- металлический проводник или группа проводников любой формы (труба, шина, голый провод и др.), находящихся в непосредственном соприкосновении с землей и предназначенных для создания с ней электрического контакта определенного сопротивления. |
|
Заполнитель (активатор) для протекторов |
- вещество (реагент), способствующее переходу металла из пассивного состояния в активное или затрудняющее наступление пассивности. |
|
Защитный ток |
- ток дренажной, катодной или какой - либо другой защитной установки, необходимый для создания защитного потенциала на подземном металлическом сооружении. |
|
Знакопеременная зона |
- участок подземного металлического сооружения, на котором имеет место чередование во времени положительных и отрицательных значений потенциалов по отношению к окружающей среде. |
|
Зона защиты |
- участок подземного металлического сооружения, на котором примененными защитными средствами обеспечена защита от коррозии. |
|
Изолирующая муфта |
- изолирующее устройство, устанавливаемое в месте разрыва металлической оболочки и брони кабеля |
|
Источники блуждающих токов |
- электрические установки постоянного тока, создающие токи в земле (трамвай, электрифицированные железные дороги, метрополитен, линии электропередач системы «провод - земля» и др.). |
|
Индивидуальная защита |
- защита от коррозии, применяемая только для одного подземного сооружения. |
|
Кабели бронированные |
- кабели, имеющие поверх металлической (свинцовой, алюминиевой и др.) оболочки изолирующее покрытие и броневой покров из стальных лент или проволок. |
|
Кабели голые |
- кабели с металлической оболочкой, не имеющие какого-либо наружного покрытия. |
|
Кабели с изолирующим покрытием |
- кабели, имеющие поверх металлической оболочки (свинцовой, алюминиевой, стальной) или поверх брони изолирующие покрытия (полиэтиленовые, поливинилхлоридные, джутовые и др.). |
|
Кабели с неметаллическими оболочками |
- кабели, имеющие пластмассовую оболочку. |
|
Катодная защита |
- электрохимическая защита металла от коррозии, осуществляемая катодной поляризацией его от внешнего источника тока или путем соединения с металлом, имеющим в данной среде более отрицательный потенциал, чем у защищаемого металла. |
|
Катодная защита при помощи постороннего источника тока |
- способ электрической защиты подземных металлических сооружений от коррозии путем сообщения им отрицательного потенциала по отношению к окружающей среде при помощи соединения их с отрицательным полюсом источника постоянного тока катодной установки, положительный полюс которой подключается к специальному заземлению (анодному). |
|
Катодная зона |
- участок подземного металлического сооружения, на котором это сооружение имеет отрицательный электрический потенциал по отношению к окружающей среде. |
|
Катодная коррозия |
- коррозия подземного сооружения при отрицательных потенциалах, превышающих максимально допустимые значения защитных потенциалов. |
|
Катодная станция |
- основная часть катодной установки, состоящая из источника постоянного тока (выпрямитель, генератор и т.д.) контрольных и регулирующих приборов. |
|
Катодная поляризация |
- защита металлического сооружения от коррозии путем сообщения ему отрицательного защитного потенциала по отношению к окружающей среде. |
|
Одновременная защита |
- защита подземных металлических сооружений связи (кабелей) от воздействия различных видов влияний (ударов молнии, электромагнитных влияний и коррозии). |
|
Катодная установка |
- устройство, предназначенное для защиты подземных металлических сооружений от коррозии и состоящее из катодной станции, анодного заземления и дренажных кабелей. |
|
Коллектор |
- туннель, в котором прокладываются кабели различных назначений, а иногда и трубопроводы. |
|
Комплексная защита от коррозии |
- одновременная защита от коррозии данного подземного металлического сооружения несколькими различными средствами защиты. |
|
Контрольно-измерительный пункт (КИП) |
- устройство, оборудуемое на подземном металлическом сооружении, обеспечивающее возможность выполнения необходимых электрических измерений. |
|
Контрольно-сигнальная установка |
- установка, обеспечивающая возможность круглосуточного контроля работы электрических защитных устройств и потенциального состояния защищаемых сооружений. |
|
Коррозия металла |
- разрушение металла вследствие химического или электрохимического взаимодействия его с коррозионной средой. Примечание. Рекомендуется для процесса коррозии применять термин «коррозионный процесс», а для результата процесса - «коррозионное разрушение». |
|
Коррозионная активность среды |
- коррозионная характеристика среды, окружающей подземное сооружение, по которой определяется скорость коррозии металла. |
|
Коррелирующий металл |
- металл, подвергающийся коррозии. |
|
Коррозионная среда |
- среда, в которой происходит коррозия металла. |
|
Коррозионный очаг |
- участок поверхности металла, на котором сосредоточивается коррозионный процесс. |
|
Коррозионные потери |
- количество металла, превращенное в продукты коррозии за определенное время. |
|
Коррозионная стойкость |
- способность металла сопротивляться коррозионному воздействию среды. |
|
Максимально допустимый защитный потенциал |
- наибольший по абсолютной величине отрицательный потенциал, при котором не происходит отслаивания противокоррозионного покрытия на защищаемом металле и не вызывается интенсивная катодная коррозия свинца. |
|
Межкристаллитная коррозия подземных металлических сооружений |
- коррозия металла (свинца), происходящая по границам кристаллитов (зерен металла), вызванная действием окружающей коррозионной среды и постоянных или переменных механических напряжений. |
|
Медносульфатный неполяризующийся электрод сравнения |
- полуэлемент, состоящий из медного электрода, помещенного в насыщенный водный раствор медного купороса. |
|
Минимальный защитный потенциал |
- наименьший по абсолютной величине отрицательный потенциал металла сооружения, при котором обеспечивается полная защита его от электрохимической коррозии. |
|
Отсасывающая линия |
- изолированный от земли проводник, служащий для электрического соединения отрицательной шины тяговой подстанции с рельсами электрифицированного транспорта. |
|
Отсасывающий пункт |
- место присоединения отсасывающей линии к рельсам электрифицированного транспорта. |
|
Перемычка |
- проводник, соединяющий несколько расположенных рядом подземных металлических сооружений для осуществления их совместной защиты от коррозии, проведения электрических измерений, устранения возможных влияний защищенных сооружений на незащищенные. |
|
Подземные металлические сооружения |
- трубопроводы, кабели с металлическими оболочками и другие металлические сооружения, находящиеся земле. |
|
Подземные металлические сооружения связи |
- кабели связи с металлическими оболочками; металлические волноводы, световоды, корпуса НУП и другие металлические сооружения, находящиеся в земле. |
|
Поляризованная перемычка |
- перемычка, в цепь которой включен вентильный элемент (диод) соответствующей мощности, обеспечивающий прохождение электрического тока в одном направлении. |
|
Потенциал подземного металлического сооружения |
- условно принимаемая разность электрических потенциалов между металлом подземного сооружения и точкой окружающей среды (земли), по отношению к которой производится измерение. |
|
Потенциал рельса по отношению к земле |
- условно принимаемая разность электрических потенциалов между данной точкой рельса и точкой земли, находящейся на расстоянии 10 - 30 м от крайней нитки рельсов. |
|
Потенциал стационарный (естественный) |
- разность потенциалов между подземным металлическим сооружением связи и неполяризующимся электродом, установившаяся во времени в отсутствие блуждающих токов. Для каждого металла величина стационарного потенциала различна и зависит как от физико-химических свойств металла, так и от состава окружающей среды (грунта). Среднее значение стационарных потенциалов в грунтах (по отношению к медносульфатному электроду сравнения) принято: для стали - ( - 0,55 В), для свинца - ( - 0,48 В), для алюмрния - ( - 0,70 В). |
|
Потенциальная диаграмма подземных металлических сооружений |
- графическое изображение средних значений потенциалов подземного металлического сооружения относительно земли, нанесенных на схему сооружения. |
|
Почвенная коррозия подземных металлических сооружений |
- электрохимическая коррозия подземных металлических сооружений, вызванная действием окружающей коррозионной среды (почвы). |
|
Продукты коррозии |
- химические соединения, образующиеся в результате взаимодействия металла и коррозионной среды. |
|
Протектор |
- металл, применяемый для электрохимической защиты и имеющий более отрицательный или более положительный потенциал, чем у защищаемого металла. |
|
Протекторная защита |
- способ электрохимической защиты подземных металлических сооружений от коррозии при помощи протекторов. |
|
Скорость коррозии |
- коррозионные потери с единицы поверхности в единицу времени. |
|
Совместная защита от коррозии |
- защита от коррозии нескольких подземных металлических сооружений общими защитными установками. |
|
Токоотводы |
- установки для защиты подземных металлических сооружений дополнительными заземлениями, размещенными вблизи источника блуждающих токов. |
|
Токоотводы поляризованные |
- установки, в цепь которых включены вентильные элементы (диоды) соответствующей мощности, обеспечивающие прохождение электрического тока только в одном направлении. Поляризованные токоотводы устанавливаются в знакопеременных зонах, на подземных сооружениях. |
|
Точка дренирования в цепи источника блуждающих токов |
- место присоединения дренажного кабеля в цепи источника блуждающих токов. |
|
Точка дренирования на подземном сооружении |
- место присоединения дренажного кабеля к защищаемому подземному металлическому сооружению. |
|
Электрические методы защиты от коррозии |
- способы катодной поляризации подземных металлических сооружений, при применении которых на этих сооружениях создается отрицательный потенциал по отношению к окружающей среде. |
|
Электродренажная защита от коррозии |
- способ электрической защиты подземных металлических сооружений от электрокоррозии, заключающийся в отводе блуждающих токов из защищаемого сооружения к источнику этих токов. |
|
Электроизолирующая канализация |
- канализация из электроизолирующих материалов. |
|
Электрокоррозия подземных металлических сооружений (коррозия блуждающими токами) |
- электрохимическая коррозия подземных металлических сооружений, вызванная блуждающими токами. |
|
Электрохимическая защита |
- защита металлов от коррозии, осуществляемая поляризацией от внешнего источника тока или путем соединения с металлом (протектором), имеющим более отрицательный потенциал, чем у защищаемого металла. |
* Утверждены начальником ГУМТС Министерства связи СССР 14 апреля 1978 г.
1. Общие положения
1.1. Настоящие Временные рекомендации распространяются на защиту от почвенной коррозии бронированных кабелей связи со свинцовой оболочкой, не имеющих шланговых изолирующих покровов, на участках не требующих защиты от ударов молнии и внешних электромагнитных влияний.
1.2. Требования настоящих Рекомендаций должны выполняться при проектировании, строительстве, реконструкции, ремонте и эксплуатации кабельных линий связи.
1.3. Защита от почвенной коррозии строящихся, действующих и конструируемых кабельных линий связи должна осуществляться по проектам, составленным на основании данных, характеризующих опасность коррозии.
1.4. Проекты защиты бронированных кабелей со свинцовой оболочкой на стадии проектирования кабельной линии и в процессе эксплуатации разрабатываются в соответствии с настоящим «Руководством по проектированию и защите от коррозии подземных металлических сооружений связи».
1.5. Рабочие чертежи электрохимической защиты на коррозионоопасных участках, определенных в процессе эксплуатации, разрабатываются на основе пробных включений защитных устройств после проведения работ по реконструкции участка (снятие перепаек между свинцовой оболочкой и броней, ремонт кабеля).
1.6. Для обеспечения защиты бронированных кабелей со свинцовыми оболочками от коррозии, электромагнитных влияний и ударов молнии соединение свинцовой оболочки с броней допускается только в контрольно-измерительных пунктах (КИП).
1.7. Электрохимическая защита кабелей, а также использование групповых и одиночных протекторных установок в качестве линейно-защитных заземлений на кабеле при наличии перепаек между оболочкой и броней запрещаются.
1.8. Электрохимическая защита кабелей с конструкцией защитных покровов типа Бл и Б2л при проектировании новых кабельных линий предусматривается только при необходимости защиты брони, а в процессе их эксплуатации осуществляется на коррозионноопасных участках.
2. Оценка опасности почвенной коррозии бронированных кабелей со свинцовой оболочкой
2.1. Оценка опасности почвенной коррозии бронированных кабелей связи со свинцовой оболочкой на стадии проектирования производится по результатам химического анализа проб грунтов, грунтовых и других вод и измерения удельного сопротивления грунтов.
2.2. Оценка опасности почвенной коррозии бронированных кабелей связи со свинцовыми оболочками в процессе технической эксплуатации производится по результатам анализа коррозионного состояния кабельной магистрали.
2.3. Исходными данными для анализа являются:
сведения о кабеле (завод-изготовитель, год изготовления, тип кабеля, конструкция защитных покровов, год прокладки и год приемки в эксплуатацию);
условия прокладки (глубина прокладки, тип грунта, удельное сопротивление грунта, химический состав грунта, влажность грунта, уровень грунтовых вод, характер местности, наличие блуждающих токов в земле);
конструкция кабельной линии (ведомость строительных длин, методы монтажа соединительных муфт и восстановления изоляции в местах соединений, наличие изолирующих муфт, наличие и состояние линейно-защитных, защитных и рабочих заземлений, наличие и состояние грозозащитных тросов и проводов, наличие и состояние средств защиты от коррозии, наличие и состояние устройств содержания под избыточным газовым давлением);
ситуационная схема магистрали (схема прохождения магистрали, размещение защитных устройств, изолирующих муфт, контрольно-измерительных пунктов, соседних подземных металлических сооружений, характерных участков местности - населенные пункты, водные преграды, овраги, холмы, свалки мусора, места сброса сточных вод, заливные луга, болота и пр.);
сведения о коррозионных повреждениях и результаты коррозионных измерений (акты о повреждениях, диаграммы удельного сопротивления грунта, потенциалов, токов утечки и результаты измерения сопротивлений заземлений).
2.4. Анализ исходных данных производится с целью определения участков кабеля, которые: имели коррозионные повреждения, проходят через населенные пункты, проложены в грунтах с высокой коррозионной активностью, содержат кабели различных типов, пересекают или проходят в непосредственной близости от свалок мусора, мест сброса сточных вод и промышленных отходов, проложены в сильнозасоленных грунтах с удельным сопротивлением менее 10 Ом×м, проложены вблизи других подземных металлических сооружений, имеют и не имеют защиты, являются негерметичными, не имеют проекта защиты.
2.5. Если на участке кабеля наблюдались коррозионные повреждения, обнаруженные при устранении негерметичностей или производстве других работ, следует выявить причину коррозии, оценить возможность дальнейшего протекания процесса и выбрать меры защиты кабеля.
2.6. Исследование коррозионного состояния кабеля должно производиться на коррозионноопасных участках в следующей последовательности:
измерение потенциалов кабеля в существующих КИП, но не реже чем через 1,5 км;
измерение удельного сопротивления грунта вблизи каждой соединительной муфты на расстоянии 1 м от кабеля перпендикулярно к нему;
измерение градиента потенциала на поверхности земли и определение тока утечки;
определение точек шурфования;
визуальный осмотр кабеля, отбор проб, производство химических анализов.
2.7. Визуальный осмотр кабеля производится в точках, где стационарный потенциал кабеля максимален (по абсолютной величине), удельное сопротивление минимально, ток утечки максимален.
2.8. Визуальный осмотр кабеля производится в следующей последовательности: отрывается котлован, отбирается проба грунта, кабель очищается от грунта на расстоянии 1,5 м в каждую сторону от чугунной муфты, снимается чугунная муфта, накладывается бандаж на джут на расстоянии 1,2 м от конусов муфты, отбираются пробы джута с обеих сторон на расстоянии 0,8 м от конуса муфты, накладывается бандаж с обеих сторон на броню на расстоянии 1,1 м от конуса муфты, накладывается бандаж на подушку на расстоянии 1,0 м от конуса муфты с обеих сторон, отбираются пробы подушки на расстоянии 0,8 м от конусов муфты с обеих сторон, удаляется подушка, оценивается коррозионное состояние оболочки. Результаты осмотра оформляют актом.
Пробы грунта и изолирующих покрытий упаковываются, маркируются и передаются в лабораторию для производства химических анализов в соответствии с ГОСТ 9.015-74 и измерения рН джута и подушки.
3. Выбор защитных мероприятий при проектировании защиты кабеля на действующих кабельных линиях связи
3.1. К мероприятиям по защите от почвенной коррозии действующих кабелей относятся: электрохимическая защита (протекторная, катодная), вынос кабельной линии за пределы опасной зоны, замена кабеля, изоляция участков кабелей, расположенных в земле между корпусом НУП и изолирующей муфтой.
3.2. Перенос кабельной линии осуществляется в исключительных случаях при изменениях коррозионной ситуации, связанных с резким увеличением коррозионной активности грунтов при одновременном отсутствии возможности осуществления электрохимической защиты или ее технической эксплуатации.
3.3. Замена поврежденного кабеля на отдельных участках производится в случае невозможности или экономической нецелесообразности проведения ремонтных работ. Используемый для замены кабель должен иметь усиленные защитные покровы (л, 2л, Шп).
3.4. Электрохимическая защита действующих бронированных кабелей со свинцовыми оболочками от почвенной коррозии должна применяться в следующих случаях:
при высокой коррозионной активности грунтов;
на участках, где ранее имели место коррозионные повреждения; подверженных коррозии н выявленных при визуальном осмотре; где по результатам химического анализа подушки выявлено повышенное значение рН по сравнению с рН окружающего грунта до 9 и более единиц; подверженных вредному влиянию защитных установок на соседних подземных металлических сооружениях.
4. Проектирование электрохимической защиты
4.1. Электрохимическую защиту бронированных кабелей связи со свинцовыми оболочками от почвенной коррозии следует осуществлять путем использования протекторных или катодных установок.
4.2. Электрохимическая защита свинцовой оболочки должна осуществляться так, чтобы создаваемые потенциалы на всей поверхности оболочки находились в пределах -0,7 ¸ -1,3 В по отношению к медносульфатному электроду сравнения.
4.3. Электрохимическая защита брони должна осуществляться в случае, если она имеет специальное назначение, в пределах защитных потенциалов - 0,86 ¸ - 2,5 В. Если броня не имеет специального назначения (не используется как электромагнитный экран), а также при защите протекторными установками, допускается защита ее со сдвигом стационарного потенциала в отрицательную сторону не менее чем на 50 мB.
4.4. При осуществлении защиты (протекторной, катодной) распределение защитного тока с целью достижения требуемых защитных потенциалов осуществляется с помощью сопротивления, включаемого между оболочкой и броней кабеля на клеммах контрольно-измерительного пункта. Величина сопротивления выбирается в процессе наладки защиты и находится в пределах 0,6 - 5,0 Ом.
4.5. Протекторная защита во всех случаях должна осуществляться путем использования групповых протекторных установок.
4.6. Проектирование электрохимической защиты вновь прокладываемых кабелей связи со свинцовыми оболочками осуществляется в соответствии с настоящим «Руководством по проектированию и защите от коррозии подземных металлических сооружений связи».
4.7. Проектирование электрохимической защиты существующих кабелей связи со свинцовыми оболочками осуществляется в следующей последовательности: выполнение подготовительных работ, опытное включение защитных устройств и определение параметров электрохимической защиты, разработка проектно-сметной документации, монтаж и наладка защитных устройств.
4.8. Подготовительные работы производятся на каждой соединительной муфте участка кабеля, подлежащего защите. В состав подготовительных работ входят: откопка котлованов, снятие чугунной муфты и удаление перепаек, визуальный осмотр состояния брони и оболочки на участках, прилегающих к муфте, отбор проб грунта, джута и подушки, ремонт оболочки в случае наличия коррозионных повреждений, вывод проводов на КИП, закопка котлованов, установка изолирующих муфт по концам участка, подлежащего защите.
4.9. Опытное включение установок катодной защиты, определение параметров защиты, составление проектно-сметной документации, монтаж и наладка защитных устройств осуществляются в соответствии с рекомендациями настоящего «Руководства по проектированию и защите от коррозии подземных металлических сооружений связи».
4.10. Приемка защитных устройств в эксплуатацию должна производиться в соответствии с «Инструкцией по приемке в эксплуатацию междугородных кабельных линий связи», (ч. 1. M.: «Связь», 1977).
4.11. Техническая эксплуатация электрохимической защиты должна осуществляться в соответствии с «Правилами технической эксплуатации первичной междугородной сети связи системы Министерства связи СССР» (ч. 3. M.: «Связь», 1976).
1. Инструкция по разработке проектов и смет промышленного строительства СН-202-76. M.: Стройиздат, 1976.
3. ГОСТ 9.015-74. Единая система защиты от коррозии и старения. Подземные сооружения. Общие технические требования. M.: 1974.
4. Инструкция по проектированию и расчету катодной защиты трубопроводов. ВСН-2-19-70. M.: 1971.
5. Нормы технологического проектирования. Линии кабельные междугородной связи. НТП 45.321-72. M.: Связь, 1973.
6. Руководство по защите подземных сооружений связи от коррозии. M.: Связь, 1970.
7. Временное руководство по проектированию защиты от коррозии подземных металлических сооружений связи. M.: ЦНИИС, 1972.
8. Защита сооружений, строительных конструкций и оборудования от коррозии. СНиП III-23-76. M.: Госстройиздат, 1976.
11. Руководство по проектированию, строительству и эксплуатации заземлений в установках проводной связи и радиотрансляционных узлов. M.: Связь, 1971.
12. ГОСТ 464-68. Заземления для установок проводной связи и станций радиотрансляционных узлов. Нормы сопротивлений.
13. Альбом типовых чертежей смотровых устройств кабельной канализации. M.: Связь, 1969.
14. Справочник по электроизмерительным приборам под ред. K. К. Илюнина. Л.: Энергия, 1977.
15. Нормы технологического проектирования. Линии кабельные городских телефонных сетей. НТП 322-68. M.: Связь, 1970.
16. Ценник на монтаж оборудования № 8. Электрические установки. M.: Стройиздат, 1971.
17. Указания по строительству междугородных кабельных линий связи. M.: Связь, 1972.
18. Правила техники безопасности при работах на кабельных линиях связи и радиофикации. M.: Связь, 1969.
19. Справочник строителя кабельных сооружений связи Барон Д. А., Гершман Б. И., Гроднев И. И. и др. M.: Связь, 1977.
20. Правила технической эксплуатации первичной междугородной сети связи системы Министерства связи СССР. Ч. III. M.: Связь, 1976.
СОДЕРЖАНИЕ