| 
 | ||||||||||||||||||
| ГОСУДАРСТВЕННЫЙ СТАНДАРТ СОЮЗА ССР СИСТЕМА СТАНДАРТОВ БЕЗОПАСНОСТИ ТРУДА ЭЛЕКТРОБЕЗОПАСНОСТЬ.
 ГОСТ 12.1.030-81 ГОСУДАРСТВЕННЫЙ
КОМИТЕТ СССР ПО СТАНДАРТАМ  ГОСУДАРСТВЕННЫЙ СТАНДАРТ СОЮЗА ССР 
 Постановлением Государственного комитета СССР по стандартам от 15 мая 1981 г. № 2404 срок действия установлен с 01.07 1982 г. Несоблюдение стандарта преследуется по закону Настоящий стандарт распространяется на защитное заземление и зануление электроустановок постоянного и переменного тока частотой до 400 Гц и устанавливает требования по обеспечению электробезопасности с помощью защитного заземления, зануления. Стандарт не распространяется на защитное заземление, зануление электроустановок, применяемых во взрывоопасных зонах, на электрифицированном транспорте, судах, в металлических резервуарах, под водой, под землей и для медицинской техники. Термины, используемые в стандарте, и их пояснения, приведены в справочном приложении 1. Стандарт соответствует СТ СЭВ 3230-81 в части защитного заземления. (Измененная редакция, Изм. № 1). 1. ОБЩИЕ ПОЛОЖЕНИЯ1.1. Защитное заземление или зануление должно обеспечивать защиту людей от поражения электрическим током при прикосновении к металлическим нетоковедущим частям, которые могут оказаться под напряжением в результате повреждения изоляции. 1.1.1. Защитное заземление следует выполнять преднамеренным электрическим соединением металлических частей электроустановок с «землей» или ее эквивалентом. 1.1.2. Зануление следует выполнять электрическим соединением металлических частей электроустановок с заземленной точкой источника питания электроэнергией при помощи нулевого защитного проводника. 1.2. Защитному заземлению или занулению подлежат металлические части электроустановок, доступные для прикосновения человека и не имеющие других видов защиты, обеспечивающих электробезопасность. 1.3. Защитное заземление или зануление электроустановок следует выполнять: при номинальном напряжении 380 В и выше переменного тока и 440 В и выше постоянного тока - во всех случаях; при номинальном напряжении от 42 В до 380 В переменного тока и от 110 В до 440 В постоянного тока при работах в условиях с повышенной опасностью и особо опасных по ГОСТ 12.1.013-78. 1.4. В качестве заземляющих устройств электроустановок в первую очередь должны быть использованы естественные заземлители. При использовании железобетонных фундаментов промышленных зданий и сооружений в качестве естественных заземлителей и обеспечении допустимых напряжений прикосновения не требуется сооружение искусственных заземлителей, прокладка выравнивающих полос снаружи зданий и выполнение магистральных проводников заземления внутри здания. Металлические и железобетонные конструкции при использовании их в качестве заземляющих устройств должны образовывать непрерывную электрическую цепь по металлу, а в железобетонных конструкциях должны предусматриваться закладные детали для присоединения электрического и технологического оборудования (см. справочные приложения 2, 3 и 4). 1.5. Допустимые напряжения прикосновения и сопротивления заземляющих устройств должны быть обеспечены в любое время года. 1.6. Заземляющее устройство, используемое для заземления электроустановок одного или различных назначений и напряжений, должно удовлетворять всем требованиям, предъявляемым к заземлению этих электроустановок. 1.7. В качестве заземляющих и нулевых защитных проводников следует использовать специально предназначенные для этой цели проводники, а также металлические строительные, производственные и электромонтажные конструкции. В качестве нулевых защитных проводников в первую очередь должны использоваться нулевые рабочие проводники. Для переносных однофазных приемников электрической энергии, светильников при вводе в них открытых незащищенных проводов, приемников электрической энергии постоянного тока в качестве заземляющих и нулевых защитных проводников следует использовать только предназначенные для этой цели проводники. (Измененная редакция, Изм. № 1). 1.8. Материал, конструкция и размеры заземлителей, заземляющих и нулевых защитных проводников должны обеспечивать устойчивость к механическим, химическим и термическим воздействиям на весь период эксплуатации. 1.9. Для выравнивания потенциалов металлические строительные и производственные конструкции должны быть присоединены к сети заземления или зануления. При этом естественные контакты в сочленениях являются достаточными. 2. ЭЛЕКТРОУСТАНОВКИ НАПРЯЖЕНИЕМ ОТ 110 ДО 750 кВ2.1. В электроустановках напряжением от 110 до 750 кВ должно быть выполнено защитное заземление. 2.2. Заземляющие устройства следует выполнять по нормам на напряжение прикосновения или по нормам на их сопротивление. Заземляющее устройство, которое выполняют по нормам на сопротивление, должно иметь в любое время года сопротивление не более 0,5 Ом. При удельном сопротивлении «земли» r, большем 500 Ом·м, допускается повышать сопротивление заземляющего устройства в зависимости от r. 2.3. Напряжение на заземляющем устройстве при стекании с него тока замыкания на «землю» не должно превышать 10 кВ. Напряжение выше 10 кВ допускается на заземляющих устройствах, с которых исключен вынос потенциалов за пределы зданий и внешних ограждений электроустановки. При напряжениях на заземляющем устройстве выше 5 кВ должны предусматриваться меры по защите изоляции отходящих кабелей связи и телемеханики. 2.4. В целях выравнивания потенциала на территории, занятой электрооборудованием, должны быть проложены продольные и поперечные горизонтальные элементы заземлителя и соединены сваркой между собой, а также с вертикальными элементами заземлителя. 3. ЭЛЕКТРОУСТАНОВКИ НАПРЯЖЕНИЕМ ВЫШЕ 1000 В В СЕТИ С ИЗОЛИРОВАННОЙ НЕЙТРАЛЬЮ3.1. В электроустановках напряжением выше 1000 В в сети с изолированной нейтралью должно быть выполнено защитное заземление, при этом рекомендуется предусматривать устройства автоматического отыскания замыкания на «землю». Защиту от замыканий на «землю» рекомендуется устанавливать с действием на отключение (по всей электрически связанной сети), если это необходимо по условиям безопасности. 3.2. Наибольшее сопротивление заземляющего устройства R в Ом не должно быть более 
 где I - расчетная сила тока заземления на землю, А. При использовании заземляющего устройства одновременно для электроустановок напряжением до 1000 В 
 Расчетная сила тока замыкания на землю должна быть определена для той из возможных в эксплуатации схемы сети, при которой сила токов замыкания на землю имеет наибольшее значение. 3.3. При удельном сопротивлении земли r, большем 500 Ом×м, допускается вводить на указанные значения сопротивлений заземляющего устройства повышающие коэффициенты, зависящие от r. 4. ЭЛЕКТРОУСТАНОВКИ НАПРЯЖЕНИЕМ ДО 1000 В В СЕТИ С ЗАЗЕМЛЕННОЙ НЕЙТРАЛЬЮ4.1. В стационарных электроустановках трехфазного тока в сети с заземленной нейтралью или заземленным выводом однофазного источника питания электроэнергией, а также с заземленной средней точкой в трехпроводных сетях постоянного тока должно быть выполнено зануление. 4.2. При занулении фазные и нулевые защитные проводники должны быть выбраны таким образом, чтобы при замыкании на корпус или на нулевой проводник, возникал ток короткого замыкания, обеспечивающий отключение автомата или плавление плавкой вставки ближайшего предохранителя. 4.3. В цепи нулевых защитных проводников не должно быть разъединяющих приспособлений и предохранителей. В цепи нулевых рабочих проводников, если они одновременно служат для целей зануления, допускается применение разъединительных приспособлений, которые одновременно с отключением нулевых рабочих проводников отключают также все проводники, находящиеся под напряжением. 4.4. Сопротивление заземляющего устройства, к которому присоединены нейтрали генераторов (трансформаторов) или выводы однофазного источника питания электроэнергией, с учетом естественных заземлителей и повторных заземлителей нулевого провода должно быть не более 2,4 и 8 Ом соответственно, при междуфазных напряжениях 660, 380 и 220 В трехфазного источника питания или 380, 220 и 127 В однофазного источника питания. При удельном электрическом сопротивлении «земли» r выше 100 Ом×м допускается увеличение указанной нормы в r/100 раз. (Измененная редакция, Изм. № 1). 4.5. На воздушных линиях электропередачи зануление следует осуществлять нулевым рабочим проводом, проложенным на тех же опорах, что и фазные провода. 5. ЭЛЕКТРОУСТАНОВКИ НАПРЯЖЕНИЕМ ДО 1000 В В СЕТИ С ИЗОЛИРОВАННОЙ НЕЙТРАЛЬЮ5.1. В электроустановках переменного тока в сетях с изолированной нейтралью или изолированными выводами однофазного источника питания электроэнергией защитное заземление должно быть выполнено в сочетании с контролем сопротивления изоляции. 5.2. Сопротивление заземляющего устройства в стационарных сетях должно быть не более 10 Ом. При удельном сопротивлении земли, большем 500 Ом×м, допускается вводить повышающие коэффициенты, зависящие от r. 6. ПЕРЕДВИЖНЫЕ ЭЛЕКТРОУСТАНОВКИ И РУЧНЫЕ ЭЛЕКТРИЧЕСКИЕ МАШИНЫ КЛАССА I В СЕТЯХ НАПРЯЖЕНИЕМ ДО 1000 В6.1. Режим нейтрали и защитные меры передвижных источников питания электроэнергией, используемых для питания стационарных приемников электрической энергии, должны соответствовать режиму нейтрали и защитным мерам, принятым в сетях стационарных приемников электрической энергии. 6.2. При питании передвижных приемников электрической энергии и ручных электрических машин класса I от стационарных сетей с заземленной нейтралью или от передвижных электроустановок с заземленной нейтралью зануление следует выполнять в сочетании с защитным отключением. Допускается выполнять зануление - для ручных электрических машин класса I; зануление или зануление в сочетании с повторным заземлением - для передвижных приемников электрической энергии. 6.3. При питании передвижных приемников электрической энергии и ручных электрических машин класса I от стационарной сети или передвижного источника питания электроэнергией, имеющих изолированную нейтраль и контроль сопротивления изоляции, защитное заземление должно применяться в сочетании с металлической связью корпусов электрооборудования или защитным отключением. 6.4. Сопротивление заземляющего устройства в передвижных электроустановках с изолированной нейтралью при питании от передвижных источников электроэнергии определяется по значениям допустимых напряжений прикосновения при однополюсном замыкании на корпус либо устанавливается в соответствии с требованиями нормативно-технической документации. (Измененная редакция, Изм. № 1). 6.5. Защитное заземление передвижного источника питания электроэнергией с изолированной нейтралью и постоянным контролем сопротивления изоляции допускается не выполнять: если расчетное сопротивление заземляющего устройства больше сопротивления заземляющего устройства рабочего заземления прибора постоянного контроля сопротивления изоляции; если передвижной источник питания электроэнергией и приемники электрической энергии расположены непосредственно на передвижном механизме, их корпуса соединены металлической связью и источник не питает другие приемники электрической энергии вне этого механизма; если передвижной источник питания электроэнергией предназначен для питания конкретных приемников электрической энергии, их корпуса соединены металлической связью, а их число и длина кабельной сети определяются либо величиной допустимого напряжения прикосновений при однополюсном замыкании на корпус, либо установлены нормативно-технической документацией. 6.6. В передвижных электроустановках с источником питания электроэнергией и приемниками электрической энергии, расположенными на общей металлической раме передвижного механизма, и не имеющих приемников электрической энергии вне этого механизма, допускается применять в качестве единственной защитной меры металлическую связь корпусов оборудования и нейтрали источника питания электроэнергией с металлической рамой передвижного механизма. (Измененная редакция. Изм. № 1). 7. КОНТРОЛЬ УСТРОЙСТВ ЗАЩИТНОГО ЗАЗЕМЛЕНИЯ, ЗАНУЛЕНИЯ7.1. Соответствие устройств защитного заземления или зануления требованиям настоящего стандарта должно устанавливаться при приемосдаточных испытаниях электроустановок после их монтажа на месте эксплуатации по «Правилам устройства электроустановок», утвержденным Госэнергонадзором СССР, а также периодически в процессе эксплуатации указанных устройств по «Правилам технической эксплуатации электроустановок потребителей» и «Правилам техники безопасности при эксплуатации электроустановок потребителей», утвержденным Госэнергонадзором СССР. ПРИЛОЖЕНИЕ 1 | 
| Пояснение | |
| 1. Заземлитель | Проводник или совокупность металлически соединенных проводников, находящихся в соприкосновении с землей или ее эквивалентом | 
| 2. Естественный заземлитель | Заземлитель, в качестве которого используют электропроводящие части строительных и производственных конструкций и коммуникаций | 
| 3. Заземляющий проводник | Проводник, соединяющий заземляемые части с заземлителем | 
| 4. Заземляющее устройство | Совокупность конструктивно объединенных заземляющих проводников и заземлителя | 
| 5. Магистраль заземления (зануления) | Заземляющий (нулевой защитный) проводник с двумя или более ответвлениями | 
| 6. Заземленная нейтраль | Нейтраль генератора (трансформатора), присоединенная к заземляющему устройству непосредственно или через малое сопротивление | 
| 7. Изолированная нейтраль | Нейтраль генератора (трансформатора), не присоединенная к заземляющему устройству или присоединенная к нему через большое сопротивление | 
При использовании железобетонных фундаментов промышленных зданий в качестве заземлителей сопротивление растеканию заземляющего устройства R в Ом должно оцениваться по формуле
 (1)
                                                            (1)
где S - площадь, ограниченная периметром здания, м2;
rэ - удельное эквивалентное электрическое сопротивление земли, Ом·м.
Для расчета rэ в Ом·м следует использовать формулу
 ;                              (2)
;                              (2)
где r1 - удельное электрическое сопротивление верхнего слоя земли, Ом·м;
r2 - удельное электрическое сопротивление нижнего слоя, Ом·м;
h1 - мощность (толщина) верхнего слоя земли, м;
a, b - безразмерные коэффициенты, зависящие от соотношения удельных электрических сопротивлений слоев земли.
Если ρ1 > ρ2, a = 3,6, b = 0,1;
если ρ1 < ρ2, a =1,1´102, b = 0,3´10 .
.
Пример расчета:
Пусть r1 =500 Ом·м; r2 =130 Ом·м; h1 = 3,7 м;  = 55 м.
 = 55 м.
Тогда в соответствии с формулой (2) получим
Под верхним слоем следует понимать слой земли, удельное сопротивление которого r1 более чем в 2 раза отличается от удельного электрического сопротивления нижнего слоя r2.
В электроустановках напряжением от 110 до 750 кВ не требуется прокладка выравнивающих проводников, в том числе у входов и въездов, кроме мест расположения заземления нейтралей силовых трансформаторов, короткозамыкателей, вентильных разрядников и молниеотводов, если выполняется условие
где Iк.з. - расчетная сила тока однофазного замыкания, стекающего в «землю» с фундаментов здания, кА.
(Измененная редакция. Изм. № 1).
1 - молниеприемная сетка; 2 - токоотвод; 3 - арматура колонны; 4 - заземляющая перемычка; 5 - арматура фундамента
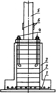
1 - арматура подошвы; 2 - арматура фундамента; 3 - фундамент; 4 - фундаментные болты (не менее двух), соединенные с арматурой фундамента; 5 - стальная колонна; 6 - пластины для приварки проводников заземления
РАЗРАБОТАН Министерством монтажных и специальных строительных работ СССР
ИСПОЛНИТЕЛИ:
Р.Н. Карякин, д-р техн. наук; В.А. Антонов, канд. техн. наук; Л.К. Коновалова; В.К. Добрынин; В.И. Солнцев; М.П. Ратнер, канд. техн. наук; В.П. Коровин; А.И. Кустова; В.И. Сыроватка, д-р техн. наук; А.И. Якобс, д-р техн. наук; В.И. Бочаров, канд. техн. наук; В.Н. Ардасенов, канд. техн. наук
ВНЕСЕН Министерством монтажных и специальных строительных работ СССР
Зам. министра К.К. Липодат
УТВЕРЖДЕН И ВВЕДЕН В ДЕЙСТВИЕ Постановлением Государственного комитета СССР по стандартам от 15 мая 1981 г. № 2404
СОДЕРЖАНИЕ