Информационная система
«Ёшкин Кот»

XXXecatmenu

ГОСУДАРСТВЕННЫЙ СТАНДАРТ СОЮЗА ССР

ПОРОДЫ ГОРНЫЕ

Метод определения коэффициента крепости
по Протодьяконову

Rocks. Method for the determination of
strength factor according to Protodyakonov

ГОСТ
21153.1-75*

Взамен
ГОСТ 15490-70
в части разд. III

*Переиздание ноябрь 1981 г. с Изменением № 1, утвержденным в июле 1981 г. (ИУС № 9-1981 г.)

Постановление Государственного комитета стандартов Совета Министров СССР от 25 сентября 1975 г. № 2491 срок действия установлен

 

с 01.07 1976 г.

Проверен в 1981 г. Срок действия продлен

до 01.07 1986 г.

Несоблюдение стандарта преследуется по закону

Настоящий стандарт распространяется на твердые горные породы и устанавливает метод определения коэффициента их крепости по Протодьяконову для классификации пород по этому показателю и использования его в технической документации при расчетах и проектировании горных работ, горного оборудования, а также при проведении научно-исследовательских работ.

Сущность метода заключается в определении коэффициента крепости, который пропорционален отношению работы, затраченной на дробление горной породы к вновь образованной при дроблении поверхности, оцениваемой суммарным объемом частиц размером менее 0,5 мм.

1. ОТБОР ПРОБ

1.1. Отбор проб - по ГОСТ 21153.0-75.

2. АППАРАТУРА И МАТЕРИАЛЫ

Для определения крепости горных пород применяют:

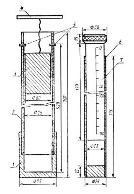
прибор определения крепости ПОК (см. чертеж), состоящий из стакана 1, вставленного в него трубчатого копра 2, внутри которого свободно помещается гиря 3 массой 2,4 ± 0,01 кг с ручкой 4, привязанной к гире шнуром. Трубчатый копер имеет в верхней части отверстия, в которые вставляются штифты 5, ограничивающие подъем гири. В комплект прибора входит объемомометр, состоящий из стакана 6 и плунжера 7 со шкалой измерений с диапазоном показаний от 0 до 150 мм вдоль его продольной оси;

сито с сеткой № 05 по ГОСТ 6613-73 для просеивания породы после дробления.

(Измененная редакция, Изм. № 1).

3. ПОДГОТОВКА К ИСПЫТАНИЮ

3.1. Отобранную пробу горной породы раскалывают молотком на твердом основании до получения кусков размером 20 - 40 мм. Из измельченного материала пробы отбирают двадцать навесок массой 40 - 60 каждая.

3.2. Число сбрасывания гири на каждую навеску устанавливают при дроблении первых пяти навесок.

3.3. Каждую навеску отдельно дробят в стакане гирей, падающей с высоты 60 см. Число сбрасываний гири принимают в зависимости от ожидаемой крепости породы, обычно от 5 до 15 сбрасываний на каждую навеску.

Примечания:

1. При очень мягких породах число сбрасываний может быть сокращено до 1, а при очень крепких - увеличено до 30.

2. При дроблении стакан с вставленным в него трубчатым копром обязательно устанавливают на жесткое массивное основание: железобетонный или асфальтированный пол, стальную плиту (массой не менее 20 кг, толщиной около 10 см).

(Измененная редакция, Изм. № 1).

3.4. Правильность выбранного режима испытания контролируют после просеивания  первых пяти раздробленных навесок на сите до прекращения выделения подрешетного продукта и замера его объема в объемомере. При получении столбика мелочи высотой 20 - 100 мм по шкале плунжера число сбрасываний на каждую навеску сохраняют для оставшихся пятнадцати навесок. При меньшей или большей высоте столбика мелочи в объемомере число сбрасываний корректируют соответственно в большую или меньшую сторону.

4. ПРОВЕДЕНИЕ ИСПЫТАНИЯ

4.1. Оставшиеся пятнадцать навесок дробят в приборе последовательно в установленном режиме испытания: при постоянном числе сбрасываний гири n и высоте подъема гири 60 см.

4.2. После дробления каждых пяти навесок их просеивают на сите, подрешетный продукт сита ссыпают в объемомер, замеряют плунжером высоту столбика мелочи и записывают ее.

(Измененная редакция, Изм. № 1).

5. ОБРАБОТКА РЕЗУЛЬТАТОВ

5.1. Коэффициент крепости горной породы (f) вычисляют по формуле

где 20 - эмпирический числовой коэффициент, обеспечивающий получение общепринятых значений коэффициента крепости и учитывающий затраченную на дробление работу;

n - число сбрасываний гири при испытании одной навески;

h - высота столбика мелкой фракции в объемомере после испытания пяти навесок, мм.

5.2. За окончательный результат испытания принимают среднее арифметическое результатов четырех определений.

(Измененная редакция, Изм. № 1).

СОДЕРЖАНИЕ

 

 



© 2013 Ёшкин Кот :-)