| 
 | |||||||||||||||||||||||||||||||||||||||||||||||||||||||||||||||||||||||||||||||||||||||||||||||||||||||||||||||||||||||||||||||||||||||||||||||||||||||||||||||||||||||||||||||||||||||||||||||||||||||||||||||||||||||||||||||||||||||||||||||||||||||||||||||||||||||||||||||||||||||||||||||||||||||||||||||||||||||||||||||||||||||||||||||||||||||||||||||||||||||||||||||||||||||||||||||||||||||||||||||||||||||||||||||||||||||||||||||||||||||||||||||||||||||||||||||||||||
| ГОСТ 17624-87 МЕЖГОСУДАРСТВЕННЫЙ СТАНДАРТ БЕТОНЫ УЛЬТРАЗВУКОВОЙ МЕТОД ОПРЕДЕЛЕНИЯ ПРОЧНОСТИ 
 
 Дата введения 01.01.88 Настоящий стандарт распространяется на конструкционные тяжелый, легкий и плотный силикатный бетоны сборных и монолитных бетонных и железобетонных изделий, конструкций и сооружений (далее - конструкций) и устанавливает ультразвуковой импульсный метод (далее - ультразвуковой метод) определения прочности бетона классов В7,5 - В35 (марок М100 - М400) на сжатие, в том числе в процессе твердения бетонов в тепловых установках (кроме бетонов, изготовляемых автоклавной обработкой) или в естественных условиях. Определение прочности бетона монолитных конструкций проводят только способом сквозного прозвучивания. Контроль прочности бетона конструкций проводят по ГОСТ 18105*. _______ * На территории Российской Федерации действует ГОСТ Р 53231-2008 (здесь и далее). 1. ОБЩИЕ ПОЛОЖЕНИЯ1. Ультразвуковой метод применяют для определения отпускной, передаточной прочности, прочности бетона в установленном нормативно-технической и проектной документацией промежуточном и проектном возрастах, прочности бетона в процессе его твердения, а также при экспертном контроле. 1.2. Ультразвуковой метод основан на связи между скоростью распространения ультразвуковых колебаний и его прочностью. 1.3. Ультразвуковые измерения в бетоне проводят способами сквозного или поверхностного прозвучивания в соответствии с приложением 1. 1.4. Прочность бетона в конструкциях определяют по экспериментально установленным градуировочным зависимостям «скорость распространения ультразвука - прочность бетона» (далее - «скорость - прочность») или «время распространения ультразвука - прочность бетона» (далее - «время - прочность») в зависимости от способа прозвучивания. 1.5. Прочность бетона определяют на участках конструкций, не имеющих видимых повреждений (отслоения защитного слоя, трещин, каверн и др.). 1.6. Ультразвуковые испытания проводят при положительной температуре бетона. Допускается проведение ультразвуковых испытаний конструкций при отрицательных температурах бетона не ниже минус 10 °С при условии, что в процессе их хранения относительная влажность воздуха не превышала 70 %. 2. СРЕДСТВА КОНТРОЛЯ2.1. Ультразвуковые измерения проводят при помощи приборов, предназначенных для измерения времени распространения ультразвука в бетоне и аттестованных в установленном порядке по ГОСТ 8.383*. _______ * На территории Российской Федерации действуют ПР 50.2.009-94. Δ = ± (0,01t + 0,1), (1) где t - время распространения ультразвука, мкс. 2.3. Типы ультразвуковых приборов и их технические характеристики приведены в приложении 2. Допускается применение других ультразвуковых приборов, предназначенных для испытания бетона, удовлетворяющих требованиям пп. 2.1, 2.2. 2.4. Приборы для контроля процессов ускоренного твердения бетона должны быть укомплектованы термостойкими преобразователями, которые крепят на бортоснастке формы, или акустическими зондами, погружаемыми в бетонную смесь. 2.5. Между бетоном и рабочими поверхностями ультразвуковых преобразователей должен быть обеспечен надежный акустический контакт, для чего применяют вязкие контактные материалы (солидол по ГОСТ 4366, технический вазелин по ГОСТ 5774 и др.). Допускается применение переходных устройств или прокладок, обеспечивающих сухой способ акустического контакта и удовлетворяющих требованиям пп. 2.1, 2.2. Способ контакта должен быть одинаковым при контроле бетона в конструкции и установлении градуировочной зависимости, кроме случаев, предусмотренных п. 4.5. 3. ПОДГОТОВКА ИСПЫТАНИЯ3.1. Подготовка испытания включает в себя проверку используемых приборов в соответствии с инструкциями по эксплуатации и установку градуировочных зависимостей в соответствии с выбранным способом прозвучивания. 3.2. Градуировочную зависимость «скорость - прочность» устанавливают при испытании конструкций способом сквозного прозвучивания. Градуировочную зависимость «время - прочность» устанавливают при испытании конструкций способом поверхностного прозвучивания. Допускается при испытании конструкций способом поверхностного прозвучивания использовать градуировочную зависимость «скорость - прочность» с учетом коэффициента перехода, определяемого в соответствии с приложением 3. Механические испытания образца проводят по ГОСТ 10180 непосредственно после ультразвуковых измерений. При необходимости проведения ультразвуковых испытаний бетона конструкций непосредственно после термообработки (горячего) для определения отпускной прочности бетона этих конструкций после их остывания, допускается устанавливать градуировочную зависимость в этом случае по результатам ультразвуковых измерений горячих образцов и механических испытаний тех же образцов после их остывания. 3.5. При установлении градуировочной зависимости для приемочного контроля образцы изготовляют в соответствии с требованиями ГОСТ 10180 в разные смены в течение не менее 3 сут из бетона того же номинального состава, по той же технологии, при том же режиме твердения, что и конструкции, подлежащие контролю. В случае применения на производстве способов и режимов уплотнения бетона конструкций, приводящих к изменению его состава за счет отжатия воды затворения, способ приготовления образцов должен указываться в нормативно-технической или проектной документациях на эти конструкции. Допускается изготовление до 40 % общего числа образцов из бетонной смеси, состав которой отличается от номинального по цементно-водному отношению не более 0,4. 3.6. При определении прочности бетона в процессе его ускоренного твердения для установления градуировочной зависимости в тепловую установку помещают образцы, число которых равно числу промежутков времени, на которое разбивают период изотермического прогрева. На каждом из этих этапов испытывают по одной серии образцов. Например, если период изотермического прогрева разбит на равные четыре промежутка времени, то в тепловую установку закладывают четыре серии образцов. Общее число образцов для установления градуировочной зависимости должно отвечать требованиям п. 3.4. 3.7. При установлении градуировочной зависимости для определения прочности бетона в процессе естественного твердения сроки испытаний образцов должны выбираться из следующего параметрического ряда: 3, 7, 14, 28, 60, 90, 180, 365 сут. Образцы испытывают не менее чем в трех возрастах, один из которых является проектным. В каждом возрасте испытывают не менее 4 серий образцов. 3.8. Время распространения ультразвука в образцах при установлении градуировочной зависимости «скорость - прочность» измеряют способом сквозного прозвучивания в соответствии с черт. 1. а - схема испытания кубов
способом сквозного прозвучивания; б - схема испытания кубов способом
поверхностного прозвучивания;  Черт. 1 База прозвучивания должна быть не менее 100 мм. Допускается базу прозвучивания снизить до 70 мм при проведении контроля мелкозернистых бетонов и бетона на ранних стадиях твердения (скорость ультразвука менее 2000 м/с). 3.9. Время распространения ультразвука в образцах при установлении градуировочной зависимости «время - прочность» измеряют способом поверхностного прозвучивания в соответствии с черт. 1. Минимальная база прозвучивания должна быть не менее 120 мм. Время распространения ультразвука следует измерять на поверхности, занимающей при изготовлении то же положение относительно формы и направления формования, что и контролируемая поверхность изделия. 3.11. Относительная погрешность измерения базы прозвучивания не должна превышать 0,5 %. 3.12. Число измерений времени распространения ультразвука в каждом образце должно быть при сквозном прозвучивании 3, при поверхностном прозвучивании - 4. 3.13. Отклонение отдельного результата измерения времени распространения ультразвука в каждом образце от среднеарифметического значения результатов измерений для данного образца не должно превышать 2 %. Результаты измерения времени распространения ультразвука в образцах, не удовлетворяющих этому условию, не учитывают при расчете среднеарифметического значения скорости распространения ультразвука в данной серии образцов. При наличии в серии двух образцов, не удовлетворяющих этому условию, результаты испытаний серии бракуют. За единичное значение прочности бетона принимают среднюю прочность бетона в серии образцов, определенную по ГОСТ 10180. За единичное значение скорости (времени) ультразвука принимают среднеарифметическое значение этих величин в серии образцов, используемых для определения единичного значения прочности. 3.15. Установление, проверку градуировочной зависимости и оценку ее погрешности проводят в соответствии с методикой, приведенной в приложении 4. Примеры установления градуировочной зависимости и оценки погрешности определения прочности бетона приведены в приложении 5. 3.16. Градуировочную зависимость устанавливают заново при изменении номинального состава бетона по ГОСТ 27006. 4. ПРОВЕДЕНИЕ ИСПЫТАНИЙ И ОПРЕДЕЛЕНИЕ ПРОЧНОСТИ
БЕТОНА  | |||||||||||||||||||||||||||||||||||||||||||||||||||||||||||||||||||||||||||||||||||||||||||||||||||||||||||||||||||||||||||||||||||||||||||||||||||||||||||||||||||||||||||||||||||||||||||||||||||||||||||||||||||||||||||||||||||||||||||||||||||||||||||||||||||||||||||||||||||||||||||||||||||||||||||||||||||||||||||||||||||||||||||||||||||||||||||||||||||||||||||||||||||||||||||||||||||||||||||||||||||||||||||||||||||||||||||||||||||||||||||||||||||||||||||||||||||||
| Характеристика | Тип прибора | |||
| Бетон-12 | УК-14П* | УК-10ПМ* | УФ-10П* | |
| Диапазон измерения времени распространения ультразвуковых колебаний, МКС | 20 - 999,9 | 20 - 9000 | 8 - 8500 в ручном режиме, до 9999 в автоматическом режиме | 20 - 999,9 | 
| Режим измерения | Автоматический | Автоматический | Автоматический, ручной | Автоматический | 
| Индикация | Цифровая | Цифровая | Цифровая | Цифровая | 
| Электрическое питание | Автономное | Универсальное | Универсальное | Сетевое | 
| Наличие ЭЛТ | - | - | Да | Да | 
| Число каналов измерения | 1 | 1 | 1 | 12 | 
| Наличие микропроцессора | - | - | - | Да | 
| Конструктивное исполнение | Портативный | Портативный | Переносной | Стационарный | 
| Масса, кг | 2,6 | 1,5 | 10,0 | 28 | 
| Предприятие-изготовитель | Опытный завод ВНИИжелезобетон, г. Москва | «Электроточприбор», г. Кишинев | «Электроточприбор», г. Кишинев | «Электроточприбор», г. Кишинев | 
_______
* В комплекте с акустическими зондами применяются для контроля твердения бетона. Предприятие-изготовитель зондов - завод «Электроточприбор».
1. Коэффициенты перехода (K) от скорости ультразвука при поверхностном прозвучивании к скорости при сквозном прозвучивании устанавливают в период подготовки к проведению испытаний конструкций и не реже одного раза в год.
2. Изготавливают не менее 6 призм размером не менее 100´100´200 мм в соответствии с требованиями ГОСТ 10180 из разных замесов бетона номинального состава, по той же технологии и при том же режиме твердения, что и конструкции, подлежащие контролю способом поверхностного прозвучивания.
3. Измеряют время распространения ультразвука в каждой призме способом сквозного и поверхностного прозвучивания при постоянной базе по схеме, приведенной на черт. 3. Участки измерения времени распространения ультразвука при поверхностном прозвучивании должны соответствовать требованиям п. 3.9 настоящего стандарта.
а - схема испытания
призм способом сквозного прозвучивания; 
б - схема испытания призм способом поверхностного прозвучивания; 
УП - ультразвуковые преобразователи; 1 - направление
формования
Черт. 3
Способом поверхностного прозвучивания проводят не менее трех измерений времени распространения ультразвука на каждом участке измерения.
4. Коэффициент перехода (K) вычисляют по формуле
 (3)
                                                      (3)
где Ki - значение коэффициента перехода, определенное по результатам ультразвуковых испытаний i-го образца по формуле
 (4)
                                                         (4)
где vi, vi пов - средние значения скоростей ультразвука в i-ом образце, измеренные при сквозном и поверхностном способах прозвучивания;
n - общее число призм, испытанных для определения коэффициента перехода K.
5. Среднеквадратическое отклонение (Sк) коэффициента перехода вычисляют по формуле
 (5)
                                                            (5)
где W = Kмакс - Kмин;
Kмакс, Kмин - максимальное и минимальное из значений коэффициентов Ki (1 ≤ i ≤ n);
dп - коэффициент, значение которого в зависимости от числа призм (n) приведено в табл. 2.
Таблица 2
| 6 | 7 | 8 | 9 | 10 | |
| dп | 2,51 | 3,0 | 3,47 | 3,92 | 4,35 | 
Среднеквадратическое отклонение (Sк) коэффициента перехода следует учитывать при расчете погрешности градуировочной зависимости в соответствии с п. 3 приложения 4.
(Поправка).
6. Допускается ультразвуковые измерения, предусмотренные п. 3 настоящего приложения, проводить на участке контролируемых конструкций, допускающих техническую возможность как сквозного, так и поверхностного способов прозвучивания.
Количество участков измерений должно быть не менее 6.
7. Прочность бетона в контролируемых участках конструкций при поверхностном прозвучивании с учетом коэффициента K определяют по градуировочной зависимости «скорость - прочность» в соответствии со скоростью ультразвука (v) в метрах в секунду, вычисляемой по формуле
 (6)
                                                 (6)
где tпов - время распространения ультразвука при поверхностном прозвучивании контролируемого участка конструкции, мкс;
l - база прозвучивания, мм.
База прозвучивания должна быть одинаковой при определении коэффициента перехода и проведения контроля прочности бетона в конструкциях и не должна превышать 400 мм.
МЕТОДИКА УСТАНОВЛЕНИЯ ГРАДУИРОВОЧНЫХ ЗАВИСИМОСТЕЙ И 
ОЦЕНКИ ПОГРЕШНОСТИ ОПРЕДЕЛЕНИЯ ПРОЧНОСТИ
1) линейного вида
при                                                  
2) экспоненциального вида
где х - скорость (время) распространения ультразвука;
Rн - прочность, определенная по уравнению
 (13)
                                                         (13)
 (14)
                                                          (14)
 (15)
                                                   (15)
 - средняя прочность бетонов, испытанных при установлении
градуировочной зависимости, МПа;
 - средняя прочность бетонов, испытанных при установлении
градуировочной зависимости, МПа;
N - число серий образцов, испытанных при установлении градуировочной зависимости;
Rjф, xj - единичные значения прочности и скорости (времени) распространения ультразвука для j-й серии образцов, определяемые по п. 3.14 настоящего стандарта;
Rмакс, Rмин - максимальное и минимальное значения прочности по испытанным сериям образцов, МПа.
2. Корректировку установленной градуировочной зависимости проводят путем отбраковки единичных результатов испытаний, не удовлетворяющих условию
где S - остаточное среднеквадратическое отклонение, определенное по формуле
Rjн - прочность бетона в j-й серии образцов, определенная по градуировочной зависимости
После отбраковки градуировочную зависимость устанавливают заново по оставшимся результатам испытаний.
Корректировку градуировочной зависимости проводят до тех пор, пока все единичные результаты испытаний будут удовлетворять условию (16).
(Поправка).
где  - среднеквадратическое
отклонение коэффициента перехода (K),
определенного в
соответствии с приложением 3.
Если коэффициент перехода не используют, то Sк = 0.
 - среднеквадратическое
отклонение коэффициента перехода (K),
определенного в
соответствии с приложением 3.
Если коэффициент перехода не используют, то Sк = 0.
| 
 | для зависимости (7) | (20) | 
| для зависимости (8). | 
Если  то определение прочности бетона по
настоящему стандарту не допускается.
 то определение прочности бетона по
настоящему стандарту не допускается.
4. Допускается использовать уравнение (7) при отклонениях, превышающих указанные в п. 1 в случаях, когда погрешность, определяемая по п. 3 настоящего приложения, находится в допускаемых пределах.
5. Проверка градуировочной зависимости
Проверку градуировочной зависимости проводят не реже одного раза в 2 мес.
5.1. Изготовляют не менее 6 серий образцов в соответствии с п. 3.5 настоящего стандарта. Определяют в каждой серии образцов в соответствии с разд. 3 настоящего стандарта единичные значения скорости ультразвука vj и прочности Rjф. В соответствии с единичным значением скорости ультразвука vj по градуировочной зависимости определяют прочность Rjн.
Вычисляют среднее значение
скорости ультразвука  всех образцов, испытанных для проверки
градуировочной зависимости.
 всех образцов, испытанных для проверки
градуировочной зависимости.
Разделяют серии образцов на
две группы. К первой группе относят серии образцов, единичные значения скорости
ультразвука которых не превышают  . Все остальные серии относят ко второй
группе.
. Все остальные серии относят ко второй
группе.
1) разность Rjф - Rjн не имеет одинакового знака в пяти из шести последовательных серий образцов;
2) Sn < 1,5Sт
где

где n - число серий образцов, испытанных для проверки градуировочной зависимости;
3) не имеют одинакового знака величины разностей (Rjф - Rjн) для серий образцов первой и второй групп.
(Поправка).
5.3. При невыполнении хотя бы одного из условий, предусмотренных п. 5.2 настоящего приложения, градуировочную зависимость устанавливают заново.
6. При изменении типа прибора и рабочей частоты преобразователей проверку градуировочной зависимости проводят по п. 5 настоящего приложения.
ПРИМЕРЫ УСТАНОВЛЕНИЯ ГРАДУИРОВОЧНОЙ ЗАВИСИМОСТИ И 
ОЦЕНКИ ПОГРЕШНОСТИ ОПРЕДЕЛЕНИЯ ПРОЧНОСТИ
1. Установление градуировочной зависимости «скорость - прочность» для контроля отпускной прочности
Прочность бетона класса В25 контролируют в конструкции способом сквозного прозвучивания. Для установления градуировочной зависимости между скоростью ультразвука и прочностью было испытано в течение 5 сут 20 серий образцов-кубов размером 100´100´100 мм в возрасте от 4 до 8 ч после тепловой обработки.
Результаты испытаний приведены в табл. 3.
Средние значения прочности  в мегапаскалях
и скорости ультразвука
 в мегапаскалях
и скорости ультразвука  в метрах в секунду составляют
 в метрах в секунду составляют


Минимальное и максимальное
значения прочности составляют: Rмин = 20,6 МПа и Rмакс = 36,9 МПа (1-я и 17-я серии образцов). Поскольку Rмакс - Rмин = 36,9 - 20,6 = 16,3 МПа, т.е. менее, чем  то уравнение искомой
зависимости принимают линейным вида
 то уравнение искомой
зависимости принимают линейным вида
Rн = а0 + alv.
Коэффициенты а0 и а1 определяют по формулам (9) и (10)

а0 = 27,79 - 0,0301 · 4239,4 = -99,92.
Таким образом, градуировочная зависимость описывается уравнением Rн = 0,0301v - 99,92. Значения прочностей Rjн, рассчитанные по градуировочной зависимости, приведены в табл. 3.
Остаточное среднеквадратическое отклонение, определенное по формуле (17), составляет

Сравнивая значения фактической прочности Rjф в сериях образцов с прочностью Rjн, определенной по градуировочной зависимости (см. табл. 3), устанавливают, что условие (16) не выполняется для серии 2, которая подлежит отбраковке.
Таблица 3
По оставшимся 19
сериям образцов рассчитывают новые значения  ,
,  и коэффициенты скорректированной
зависимости а0 и а1.
 и коэффициенты скорректированной
зависимости а0 и а1.



а0 = 27,88 - 0,0325 · 4232,4 = -109,68.
Определив значения Rjн, рассчитывают среднеквадратическое отклонение

Для скорректированной
градуировочной зависимости  по
всем сериям образцов. Таким образом, дальнейшую корректировку проводить не
требуется и искомая градуировочная зависимость описывается уравнением
 по
всем сериям образцов. Таким образом, дальнейшую корректировку проводить не
требуется и искомая градуировочная зависимость описывается уравнением
Rн = 0,0325v - 109,68.
Графики градуировочных зависимостей до и после корректировки приведены на черт. 4.
---------------------- - градуировочная зависимость до отбраковки;
_______________ - градуировочная зависимость скорректированная;
´ - отбракованные результаты испытаний
Черт. 4
(Поправка).
2. Оценка погрешности определения
прочности по результатам 
ультразвуковых измерений
Прочность бетона в конструкциях контролируют по установленной в п. 1 градуировочной зависимости.
1) Контроль осуществляют способом сквозного прозвучивания без использования переходных коэффициентов. В этом случае погрешность определения прочности по формуле (19) составит

Поскольку  полученная градуировочная
зависимость может быть использована для определения прочности бетона по
настоящему стандарту.
 полученная градуировочная
зависимость может быть использована для определения прочности бетона по
настоящему стандарту.
2) Контроль осуществляют способом поверхностного прозвучивания с использованием переходного коэффициента, определенного в соответствии с приложением 3. При этом среднеквадратическое отклонение установленного коэффициента составляет Sк = 0,01.
Погрешность определения прочности составит

Поскольку  определение прочности бетона по
установленной градуировочной зависимости с использованием данного переходного
коэффициента может производиться по настоящему стандарту.
определение прочности бетона по
установленной градуировочной зависимости с использованием данного переходного
коэффициента может производиться по настоящему стандарту.
3. Установление
градуировочной зависимости «скорость - прочность» 
для контроля прочности бетона в процессе твердения
Для установления градуировочной зависимости «скорость - прочность» были изготовлены в разные смены по 3 - 4 серии образцов-кубов размером 100´100´100 мм, которые испытывались в горячем состоянии непосредственно после их извлечения из тепловой установки. Сроки твердения и результаты испытаний приведены в табл. 4.
Градуировочную зависимость для контроля прочности в процессе твердения устанавливают по уравнению (8)
 (22)
                                                         (22)
Коэффициенты b0 и b1 вычисляют по формулам (11) и (12).
Искомая градуировочная зависимость описывается уравнением
 (23)
                                              (23)
и приведена на черт. 5.
Так как контроль прочности осуществляют способом сквозного прозвучивания, погрешность полученной градуировочной зависимости вычисляют по формуле (17) при q = 0

Поскольку  полученная градуировочная
зависимость может быть использована для контроля твердения бетона.
 полученная градуировочная
зависимость может быть использована для контроля твердения бетона.
Черт. 5
Таблица 4
| Серия | Время твердения, ч | Rjф, МПа | vj, м/с | 
 | 
 (м/с)2 | lnRjф | 
 | 
 | Rjн, МПа | Rjф - Rjн, МПа | (Rjф - Rjн)2, (МПа)2 | 
 | 
 | |
| 1 | 2 | 3 | 4 | 5 | 6 | 7 | 8 | 9 | 10 | 11 | 12 | 13 | 14 | 15 | 
| 01.02 | 1 | 3 | 1,41 | 2160 | 1187 | 1408969 | 0,34 | 1,71 | 2029,81 | 1,7 | 0,29 | 0,0841 | 8,3 | 68,89 | 
| 01.02 | 2 | 5 | 9,75 | 3500 | -153 | 23409 | 2,28 | -0,23 | 35,19 | 9,4 | 0,35 | 0,1225 | 0,04 | 0,0016 | 
| 01.02 | 3 | 7 | 13,15 | 3775 | -428 | 184041 | 2,58 | -0,53 | 226,84 | 14,2 | 1,05 | 1,1025 | 3,44 | 11,834 | 
| 01.02 | 4 | 9 | 15,30 | 3920 | -573 | 328329 | 2,73 | -0,68 | 389,64 | 15,4 | 0,10 | 0,010 | 5,59 | 31,248 | 
| 02.02 | 5 | 3 | 1,63 | 2235 | 1112 | 1236544 | 0,49 | 1,56 | 1734,72 | 1,8 | 0,17 | 0,0289 | 8,08 | 65,286 | 
| 02.02 | 6 | 4 | 4,40 | 2880 | 467 | 218089 | 1,48 | 0,59 | 275,53 | 4,2 | 0,20 | 0,040 | 5,31 | 28,196 | 
| 02.02 | 7 | 6 | 11,43 | 3640 | -293 | 85849 | 2,44 | -0,39 | 114,27 | 10,8 | 0,63 | 0,3969 | 1,72 | 2,958 | 
| 02.02 | 8 | 9 | 15,70 | 3880 | -533 | 284089 | 2,75 | -0,70 | 373,10 | 14,9 | 0,80 | 0,64 | 5,99 | 35,88 | 
| 03.02 | 9 | 4 | 4,15 | 2780 | 567 | 321489 | 1,42 | 0,63 | 357,21 | 3,8 | 0,35 | 0,1225 | 5,56 | 30,914 | 
| 03.02 | 10 | 5 | 8,05 | 3365 | -18 | 324 | 2,09 | -0,04 | 0,72 | 7,8 | 0,25 | 0,0625 | 1,66 | 2,756 | 
| 03.02 | 11 | 9 | 18,35 | 3980 | -633 | 400689 | 2,91 | -0,86 | 544,38 | 16,6 | 1,75 | 3,0625 | 8,64 | 74,65 | 
| 04.02 | 12 | 3 | 2,65 | 2390 | 957 | 935089 | 0,98 | 1,08 | 1033,35 | 2,2 | 0,40 | 0,16 | 7,11 | 50,552 | 
| 04.02 | 13 | 4 | 6,05 | 3115 | 232 | 53824 | 1,80 | 0,25 | 58,0 | 5,6 | 0,45 | 0,2025 | 3,66 | 13,396 | 
| 04.02 | 14 | 6 | 11,25 | 3540 | -193 | 37249 | 2,42 | -0,37 | 71,4 | 11,8 | 0,55 | 0,3025 | 2,54 | 2,372 | 
| 04.02 | 15 | 7 | 11,65 | 3670 | -323 | 104329 | 2,46 | -0,41 | 132,43 | 11,6 | 0,05 | 0,0025 | 1,94 | 3,7636 | 
| 05.02 | 16 | 5 | 9,60 | 3530 | -183 | 33489 | 2,26 | -0,21 | 38,43 | 11,0 | 1,40 | 1,96 | 0,11 | 0,0121 | 
| 05.02 | 17 | 6 | 14,75 | 3920 | -573 | 328329 | 2,69 | -0,64 | 366,72 | 15,2 | 0,45 | 0,2025 | 5,04 | 25,402 | 
| 05.02 | 18 | 7 | 15,62 | 3965 | -618 | 381924 | 2,75 | -0,7 | 432,60 | 15,8 | 0,18 | 0,0324 | 5,91 | 34,928 | 
| Суммы | 9366054 | 8214,34 | ||||||||||||
СХЕМЫ УСТАНОВКИ УЛЬТРАЗВУКОВЫХ ПРЕОБРАЗОВАТЕЛЕЙ 
ПРИ КОНТРОЛЕ ТВЕРДЕНИЯ БЕТОНА
Способы крепления ультразвуковых преобразователей на бортоснастке формы представлены на черт. 6 и 7.
Схема установки акустического зонда в бетоне конструкций представлена на черт. 8.
1 - втулка; 2 - рабочая поверхность преобразователя; 3
- ультразвуковой преобразователь; 
4 - узел прижима; 5 - акустическая изоляция; 6- бетон
Черт. 6
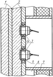
1 - бетон; 2 - разделительные листы кассеты; 3 - преобразователи;
4 - рабочие поверхности преобразователей; 5 - акустическая
изоляция; 6 - паровая рубашка; 
7 - теплоизоляция
Черт. 7
1 - ручка зонда; 2 - корпус; 3 - бетон; 4 - преобразователь; 5 - рабочая поверхность преобразователя
Черт. 8
1. Определение прочности бетона при экспертизе конструкций и сооружений проводят в зонах конструкций, изготовленных из бетона на одном виде крупного заполнителя.
В контролируемой зоне
намечают участки, в которых измеренная скорость ультразвука имеет максимальное
(vмакс) и минимальное (vмин) значения, а также участок, где скорость ультразвука имеет
величину (vn), наиболее близкую к средней скорости
ультразвука ( ).
).
Из каждого намеченного участка в соответствии с ГОСТ 10180 выбуривают и испытывают не менее двух кернов. По данным испытаний кернов определяют значения прочностей Rф.макс, Rф.мин, Rфn в участках, имеющих скорости ультразвука vмакс, vмин, vn.
3. Прочность бетона в любом участке контролируемой зоны конструкции определяют по уравнению (7).
Коэффициенты а0 и а1 вычисляют по формулам:
 (24)
                                               (24)
 (25)
                               (25)
4. При выполнении условия  допускается
ориентировочно определять прочность:
 допускается
ориентировочно определять прочность:
для бетонов классов прочности до В25 по формуле
R = Av4, (26)
где 
для бетонов классов прочности выше В25 по формуле
 (27)
                                       (27)
Значения скоростей
ультразвука vмакс, vмин,  и прочностей Rф.макс,
 и прочностей Rф.макс,  определяют в соответствии с п. 2 настоящего приложения.
 определяют в соответствии с п. 2 настоящего приложения.
5. Контроль прочности бетона в конструкциях по ГОСТ 18105 по методике, приведенной в настоящем приложении, не допускается.
ФОРМА ЖУРНАЛА ИСПЫТАНИЙ ОБРАЗЦОВ
| Класс (марка) бетона по прочности* | Дата изготовления образца | Дата испытаний | Номер образца | Масса образца, г | Рабочая площадь образца, см2 | Результаты ультразвуковых измерений | Результаты механических испытаний | Примечание** | |||||||
| Номер точки прозвучивания | База прозвучивания, мм | Время распространения ультразвука, мкс | Скорость ультразвука, м/с | Средняя скорость (время) ультразвука в образце, м/с | Средняя скорость (время) ультразвука в серии образцов, м/с | Разрушающая нагрузка, кгс | Прочность образца, МПа | Средняя прочность серии образцов, МПа | |||||||
_______
* Указать номинальный состав бетона.
** Указать тип ультразвукового прибора и рабочие частоты преобразователей.
Начальник лаборатории __________________
Рекомендуемое
ФОРМА ЖУРНАЛА ОПРЕДЕЛЕНИЯ ПРОЧНОСТИ БЕТОНА В КОНСТРУКЦИЯХ
| Наименование конструкции (для сборных - марка, серия рабочих чертежей) | Вид бетона и его класс (марка) прочности | Дата изготовления | Дата испытания | Номер контролируемого участка | База прозвучивания, мм | Время распространения ультразвука, мкс | Скорость ультразвука, м/с | Прочность бетона в участке конструкции, определенная ультразвуковым методом, МПа | Примечание* | 
_______
* Указать тип ультразвукового прибора и рабочие частоты преобразователей.
Начальник лаборатории _____________________
ИНФОРМАЦИОННЫЕ ДАННЫЕ
1. РАЗРАБОТАН И ВНЕСЕН Министерством промышленности строительных материалов СССР
2. УТВЕРЖДЕН И ВВЕДЕН В ДЕЙСТВИЕ Постановлением Государственного строительного комитета СССР от 26 декабря 1986 г. № 67
3. ВЗАМЕН ГОСТ 17624-78, ГОСТ 24467-80
4. ССЫЛОЧНЫЕ НОРМАТИВНО-ТЕХНИЧЕСКИЕ ДОКУМЕНТЫ
| Обозначение НТД, на который дана ссылка | Номер пункта, подпункта, приложения | 
| Вводная часть; 4.1; 4.6; приложение 7 | |
5. ИЗДАНИЕ (февраль 2010 г.) с Поправкой (ИУС 9-89)