Glued asbest-cement constructions. The method of determinations of shear strength of glued joints 

Информационная система
«Ёшкин Кот»

XXXecatmenu

ГОСУДАРСТВЕННЫЙ СТАНДАРТ СОЮЗА ССР

КОНСТРУКЦИИ
АСБЕСТОЦЕМЕНТНЫЕ КЛЕЕНЫЕ

МЕТОД ОПРЕДЕЛЕНИЯ ПРОЧНОСТИ
КЛЕЕВЫХ СОЕДИНЕНИЙ ПРИ СДВИГЕ

ГОСТ 20182-74

ГОСУДАРСТВЕННЫЙ СТРОИТЕЛЬНЫЙ КОМИТЕТ СССР
Москва

ГОСУДАРСТВЕННЫЙ СТАНДАРТ СОЮЗА ССР

КОНСТРУКЦИИ АСБЕСТОЦЕМЕНТНЫЕ КЛЕЕНЫЕ

Метод определения прочности
клеевых соединений при сдвиге

Glued asbest-cement constructions.
The method of determinations of shear strength of glued joints

ГОСТ
20182-74

Переиздание. Ноябрь 1988 г.

Постановлением Государственного комитета Совета Министров СССР по делам строительства от 30 августа 1974 г. № 190 срок введения установлен

с 01.07 1975

Настоящий стандарт распространяется на клеевые соединения асбестоцемента и устанавливает метод определения прочности при сдвиге клеевых соединений плоских листов и плоских листов с профильными (швеллерами).

Применение метода предусматривается в стандартах и технических условиях на продукцию, устанавливающих технические требования к ней.

1. ОБОРУДОВАНИЕ ДЛЯ ИСПЫТАНИЯ

1.1. Для проведения испытания должны применяться:

испытательная машина по ГОСТ 7855-84 или аналогичные машины с точностью измерения величины нагрузки до 1 %;

штангенциркуль по ГОСТ 166-80 с точностью измерения до 0,1 мм;

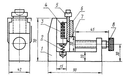
приспособление для испытаний (черт. 1).

1 - корпус; 2 - пружина; 3 - подвижная планка; 4 - ролики; 5 - съемная нажимная призма с
шаровой опорой; 6 - образец; 7 - подвижная опора; 8 - прижимной винт.

Черт. 1

2. ПОДГОТОВКА ОБРАЗЦОВ К ИСПЫТАНИЮ

2.1. Образцы для испытания изготавливают из асбестоцементных плоских листов по ГОСТ 18124-75, при этом влажность листов, из которых склеивают образцы не должна превышать 6 %.

Примечание. В случае, если объемная масса асбестоцемента будет менее 1,6 г/см3, допускается склеивание при влажности не более 10 %.

2.2. Для изготовления образцов берут заготовку, которую склеивают специально или выпиливают из готовой продукции по форме и размерам, указанным на черт. 2.

1 - клеевой шов; 2 - пропил.

Черт. 2

2.3. Заготовку склеивают по технологии, принятой для данного вида изделий с учетом типа клея.

2.4. Смещение узкой полосы (накладки) при склеивании заготовок не должно превышать 5 мм относительно продольной оси.

2.5. Клеевые подтеки на торцах клеевого шва должны быть зачищены до испытаний.

2.6. Время выдержки образцов от момента склеивания до испытания определяется технологическим регламентом и типом клея.

2.7. Испытание проводят на шести образцах.

3. ПРОВЕДЕНИЕ ИСПЫТАНИЙ

3.1. Подготовленный к испытанию образец устанавливают в приспособление для испытаний, указанное на черт. 1.

Перемещением подвижной опоры обеспечивают прилегание опорных граней образца к соответствующим поверхностям приспособления. Жестко зажимать образец прижимным винтом не разрешается.

3.2. Образец с приспособлением устанавливают в испытательную машину.

Нагрузку на образец передают равномерно, увеличивая ее со скоростью 10 мм/мин.

Нагрузку, при которой произошло разрушение образца, фиксируют.

3.3. Площадь склеивания измеряют с точностью до 0,1 см2.

3.4. Обе части разрушенного образца подвергают визуальному осмотру для определения характера разрушения:

по клею;

по склеиваемому материалу;

смешанного.

Характер разрушения оценивают в процентах от площади склеивания с точностью до 5 - 10 %.

4. ОБРАБОТКА РЕЗУЛЬТАТОВ ИСПЫТАНИЯ

4.1. Прочность клеевого соединения на сдвиг Ri вычисляют с точностью до 1 кгс/см2 по формуле

где Р - максимальная разрушающая нагрузка в кгс;

F - площадь склеивания в см2, вычисляемая с точностью до 0,1 см2 по формуле

F = a × b

где а - длина в см;

b - ширина в см.

4.2. За величину прочности клеевого соединения принимают среднее арифметическое результатов испытаний образцов, вычисляемое по формуле

где n - число испытанных образцов;

Ri - значения прочности отдельных образцов в кгс/см2.

Кроме среднего арифметического значения прочности образцов, могут определяться статистические показатели - среднее квадратичное отклонение, вариационный коэффициент, показатель точности. Определение этих показателей производится в соответствии с приложением 1 и является факультативным.

4.3. Результаты испытаний записывают в журнал (см. приложение 2).

ПРИЛОЖЕНИЕ 1

Рекомендуемое

ОПРЕДЕЛЕНИЕ СТАТИСТИЧЕСКИХ ПОКАЗАТЕЛЕЙ

1. Среднее квадратичное отклонение s в кгс/см2, характеризующее рассеяние экспериментальных данных, определяют по формуле

где n - число испытанных образцов;

Ri - значение прочности каждого образца в кгс/см2;

Rср - среднее арифметическое значение прочности в кгс/см2.

2. Вариационный коэффициент V в процентах определяют по величине среднего квадратичного отклонения по формуле

3. Среднюю ошибку m среднего арифметического определяют по формуле

.

4. Показатель точности испытания Р в процентах для доверительной вероятности 0,95 вычисляют по формуле

ПРИЛОЖЕНИЕ 2

Рекомендуемое

ЖУРНАЛ ИСПЫТАНИЯ КЛЕЕВЫХ СОЕДИНЕНИЙ
АСБЕСТОЦЕМЕНТА ПРИ СДВИГЕ

 

Тип асбестоцемента ______________________ Температура воздуха в помещении ___________________

Клей __________________________________ Влажность воздуха ______________________________%

Изделие _______________________________ Влажность асбестоцемента ________________________ %

Режим склеивания:

1. Расход клея, г/м2 _____________________________________________________________________

2. Время открытой выдержки, мин __________________________________________________________

3. Время закрытой выдержки, мин __________________________________________________________

4. Температура склеивания, °С _____________________________________________________________

5. Время выдержки под давлением, ч ________________________________________________________

6. Величина удельного давления, кгс/см2 _____________________________________________________

7. Дополнительные сведения _______________________________________________________________

Таблица испытаний

Номер образца

Длина а, см

Ширина b, см

Площадь склеивания F=a×b, см2

Разрушающая нагрузка, кгс

Показатель прочности, кгс/см2

Среднее значение показателя прочности, кгс/см2

Характер разрушения

Примечание

 

 

 

Дата _______________________

 

Подпись _____________________

 



© 2013 Ёшкин Кот :-)