Информационная система
«Ёшкин Кот»

XXXecatmenu

ГОСУДАРСТВЕННЫЙ СТАНДАРТ СОЮЗА ССР

СТОЙКИ ЦИЛИНДРИЧЕСКИЕ
ЖЕЛЕЗОБЕТОННЫЕ ЦЕНТРИФУГИРОВАННЫЕ
ДЛЯ ОПОР ВЫСОКОВОЛЬТНЫХ ЛИНИЙ
ЭЛЕКТРОПЕРЕДАЧИ

Конструкция и размеры

ГОСТ 22687.2-85

 

ГОСУДАРСТВЕННЫЙ СТАНДАРТ СОЮЗА ССР

СТОЙКИ ЦИЛИНДРИЧЕСКИЕ ЖЕЛЕЗОБЕТОННЫЕ
ЦЕНТРИФУГИРОВАННЫЕ
ДЛЯ ОПОР ВЫСОКОВОЛЬТНЫХ ЛИНИЙ ЭЛЕКТРОПЕРЕДАЧИ

Конструкция и размеры

Centrifugal cylinder reinforced concrete posts for high-voltage transmission lines. Structure and dimensions

ГОСТ
22687.2-85

Постановлением Государственного комитета СССР по делам строительства от 25 октября 1984 г. № 180 срок введения установлен

с 01.01.86

1. Настоящий стандарт распространяется на железобетонные предварительно напряженные цилиндрические стойки кольцевого сечения, изготовляемые методом центрифугирования из тяжелого бетона и предназначенные для опор линий электропередачи напряжением 35-750 кВ, и устанавливает конструкцию указанных стоек.

Стойки предназначены для применения:

при расчетной температуре наружного воздуха (температуре наружного воздуха наиболее холодной пятидневки района строительства согласно СНиП 2.01.01-82) до минус 55°С включительно;

в I-VII районах по давлению ветра и в I-V районах по толщине стенки гололеда согласно СНиП 2.01.07-85;

при сейсмичности площадки строительства до 9 баллов включительно.

Стойки, предназначенные для эксплуатации в среде с агрессивной степенью воздействия на железобетонные конструкции, должны удовлетворять дополнительным требованиям, установленным проектной документацией согласно СНиП 2.03.11-85 и указанным в заказе на изготовление стоек.

2. Форма и основные параметры стоек - по ГОСТ 22687.0-85.

3. Технические показатели стоек приведены в табл. 1.

4. Стойки должны удовлетворять всем требованиям ГОСТ 22687.0-85 и настоящего стандарта.

5. Конструкция и размеры стоек должны соответствовать указанным на черт. 1.

6. Показатели расхода стали на стойку приведены в табл. 2.

7. Арматурные каркасы стоек и расположение закладных изделий в стойках должны соответствовать указанным на черт. 2-20.

Расположение напрягаемой арматуры должно соответствовать приведенному на черт. 21-22.

Примечание. На чертежах арматурных каркасов напрягаемая арматура обозначена цифрой 1 и выделена жирными линиями.

8. Стыковые соединения стержневой напрягаемой арматуры следует выполнять контактной стыковой сваркой по ГОСТ 14098-85.

9. Усилия натяжения напрягаемой арматуры, контролируемые по окончании натяжения на упоры, должны соответствовать приведенным в табл. 2.

10. Поперечное армирование стоек выполняют из спирали с переменным шагом по длине стойки.

Значения шага спирали по длине стойки должны соответствовать указанным в табл. 4.

11. Спираль следует привязывать вязальной проволокой к продольной арматуре в каждом третьем пересечении.

При механической намотке спирали с натяжением не менее 1 кН (0,1 тс) привязку спирали к продольной арматуре осуществляют только на концевых участках длиной 0,5 м.

12. Монтажные кольца устанавливают с шагом 1,0 м по длине стойки, а также в местах окончания стержней ненапрягаемой арматуры и в местах установки закладных изделий с обязательной приваркой колец к концам стержней ненапрягаемой арматуры, к закладным изделиям и смежным с ними стержням продольной арматуры.

Таблица 1

Обозначение стоек

Объем бетона, м3

Класс бетона

Предельный момент кН×м (тс×м)

Масса изделия, кг

по прочности

по трещинообразованию

СЦ26.1-1.0

СЦ26.1-1.1

2,4

В40

443,3 (45,2)

437,7 (44,63)

85,7 (8,74)

109,2 (11,14)

6790

6688

СЦ20.1-1.1

3,06

B45

1032,7 (105,23)

283,3 (28,89)

8538

СЦ20.2-1.0

3,65

1246,1 (127,07)

263,6 (26,88)

10276

СЦ20.2-1.1

1236,4 (126,08)

296,5 (30,23)

10156

СЦ20.2-1.2

1199,9 (122,36)

284,5 (29,01)

10076

СЦ20.2-2.1

1236,4 (126,08)

296,5 (30,23)

10318

СЦ20.3-1.0н

3,47

1174,4 (119,76)

272,1 (27,75)

9997

СЦ20.3-1.1н

1190,4 (121,39)

284,8 (29,04)

9878

СЦ20.3-1.0в

901,0 (91,88)

245,9 (25,07)

9813

СЦ20.3-1.1в

901,3 (91,89)

275,1 (28,05)

9620

СЦ22.1-1.0

2,09

В40

454,8 (46,38)

78,1 (7,96)

5869

СЦ22.1-1.1

473,3 (48,26)

79,2 (8,08)

5817

СЦ26.2-1.0

2,2

327,9 (33,44)

125,4 (12,79)

6192

СЦ26.3-1.0

367,9 (37,52)

89,4 (9,12)

6244

СЦ26.3-1.1

330,9 (33,74)

113,1 (11,53)

6142

СЦ26.3-1.2

336,0 (34,26)

140,0 (14,28)

6132

СЦ26.3-2.0

367,9 (37,52)

89,4 (9,12)

6177

СЦ26.3-2.1

330,9 (33,74)

113,1 (11,53)

6096

При вычислении массы изделия средняя плотность бетона принята 2500 кг/м3.

Два монтажных кольца по концам стойки следует приварить ко всем стержням ненапрягаемой продольной арматуры.

Примечание. На развертках арматурных каркасов монтажные кольца показаны поперечными линиями.

13. Спецификация арматурных элементов на стойку приведена в табл. 3.

14. Расстояния между закладными изделиями по длине стойки приведены в табл. 5.

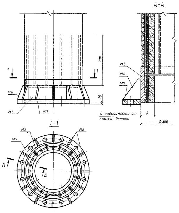
15. Фланцевые соединения секций стоек СЦ20.3-1.1н и СЦ20.3-1.1в, СЦ20.3-1.0н и СЦ20.3-1.0в должны соответствовать указанным на черт. 23 и 24.

16. Конструкция закладных изделий, а также подпятников стоек приведена в ГОСТ 22687.3-85.

17. Схемы опирания и загружения стоек при испытании нагружением по прочности, жесткости и трещиностойкости приведены в обязательном приложении 1.

18. Значения контрольной нагрузки по проверке прочности, жесткости и трещиностойкости при испытании по схеме нормального режима, а также значения контрольного прогиба и контрольной ширины раскрытия трещин указаны в обязательном приложении 2.

19. Значения контрольной нагрузки при испытании по схеме аварийного режима приведены в обязательном приложении 1.

Описание: БезИмени-1 copy

1 - продольная арматура; 2 - монтажные кольца; 3 - закладные изделия; 4 - спираль: а - расстояние от наружной поверхности стойки до оси продольной арматуры; с0-с3, с10-с11 - привязка закладных изделий; ц. т. - центр тяжести; L - длина стойки; lц - расстояние до центра тяжести; lн, lв - расстояния до мест установки диафрагм; D1 - внутренний диаметр стойки; D2 - наружный диаметр стойки

Черт. 1


Таблица 2

Обозначение стоек

Расстояние от наружной поверхности стойки до оси продольной арматуры, мм

Расход материалов

Закладные изделия, масса, кг

Общий расход стали, кг

Контролируемое натяжение, кН (тс)

Код

Арматура продольная

Спираль

Монтажные кольца

Стержни заземления

напрягаемая

ненапрягаемая

Сортамент

Масса, кг

Сортамент

Масса, кг

Сортамент

Масса, кг

Сортамент

Масса, кг

Сортамент

Масса, кг

СЦ26.1-1.0

24

Æ12AIV

328,2

Æ12AIV

304,4

Æ4BI

61,9

Æ8AI

23,5

Æ12AIV

46,9

25,2

790,1

838(85,45)

586311 0090

СЦ26.1-1.1

Æ12AV

328,2

Æ12AV

201,8

61,9

23,5

Æ12AV

46,9

25,2

687,5

1118(114,0)

586311 0091

СЦ20.1-1.1

30

Æ12AV

390,7

Æ12AV

256,0

Æ5BI

118,6

Æ12AI

4,2

Æ12AV

35,5

54,4

888,0

1757(179,16)

586311 0092

Æ8AI

28,6

СЦ20.2-1.0

31

Æ14AIV

531,5

Æ14AIV

370,1

118,6

Æ8AI

30,8

Æ14AIV

48,3

51,6

1150,9

1755(178,96)

586311 0093

СЦ20.2-1.1

Æ14AV

531,5

Æ14AV

249,7

118,6

30,8

Æ14AV

48,3

51,6

1030,5

1939(197,72)

586311 0094

СЦ20.2-1.2

Æ14AVI

386,6

Æ14AVI

314,8

118,6

30,8

Æ14AVI

48,3

51,6

950,7

1763(179,78)

586311 0095

СЦ20.2-2.1

Æ14AV

531,5

Æ14AV

325,3

198,7

30,3

Æ14AV

48,3

58,8

1192,9

1939(197,72)

586311 0096

СЦ20.3 1.0н

32

Æ16AIV

694,3

Æ16AIV

214,1

111,2

20,3

Æ16AIV

126,1

155,8

150,8

1321,8

1316,8

1822(185,79)

586311 0097

СЦ20.3 1.1н

Æ16AV

694,3

Æ14AV

125,1

111,2

20,3

Æ14AV

96,5

155,8

150,8

1203,2

1198,2

2010(204,96)

586311 0098

СЦ20.3-1.0в

Æ14AIV

531,5

Æ14AIV

211,4

110,7

21,2

Æ14AIV

96,5

166,6

161,6

1137,9

1132,9

1395(142,25)

586311 0097

СЦ20.3-1.1в

Æ14AV

531,5

Æ14AV

18,1

110,7

22,1

Æ14AV

96,5

166,6

161,6

945,5

940,5

1538(156,83)

586311 0098

СЦ22.1-1.0

24

Æ12AIV

236,6

Æ12AIV

243,6

Æ5BI

81,3

Æ8AI

22,0

Æ12AIV

39,4

21,0

643,9

719(73,32)

586311

СЦ22.1-1.1

Æ12AV

236,6

Æ12AV

191,6

81,3

22,0

Æ12AV

39,4

21,0

591,9

715(72,91)

586311

СЦ26.2-1.0

25

Æ12AIV

468,9

Æ12AIV

46,9

Æ4BI

56,7

18,8

Æ12AIV

93,8

7,2

692,3

1198(122,16)

586311 0302

СЦ26.3-1.0

Æ12AIV

328,2

Æ12AIV

218,8

56,7

20,8

Æ12AIV

93,8

25,2

743,5

838(85,45)

586311 0303

СЦ26.3-1.1

Æ12AV

328,2

Æ12AV

117,1

56,7

20,8

Æ12AV

93,8

25,2

641,8

1118(114,0)

586311 0304

СЦ26.3-1.2

Æ12AVI

328,2

Æ12AVI

165,3

45,9

20,8

Æ12AVI

46,9

25,2

632,3

1398(142,56)

586311 0305

СЦ26.3-2.0

Æ12AIV

328,2

Æ12AIV

164,8

Æ5BI

88,8

23,3

Æ12AIV

46,9

25,2

677,2

838(85,45)

586311 0306

СЦ26.3-2.1

Æ12AV

328,2

Æ12AV

82,4

88,8

23,3

Æ12AV

46,9

25,2

594,8

1118(114,0)

586311 0307

Примечание. В стойках СЦ20.3-1.0н, СЦ20.3-1.1н, СЦ20.3-1.0в, СЦ20.3-1.1в указана масса закладных изделий: в числителе с торцом стоек - по черт. 23, в знаменателе - по черт. 24.


СЦ26.1-1.0

Армирование стойки (в развертке)

Описание: БезИмени-1 copy

Черт. 2

СЦ26.1-1.1

Армирование стойки (в развертке)

Описание: БезИмени-1 copy

Черт. 3

СЦ20.1.-1.1

Армирование стойки (в развертке)

Описание: БезИмени-1 copy

Черт. 4

СЦ20.2-1.0

Армирование стойки (в развертке)

Описание: БезИмени-1 copy

Черт. 5

СЦ20.2-1.1

Армирование стойки (в развертке)

Описание: БезИмени-1 copy

Черт. 6

СЦ20.2-1.2

Армирование стойки (в развертке)

Описание: БезИмени-1 copy

Черт. 7

СЦ20.2-2.1

Армирование стойки (в развертке)

Описание: БезИмени-1 copy

Черт. 8

СЦ20.3-1.0н

Армирование стойки (в развертке)

Описание: БезИмени-1 copy

Черт. 9

СЦ20.3-1.1н

Армирование стойки (в развертке)

Описание: БезИмени-1 copy

Черт. 10

СЦ20.3-1.0в

Армирование стойки (в развертке)

Описание: БезИмени-1 copy

Черт. 11

СЦ20.3-1.1в
Армирование стойки (в развертке)

Описание: БезИмени-1 copy

Черт. 12

СЦ22.1-1.0

Армирование стойки (в развертке)

Описание: БезИмени-1 copy

Черт. 13

СЦ22.1-1.1

Армирование стойки (в развертке)

Описание: БезИмени-1 copy

Черт. 14

СЦ26.2-1.0

Армирование стойки (в развертке)

Описание: БезИмени-1 copy

Черт. 15

СЦ26.3-1.0

Армирование стойки (в развертке)

Описание: БезИмени-1 copy

Черт. 16

СЦ26.3-1.1

Армирование стойки (в развертке)

Описание: БезИмени-1 copy

Черт. 17

СЦ26.3-1.2

Армирование стойки (в развертке)

Описание: БезИмени-1 copy

Черт. 18

СЦ26.3-2.0

Армирование стойки (в развертке)

Описание: БезИмени-1 copy

Черт. 19

СЦ26.3-2.1

Армирование стойки (в развертке)

Описание: БезИмени-1 copy

Черт. 20

Расположение напрягаемых стержней в стойках марок СЦ26.1-1.0, СЦ26.1-1.1, СЦ22.1-1.0, СЦ26.3-1.0, СЦ26.3-1.1, СЦ26.3-1.2, СЦ26.3-2.1, СЦ26.3-2.0 (закладные изделия траверс ориентированы по вертикальной оси)

СЦ22.1-1.0, СЦ22.1-1.1

Описание: БезИмени-1 copy

СЦ26.1-1.0, СЦ26.1-1.1,

СЦ26.3-1.0, СЦ26.3-1.1,

СЦ26.3-1.2, СЦ26.3-2.0,

СЦ26.3-2.1

Описание: БезИмени-1 copy

Черт. 21

Расположение напрягаемых стержней в стойках марок СЦ20.1-1.1, СЦ20.2-1.0,
СЦ20.2-1.1, СЦ20.2-1.2, СЦ20.2-2.1, СЦ20.3-1.0н, СЦ20.3-1.1н, СЦ20.3-1.0в, СЦ20.3-1.1в, СЦ26.2-1.0 (закладные изделия траверс ориентированы по вертикальной оси)

СЦ20.1-1.1, СЦ20.2-1.0,
СЦ20.3-1.0
н, СЦ20.3-1.1,
СЦ20.3-1.0
в, СЦ20.3-1.1в,

Описание: БезИмени-1 copy

СЦ20.2-1.1, СЦ20.2-2.1

Описание: БезИмени-1 copy

СЦ20.2-1.2

Описание: БезИмени-1 copy

СЦ26.2-1.0

Описание: БезИмени-1 copy

Черт. 22

Таблица 3

Спецификация арматуры на один элемент

Обозначения стоек

Эскиз

Номер позиции

Диаметр, мм

Длина, мм

Количество позиций, шт.

Общая длина, м

СЦ26.1-1.0

Описание: Untitled-1

1

Æ12AIV

26400

14

369,6

2

Æ12AIV

26380

9

237,4

3

Æ12AIV

14300

3

42,9

4

Æ12AIV

11900

3

35,7

5

Æ12AIV

9500

3

28,5

6

Æ12AIV

7100

3

21,3

7

Æ12AIV

5200

3

15,6

8

Æ12AIV

4400

3

13,2

9

Æ12AIV

150

6

0,9

Описание: БезИмени-1 copy

Æ8AI

1650

36

59,4

Описание: БезИмени-1 copy

Æ4BI

-

-

625,0

СЦ26.1-1.1

Описание: Untitled-1

1

Æ12AV

26400

14

369,6

2

Æ12AV

26380

6

158,3

3

Æ12AV

11500

3

34,5

4

Æ12AV

9700

3

29,1

5

Æ12AV

8000

3

24,0

6

Æ12AV

6400

3

19,2

7

Æ12AV

4700

3

14,1

8

Æ12AV

150

6

0,9

Описание: БезИмени-1 copy

Æ8AI

1650

36

59,4

Описание: БезИмени-1 copy

Æ4BI

-

-

625,0

СЦ20.1-1.1

Описание: Untitled-1

1

Æ12AV

20000

22

440,0

2

Æ12AV

19980

5

160,0

3

Æ12AV

11300

6

67,8

4

Æ12AV

10400

3

31,2

5

Æ12AV

9400

3

28,2

6

Æ12AV

7500

6

22,5

7

Æ12AV

5600

3

16,8

8

Æ12AV

150

12

1,8

Описание: БезИмени-1 copy

Æ12AI

2350

2

4,7

Описание: БезИмени-1 copy

Æ8AI

2360

32

72,5

Описание: БезИмени-1 copy

Æ5BI

-

-

770,0

СЦ20.2 1.0

Описание: Untitled-1

1

Æ14AIV

20000

22

440,0

2

Æ14AIV

19980

2

40,0

3

Æ14AIV

14800

4

59,2

4

Æ14AIV

13100

3

39,3

5

Æ14AIV

12100

3

36,3

6

Æ14AIV

11100

3

33,3

7

Æ14AIV

10100

3

30,3

8

Æ14AIV

9100

3

27,3

9

Æ14AIV

8100

3

24,3

10

Æ14AIV

7100

3

21,3

11

Æ14AIV

6100

3

18,3

12

Æ14AIV

5100

3

15,3

13

Æ14AIV

150

10

1,5

Описание: БезИмени-1 copy

Æ8AI

2360

33

77,9

Описание: БезИмени-1 copy

Æ5BI

770

СЦ20.2-1.1

Описание: Untitled-1

1

Æ14AV

20000

22

440,0

2

Æ14AV

19980

2

40,0

3

Æ14AV

13800

1

13,8

4

Æ14AV

12800

3

38,4

5

Æ14AV

11900

3

35,7

6

Æ14AV

11000

3

33,0

7

Æ14AV

8500

6

51,0

8

Æ14AV

7200

3

21,6

9

Æ14AV

3900

3

11,7

10

Æ14AV

150

10

1,5

Описание: БезИмени-1 copy

Æ8AI

2360

33

77,9

Описание: БезИмени-1 copy

Æ5BI

-

-

770,0

СЦ20.2-1.2

Описание: Untitled-1

1

Æ14AVI

20000

16

320,0

2

Æ14AVI

19980

6

120,0

3

Æ14AVI

14800

3

44,4

4

Æ14AVI

11500

6

69,0

5

Æ14AVI

8300

6

49,8

6

Æ14AVI

5300

3

15,9

7

Æ14AVI

150

10

1,5

Описание: БезИмени-1 copy

Æ8AI

2350

33

78,0

Описание: БезИмени-1 copy

Æ5BI

-

-

770,0

СЦ20.2-2.1

Описание: Untitled-1

/

Æ14AV

20000

22

440,0

2

Æ14AV

19980

3

60,0

3

Æ14AV

17300

3

51,9

4

Æ14AV

14000

3

42,0

5

Æ14AV

13300

3

39,9

б

Æ14AV

11700

3

35,1

7

Æ14AV

10700

3

32,1

8

Æ14AV

8700

3

26,1

9

Æ14AV

6700

3

20,1

10

Æ14AV

150

14

2,1

Описание: БезИмени-1 copy

Æ8AI

2260

34

76,8

Описание: БезИмени-1 copy

Æ5BI

-

-

1290,0

СЦ20.3-1.0н

Описание: Untitled-1

1

Æ16AIV

20000

22

440,0

2

Æ16AIV

19980

4

79,9

6

Æ16AIV

15500

2

31,0

4

Æ16AIV

11500

6

69,0

5

Æ16AIV

7100

3

21,3

6

Æ16AIV

4800

3

14,4

Описание: БезИмени-1 copy

Æ8AI

2335

22

51,4

Описание: БезИмени-1 copy

Æ5BI

-

-

722,0

СЦ20.3-1.1н

Описание: Untitled-1

1

Æ16AV

20000

22

440,0

2

Æ14AV

19980

4

79,9

3

Æ14AV

12100

4

48,4

4

Æ14AV

9000

4

36,0

5

Æ14AV

4800

4

19,2

Описание: БезИмени-1 copy

Æ8AI

2335

22

51,4

Описание: БезИмени-1 copy

Æ5BI

722,0

CЦ20.3-1.0в

Описание: Untitled-1

1

Æ14AIV

20000

22

440,0

2

Æ14AIV

19980

11

219,8

3

Æ14AIV

11700

3

35,1

Описание: БезИмени-1 copy

Æ8AI

2335

23

53,7

СЦ20.3-1.0в

Описание: БезИмени-1 copy

Æ5BI

-

-

718,7

СЦ20.3-1.1в

Описание: Untitled-1

1

Æ14AV

20000

22

440,0

2

Æ14AV

19980

4

79,9

3

Æ14AV

5000

3

15,0

Описание: БезИмени-1 copy

Æ8AI

2335

24

56,0

Описание: БезИмени-1 copy

Æ5BI

718,7

СЦ22.1-1.0

Описание: Untitled-1

1

Æ12AIV

22200

12

266,4

2

Æ12AIV

22180

2

44,4

3

Æ12AIV

14900

4

59,6

4

Æ12AIV

13700

3

41,1

5

Æ12AIV

12350

4

49,4

6

Æ12AIV

11300

3

33,9

7

Æ12AIV

8700

4

34,8

8

Æ12AIV

5900

3

17,7

9

Æ12AIV

6300

4

25,2

10

Æ12AIV

3900

3

11,7

11

Æ12AIV

150

6

0,9

Описание: БезИмени-1 copy

12

Æ8AI

1640

34

55,8

Описание: БезИмени-1 copy

13

Æ5BI

-

-

528,0

СЦ22.1-1.1

Описание: Untitled-1

1

Æ12AV

22200

12

266,4

2

Æ12AV

22180

2

44,4

3

Æ12AV

13900

2

27,8

4

Æ12AV

12700

2

25,4

5

Æ12AV

11350

4

45,4

6

Æ12AV

10300

3

30,9

7

Æ12AV

7700

4

30,8

8

Æ12AV

5900

3

17,7

9

Æ12AV

6300

4

25,2

10

Æ12AV

3900

3

11,7

11

Æ12AV

150

6

0,9

Описание: БезИмени-1 copy

12

Æ8AI

1640

34

55,8

Описание: БезИмени-1 copy

13

Æ5BI

-

-

528,0

СЦ26.2-1.0

Описание: Untitled-1

1

Æ12AIV

26400

20

528,0

2

Æ12AIV

26380

6

158,3

Описание: БезИмени-1 copy

Æ8AI

1645

21

47,7

Описание: БезИмени-1 copy

Æ4BI

-

-

572,4

СЦ26.3-1.0

Описание: Untitled-1

1

Æ12AIV

26400

14

369,6

2

Æ12AIV

26380

12

316,6

3

Æ12AIV

6900

3

20,7

4

Æ12AIV

4900

3

14,7

Описание: БезИмени-1 copy

Æ8AI

1645

32

52,6

Описание: БезИмени-1 copy

Æ4BI

-

-

572,4

СЦ26.3-1.1

1

Æ12AV

26400

14

369,6

2

Æ12AV

26380

9

237,4

Описание: БезИмени-1 copy

Æ8AI

1645

32

52,6

Описание: БезИмени-1 copy

Æ4BI

-

-

572,4

СЦ26.3-1.2

Описание: Untitled-1

1

Æ12AVI

26400

14

369,6

2

Æ12AVI

26380

9

237,5

3

Æ12AVI

150

10

1,5

Описание: БезИмени-1 copy

Æ8AI

1645

32

52,6

Описание: БезИмени-1 copy

Æ4BI

-

-

464,0

СЦ26.3-2.0

Описание: Untitled-1

1

Æ12AIV

26400

14

369,6

2

Æ12AIV

26380

2

52,8

3

Æ12AIV

16700

1

16,7

4

Æ12AIV

14900

3

44,7

5

Æ12AIV

13000

3

39,0

6

Æ12AIV

11100

3

33,3

7

Æ12AIV

9400

3

28,2

8

Æ12AIV

7600

3

22,8

9

Æ12AIV

150

6

0,9

СЦ26.3-2.0

Описание: БезИмени-1 copy

Æ8AI

1640

36

59,0

Описание: БезИмени-1 copy

Æ5BI

-

-

576,4

СЦ26.3-2.1

Описание: Untitled-1

1

Æ12AV

26400

14

369,6

2

Æ12AV

26380

2

52,8

3

Æ12AV

15700

4

62,8

4

Æ12AV

9400

3

28,2

5

Æ12AV

150

12

1,8

Описание: БезИмени-1 copy

Æ8AI

1640

36

59,0

Описание: БезИмени-1 copy

Æ5BI

-

-

576,4

Примечание. При изготовлении монтажных колец допускается применять контактную сварку. При этом длина нахлестки соединяемых концов должна быть не менее 10 мм.

Таблица 4

Описание: БезИмени-1 copy

мм

Обозначение стойки

Диаметр спирали

Шаг спирали (числитель) на длине участка (знаменатель)

l1

l2

l3

l4

l5

1

2

3

4

5

6

7

СЦ26.1-1.0

4BI

50/3500

80/22400

0

0

50/500

СЦ26.1-1.1

СЦ20.1-1.1

5BI

50/500

30/4500

100/14500

СЦ20.2-1.0

СЦ20.2-1.1

СЦ20.2-1.2

СЦ20.2-2.1

30/4000

100/15000

СЦ20.3-1.0н

50/9500

0

0

100/10500

СЦ20.3-1.1н

50/9600

100/10400

СЦ20.3-1.0в

100/10500

50/9500

СЦ20.3-1.1в

100/10400

50/9600

СЦ22.1-1.0

50/3200

80/18500

50/500

СЦ22.1-1.1

СЦ26.2-1.0

4BI

80/26400

0

0

СЦ26.3-1.0

4BI

80/26400

0

0

0

0

СЦ26.3-1.1

СЦ26.3-1.2

100/26400

СЦ26.3-2.0

5BI

50/500

80/25400

50/500

СЦ26.3-2.1

Таблица 5

Размещение закладных изделий

Обозначение стоек

Расстояние, мм (обозначения соответствуют черт. 1)

cо

c1

c2

c3

c4

c5

c6

c7

c8

c9

c10

c11

СЦ26.1-1

200

1000

1500

16200

-

-

-

-

-

-

3200

300

СЦ20.1-1

200

800

1500

1500

1500

1000

-

-

-

-

4145

55

СЦ20.2-1

300

1500

1500

1500

1500

-

-

-

-

-

4145

55

СЦ20.2-2

300

2200

500

1500

500´2

1000

-

-

-

-

4145

55

СЦ20.3-1н

10970

-

-

-

-

-

-

-

-

-

4645

55

СЦ20.3-1в

200

3300

5500

-

-

-

-

-

-

-

-

-

СЦ22.1-1

150

2550

1500

-

-

-

-

-

-

-

3145

55

СЦ26.3-1

390

750

14000

-

-

-

-

-

-

-

3300

300

СЦ26.3-2

200

1300

3200

15200

-

-

-

-

--

-

3200

300

Примечания:

1. Размещение закладных изделий для одинаковых стоек с разным армированием одинаково, поэтому в марках стоек опущена последняя цифра.

2. Стойка СЦ26.2-1 не имеет закладных изделий для сквозных болтов.

Торец стоек СЦ20.3-1в и СЦ20.3-1н с фланцем из труб по ГОСТ 10704-76

Описание: БезИмени-1 copy

Количество марок на одну стойку:

М5-1 ... 1 шт.

М6 ... 12 шт.

М7-1 ... 1 шт.

Черт. 23

Торец стоек СЦ20.3-1в и СЦ20.3-1н с фланцем из вальцованной трубы

Описание: БезИмени-1 copy

Количество марок на одну стойку:

М5 . . . 1 шт.

Мб ... 12 шт.

М7 . . . 1 шт.

Черт. 24

ПРИЛОЖЕНИЕ I
Обязательное

Схемы опирания и загружения стоек при испытании по прочности, жесткости
и трещиностойкости

1. Схемы опирания и загружения стоек при испытании на прочность, жесткость и трещиностойкость указаны на чертеже.

2. Основные параметры схем опирания и загружения стоек при испытании указаны в таблице.

СХЕМА ОПИРАНИЯ И ЗАГРУЖЕНИЯ СТОЕК

Описание: БезИмени-1 copy

3. Значения контрольных нагрузок Р приведены в приложении 2.

4. Нагрузку P1 прикладывают ступенями, составляющими 25 % от расчетной, указанной в таблице данного приложения.

Обозначение стоек

Размеры, м

P1, кН (тс)

Н

h

а

Н1

1

СЦ26.1-1

15

2,4

0,2

23,4

5,25

28,34 (2,89)

СЦ20.1-1

3,3

10,5

3,5

63,74 (6,5)

СЦ20.2-1

14,7

3,5

63,7 (6,5)

СЦ20.2-2

СЦ20.3-1н

СЦ20.3-1в

СЦ22.1-1

19,2

2,4

15,0

4,8

12,75 (1,3)

СЦ26.2-1

15

2,4

-

-

-

СЦ26.3-1

23,07

4,2

18,34 (1,87)

СЦ26.3-2

21,4

8,0

13,83 (1,41)

ПРИЛОЖЕНИЕ 2
Обязательное

ЗНАЧЕНИЯ ПАРАМЕТРОВ, КОНТРОЛИРУЕМЫХ ПРИ ИСПЫТАНИИ СТОЕК

1. Значения контрольных нагрузок Р при проверке прочности, жесткости и трещиностойкости стоек, а также значения контрольного прогиба и контрольной ширины раскрытия трещин, соответствующие этим нагрузкам, указаны в таблице.

2. Нагружение стоек производят ступенчато-возрастающими нагрузками. На каждой ступени обеспечивают выдержку не менее 10 мин, а при контрольных нагрузках - не менее 30 мин.

Контрольные значения прогибов стойки приведены для точки приложения силы. Стрела прогиба, замеренная при испытании, должна быть уменьшена на значение, определяемое деформацией стенда.

Трещины измеряют на приопорном участке, а ширину раскрытия трещин определяют как среднее значение на длине стойки 1 м.

Mapка стойки

Отпускная прочность бетона (% от )

Параметр

Ступень нагрузки, %

83,3

100

110

120

130

140

СЦ26.1-1.0

75

Нагрузки, кН (тс)

22,85 (2,33)

27,43 (2,80)

30,18 (3,08)

32,42 (3,36)

35,66 (3,64)

38,41 (3,92)

Прогиб, см

49,97

66,13

-

-

-

-

Ширина трещин, мм

0,063

-

-

-

-

-

85

Нагрузки, кН (тс)

23,56 (2,40)

28,28 (2,88)

31,07 (3,17)

33,89 (3,46)

36,72 (3,74)

39,54 (4,03)

Прогиб, см

49,68

66,22

-

-

-

-

Ширина трещин, мм

0,064

-

-

-

-

-

100

Нагрузки, кН (тс)

24,59 (2,51)

29,55 (3,01)

32,50 (3,31)

35,46 (3,62)

38,41 (3,92)

41,36 (4,22)

Прогиб, см

51,41

72,80

-

-

-

-

Ширина трещин, мм

0,061

-

-

-

-

-

СЦ26.1-1.1

75

Нагрузки, кН (тс)

21,40 (2,18)

25,69 (2,62)

28,26 (2,88)

30,82 (3,14)

33,39 (3,41)

35,96 (3,67)

Прогиб, см

41,64

60,52

-

-

-

-

Ширина трещин, мм

0,071

-

-

-

-

-

85

Нагрузки, кН (тс)

22,63 (2,31)

27,16 (2,77)

29,88 (3,05)

32,60 (3,32)

35,31 (3,60)

38,03 (3,88)

Прогиб, см

43,42

62,57

-

-

-

-

Ширина трещин, мм

0,076

-

-

-

-

-

100

Нагрузки, кН (тс)

24,22 (2,47)

29,13 (2,97)

32,07 (3,27)

34,91 (3,56)

37,85 (3,86)

40,80 (4,16)

Прогиб, см

47,14

68,63

-

-

-

-

Ширина трещин, мм

0,082

-

-

-

-

-

СЦ20.1-1.1

75

Нагрузки, кН (тс)

52,68 (5,37)

63,24 (6,45)

69,56 (7,09)

75,89 (7,74)

82,21 (8,38)

88,54 (9,03)

Прогиб, см

32,03

48,32

-

-

-

-

Ширина трещин, мм

0,116

-

-

-

-

-

85

Нагрузки, кН (тс)

55,03 (5,61)

66,06 (6,74)

72,71 (7,41)

79,32 (8,09)

85,93 (8,76)

92,54 (9,44)

Прогиб, см

34,19

51,81

-

-

-

-

Ширина трещин, мм

0,124

-

-

-

-

-

100

Нагрузки, кН (тс)

57,34 (5,84)

68,84 (7,02)

75,73 (7,72)

82,61 (8,42)

89,5 (9,13)

96,38 (9,83)

Прогиб, см

36,31

54,46

-

-

-

-

Ширина трещин, мм

0,123

-

-

-

-

-

СЦ20.2-1.0

75

Нагрузки, кН (тс)

64,96 (6,62)

77,98 (7,95)

85,78 (8,75)

93,57 (9,54)

101,37 (10,34)

109,17 (11,13)

Прогиб, см

33,88

47,16

-

-

-

-

Ширина трещин, мм

0,084

-

-

-

-

-

85

Нагрузки, кН (тс)

66,89 (6,82)

80,30 (8,19)

88,35 (9,01)

96,38 (9,83)

104,41 (10,65)

112,44 (11,47)

Прогиб, см

34,86

49,46

-

-

-

-

Ширина трещин, мм

0,087

-

-

-

-

-

100

Нагрузки, кН (тс)

69,17 (7,05)

83,08 (8,47)

91,37 (9,32)

99,67 (10,16)

107,98 (11,01)

116,29 (11,89)

Прогиб, см

36,15

52,59

-

-

-

Ширина трещин, мм

0,083

-

-

-

-

СЦ20.2-1.1

75

Нагрузки, кН (тс)

63,47 (6,47)

76,19 (7,77)

83,81 (8,55)

91,43 (9,32)

99,05 (10,10)

106,67 (10,88)

Прогиб, см

33,66

48,43

-

-

-

-

Ширина трещин, мм

0,113

-

-

-

-

-

85

Нагрузки, кН (тс)

65,80 (6,71)

78,99 (8,05)

86,84 (8,86)

94,73 (9,66)

102,63 (10,47)

110,52 (11,27)

Прогиб, см

35,19

51,18

-

-

-

-

Ширина трещин, мм

0,118

-

-

-

-

-

СЦ20.2-1.1

100

Нагрузки, кН (тс)

68,66 (7,00)

82,43 (8,41)

90,72 (9,25)

98,97 (10,09)

107,21 (10,93)

115,46 (11,77)

Прогиб, см

37,12

53,99

-

-

-

-

Ширина трещин, мм

0,117

-

-

-

-

-

СЦ20.2-1.2

75

Нагрузки, кН (тс)

61,09 (6,23)

73,34 (7,48)

80,67 (8,23)

88,00 (8,97)

95,34 (9,72)

102,67 (10,47)

Прогиб, см

34,58

48,90

-

-

-

-

Ширина трещин, мм

0,141

-

-

-

-

-

85

Нагрузки, кН (тс)

63,54 (6,48)

76,28 (7,78)

83,93 (8,56)

91,55 (9,34)

99,18 (10,11)

106,81 (10,89)

Прогиб, см

36,14

51,37

-

-

-

-

Ширина трещин, мм

0,147

-

-

-

-

-

100

Нагрузки, кН (тс)

66,63 (6,79)

80,02 (8,16)

88,02 (8,98)

96,03 (9,79)

104,03 (10,61)

112,03 (11,42)

Прогиб, см

38,04

54,51

-

-

-

-

Ширина трещин, мм

0,154

-

-

-

-

-

СЦ20.2-2.1

75

Нагрузки, кН (тс)

63,47 (6,47)

76,19 (7,77)

83,81 (8,55)

91,43 (9,32)

99,05 (10,10)

106,67 (10,88)

Прогиб, см

33,66

48,43

-

-

-

-

Ширина трещин, мм

0,113

-

-

-

-

-

85

Нагрузки, кН (тс)

65,80 (6,71)

78,99 (8,05)

86,84 (8,86)

94,73 (9,66)

102,63 (10,47)

110,52 (11,27)

Прогиб, см

35,19

51,18

-

-

-

-

Ширина трещин, мм

0,118

-

-

-

-

-

100

Нагрузки, кН (тс)

68,66 (7,00)

82,47 (8,41)

90,71 (9,25)

98,95 (10,09)

107,19 (10,93)

115,41 (11,77)

Прогиб, см

37,12

53,99

-

-

-

-

Ширина трещин, мм

0,117

-

-

-

-

-

СЦ20.3-1.0н

75

Нагрузки, кН (тс)

61,26 (6,25)

73,54 (7,50)

80,89 (8,25)

88,24 (9,00)

95,60 (9,75)

102,95 (10,50)

Прогиб, см

31,76

45,10

-

-

-

-

Ширина трещин, мм

0,088

-

-

-

-

-

85

Нагрузки, кН (тс)

63,06 (6,43)

75,70 (7,72)

83,28 (8,49)

90,85 (9,26)

98,42 (10,04)

105,99 (10,82)

Прогиб, см

32,67

47,12

-

-

-

-

Ширина трещин, мм

0,090

-

-

-

-

-

100

Нагрузки, кН (тс)

65,21 (6,65)

78,26 (7,98)

86,10 (8,78)

93,91 (9,58)

101,73 (10,37)

109,56 (11,17)

Прогиб, см

33,50

49,27

-

-

-

-

Ширина трещин, мм

0,091

-

-

-

-

-

СЦ20.3-1.1н

75

Нагрузки, кН (тс)

60,96 (6,22)

73,18 (7,46)

80,49 (8,21)

87,81 (8,95)

95,13 (9,70)

102,45 (10,45)

Прогиб, см

31,59

45,77

-

-

-

-

Ширина трещин, мм

0,108

-

-

-

-

-

85

Нагрузки, кН (тс)

63,46 (6,47)

76,17 (7,77)

83,82 (8,55)

91,44 (9,32)

99,06 (10,10)

106,68 (10,88)

Прогиб, см

33,29

48,77

-

-

-

-

Ширина трещин, мм

0,115

-

-

-

-

-

100

Нагрузки, кН (тс)

66,10 (6,74)

79,36 (8,09)

87,27 (8,9)

95,20 (9,71)

103,14 (10,52)

111,07 (11,34)

Прогиб, см

35,77

52,66

-

-

-

-

Ширина трещин, мм

0,113

-

-

-

-

-

СЦ20.3-1.0в

75

Нагрузки, кН (тс)

44,41 (4,53)

53,31 (5,44)

58,64 (5,98)

63,97 (6,52)

69,31 (7,07)

74,64 (7,61)

Прогиб, см

29,57

45,94

-

-

-

Ширина трещин, мм

0,124

-

-

-

-

-

85

Нагрузки, кН (тс)

45,60 (4,65)

54,74 (5,58)

60,19 (6,14)

65,67 (6,70)

71,14 (7,25)

76,61 (7,81)

Прогиб, см

30,44

47,53

-

-

-

-

Ширина трещин, мм

0,127

-

-

-

-

-

100

Нагрузки, кН (тс)

50,04 (5,10)

60,67 (5,13)

66,13 (6,74)

72,14 (7,36)

78,16 (7,97)

84,16 (8,58)

Прогиб, см

36,05

57,39

-

-

-

-

Ширина трещин, мм

0,142

-

-

-

-

-

СЦ20.3-1.1в

75

Нагрузки, кН (тс)

45,53 (4,44)

52,26 (5,33)

57,48 (5,86)

62,71 (6,39)

67,91 (6,93)

73,16 (7,46)

Прогиб, см

30,18

48,42

-

-

-

-

Ширина трещин, мм

0,178

-

-

-

-

85

Нагрузки, кН (тс)

44,94 (4,58)

53,95 (5,50)

59,33 (6,05)

64,72 (6,6)

70,12 (7,15)

75,5 (7,70)

Прогиб, см

31,74

50,99

-

-

-

-

Ширина трещин, мм

0,187

-

-

-

-

-

100

Нагрузки, кН (тс)

50,05 (5,10)

60,11 (6,13)

66,13 (6,74)

72,14 (7,36)

78,15 (7,97)

84,16 (8,58)

Прогиб, см

39,91

65,07

-

-

-

-

Ширина трещин, мм

0,222

-

-

-

-

-

СЦ22.1-1.0

75

Нагрузки, кН (тс)

18,33 (1,87)

22,01 (2,24)

24,21 (2,47)

26,41 (2,69)

28,61 (2,92)

30,81 (3,14)

Прогиб, см

85,37

111,53

-

-

-

-

Ширина трещин, мм

0,065

-

-

-

-

-

85

Нагрузки, кН (тс)

24,18 (2,47)

22,68 (2,31)

24,92 (2,54)

27,18 (2,77)

29,45 (3,00)

31,71 (3,23)

Прогиб, см

85,77

111,85

-

-

-

-

Ширина трещин, мм

0,067

-

-

-

-

-

100

Нагрузки, кН (тс)

19,73 (2,01)

23,69 (2,42)

26,11 (2,66)

28,48 (2,90)

30,85 (3,15)

33,22 (3,39)

Прогиб, см

88,97

124,32

-

-

-

-

Ширина трещин, мм

0,065

-

-

-

-

-

СЦ22.1-1.1

75

Нагрузки, кН (тс)

18,81 (1,92)

22,58 (2,30)

24,84 (2,53)

27,10 (2,76)

29,36 (2,99)

31,61 (3,22)

Прогиб, см

89,67

114,95

-

-

-

-

Ширина трещин, мм

0,081

-

-

-

-

-

85

Нагрузки, кН (тс)

19,52 (1,99)

23,43 (2,39)

25,78 (2,63)

28,13 (2,87)

30,47 (3,11)

32,81 (3,35)

Прогиб, см

90,69

116,11

-

-

-

-

Ширина трещин, мм

0,084

-

-

-

-

-

100

Нагрузки, кН (тс)

20,53 (2,09)

24,65 (2,51)

27,08 (2,76)

29,54 (3,01)

32,00 (3,26)

34,46 (3,51)

Прогиб, см

95,04

124,59

-

-

-

-

Ширина трещин, мм

0,088

-

-

-

-

-

СЦ26.2-1.0

75

Нагрузки, кН (тс)

16,44 (1,68)

19,74 (2,01)

21,71 (2,21)

23,68 (2,41)

25,66 (2,62)

27,63 (2,82)

Прогиб, см

29,13

47,86

-

-

-

-

Ширина трещин, мм

0,058

-

-

-

-

-

85

Нагрузки, кН (тс)

17,21 (1,75)

20,66 (2,11)

22,76 (2,32)

24,83 (2,53)

26,90 (2,74)

28,97 (2,95)

Прогиб, см

30,14

49,31

-

-

-

-

Ширина трещин, мм

0,061

-

-

-

-

-

100

Нагрузки, кН (тс)

18,21 (1,86)

21,86 (2,23)

24,06 (2,45)

26,24 (2,68)

28,43 (2,90)

30,62 (3,12)

Прогиб, см

32,78

53,07

-

-

-

-

Ширина трещин, мм

0,062

-

-

-

-

-

СЦ26.3-1.0

75

Нагрузки, кН (тс)

18,77 (1,91)

22,53 (2,30)

24,78 (2,53)

27,04 (2,76)

29,29 (2,99)

31,54 (3,22)

Прогиб, см

44,67

64,89

-

-

-

-

Ширина трещин, мм

0,072

-

-

-

-

-

85

Нагрузки, кН (тс)

19,53 (1,99)

23,44 (2,39)

25,79 (2,63)

28,13 (2,87)

30,48 (3,11)

32,82 (3,35)

Прогиб, см

45,46

65,51

-

-

-

-

Ширина трещин, мм

0,074

-

-

-

-

-

100

Нагрузки, кН (тс)

20,43 (2,08)

24,53 (2,50)

26,97 (2,75)

29,42 (3,00)

31,87 (3,25)

34,32 (3,50)

Прогиб, см

47,42

69,69

-

-

-

-

Ширина трещин, мм

0,072

-

-

-

-

-

СЦ26.3-1.1

75

Нагрузки, кН(тс)

16,04 (1,64)

19,25 (1,96)

21,18 (2,16)

23,10 (2,36)

25,03 (2,55)

26,96 (2,75)

Прогиб, см

30,95

49,79

-

-

-

-

Ширина трещин, мм

0,072

-

-

-

-

-

85

Нагрузки, кН(тс)

17,04 (1,74)

20,45 (2,09)

22,50 (2,29)

24,54 (2,50)

26,59 (2,71)

28,63 (2,92)

Прогиб, см

33,16

53,07

-

-

-

-

Ширина трещин, мм

0,081

-

-

-

-

-

100

Нагрузки, кН(тс)

18,38 (1,87)

22,06 (2,25)

24,27 (2,48)

26,48 (2,70)

28,68 (2,93)

30,89 (3,15)

Прогиб, см

37,76

58,89

-

-

-

-

Ширина трещин, мм

0,089

-

-

-

-

-

СЦ26.3-1.2

75

Нагрузки, кН (тс)

15,64 (1,60)

18,78 (1,92)

20,66 (2,11)

22,54 (2,30)

24,41 (2,49)

26,29 (2,68)

Прогиб, см

22,80

33,76

-

-

-

-

Ширина трещин, мм

0,049

-

-

-

-

-

85

Нагрузки, кН (тс)

16,92 (1,73)

20,31 (2,07)

22,35 (2,28)

24,38 (2,49)

26,41 (2,69)

28,44 (2,90)

Прогиб, см

24,31

37,37

-

-

-

-

Ширина трещин, мм

0,053

-

-

-

-

-

100

Нагрузки, кН (тс)

18,66 (1,90)

22,40 (2,28)

24,60 (2,51)

26,83 (2,74)

29,07 (2,96)

31,30 (3,19)

Прогиб, см

27,75

42,96

-

-

-

-

Ширина трещин, мм

0,059

-

-

-

-

-

СЦ26.3-2.0

75

Нагрузки, кН (тс)

18,77 (1,91)

22,53 (2,30)

24,78 (2,53)

27,04 (2,76)

29,29 (2,89)

31,54 (3,22)

Прогиб, см

44,67

64,89

-

-

-

-

Ширина трещин, мм

0,072

-

-

-

-

-

85

Нагрузки, кН (тс)

19,53 (1,99)

23,44 (2,39)

25,79 (2,63)

28,13 (2,87)

30,48 (3,11)

32,82 (3,35)

Прогиб, см

45,46

65,51

-

-

-

-

Ширина трещин, мм

0,074

-

-

-

-

-

100

Нагрузки, кН (тс)

20,43 (2,08)

24,53 (2,50)

26,97 (2,75)

29,42 (3,00)

31,87 (3,25)

34,32 (3,50)

Прогиб, см

47,42

69,69

-

-

-

-

Ширина трещин, мм

0,072

-

-

-

-

-

СЦ26.3-2.1

75

Нагрузки, кН (тс)

16,04 (1,64)

19,25 (1,96)

21,18 (2,16)

23,10 (2,36)

25,03 (2,55)

26,96 (2,75)

Прогиб, см

30,95

49,79

-

-

-

-

Ширина трещин, мм

0,072

-

-

-

-

-

85

Нагрузки, кН (тс)

17,04 (1,74)

20,45 (2,09)

22,50 (2,29)

24,54 (2,50)

26,59 (2,71)

28,63 (2,93)

Прогиб, см

33,16

53,07

-

-

-

-

Ширина трещин, мм

0,081

-

-

-

-

-

100

Нагрузки, кН (тс)

18,38 (1,87)

22,06 (2,25)

24,27 (2,48)

26,48 (2,70)

28,68 (2,93)

30,89 (3,15)

Прогиб, см

37,72

58,80

-

-

-

-

Ширина трещин, мм

0,089

-

-

-

-

-

ПРИЛОЖЕНИЕ 3
Справочное

Марки цилиндрических железобетонных центрифугированных стоек

Обозначение по ГОСТ 22687-77, ГОСТ 24762-81

Марка стойки по ГОСТ 22687.2-85

СЦ5

СЦ26.1-1.0

СЦ5-1

СЦ26.1-1.1

СЦ8-1

СЦ20.1-1.1

СЦ10

СЦ20.2-1.0

СЦ10-1

СЦ20.2-1.1

СЦ10-2

СЦ20.2-1.2

СЦ11-1

СЦ20.2-2.1

СЦ12н

СЦ20.3-1.0н

СЦ12н-1

СЦ20.3-1.1н

СЦ12в

СЦ20.3-1.0в

СЦ12в-1

СЦ20.3-1.1в

СЦ20

СЦ22.1-1.0

СЦ20-1

СЦ22.1-1.1

СЦ33

СЦ26.2-1.0

СЦ36

СЦ26.3-1.0

СЦ36-1

СЦ26.3-1.1

СЦ36-2

СЦ26.3-1.2

СЦ37

СЦ26.3-2.0

СЦ37-1

СЦ26.3-2.1

 



© 2013 Ёшкин Кот :-)