Информационная система
«Ёшкин Кот»

XXXecatmenu

ГОСУДАРСТВЕННЫЙ СТАНДАРТ СОЮЗА ССР

ГРУНТЫ

МЕТОД ПОЛЕВОГО ОПРЕДЕЛЕНИЯ УДЕЛЬНЫХ
КАСАТЕЛЬНЫХ СИЛ МОРОЗНОГО ПУЧЕНИЯ

ГОСТ 27217-87

 

ГОСУДАРСТВЕННЫЙ СТРОИТЕЛЬНЫЙ КОМИТЕТ СССР

Москва

 

ГОСУДАРСТВЕННЫЙ СТАНДАРТ СОЮЗА ССР

ГРУНТЫ

Метод полевого определения удельных
касательных сил морозного пучения

Soils. Field method for determining frost-heave
specific tangential forces

ГОСТ
27217-87

Дата введения 01.07.87

Настоящий стандарт распространяется на грунты без жестких структурных связей, обладающие пучинистыми свойствами, и устанавливают метод полевого определения удельных касательных сил морозного пучения, действующих вдоль боковой поверхности фундамента, при исследованиях грунтов для строительства.

Термины, применяемые в настоящем стандарте, и их пояснения приведены в справочном приложении 1.

1. ОБЩИЕ ПОЛОЖЕНИЯ

1.1. Удельную касательную силу морозного пучения определяют как отношение измеренной при испытаниях на специальных установках максимальной касательной силы морозного пучения, действующей на образец фундамента, к его боковой поверхности, находящейся в промерзающем грунте.

Удельную касательную силу морозного пучения определяют в целях:

назначения глубины заложения и выбора типа фундаментов зданий и сооружений;

разработки мероприятий, уменьшающих силы и деформации морозного пучения и исключающих возможность появления недопустимых деформаций оснований и фундаментов.

1.2. Максимальные касательные силы морозного пучения определяют не менее чем для двух одинаковых образцов фундамента на испытательных установках, расположенных на площадках, очищенных в течение всего периода испытаний от растительного покрова и снега на расстоянии (в радиусе) не менее 2 м от боковой поверхности образца фундамента.

1.3. За максимальную касательную силу морозного пучения принимают наибольшее значение, полученное в результате испытаний образцов фундамента.

1.4. Места расположения испытательных установок назначают в программе исследований на основе инженерно-геологической съемки в зависимости от инженерно-геологических, гидрогеологических и геокриологических (в районах распространения вечномерзлых грунтов) условий с учетом факторов, влияющих на процессы морозного пучения грунта (положение уровня подземных вод, наличие обводненных участков и т.д.), и размещения существующих и проектируемых зданий и сооружений.

1.5. Результаты полевых определений удельных касательных сил морозного пучения должны сопровождаться данными о месте проведения испытаний, описанием грунтов и их физико-механическими характеристиками, а также данными о глубине сезонного промерзания-оттаивания.

2. ПРИБОРЫ И ОБОРУДОВАНИЕ

2.1. В состав установки для определения удельных значений касательных сил морозного пучения должны входить:

образец фундамента;

анкерное устройство (с центральным анкером, с анкерными сваями);

силоизмерительное устройство (шариковый индикатор, тензометрический динамометр с записывающим устройством и др.);

приборы для измерения размеров отпечатков на верхней пластине шарикового индикатора (отсчетный микроскоп МПБ-2, лупа Польди и др.).

Принципиальные схемы установок приведены в рекомендуемом приложении 2, конструкция шарикового индикатора - в рекомендуемом приложении 3.

Примечание. Допускается использовать пружинные динамометры при жесткости пружины динамометра не менее 0,05 MН/мм (5,0 тс/мм).

2.2. Конструкция установки должна обеспечивать:

неподвижность анкерной тяги или системы упорных балок в течение периода испытаний;

центрированную передачу усилия (касательной силы морозного пучения) на силоизмерительное устройство.

2.3. Приборы для измерения размеров отпечатков должны обеспечивать измерение глубины отпечатка с погрешностью не более 0,01 мм, а диаметра отпечатка - не более 0,1 мм.

2.4. Образец фундамента изготавливают в виде железобетонной стойки квадратного сечения 20´20 и 30´30 см. Размеры поперечного сечения и длину образца определяют в зависимости от вида грунта слоя сезонного промерзания-оттаивания и глубины его промерзания.

Примечания:

1. В специальных случаях, определенных программой испытаний, допускается изготовлять образцы фундамента из других материалов (дерево, металл и др.) и другой формы.

2. При применении анкерного устройства с центральной тягой образец должен иметь сквозное осевое отверстие диаметром, превышающим на 10 мм диаметр анкерной тяги.

3. Допускается применение в качестве образцов фундамента жeлезобетонных свай.

2.5. Все конструкции установки должны быть рассчитаны на нагрузку, превышающую на 50 % предполагаемую касательную силу морозного пучения, определяемую по указаниям рекомендуемого приложения 4.

2.6. Измерительные приборы должны быть защищены от непосредственного воздействия солнечных лучей, сильного ветра, атмосферных осадков и снежных заносов.

3. ПОДГОТОВКА К ИСПЫТАНИЯМ

3.1. После монтажа анкерного устройства в котлован (скважину, шурф) погружают вертикально образец фундамента на глубину, равную нормативной глубине сезонного промерзания-оттаивания. Верх образца должен выступать над поверхностью грунта не менее чем на 0,5 м. Обратную засыпку котлована следует выполнять с послойным трамбованием грунта слоями высотой не более 0,1 м.

Примечание. В районах распространения вечномерзлых грунтов сроки монтажа установки должны быть назначены из условия обеспечения смерзания нижних концов анкерных свай с вечномерзлым грунтом основания до начала сезонного промерзания грунта.

3.2. Верх образца фундамента необходимо выровнять жестким цементным раствором. В случае применения анкерного устройства с центральной тягой зазор между тягой и центральным отверстием в образце следует заполнять смазкой (например, солидолом, техническим вазелином). Не допускается попадание в зазор цементного раствора.

3.3. Установку силоизмерительных приборов следует производить не ранее чем через 10 дней после погружения образца фундамента. При этом должно быть обеспечено плотное примыкание прибора к образцу и анкерному устройству.

3.4. После монтажа установки производят нивелирование отметки верха образца фундамента (относительно ближайшего репера), а также отметок верха анкерных свай - в случае применения двуханкерного устройства.

3.5. Все работы по монтажу установки должны быть выполнены до начала промерзания грунта (в период положительных температур воздуха).

4. ПРОВЕДЕНИЕ ИСПЫТАНИЙ

4.1. Снятие показаний динамометров с записывающим устройством или измерение глубины отпечатков на верхней пластине шарикового индикатора производят после промерзания грунта на всю глубину сезонного промерзания-оттаивания.

Примечания:

1. При отсутствии записывающего устройства показания динамометров следует снимать не реже раза в 7 дней с начала промерзания грунта.

2. При демонтаже шарикового индикатора гайка и контргайка должны быть отвернуты при помощи двух гаечных ключей (с приложением встречных моментов вращения) для исключения сдвига пластины индикатора относительно шариков.

3. Допускается измерять диаметры отпечатков на верхней пластине шарикового индикатора. При эллипсовидной форме отпечатка измеряют меньший его диаметр.

4.2. Перед снятием показаний силоизмерительных устройств должно быть произведено нивелирование отметок верха образца фундамента и верха анкерных свай. Допустимые расхождения с отметкой, определенной после монтажа установки, составляют: ±10 мм - при талых грунтах основания и ±6 мм - при вечномерзлых грунтах основания.

4.3. Результаты измерений размеров отпечатков и показания динамометров заносят в журнал, форма которого приведена в рекомендуемом приложении 5.

5. ОБРАБОТКА РЕЗУЛЬТАТОВ

Удельную касательную силу морозного пучения , МПа (кгс/см2) вычисляют по формуле

                                                               (1)

где F - максимальная касательная сила морозного пучения, зарегистрированная показаниями приборов, МН (кгс);

u - периметр поперечного сечения образца фундамента, м (см);

df - глубина сезонного промерзания (оттаивания) грунта, м (см);

G - вес образца фундамента, МН (кгс).

Примечание. В случае применения шарикового индикатора силу F, МН (кгс), вычисляют по формуле

                                                                                     (2)

где Fi (i = 1, 2, 3) - силы, МН (кгс), рассчитанные по размерам каждого из трех отпечатков по формулам:

при определении Fi по глубине отпечатка

                                                                               (3)

при определении Fi по диаметру отпечатка

                                                       (4)

где HВ - твердость металла верхней пластины индикатора, МН/мм (кгс/мм);

D - диаметр шарика, мм;

dt, i - глубина отпечатка i-го шарика, мм;

Dt, i - диаметр отпечатка i-го шарика, мм.

ПРИЛОЖЕНИЕ 1

Справочное

ПОЯСНЕНИЯ ТЕРМИНОВ, ПРИМЕНЯЕМЫХ В НАСТОЯЩЕМ СТАНДАРТЕ

Морозное пучение грунта - увеличение объема влажного грунта при замерзании в нем воды, приводящее к подъему слоя промерзающего грунта.

Касательная сила морозного пучения - сила, действующая в процессе подъема промерзающего грунта вдоль боковой поверхности фундамента, обусловленная сопротивлением смерзания и трения его с промерзающим грунтом.

Удельное значение касательной силы морозного пучения - касательная сила пучения, отнесенная к площади боковой поверхности фундамента, контактирующей с промерзающим грунтом.

ПРИЛОЖЕНИЕ 2

Рекомендуемое

СХЕМЫ УСТАНОВОК ДЛЯ ОПРЕДЕЛЕНИЯ УДЕЛЬНЫХ КАСАТЕЛЬНЫХ СИЛ МОРОЗНОГО ПУЧЕНИЯ

Установка с центральным анкером

а) с анкерной плитой

б) с лопастями

Установка с анкерными сваями

1 - образец фундамента; 2 - силоизмерительное устройство; 3 - анкерная тяга; 4 - анкерная свая; 5 - анкерная плита; 6 - система упорных балок; 7 - подошва слоя сезонного промерзания-оттаивания грунта; 8 - анкерная тяга с лопастями (для районов распространения вечномерзлых грунтов)

Черт. 1

ПРИЛОЖЕНИЕ 3

Рекомендуемое

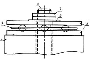
РЕКОМЕНДАЦИИ ПО ИЗГОТОВЛЕНИЮ ШАРИКОВОГО ИНДИКАТОРА

Шариковый индикатор (см. черт. 2) состоит из двух стальных пластин, между которыми в сепараторе расположены три шарика из высокопрочной стали (шарики подшипников - по ГОСТ 3722-81).

Схема шарикового индикатора

1 - образец фундамента; 2 - пластины индикатора; 3 - сепаратор с шариками; 4 - анкерная тяга; 5 - гайка и контргайка; 6 - шайба (полиэтиленовая прокладка)

Черт. 2

Для фиксации положения шариков в нижней пластине устраивают три лунки, расположенные в вершинах равностороннего треугольника, центр которого должен совпадать с центром пластины. При этом расстояние от центра лунки до края пластины должно быть не менее 2D (D - диаметр шарика).

Верхняя пластина со стороны, обращенной к шарикам, должна быть отшлифована.

Для измерительной установки с одним анкером пластины должны иметь центральное отверстие для пропуска анкерной тяги.

Размеры пластин и шариков в зависимости от значения предполагаемой касательной силы морозного пучения, действующей на образец фундамента, приведены в табл. 1.

Значение твердости стали НВ верхней пластины устанавливают испытанием по методике СТ СЭВ 468-77 с использованием шарика диаметром, равным диаметру шариков, применяемых в индикаторе, и наносят на пластину. Полученное значение должно находиться в пределах 1,0 - 2,5 кН/мм2 (100 - 250 кгс/мм2).

При сборке и установке шарикового индикатора все его детали должны быть покрыты консервационной смазкой.

Таблица 1

Предполагаемая касательная сила морозного пучения МН (тс)

Размеры шарикового индикатора

Размеры пластин в плане, см

Толщина пластин, мм

Глубина лунки в нижней пластине, мм

Диаметр шариков, мм

Fк £ 0,1 (10)

16´16

10

3

10

0,1 (10) < Fк £ 0,2 (20)

16´16

14

4,5

14

0,2 (20) < Fк £ 0,4 (40)

20´20

18

6

18

Примечание. Диаметры шариков могут отличаться от указанных в таблице на ±10 %, но в каждом индикаторе должны быть равными между собой.

ПРИЛОЖЕНИЕ 4

Рекомендуемое

ОПРЕДЕЛЕНИЕ ПРЕДПОЛАГАЕМЫХ КАСАТЕЛЬНЫХ СИЛ МОРОЗНОГО ПУЧЕНИЯ ГРУНТА

Значение предполагаемой касательной силы морозного пучения грунта Ff , МН (кгс), вычисляют по формуле

,                                                           (5)

где  - удельная касательная сила морозного пучения, МПа (кгс/см2), принимаемая по табл. 2;

df - нормативная глубина сезонного промерзания-оттаивания грунта, м (см);

u - периметр поперечного сечения образца фундамента, м (см);

Km - коэффициент, принимаемый в зависимости от материала образца фундамента, равный:

для бетона - 1,0;

для дерева - 0,9;

для металла - 0,8.

Таблица 2

Грунты

Удельные касательные силы морозного пучения , МПа (кгс/см2), при глубине сезонного промерзания-оттаивания, м

1. Пылевато-глинистые при показателе текучести IL > 0,5;

пески мелкие и пылеватые при степени влажности Sr > 0,95

0,11 (1,1)

0,13 (1,3)

0,09 (0,9)

0,11 (1,1)

0,07 (0,7)

0,09 (0,9)

2. Пылевато-глинистые при 0,25 < IL £ 0,5;

пески мелкие и пылеватые при 0,8 < Sr £ 0,95;

крупнообломочные с заполнителем (пылевато-глинистым, мелкопесчаным) более 30 %

0,09 (0,9)

0,1 (1,0)

0,07 (0,7)

0,09 (0,9)

0,055 (0,55)

0,07 (0,7)

3. Пылевато-глинистые при IL £ 0,25;

пески мелкие и пылеватые при 0,6 < Sr £ 0,8;

крупнообломочные с заполнителем (пылевато-глинистым, мелкопесчаным) от 10 до 30 %

0,07 (0,7)

0,08 (0,8)

0,055 (0,55)

0,07 (0,7)

0,04 (0,4)

0,05 (0,5)

Примечание. В знаменателе даны значения  для районов распространения вечномерзлых грунтов.

ПРИЛОЖЕНИЕ 5

Рекомендуемое

(Первая страница журнала)

Организация _______________________________________________________________

ЖУРНАЛ №

ПОЛЕВОГО ОПРЕДЕЛЕНИЯ УДЕЛЬНЫХ КАСАТЕЛЬНЫХ СИЛ МОРОЗНОГО ПУЧЕНИЯ

Пункт ________________________________

Объект _______________________________

Испытательная установка № _____________

Дата монтажа установки ________________

Дата окончания испытаний ______________

Образец фундамента № _________________         Абсолютные отметки:

Материал образца ______________________        верха образца ________________ м

Размеры образца _______________________        верха анкеров ________________ м

Вес образца ___________________________

Глубина погружения образца ____________

Нормативная глубина сезонного

промерзания-оттаивания ________________

Описание грунтовых условий ____________

______________________________________

Приборы (тип и номер) для измерения касательных сил морозного пучения (для шарикового индикатора - твердость стали верхней пластины НВ, диаметр шариков).

Схема размещения установки для испытаний

(Последующие страницы журнала)

Объект _______________________ Испытание № ___________ Стр. _________________

Дата

Показания

Размеры отпечатков шарикового индикатора

Периметр образца фундамента, u, м (см)

Глубина погружения

образца, df , м (см)

Вес образца фундамента G, МН (кгс)

Сила F,

МН (кгс)

F + G, МН (кгс)

Удельная касательная сила морозного пучения , МПа (кгс см2)

Примечание

Глубина отпечатка d, мм

Диаметр отпечатка D, мм

1-й отпечаток

2-й отпечаток

3-й отпечаток

1-й отпечаток

2-й отпечаток

3-й отпечаток

 

 

 

 

 

 

 

 

 

 

 

 

 

 

 

 

 

 

 

 

 

 

 

 

 

 

 

 

 

 

Ответственный исполнитель ________________________________________

(должность, подпись, инициалы, фамилия)

Наблюдатели:     1. __________________________________________________

(должность, подпись, инициалы, фамилия)

2. __________________________________________________

ИНФОРМАЦИОННЫЕ ДАННЫЕ

1. РАЗРАБОТАН И ВНЕСЕН Научно-исследовательским институтом оснований и подземных сооружений (НИИОСП) им. Н.М. Герсеванова Госстроя СССР

ИСПОЛНИТЕЛИ

В.О. Орлов, д-р техн. наук (руководитель темы); И.В. Шейкин, канд. техн. наук; В.Д. Филиппов; О.Н. Сильницкая

2. УТВЕРЖДЕН И ВВЕДЕН В ДЕЙСТВИЕ Постановлением Государственного строительного комитета СССР от 29.01.87 № 18

3. ВВЕДЕН ВПЕРВЫЕ

4. ССЫЛОЧНЫЕ НОРМАТИВНО-ТЕХНИЧЕСКИЕ ДОКУМЕНТЫ

СОДЕРЖАНИЕ

1. Общие положения. 1

2. Приборы и оборудование. 2

3. Подготовка к испытаниям.. 3

4. Проведение испытаний. 3

5. Обработка результатов. 3

Приложение 1 Пояснения терминов, применяемых в настоящем стандарте. 4

Приложение 2 Схемы установок для определения удельных касательных сил морозного пучения. 4

Приложение 3 Рекомендации по изготовлению шарикового индикатора. 5

Приложение 4 Определение предполагаемых касательных сил морозного пучения грунта. 6

Приложение 5 Журнал полевого определения удельных касательных сил морозного пучения. 7

 



© 2013 Ёшкин Кот :-)