Информационная система
«Ёшкин Кот»

XXXecatmenu

ГОСТ 25809-96

МЕЖГОСУДАРСТВЕННЫЙ СТАНДАРТ

СМЕСИТЕЛИ И КРАНЫ ВОДОРАЗБОРНЫЕ

Типы и основные размеры

Межгосударственная Научно-техническая Комиссия
по стандартизации, техническому нормированию
и сертификации в строительстве (МНТКС)

Москва

1998

Предисловие

1 РАЗРАБОТАН Научно-исследовательским институтом санитарной техники (НИИсантехники) Российской Федерации

ВНЕСЕН Минстроем России

2 ПРИНЯТ Межгосударственной научно-технической комиссией по стандартизации, техническому нормированию и сертификации в строительстве (МНТКС) 15 мая 1996 г.

За принятие проголосовали

Наименование государства

Наименование органа государственного управления строительством

Республика Азербайджан

Госстрой Азербайджанской Республики

Республика Армения

Министерство градостроительства Республики Армения

Республика Белоруссия

Госстрой Республики Белоруссия

Республика Казахстан

Минстрой Республики Казахстан

Кыргызская Республика

Госстрой Кыргызской Республики

Республика Молдова

Департамент Архитектуры и строительства Республики Молдова

Российская Федерация

Минстрой России

Республика Таджикистан

Госстрой Республики Таджикистан

Республика Узбекистан

Госкомархитектстрой Республики Узбекистан

Украина

Госкомградостроительства Украины

3 ВЗАМЕН ГОСТ 25809-83

4 ВВЕДЕН В ДЕЙСТВИЕ с 1 января 1998 г. в качестве государственного стандарта Российской Федерации постановлением Госстроя России от 25 декабря 1997 г. № 18-73.

 

ГОСТ 25809-96

МЕЖГОСУДАРСТВЕННЫЙ СТАНДАРТ

СМЕСИТЕЛИ И КРАНЫ ВОДОРАЗБОРНЫЕ

Типы и основные размеры

Water supply mixing valves and taps.

Types and principal dimensions

Дата введения 1998-01-01

1 Область применения

Настоящий стандарт распространяется на водоразборные смесители и краны для умывальников, рукомойников, моек, раковин, ванн, душа, бидэ, предназначенные для подачи и смешения холодной и горячей (температурой до 75 °С) воды, поступающей из централизованных или местных систем холодного и горячего водоснабжения при рабочем давлении от 0,05 до 0,63 МПа или от 0,05 до 1,0 МПа.

Обязательные требования изложены в пунктах 3.2, 3.4 - 3.16.

2 Нормативные ссылки

В настоящем стандарте использованы ссылки на следующие стандарты:

ГОСТ 8870-79 Колонки водогрейные для ванн. Технические условия

ГОСТ 19681-94 Арматура санитарно-техническая водоразборная. Общие технические условия

3 Типы и основные размеры

3.1 Обозначения, определяющие тип смесителя или крана: См - смеситель, Кр - кран, Ум - для умывальника, М - для мойки, В - для ванны, ВУ - общий для ванны и умывальника, Дш - для душа, Бд - для бидэ, К - для водогрейной колонки, Д - двухрукояточный, О - однорукояточный, Л - локтевой, Р - с подводками в раздельных отверстиях, Ц - центральный (с подводками, размещенными в одном отверстии), Б - набортный, Н - настенный, З - застенный, Шл - с душевой сеткой на гибком шланге, Шт - с душевой сеткой на штанге, Тр - с душевой сеткой на стационарной трубке, Щб - со щеткой с набортным креплением, Щн - со щеткой с настенным креплением, А - излив с аэратором, Ив - излив выдвижной, Ст - излив со струевыпрямителем, р - излив с развальцованным носиком.

3.2 Условное обозначение типа смесителя или крана в технической документации или при заказе должно состоять из букв: См - для смесителя или Кр - для крана, типа смесителя или крана, указанного последовательным набором буквенных обозначений, приведенных в 3.1, и обозначения настоящего стандарта.

В условное обозначение настенного смесителя перед обозначением настоящего стандарта добавляют цифры 10 или 15 в зависимости от межцентрового расстояния штуцеров 100 или 150 мм.

Пример условного обозначения типа смесителя для умывальника, однорукояточного, центрального, набортного, с аэратором:

См-УмОЦБА ГОСТ 25809-96

То же, для мойки двухрукояточного, центрального, набортного с аэратором:

См-МДЦБА ГОСТ 25809-96

То же, для ванны, однорукояточного, раздельного, настенного, с душевой сеткой на гибком шланге и штанге, со струевыпрямителем и межцентровым расстоянием 150 мм:

См-ВОРНШлШтСт-15 ГОСТ 25809-96

То же, общего для ванны и умывальника, двухрукояточного, раздельного, настенного, с душевой сеткой на гибком шланге, с аэратором и межцентровым расстоянием 150 мм:

См-ВУДРНШлА-15 ГОСТ 25809-96

То же, для душа, двухрукояточного, раздельного, настенного, с душевой сеткой на стационарной трубке и межцентровым расстоянием 150 мм:

См-ДшДРНТр-15 ГОСТ 25809-96

3.3 Форма и конструкция корпусов смесителей и кранов, переключателей воды, изливов, аэраторов, душевых трубок, шлангов, душевых сеток, щеток, маховичков вентильных головок или рукояток, деталей присоединения смесителей и кранов к сетям холодной и горячей воды, крепления душевых сеток к стене или на корпусе смесителя настоящим стандартом не регламентируются, а определяются рабочими чертежами.

3.4 Настенные смесители изготовляют с расстоянием между центрами штуцеров для присоединения патрубков подвода воды, равным 100 и 150 мм, в соответствии с заказами потребителей.

3.5 Изливы смесителей и кранов изготавливают с аэратором, струевыпрямителем или развальцованным носиком.

3.6 Основные и присоединительные размеры смесителей и кранов и предельные отклонения от размеров должны соответствовать указанным на рисунках 1 - 29 и в таблицах 1 - 11.

3.7 Центральные смесители для умывальников, моек изготовляют с литым тройником или с гибкими трубками, предназначенными для присоединения смесителя к сетям холодной и горячей воды, основные размеры которых указаны на рисунке 22.

3.8 Основные размеры седла клапана и резьбы седла для присоединения вентильных головок должны соответствовать указанным на рисунке 24.

3.9 Размер резьбы накидных гаек и штуцеров для присоединения душевых трубок и шлангов должен быть G 1/2-В, а поворотных изливов - G 3/4-В.

3.10 Размер резьбы узла присоединения душевой сетки к душевой трубке и трубке рукоятки гибкого шланга должен быть G 1/2-B.

3.11 Размеры резьбы узла присоединения аэратора к изливам должны соответствовать указанным на рисунке 25.

3.12 Смесители и краны центральные набортные должны иметь размер корпуса, обеспечивающий их монтаж на отверстии мойки, раковины, умывальника или рукомойника диаметром 34 мм.

3.13 Гибкие подводки центральных и набортных смесителей (рисунок 22) должны обеспечивать удобство монтажа (гибку без применения дополнительного инструмента).

3.14 Патрубки для присоединения настенных смесителей к сетям холодной и горячей воды должны иметь эксцентриситет не менее 3 мм и внутренние реборды или наружные лыски для завинчивания их в муфту или угольник.

3.15 Конструкция смесителей к водогрейным колонкам должна исключать возможность повышения давления в водяном баке колонки выше 0,1 МПа.

3.16 Предприятия-изготовители должны поставлять смесители и краны комплектно. В комплект входит смеситель или кран со всеми деталями (облицовочные шайбы, патрубки или узлы присоединения к сетям холодной или горячей воды, детали крепления, прокладки и т.д.), предусмотренными технической документацией.

3.17 Технические требования, правила приемки, методы испытаний, маркировка, упаковка, транспортирование, хранение, указания по монтажу и эксплуатации смесителей и кранов и гарантии изготовителя - по ГОСТ 19681.

3.18 Время действия порционных полуавтоматических смесителей и кранов не должно превышать 60 с.

Таблица 1

L

H

Область применения

мм, не менее

110

70

В смесителях для умывальников

180

130

В смесителях для моек с одной чашей

240

130

То же, с двумя чашами

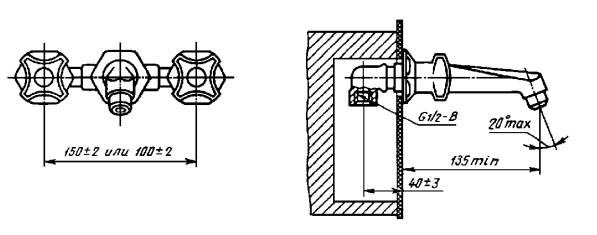
Рисунок 1 - Смеситель для умывальника и мойки двухрукояточный центральный набортный, излив с аэратором. Типы См-УмДЦБА, См-МДЦБА

Таблица 2

L

H

Область применения

мм, не менее

110

70

В смесителях для умывальников

180

130

В смесителях для моек с одной чашей

240

130

То же, с двумя чашами

Рисунок 2 - Смеситель для умывальника и мойки двухрукояточный центральный набортный, излив с аэратором. Типы См-УмДЦБА, См-МДЦБА

Рисунок 3 - Смеситель для умывальника однорукояточный локтевой с подводками в раздельных отверстиях настенный. Тип См-УмОЛРН

Рисунок 4 - Смеситель для умывальника двухрукояточный с подводками в раздельных отверстиях застенный, излив с аэратором. Тип См-УмДРЗА

Рисунок 5 - Смеситель для умывальника двухрукояточный с подводками в раздельных отверстиях настенный, излив с аэратором. Тип См-УмДРНА

Таблица 3

L

H

Область применения

мм, не менее

110

70

В смесителях для умывальников

180

130

В смесителях для моек с одной чашей

240

130

То же, с двумя чашами

Рисунок 6 - Смеситель для умывальника и мойки двухрукояточный с подводками в раздельных отверстиях набортный, излив с аэратором. Типы См-УмДРБА, См-МДРБА

Таблица 4

L

H

Область применения

мм, не менее

110

70

В смесителях для умывальников

180

130

В смесителях для моек с одной чашей

240

130

То же, с двумя чашами

Рисунок 7 - Смеситель для умывальника и мойки однорукояточный центральный набортный, излив с аэратором. Типы См-УмОЦБА, См-МОЦБА

Таблица 5

L, мм, не менее

Область применения

180

В смесителях для моек с одной чашей

 

240

То же, с двумя чашами

 

Рисунок 8 - Смеситель для мойки двухрукояточный центральный набортный со щеткой с набортным креплением, излив с аэратором. Тип См-МДЦБЩбА

Таблица 6

L, мм, не менее

Область применения

180

В смесителях для моек с одной чашей

 

240

То же, с двумя чашами

 

Рисунок 9 - Смеситель для мойки двухрукояточный центральный набортный со щеткой с настенным креплением, излив с аэратором. Тип См-МДЦБЩнА

Таблица 7

L, мм, не менее

Область применения

110

В смесителях для умывальников

 

180

В смесителях для моек с одной чашей

 

240

То же, с двумя чашами

 

Рисунок 10 - Смеситель для умывальника и мойки двухрукояточный с подводками в раздельных отверстиях настенный, излив с аэратором. Типы См-УмДРНА, См-МДРНА

Таблица 8

L, мм, не менее

Область применения

180

В смесителях для моек с одной чашей

 

240

То же, с двумя чашами

 

Рисунок 11 - Смеситель для мойки двухрукояточный с подводками в раздельных отверстиях настенный со щеткой с настенным креплением, излив с развальцованным носиком. Тип См-МДРНЩнр

____________

* Справочный размер.

Рисунок 12 - Смеситель общий для ванны и умывальника двухрукояточный с подводками в раздельных отверстиях настенный с душевой сеткой на гибком шланге, излив с развальцованным носиком. Тип См-ВУДРНШлр

Рисунок 13 - Смеситель общий для ванны и умывальника двухрукояточный с подводками в раздельных отверстиях настенный с душевой сеткой на штанге, излив с развальцованным носиком. Тип См-ВУДРНШтр

______________

* Справочный размер.

Рисунок 14 - Смеситель для ванны двухрукояточный с подводками в раздельных отверстиях настенный с душевой сеткой на гибком шланге. Тип См-ВДРНШл

Рисунок 15 - Смеситель для ванны однорукояточный с подводками в раздельных отверстиях настенный с душевой сеткой на гибком шланге, излив с аэратором. Тип См-ВОРНШлА

Рисунок 16 - Смеситель для ванны двухрукояточный с подводками в раздельных отверстиях застенный. Тип См-ВДРЗ

_____________

* Справочный размер.

Рисунок 17 - Смеситель для душа двухрукояточный с подводками в раздельных отверстиях застенный с душевой сеткой на штанге. Тип См-ДшДРЗШт

_____________

* Справочный размер.

Рисунок 18 - Смеситель для душа двухрукояточный с подводками в раздельных отверстиях настенный с душевой сеткой на гибком шланге. Тип См-ДшДРНШл

________________

* Справочный размер.

Рисунок 19 - Смеситель для душа двухрукояточный с подводками в раздельных отверстиях настенный с душевой сеткой на стационарной трубке. Тип См-ДшДРНТр

_____________

* Справочный размер.

Таблица 9                                                                                              В миллиметрах

А ± 10

В ± 20

Область применения

1112

530

В смесителях к колонкам типов КВЭ-I и КВЦ-I ГОСТ 8870

800

652

То же, типа КВЭ-II

L = (160 ± 5) мм - в смесителях к колонке только для ванн;

L = (310 ± 6) мм - в смесителях к колонке, общих для ванны и умывальника

Рисунок 20 - Смеситель для водогрейной колонки двухрукояточный настенный с душевой сеткой на стационарной трубке. Тип См-КДНТр

Рисунок 21 - Смеситель для бидэ двухрукояточный центральный набортный. Тип См-БдДЦБ

Рисунок 22 - Основные размеры гибких медных подводок для присоединения центральных набортных смесителей к сетям холодной и горячей воды

Таблица 10

Условный проход арматуры Dу, мм

Размер резьбы

15

М18´1-6Н, G1/2-B

20

G1/2-B

Рисунок 23 - Присоединительные размеры корпусов вентильных головок водоразборной и смесительной санитарно-технической арматуры

Для вентильных головок с вращательным и возвратно-поступательным движением клапана

Для вентильных головок с керамическими запорными элементами

Рисунок 24 - Основные размеры седла клапана и резьб для присоединения вентильных головок

С внешней резьбой

С внутренней резьбой

Рисунок 25 - Размеры резьбы узла присоединения аэратора к изливам

Рисунок 26 - Размеры конца шпинделя вентильных головок водоразборной санитарно-технической арматуры

Таблица 11                                                                                  Размеры в миллиметрах

Тип крана

Резьба трубная d

Строительная длина L ±3

Диаметр уплотнительного бурта D -1

Длина цапфы l ±1

КрН15

G 1/2-B

90

30

13

КрН20

G 3/4-В

105

35

14

Рисунок 27 - Кран водоразборный настенный. Тип КрН

_______________

* Справочный размер.

Рисунок 28 - Кран водоразборный набортный. Типы КрЦБр, КрЦБА

_____________

* Справочный размер.

Рисунок 29 - Кран туалетный настенный. Тип КрНр

Ключевые слова: смесители, краны, арматура санитарно-техническая водоразборная

 

СОДЕРЖАНИЕ

 



© 2013 Ёшкин Кот :-)