| ||||||||||||||||||||||||||||||||
Скачать СТО 79814898 751-2014 Детали и элементы трубопроводов пара и горячей воды на давление до 2,2 МПа (22 кгс/см2). Трубы крутоизогнутые. Конструкция и размерыДата актуализации: 10.08.2017
|
| Обозначение: | СТО 79814898 751-2014 |
| Обозначение англ: | STO 79814898 751-2014 |
| Статус: | введен впервые |
| Название рус.: | Детали и элементы трубопроводов пара и горячей воды на давление до 2,2 МПа (22 кгс/см2). Трубы крутоизогнутые. Конструкция и размеры |
| Дата добавления в базу: | 05.05.2017 |
| Дата актуализации: | 05.05.2017 |
| Дата введения: | 01.12.2014 |
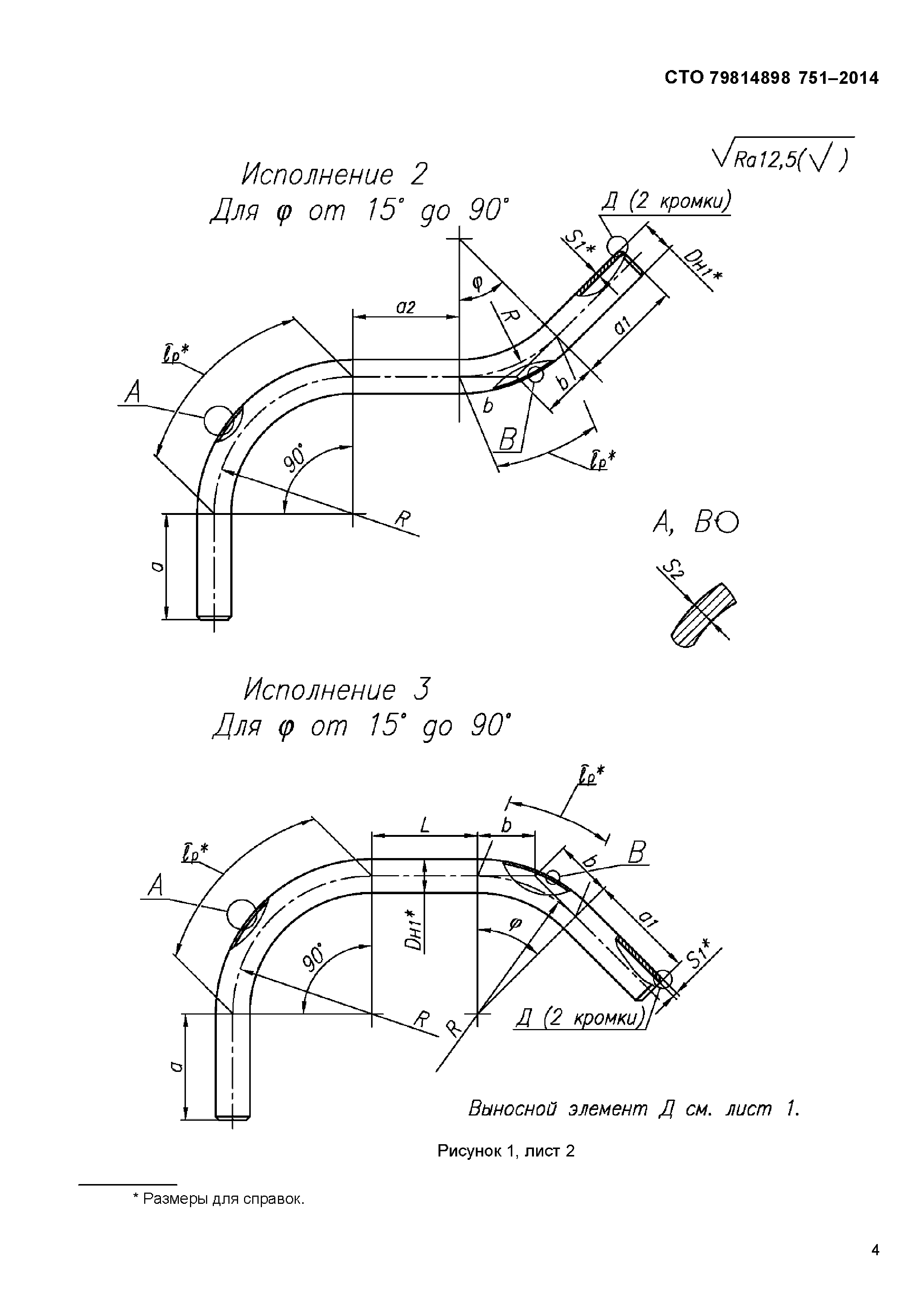
| Область применения: | Стандарт распространяется на крутоизогнутые трубы из углеродистой и низколегированной сталей для трубопроводов пара и горячей воды тепловых станций и иных энергетических объектов, транспортирующих рабочие среды с температурой до 400 градусов Цельсия при рабочем давлении менее 2,2 МПа (22 кгс/см2), включая трубопроводы, на которые распространяются правила пара и горячей воды — ПБ-10-573, утвержденные Госгортехнадзором России. |
| Оглавление: | 1 Область применения 2 Нормативные ссылки 3 Термины, определения и обозначения 4 Конструкция и размеры 5 Технические требования Библиография |
| Разработан: | ЗАО Институт Севзапэнергомонтажпроект |
| Утверждён: | 24.11.2014 ЗАО Институт Севзапэнергомонтажпроект (34-У) |
| Издан: | СЗЭМП (2014 г. ) |
| Расположен в: | |
| Нормативные ссылки: |
|


















