| ||||||||||||||||||||||||||
Скачать Временная инструкция и типовые схемы электроснабжения очистных и подготовительных забоев шахт, разрабатывающих крутые пластыДата актуализации: 10.08.2017 |
| Статус: | cправочные материалы, мп, тпр |
| Название рус.: | Временная инструкция и типовые схемы электроснабжения очистных и подготовительных забоев шахт, разрабатывающих крутые пласты |
| Дата добавления в базу: | 01.02.2017 |
| Дата актуализации: | 05.05.2017 |
| Область применения: | Инструкция распространяется на проектирование электроснабжения и эксплуатацию электрооборудования в очистных и подготовительных (тупиковых) выработках крутых пластов, опасных по внезапным выбросам угля и газа, разрабатываемых без защиты, а также в выработках с исходящей струей воздуха с таких пластов. |
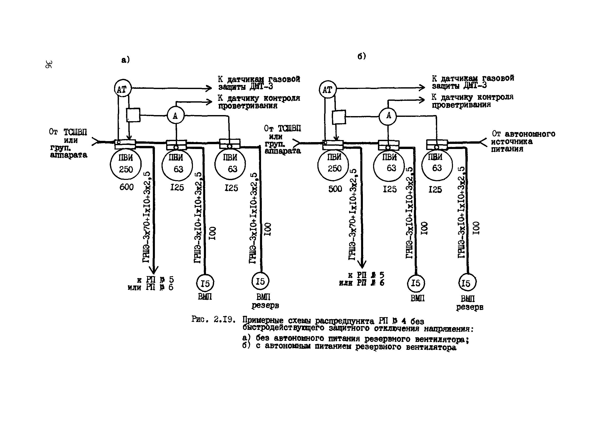
| Оглавление: | 1. Общие положения 2. Область и условия применения электрооборудования 3. Схемы электроснабжения, электрооборудование 4. Электроснабжение щитовых агрегатов Типовые схемы электроснабжения очистных и подготовительных забоев шахт, разрабатывающих крутые пласты 1. Общие положения 2. Типовые схемы электроснабжения Приложение. Инструкция по подвеске кабеля в наклонных скважинах и трубопроводах |
| Разработан: | ВостНИИ (Восточный научно-исследовательский институт по безопасности работ в горной промышленности) ДонУГИ ИГД им. А.А. Скочинского МакНИИ |
| Утверждён: | 22.09.1983 Госгортехнадзор СССР (USSR Gosgortekhnadzor ) 03.08.1983 Министерство угольной промышленности СССР (USSR Ministry of the Coal Industry ) |
| Принят: | 09.11.1983 ЦК профсоюза рабочих угольной промышленности СССР |
| Расположен в: | |
| Нормативные ссылки: |
















































