| ||||||||||||||||||||||||||||
Скачать Правила технического наблюдения за постройкой судов и изготовлением материалов и изделий для судов (ПТНП)Дата актуализации: 10.08.2017 |
| Статус: | действует |
| Название рус.: | Правила технического наблюдения за постройкой судов и изготовлением материалов и изделий для судов (ПТНП) |
| Дата добавления в базу: | 01.02.2017 |
| Дата актуализации: | 05.05.2017 |
| Дата введения: | 19.07.2016 |
| Область применения: | Правила применяются Речным Регистром при осуществлении технического наблюдения за постройкой, переоборудованием, модернизацией и ремонтом судов, изготовлением материалов и изделий, ремонтом изделий, предназначенных для применения на судах, и при рассмотрении и согласовании технической документации. |
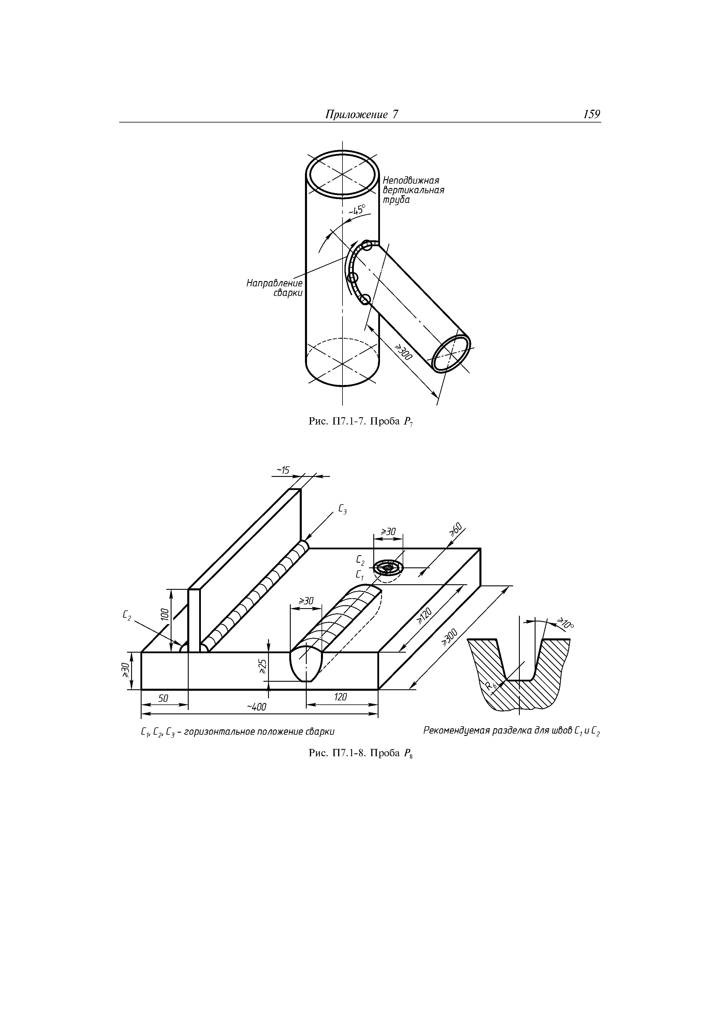
| Оглавление: | 1 Общие положения 2 Основные положения по техническому наблюдению 3 Рассмотрение и согласование технической документации 4 Техническое наблюдение за постройкой и ремонтом судов 5 Корпус и его оборудование 6 Энергетическая установка и системы 7 Судовые устройства и снабжение 8 Электрическое оборудование 9 Средства радиосвязи и навигационное оборудование 10 Материалы 11 Оборудование по предотвращению загрязнения окружающей среды с судов Приложения |
| Разработан: | Российский Речной Регистр |
| Утверждён: | 09.09.2015 Российский Речной Регистр (36-п) |
| Издан: | Российский Речной Регистр (2016 г. ) |
| Расположен в: | |
| Список изменений: |


























































































































































































































Текстовое изменение № 1 от 09.09.2016


