| ||||||||||||||||||||||||||||||||||||
Скачать ГОСТ Р ИСО 10142-2016 Материалы углеродные для производства алюминия. Прокаленный кокс. Определение прочности зерен с использованием лабораторной вибрационной мельницыДата актуализации: 10.08.2017
|
| Обозначение: | ГОСТ Р ИСО 10142-2016 |
| Обозначение англ: | GOST R ISO 10142-2016 |
| Статус: | принят |
| Название рус.: | Материалы углеродные для производства алюминия. Прокаленный кокс. Определение прочности зерен с использованием лабораторной вибрационной мельницы |
| Название англ.: | Carbonaceous materials for the production of aluminium. Calcined coke. Determination of grain stability using a laboratory vibration mill |
| Дата добавления в базу: | 01.02.2017 |
| Дата актуализации: | 05.05.2017 |
| Дата введения: | 06.07.2016 |
| Дата окончания срока действия: | 01.07.2017 |
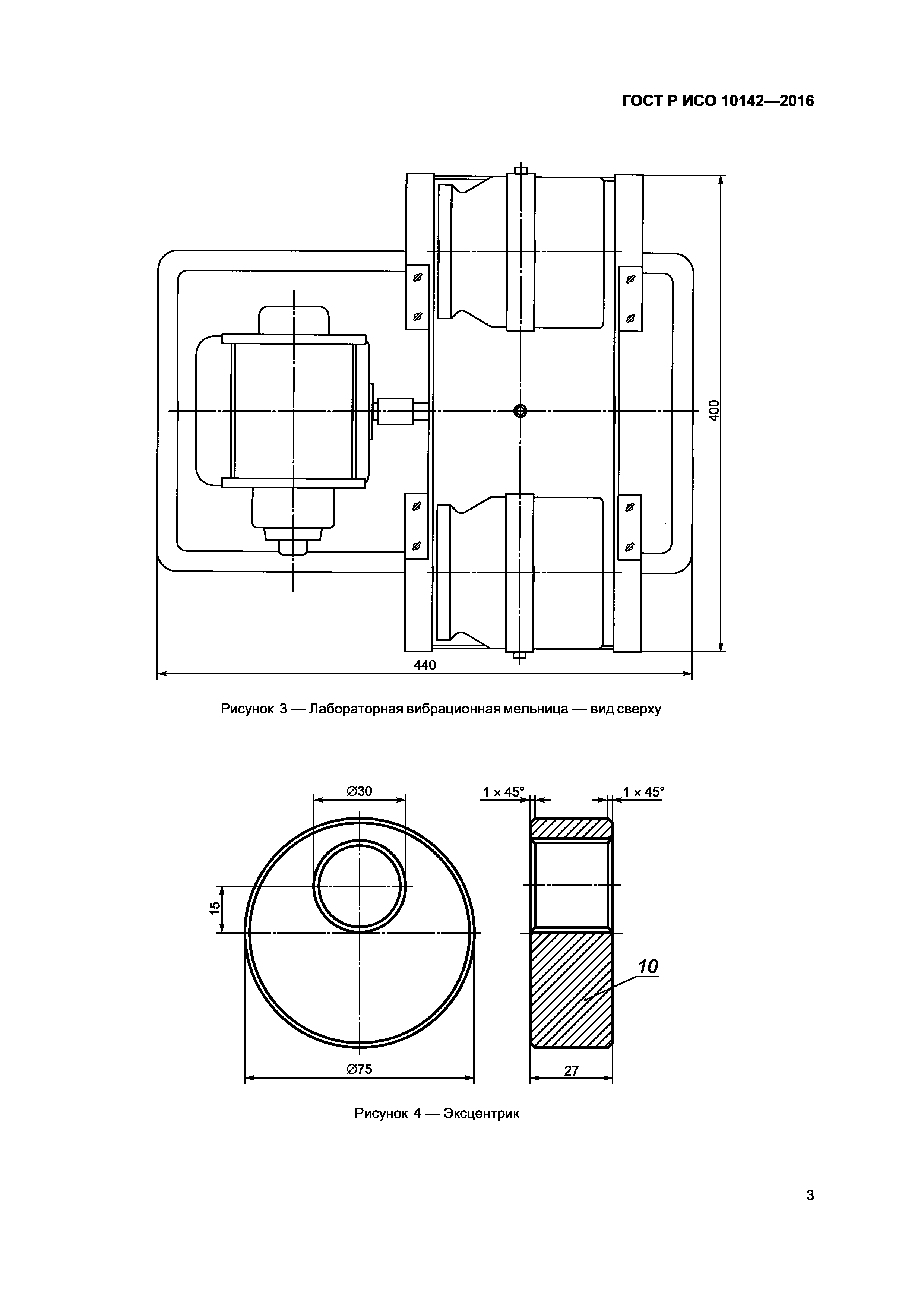
| Область применения: | Стандарт распространяется на прокаленные коксы, используемые в углеродных материалах для производства алюминия, и устанавливает метод определения прочности зерен с использованием лабораторной вибрационной мельницы, заполненной стальными шариками. Прокаленный кокс с низкой механической прочностью может разрушаться в процессе смешивания. Нестабильность размеров зерен кокса приводит к ухудшению качества обожженных блоков. |
| Оглавление: | 1 Область применения 2 Нормативные ссылки 3 Сущность метода 4 Аппаратура 5 Отбор и подготовка пробы 6 Проведение испытания 7 Обработка результатов 8 Прецизионность 9 Протокол испытаний Приложение ДА (справочное) Сведения о соответствии ссылочных международных стандартов национальным стандартам Российской Федерации |
| Разработан: | ОАО Уралэлектродин |
| Утверждён: | 06.07.2016 Федеральное агентство по техническому регулированию и метрологии (816-ст) |
| Издан: | Стандартинформ (2016 г. ) |
| Расположен в: | |
| Нормативные ссылки: |







