| ||||||||||||||||||||||||||||||||||
Скачать ГОСТ 33709.3-2015 Краны грузоподъемные. Словарь. Часть 3. Краны башенныеДата актуализации: 10.08.2017
|
| Обозначение: | ГОСТ 33709.3-2015 |
| Обозначение англ: | GOST 33709.3-2015 |
| Статус: | введен впервые |
| Название рус.: | Краны грузоподъемные. Словарь. Часть 3. Краны башенные |
| Название англ.: | Cranes. Vocabulary. Part 3. Tower cranes |
| Дата добавления в базу: | 01.02.2017 |
| Дата актуализации: | 05.05.2017 |
| Дата введения: | 01.04.2017 |
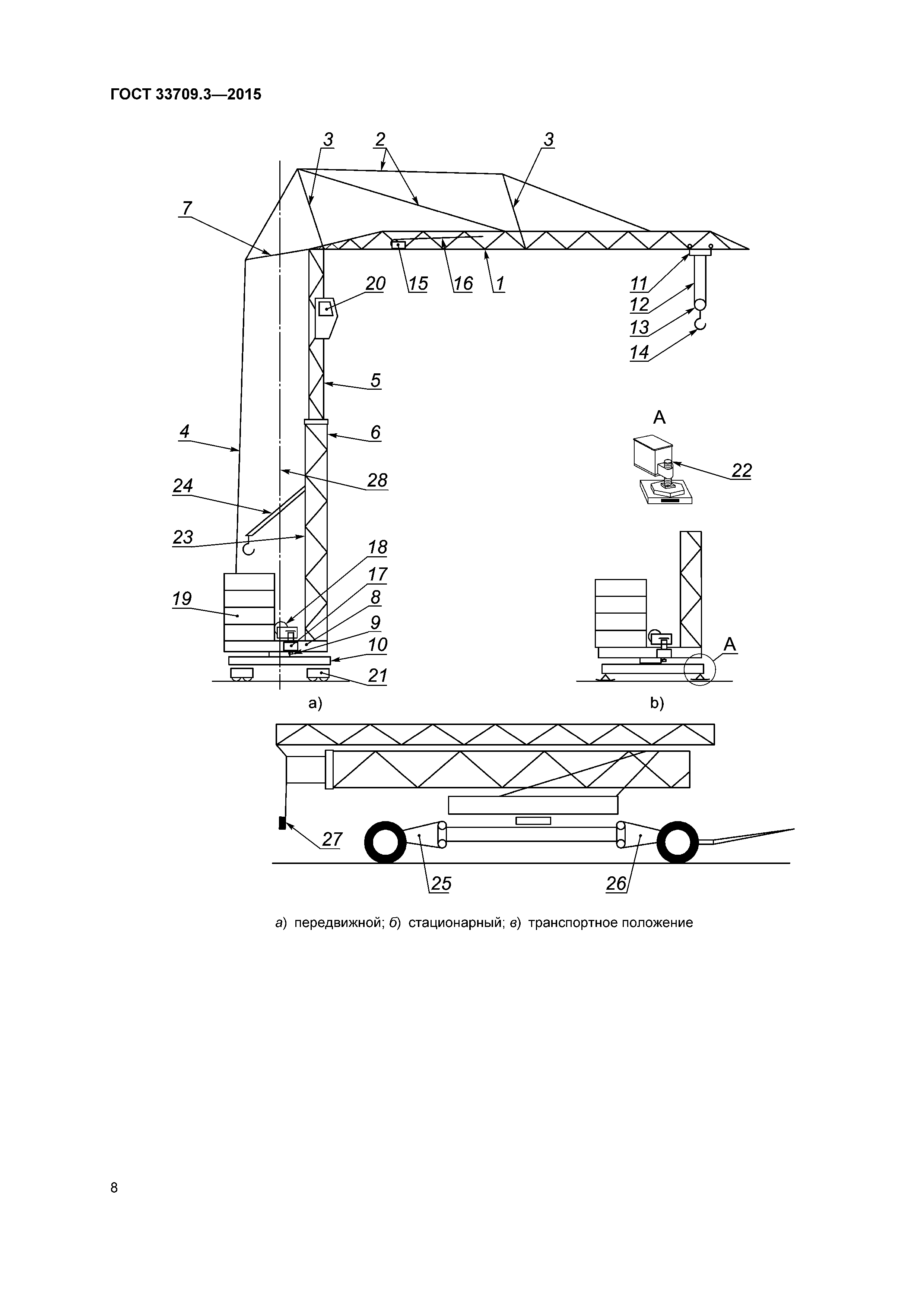
| Область применения: | Стандарт устанавливает термины и определения в области краностроения применительно к башенным кранам. Стандарт устанавливает общее определение башенного крана и иллюстрирует терминологию для различных типов башенных кранов посредством рисунков, на которых даны ссылки на соответствующий термин. Приведенная терминология применяется к: - демонтируемым башенным кранам (перебазируемым с демонтажем и последующим монтажом); - постоянно смонтированным башенным кранам. Приведенная терминология не применяется к: - передвижным стреловым кранам c механическим приводом, которые могут быть снабжены башенно-стреловым оборудованием; - монтажным мачтам со стрелами или без них. Для каждого понятия установлен один стандартизованный термин с допустимыми синонимами. Термины, установленные настоящим стандартом, рекомендуется использовать в правовой, нормативной, технической и организационно-распорядительной документации, научной, учебной и справочной литературе. Если в другом действующем межгосударственном стандарте применены термины, отличные от терминов, которые установлены настоящим стандартом для тех же понятий, то их приведение в соответствие с настоящим стандартом целесообразно осуществлять при очередном обновлении (пересмотре или изменении) другого действующего стандарта. В обоснованных случаях необходимость устранения указанных противоречий может служить основанием для разработки внеочередного изменения другого действующего стандарта. В таблице 1 к терминам приведены в качестве справочных эквиваленты стандартизованных терминов на английском (Е) языке. Термины, не имеющие стандартизованных эквивалентов на английском языке, отмечены знаком (Е)*. В таблице 2 приведены наименования основных типов конструкций башенных кранов со ссылками на соответствующие рисунки. |
| Оглавление: | 1 Область применения 2 Нормативные ссылки 3 Термины и определения |
| Разработан: | МАРХИ АО РАТТЕ |
| Утверждён: | 28.12.2015 Межгосударственный Совет по стандартизации, метрологии и сертификации (Inter-Governmental Council on Standardization, Metrology, and Certification 83-П) 08.06.2016 Федеральное агентство по техническому регулированию и метрологии (557-ст) |
| Издан: | Стандартинформ (2016 г. ) |
| Расположен в: | |
| Нормативные ссылки: |


















