| ||||||||||||||||||||||||||||
Скачать МУ 5966-91 Методические указания по фотометрическому измерению концентраций замасливателя Синтокс-27 в воздухе рабочей зоныДата актуализации: 10.08.2017
|
| Обозначение: | МУ 5966-91 |
| Обозначение англ: | MU 5966-91 |
| Статус: | не установлен срок действия |
| Название рус.: | Методические указания по фотометрическому измерению концентраций замасливателя Синтокс-27 в воздухе рабочей зоны |
| Дата добавления в базу: | 01.02.2017 |
| Дата актуализации: | 05.05.2017 |
| Область применения: | Методические указания по измерению концентраций вредных веществ в воздухе рабочей зоны предназначены для санитарно-эпидемиологических станций и санитарных лабораторий промышленных предприятий при осуществлении контроля за содержанием вредных веществ в воздухе рабочей зоны, а также научно-исследовательских институтов системы здравоохранения России и других заинтересованных министерств и ведомств. |
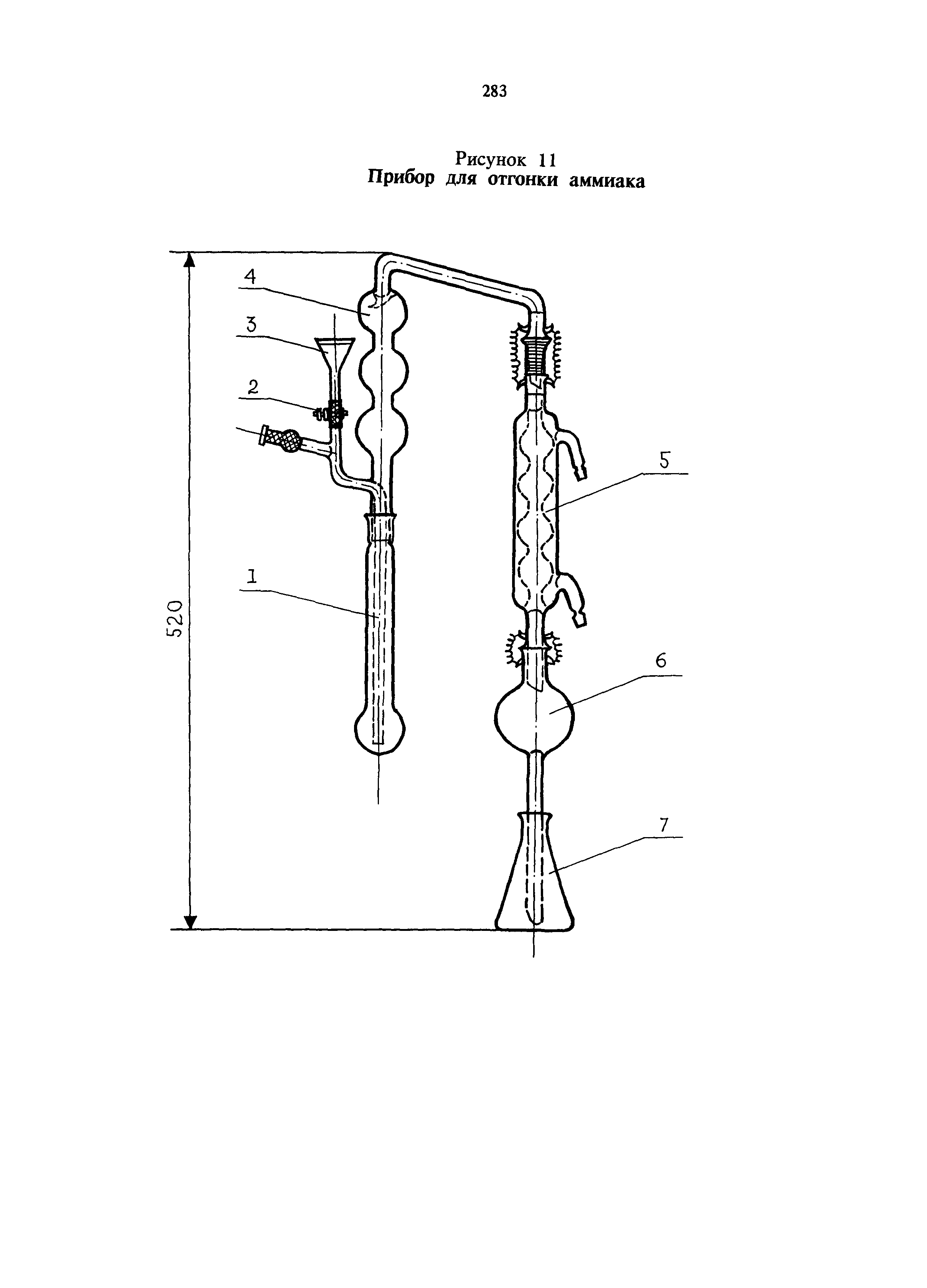
| Оглавление: | Характеристика метода Приборы, аппаратура, посуда Реактивы, растворы и материалы Отбор пробы воздуха Подготовка к измерению Проведение измерения Расчет концентрации Приложение 1 (справочное). Приведение объема воздуха к условиям по ГОСТ 12.1.016-79 Приложение 2 (справочное). Коэффициент К для приведения объема воздуха к условиям по ГОСТ 12.1.016-79 Приложение 3 Вещества, определяемые по ранее утвержденным и опубликованным Методическим указаниям Рисунки |
| Разработан: | Тверской НИИСВ |
| Утверждён: | 10.10.1991 Заместитель Главного государственного санитарного врача СССР |
| Расположен в: | |
| Нормативные ссылки: |
|
























