Скачать ПНД Ф 14.1:2:3:4.241-2007 Количественный химический анализ вод. Методика измерений массовой концентрации полиакриламида в питьевых, поверхностных, подземных пресных и сточных водах адсорбционно-фотометрическим методомДата актуализации: 10.08.2017 ПНД Ф 14.1:2:3:4.241-2007
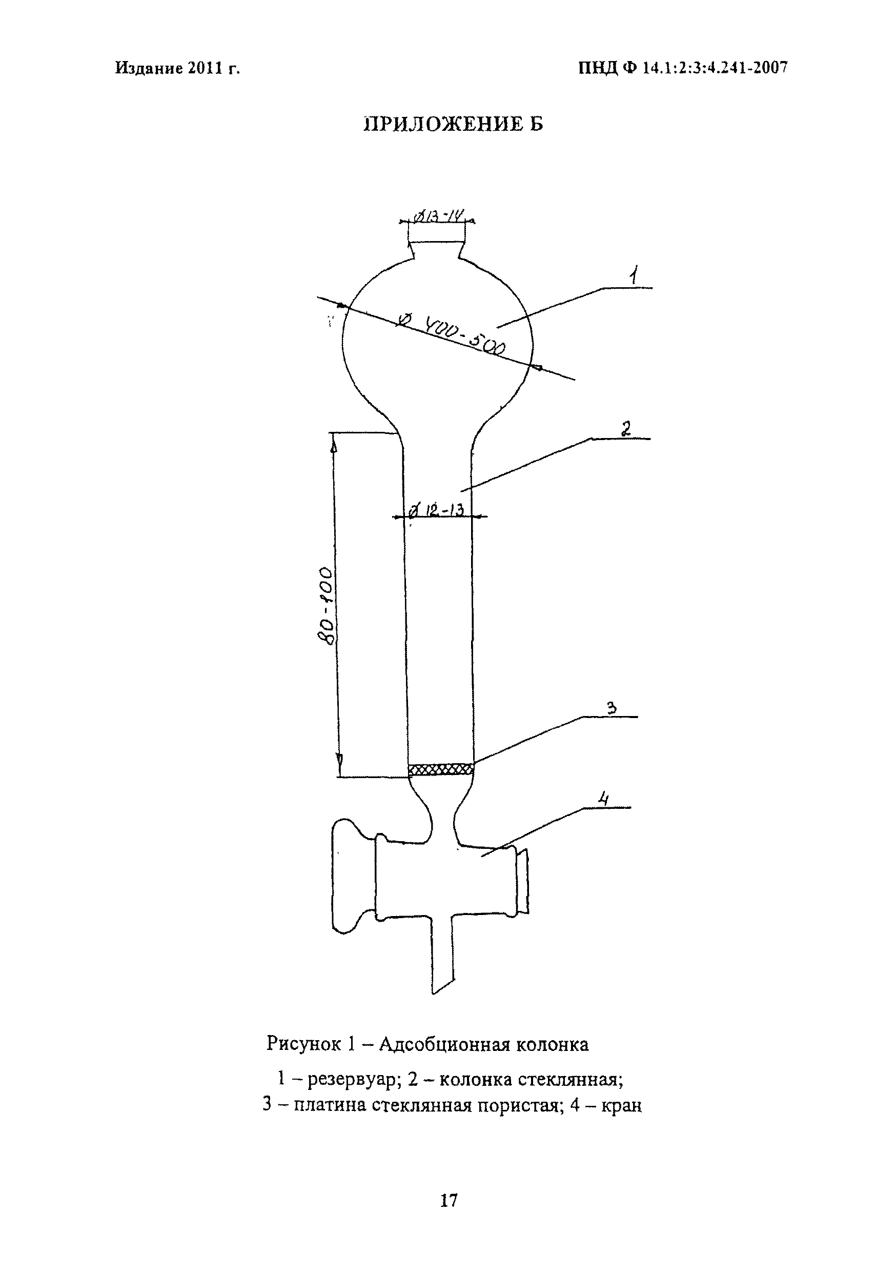
Количественный химический анализ вод. Методика измерений массовой концентрации полиакриламида в питьевых, поверхностных, подземных пресных и сточных водах адсорбционно-фотометрическим методомОбозначение: | ПНД Ф 14.1:2:3:4.241-2007 | Обозначение англ: | 14.1:2:3:4.241-2007 | Статус: | действует | Название рус.: | Количественный химический анализ вод. Методика измерений массовой концентрации полиакриламида в питьевых, поверхностных, подземных пресных и сточных водах адсорбционно-фотометрическим методом | Дата добавления в базу: | 01.02.2017 | Дата актуализации: | 05.05.2017 | Область применения: | Документ устанавливает методику измерений массовой концентрации полиакриламида в питьевых, поверхностных, подземных пресных и сточных водах адсорбционно-фотометрическим методом | Оглавление: | 1. Введение 2. Приписанные характеристики показателей точности измерений 3. Средства измерений, вспомогательное оборудование, посуда, материалы и реактивы 3.1. Средства измерений, вспомогательное оборудование 3.2. Посуда 3.3. Реактивы и материалы 4. Метод измерений 5. Требования безопасности, охраны окружающей среды 6. Требования к квалификации операторов 7. Условия выполнения измерений 8. Подготовка к выполнению измерений 8.1. Отбор и хранение проб 8.2. Подготовка прибора к работе 8.3. Приготовление вспомогательных растворов 8.3.1. Приготовление основного раствора метиленового голубого концентрации 1х10-3 моль/дм3 8.3.2. Приготовление рабочего раствора метиленового голубого концентрации 1х10-4 моль/дм3 8.3.3. Приготовление раствора ЭДТА (трилона Б) концентрации 0,1 моль/дм3 8.3.4. Приготовление раствора серной кислоты с массовой долей 10% 8.3.5. Приготовление раствора серной кислоты концентрации 0,5 моль/дм3 8.3.6. Приготовление раствора гидроксида натрия с массовой долей 10% 8.3.7. Приготовление раствора тропеолина 00 с массовой долей 0,1% 8.3.8. Приготовление раствора азотной кислоты (1:1) 8.4. Приготовление градуировочных растворов 8.4.1. Приготовление основного градуировочного раствора полиакриламида с концентрацией 0,5 мг/см3 8.4.2. Приготовление рабочего градуировочного раствора полиакриламида с концентрацией 0,1 мг/см3 8.5. Построение градуировочного графика 8.6. Контроль стабильности градуировочной характеристики 9. Выполнение измерений 10. Обработка результатов измерений 11. Оформление результатов измерений 12. Контроль точности результатов измерений 12.1. Общие положения 12.2. Оперативный контроль процедуры измерений с использованием метода добавок 12.3. Оперативный контроль процедуры измерений с использованием образцов для контроля Приложение А (информационное) Приложение Б | Разработан: | ФБУ Федеральный центр анализа и оценки техногенного воздействия
| Утверждён: | 18.11.2011 ФБУ Федеральный центр анализа и оценки техногенного воздействия
| Расположен в: |
| Нормативные ссылки: | |
                    
|