| ||||||||||||||||||||||||||||||||||
Скачать МИ 82-76 Государственная система обеспечения единства измерений. Методика поверки образцовых колец 4-го разряда для нутромеров с ценой деления 0,001 и 0,002 ммДата актуализации: 10.08.2017
|
| Обозначение: | МИ 82-76 |
| Обозначение англ: | MI 82-76 |
| Статус: | отменен |
| Название рус.: | Государственная система обеспечения единства измерений. Методика поверки образцовых колец 4-го разряда для нутромеров с ценой деления 0,001 и 0,002 мм |
| Дата добавления в базу: | 12.02.2016 |
| Дата актуализации: | 05.05.2017 |
| Дата введения: | 01.01.1989 |
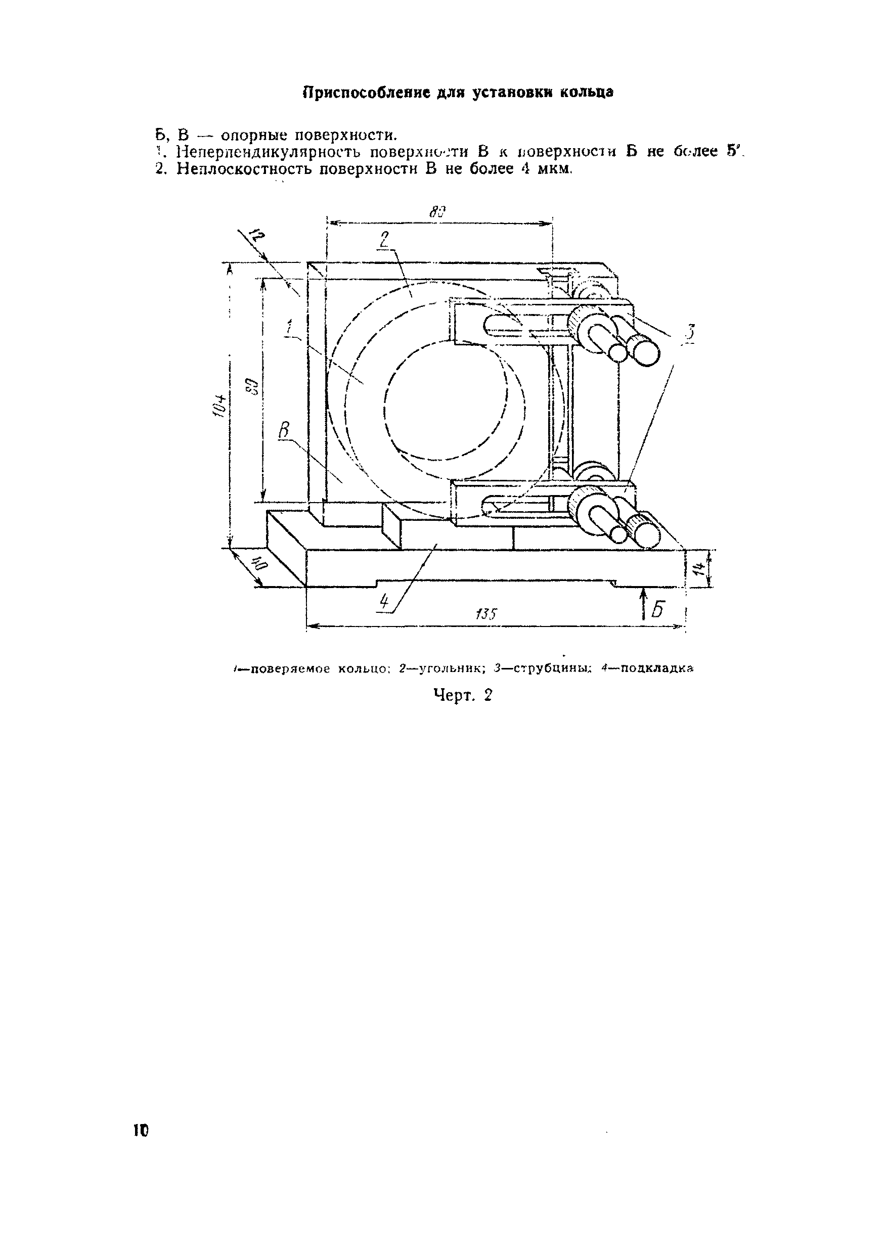
| Область применения: | Методика распространяется на образцовые кольца 4-го разряда, выпускаемые по ТУ 2-034-45-09, предназначенные для поверки нутромеров с ценой деления 0,001 и 0,002 мм по ГОСТ 9244-75, и устанавливает методы и средства первичной и периодической поверок колец. |
| Оглавление: | 1. Операции и средства поверки 2. Условия поверки и подготовка к ней 3. Проведение поверки 4. Оформление результатов поверки Приложение 1 (справочное). Кронштейн для крепления миникатора к объективу микроскопа Приложение 2 (справочное). Прибор для линейных измерений с фотоэлектрическим перфлектометром |
| Разработан: | НПО ВНИИМ им. Д.И. Менделеева |
| Утверждён: | 27.05.1987 ВНИИМ им. Д.И. Менделеева (D. I. Mendeleyev VNIIM ) |
| Издан: | Издательство стандартов (1979 г. ) |
| Расположен в: | |
| Чем заменён: | |
| Нормативные ссылки: |
|













