| ||||||||||||||||||||||||||||||
Скачать МЭК 864-1-86 Стандартизация соединений между передатчиками или системами передатчиков и системами контроля. Часть 1. Нормы сопряжения для систем с кабельными соединениямиДата актуализации: 10.08.2017
|
| Обозначение: | МЭК 864-1-86 |
| Обозначение англ: | IEC 864-1-86 |
| Статус: | действует |
| Название рус.: | Стандартизация соединений между передатчиками или системами передатчиков и системами контроля. Часть 1. Нормы сопряжения для систем с кабельными соединениями |
| Название англ.: | Standardization of interconnections between broadcasting transmitters or transmitter systems and supervisory equipment. Part 1. Interface standards for systems using dedicated interconnections |
| Дата добавления в базу: | 12.02.2016 |
| Дата актуализации: | 05.05.2017 |
| Дата введения: | 01.01.1986 |
| Область применения: | Стандарт распространяется на все типы передатчиков звукового и телевизионного вещания, кроме маломощного оборудования и некоторых передатчиков специального назначения. |
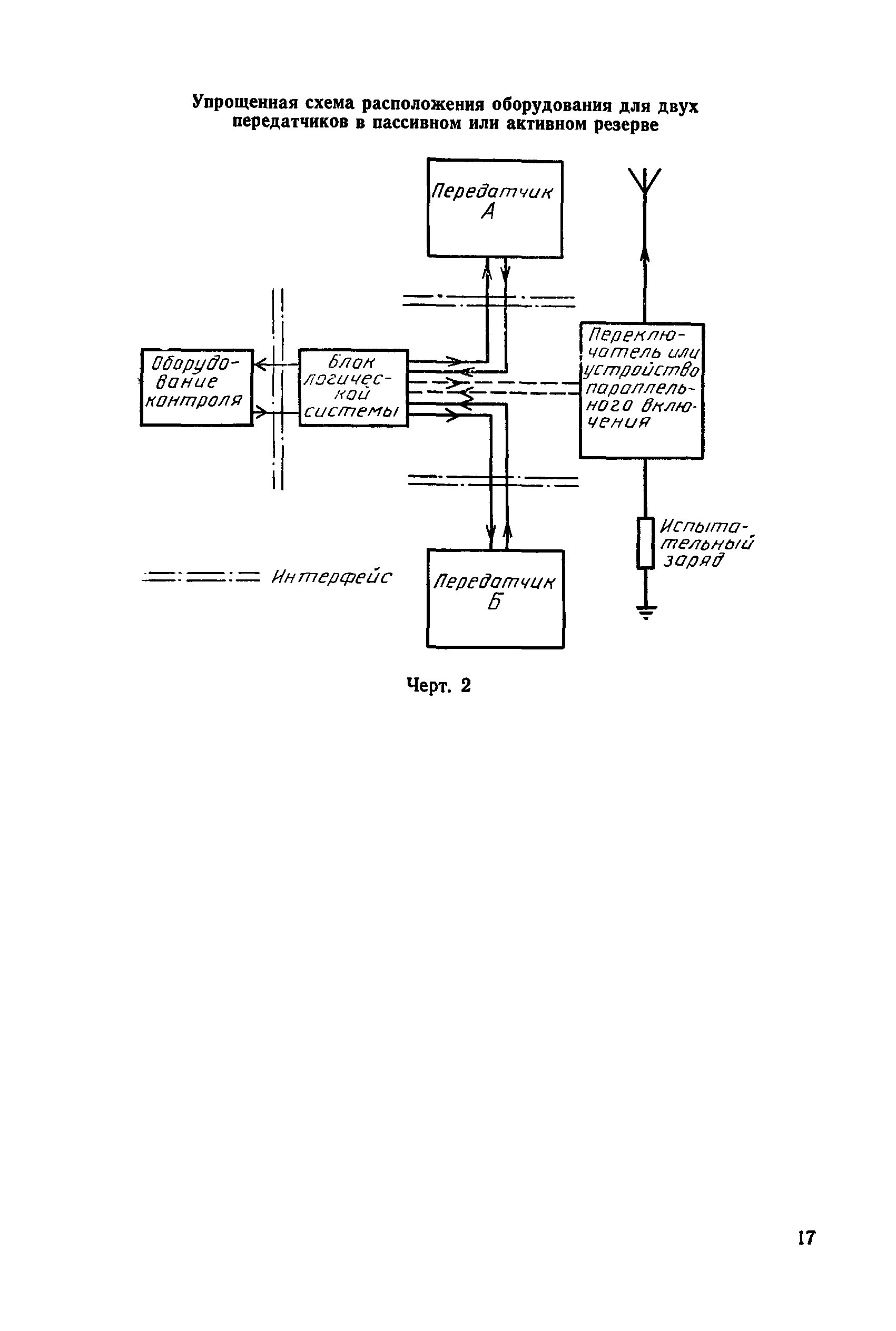
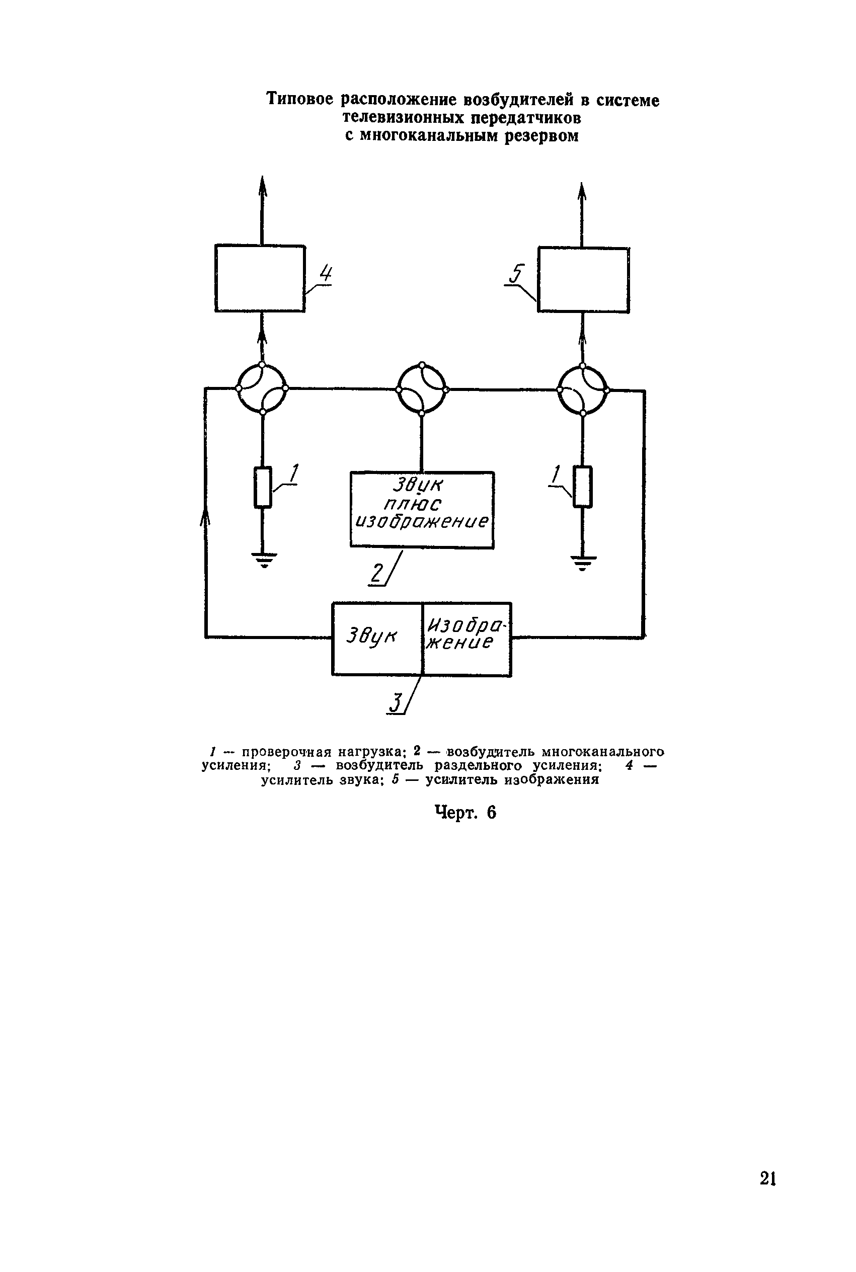
| Оглавление: | Предисловие Введение 1 Область распространения 2 Назначение Раздел 1 Общие положения 3 Терминология 4 Основные принципы 5 Интерфейсы 6 Схемы команд и индикаций 7 Системы передатчиков Раздел 2 Стандартизованные методы двоичных интерфейсов 8 Введение 9 Релейные методы 10 Полупроводниковые логические схемы 11 Использование оптических вентилей Раздел 3 Двоичные команды и индикации 12 Введение 13 Команды и индикации для систем 14 Команды и индикации для систем с пассивным резервом 15 Команды и индикации для систем с активным резервом 16 Команды и индикации для систем с резервом (N + 1) 17 Команды и индикации для систем с многоканальным резервированием Раздел 4 Стандартизованные методы аналоговых интерфейсов Раздел 5 Аналоговые команды и индикации Раздел 6 Общие требования к системам 22 Введение 23 Общие требования для всех систем Чертежи 1 - 6 Приложение А Термины, применяемые в настоящем стандарте, и их пояснения Приложение Б Указатель терминов, применяемых в СССР |
| Разработан: | Подкомитет 12С Передающее оборудование 12-ый Технический комитет МЭК Радиосвязь ТС 103 |
| Издан: | Издательство стандартов (1990 г. ) |
| Расположен в: |



























